СОДЕРЖАНИЕ
1. СООРУЖЕНИЯ ДЛЯ ЗАБОРА ВОДЫ ИЗ ПОВЕРХНОСТНЫХ ИСТОЧНИКОВ 2
1.1. Классификация способов и сооружений для забора воды из поверхностных источников. 2
1.2. Выбор схемы и места расположения водозабора. 3
2. СООРУЖЕНИЯ ДЛЯ ЗАБОРА ВОДЫ ИЗ ПОДЗЕМНЫХ ИСТОЧНИКОВ 5
2.1. Основные типы сооружений для забора подземных вод. 5
2.2. Горизонтальные водозаборы. 5
2.3. Трубчатые колодцы. 5
2.4. Шахтные колодцы. 7
2.5. Лучевой водосбор. 7
2.6. Каптажные водосборные сооружения. 7
ЛИТЕРАТУРА.. 11
1. СООРУЖЕНИЯ ДЛЯ ЗАБОРА ВОДЫ ИЗ ПОВЕРХНОСТНЫХ ИСТОЧНИКОВ
1.1. Классификация способов и сооружений для забора воды из поверхностных источников.
Водозаборные сооружения из поверхностных источников должны обеспечивать:
- получение расчетного расхода воды из водоисточника и подачу его потребителю;
- предохранять систему водоснабжения от проникания в нее сора, наносов, планктона, рыбы, льда и от биологических обрастаний.
Соблюдение всех этих требований учитывают при выборе типа и оборудования водозабора и места его расположения.
Все многообразие применяемых на практике сооружений для забора воды из поверхностных источников можно классифицировать по следующим признакам:
1. Назначению
- хозяйственно-питьевые, технические, ирригационные и пр.;
- месту расположения водоприемника - береговые, русловые, приплотинные и пр.;
2. Типу водоема:
- речные, озерные, водохранилищные и морские;
-требуемой категории надежности подачи воды - три категории в соответствии с указаниями СНиПа;
3. Производительности:
- малые (до 1 м /с), средние (1-6 м3/с), большие (свыше 6 м3/с);
4. Конструктивным и технологическим особенностям:
- совмещенные, раздельные, ковшевые, приплотинные и т.п.;
5. Длительности периода эксплуатации:
- постоянные и временные;
6. Степени стационарности:
- стационарные и нестационарные (плавучие, фуникулерные).
По степени трудности забора воды природные условия поверхностных источников водоснабжения, согласно СНиП, подразделяют на четыре группы. При этом учитываются мутность воды, неустойчивость берегов и дна, русловые и ледовые режимы, лесосплав, засоренность водоисточника, наличие водорослей, дрейсены, балянуса, мидий и пр.
Забиваем Сайты В ТОП КУВАЛДОЙ - Уникальные возможности от SeoHammer
Каждая ссылка анализируется по трем пакетам оценки: SEO, Трафик и SMM.
SeoHammer делает продвижение сайта прозрачным и простым занятием.
Ссылки, вечные ссылки, статьи, упоминания, пресс-релизы - используйте по максимуму потенциал SeoHammer для продвижения вашего сайта.
Что умеет делать SeoHammer
— Продвижение в один клик, интеллектуальный подбор запросов, покупка самых лучших ссылок с высокой степенью качества у лучших бирж ссылок.
— Регулярная проверка качества ссылок по более чем 100 показателям и ежедневный пересчет показателей качества проекта.
— Все известные форматы ссылок: арендные ссылки, вечные ссылки, публикации (упоминания, мнения, отзывы, статьи, пресс-релизы).
— SeoHammer покажет, где рост или падение, а также запросы, на которые нужно обратить внимание.
SeoHammer еще предоставляет технологию Буст, она ускоряет продвижение в десятки раз,
а первые результаты появляются уже в течение первых 7 дней.
Зарегистрироваться и Начать продвижение
В зависимости от сложности природных условий, типа водоприемника и доступности водоприемных отверстий для обслуживания водозаборы по степени надежности забора воды подразделяют на три категории:
I - водозабор, допускающий снижение получения воды в течение 3 суток на 30 % расчетного расхода. Перерыв в подаче воды или снижение подачи ниже указанного предела допускается на 10 мин.
II - водозабор, допускающий снижение получения расчетного расхода воды на 30 % в течение 10 суток. Перерыв в подаче воды или ее снижение ниже указанного предела допускается не более чем на 6 ч.
III - водозабор, допускающий снижение получения воды в течение до 15 суток на 30 % расчетного расхода. Перерыв в подаче воды или ее снижение ниже указанного предела допускается не более чем на 24 ч.
Береговые незатопленные водоприемники с водоприемными отверстиями, всегда доступными для обслуживания, с механизированной очисткой их сороудерживающих решеток относят к водоприемникам I степени надежности забора воды в средних природных условиях. Русловые затопленные водоприемники всех типов, удаленные от берега и недоступные в периоды половодья, шторма, ледохода, шуго-хода и т. п., относят к водоприемникам II степени надежности забора воды в средних природных условиях. Фуникулер и плавучие водоприемники всех видов для средних условий работы относят к водоприемникам III степени надежности забора воды.
1.2. Выбор схемы и места расположения водозабора.
Выбор схемы и места расположения водозабора обосновывается прогнозами качества воды в источнике, переформирования побережья и русла, гидротехнического режима.
При амплитуде колебания уровней воды в источнике более 6 м и при глубинах у берега, достаточных для нормального забора воды, следует применять береговые совмещенные водозаборы (рис. 1а). Для водозаборов средней производительности при малой высоте всасывания насосов возможно совмещение берегового колодца и насосной станции. Для водозаборов небольшой производительности, при достаточных глубинах у берега для нормального забора воды можно принимать водоприемники раздельного типа (рис. 1 б). При амплитуде колебания уровней воды в источнике до 6 м и при глубинах у берега, недостаточных для забора воды, водозаборы малой производительности рекомендуется принимать руслового типа (рис. 1в), при этом насосная станция может быть конструктивно объединена с береговым колодцем или расположена отдельно.



Рис. 1. Схемы речных водозаборов:
Сервис онлайн-записи на собственном Telegram-боте
Попробуйте сервис онлайн-записи VisitTime на основе вашего собственного Telegram-бота:
— Разгрузит мастера, специалиста или компанию;
— Позволит гибко управлять расписанием и загрузкой;
— Разошлет оповещения о новых услугах или акциях;
— Позволит принять оплату на карту/кошелек/счет;
— Позволит записываться на групповые и персональные посещения;
— Поможет получить от клиента отзывы о визите к вам;
— Включает в себя сервис чаевых.
Для новых пользователей первый месяц бесплатно.
Зарегистрироваться в сервисе
а - береговой совмещенный; б - береговой раздельный;
в - русловой; г - приплотинный.


2. СООРУЖЕНИЯ ДЛЯ ЗАБОРА ВОДЫ ИЗ ПОДЗЕМНЫХ ИСТОЧНИКОВ
2.1. Основные типы сооружений для забора подземных вод.
При выборе источника централизованного хозяйственно-питьевого водоснабжения, прежде всего, рассматривают подземные воды, залегающие в горных породах верхнего слоя земной коры. Вначале изучают возможность использования межпластовых напорных вод, затем межпластовых безнапорных, далее трещинно-карстовых и грунтовых вод.
Для забора подземных вод, залегающих в различных породах и на разных глубинах, применяют следующие типы водозаборных устройств и сооружений: трубчатые и шахтные колодцы, горизонтальные водосборы, комбинированные водозаборы, лучевые водосборы, сооружения для каптажа родниковых вод. Тип водоприемного сооружения зависит от глубины залегания подземных вод, мощности и водообильности водоносного пласта, характера водовмещающей породы, наличия давления в пласте и т.п.
2.2. Горизонтальные водозаборы.
Горизонтальные водозаборы применяют при небольшой глубине залегания водоносного пласта (до 5 - 8 м) и малой его мощности. Они представляют собой дренажные трубы или галереи (рис. 4), размещаемые в пределах водоносного пласта на подстилающем водоупоре перпендикулярно направлению грунтового потока. Вокруг дренажных труб или галерей сооружают гравийные фильтры. Вода, фильтруемая из грунта в дренажные трубы или галереи, поступает по ним в . водосборный колодец (резервуар), откуда откачивается насосами. На водосборных линиях через каждые 25 - 50 м предусматривают смотровые колодцы.
2.3. Трубчатые колодцы.
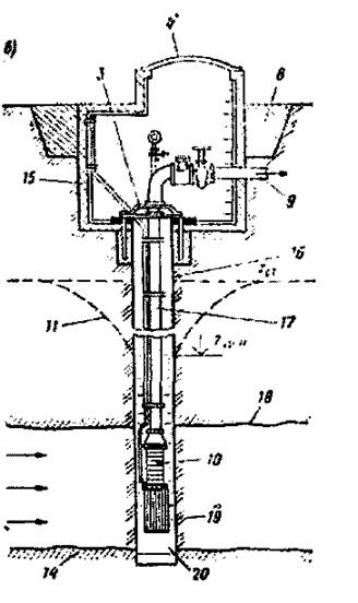
Трубчатые колодцы сооружают бурением в грунте вертикальных цилиндрических выработок - скважин, стенки которых в большинстве пород необходимо укреплять обсадными трубами (стальными, асбестоцементными, полиэтиленовыми), образующими трубчатый колодец (рис. 36). Для приема воды из грунта колодец в пределах водоносного горизонта выполняют из перфорированных труб, снабженных специальным фильтром, не проницаемым для частиц породы.


Рис. 3. Приток грунтовых (а) и напорных (б) вод соответственно к шахтному (несовершенному) и трубчатому (совершенному) колодцам: 1 - водоприемные отверстия; 2 - ствол; 3 - оголовок; 4 - крышка; 5 - вентиляционная труба; 6 - отмостка; 7 - водоотводящая канава; 8 - глиняный замок; 9 - напорный трубопровод; 10 - насос; 11 - кривая депрессии; 12 -. приемный клапан; 13 - обратный фильтр; 14 - водоупор; 15 - шахта; 16 -обсадные трубы; 17 - водоподъемные трубы; 18 - водоупорная кровля; 19 - фильтр; 20 - отстойник.
Трубчатые колодцы применяют при глубоком залегании водоносных пластов и их значительной мощности. Отличительная особенность трубчатых колодцев - малый диаметр и большая длина цилиндрической части. Трубчатые колодцы могут быть использованы для получения подземных безнапорных и напорных вод. Колодец может быть доведен до подстилающего водоупорного пласта (совершенный колодец, рис. 36) или оканчиваться в толще водоносного пласта (несовершенный колодец). Для водоснабжения крупных объектов предусматривают несколько трубчатых колодцев, объединяемых в общую систему водосборных сооружений.
2.4. Шахтные колодцы.
Шахтные колодцы сооружают из бетона, железобетона, кирпича, бута и дерева для приема обычно безнапорных вод при относительно небольшой глубине их залегания (до 40 м). Обычно шахтные колодцы не доходят до водоупора (колодцы несовершенного типа) и получают воду через днище и отверстия в стенках (рис. За). Шахтные колодцы имеют значительную площадь поперечного сечения и небольшую вертикальную часть. На дне и в отверстиях стен шахтных колодцев размещают фильтры для предотвращения попадания в них частиц породы.
2.5. Лучевой водосбор.
Лучевой водосбор является сооружением инфильтрационного типа, используемым для забора подрусловых и подземных вод из водоносных пластов небольшой мощности, лежащих на глубине до 20 м. Вода отбирается перфорированными трубчатыми дренами, расположенными в пределах водоносных пород и присоединяемыми радиально к сборному шахтному колодцу (рис. 5).
2.6. Каптажные водосборные сооружения.
Каптажные водосборные сооружения устраивают двух типов: для каптажа восходящих родников водоприемные сооружения представляют собой шахты или резервуары, размещаемые над местом наиболее интенсивного выхода подземных вод (рис. 6а); для каптажа нисходящих родников сооружают приемные камеры, располагаемые в месте интенсивного выхода родниковой воды (рис. 6б). В стенке камеры, обращенной к фронту поступления подземных вод, предусматривают водоприемные окна.



Рис. 4. Схема горизонтального водосбора (а) и конструкции дрен из щебня (б) и бетонных труб (в, г):
I - смотровые колодцы; 2 - водосборный колодец: 3 - дренажные трубы; 4- насосная станция; 5 - насыпной грунт; 6 - глиняный экран; 7 - песок; 8 - гравий; 9 - щебень; 10 - труба с отверстиями для входа воды;
I1 - бетонная подушка.





Рис. 6. Водоприемные сооружения для каптажа восходящих (а) и нисходящих (б) родников:
I - выход подземных вод; 2 - водоприемная камера; 3 - глиняный замок;
4 - служебный мостик; 5 - вентиляционная труба; 6 - вход в каптажную камеру; 7 - перелив; 8 - расходная труба; 9, 10 - грязевая и дренажная трубы;
II - водоприемное отверстие; 12 - обратный фильтр.
ЛИТЕРАТУРА
1. Абрамов Н. Н. Водоснабжение. М.: Стройиздат, 1982.
2. Алферова Л. А., Нечаев А. П. Замкнутые системы водного хозяйства промышленных предприятий. М.: Стройиздат, 1984.
3. Кучеренко Д. И., Гладков В. А. Оборотное водоснабжение. М.: Стройиздат, 1980.
4. Николадзе Н. Н. Водоснабжение. М.: Стройиздат, 1989.
5. Сомов М. А. Водопроводные системы и сооружения. М.: Стройиздат, 1988.
Министерство образования Российской Федерации
Камский государственный политехнический институт
Реферат
по дисциплине «инженерные сети»
на тему:
СООРУЖЕНИЯ ДЛЯ ЗАБОРА ВОДЫ
Выполнил: студент гр. 3305-У
Андреева Ю.В.
Проверил: преподаватель
Безбородова И.Н.
Набережные Челны, 2003 г.
|