Мурманский Государственный Технический Университет
Кафедра Менеджмента и Экономики
по предмету: «Основы современных технологий»
на тему: «Изготовление декоративной косметики»
| Выполнил: |
студент 1 курса, группа НЭ-101
Панов Александр
|
| Проверила: |
Корецкая Т.А.
|
2001
Ассортимент средств декоративной косметики, вырабатываемых промышленностью, разнообразен и включает следующие виды изделий: губные помады и блеск для губ, тени для век, тушь для ресниц, лаки для ногтей, маскирующие карандаши, румяна, макияжи и др. По количеству выпускаемой продукции декоративная косметика занимает одно из ведущих мест в общем объеме производства косметических средств. Средства по уходу за губами, особенно губная помада, являются особенно распространенным видом декоративной косметики. В зависимости от назначения их выпускают гигиенические, для окраски губ, и специального назначения. Тона разнообразны (более 300) от светло-морковного до темно-красного с фиолетовым оттенком.
Карандаши губных помад
выпускаются в металлических (латунных) или алюминиевых (анодированных) и пластмассовых пеналах различных конструкций (со звездочкой, движком, винтовой подачей).
Губные помады должны быть безвредны, иметь хороший внешний вид, легко наноситься на губы, равномерно их окрашивая, держаться на губах н
есколько часов, не крошиться и не прогоркать.
В состав губных помад входят жировая основа, краситель, растворитель для него, наполнитель и отдушка. Для придания твердой консистенции и определенной температуры плавления в губные помады вводят твердые жиры и воски (пчелиный и карнаубский,
церезин),
парафин, глицерин, моно-стеарат
глицерина, спермацет, а также высокомолекулярные спирты.
Пчелиный воск (белый или желтый),
вводимый в количестве 7— 20 %,
соединяет компоненты губной помады, придает ей твердость (но не жесткость),
увеличивает прочность мазка, эластичность, мягкость, способствует лучшей прилипаемости
красителей к губам. Карнаубский воск. добываемый из листьев бразильской пальмы и имеющий температуру плавления 84 °
С, придает губной помаде желательную твердость и определенную температуру плавления, но не выше 39 °С. Температура каплепадения
губной помады должна быть в пределах 50—80 °С.
Забиваем Сайты В ТОП КУВАЛДОЙ - Уникальные возможности от SeoHammer
Каждая ссылка анализируется по трем пакетам оценки: SEO, Трафик и SMM.
SeoHammer делает продвижение сайта прозрачным и простым занятием.
Ссылки, вечные ссылки, статьи, упоминания, пресс-релизы - используйте по максимуму потенциал SeoHammer для продвижения вашего сайта.
Что умеет делать SeoHammer
— Продвижение в один клик, интеллектуальный подбор запросов, покупка самых лучших ссылок с высокой степенью качества у лучших бирж ссылок.
— Регулярная проверка качества ссылок по более чем 100 показателям и ежедневный пересчет показателей качества проекта.
— Все известные форматы ссылок: арендные ссылки, вечные ссылки, публикации (упоминания, мнения, отзывы, статьи, пресс-релизы).
— SeoHammer покажет, где рост или падение, а также запросы, на которые нужно обратить внимание.
SeoHammer еще предоставляет технологию Буст, она ускоряет продвижение в десятки раз,
а первые результаты появляются уже в течение первых 7 дней.
Зарегистрироваться и Начать продвижение
За рубежом наряду с натуральными восками широко используются синтетические продукты: неполные эфиры, э
тилен или пропилен гликоля и предельных жирных кислот (пальмитиновая, миристиновая,
стеариновая) и др.
Озокерит и церезин способны хорошо связывать жиры и красители, что в сочетании с довольно высокой температурой плавления и пластичностью делает их незаменимыми компонентами губных помад. Спермацет придает губной помаде жирность и твердость, хорошо смягчает гу
бы. Высокомолекулярные спирты (цетиловый
спирт) делают мазок губной помады нежным и тонким. Какао-масло придает губной помаде жирность
и блеск.
Моностеарат
глицерина является растворителем красителей эозина и эозиновой
кислоты, а также способствует диспергированию
лаковых красителей и наполнителей. Мазеобразные компоненты губной помады (ланолин и частично гидрированное
касторовое масло) придают помаде пластифицирующие свойства, повышают плотность прилипания мазка к слизистой оболочке губ. Ланолин хорошо смягчает кожу губ, его вводят от 5 до 20%. Иногда используется ацетилированный
ланолин, который лучше смешивается с касторовым маслом, чем обычный, и обладает меньшей липкостью. Свиной жир придает губной помаде мягкость и жирность, улучшает ее вкус. Касторовое масло, вводимое для растворения эозина (красителя),
способствует более равномерному распределению его. Цетиолан
может заменить касторовое масло в производстве губных помад. Вырабатываются простые и трудносмываемые
губные помады.
Простые держатся небольшой промежуток времени. Они состоят из жировой основы и нерастворимых в воде и жирах красителей. В трудно-смываемых губных помадах применяются водорастворимые красители: э
озин, родамин Ж, родамин С, эритрозин.
В качестве растворителей этих красителей используются, кроме касторового масла
, глицерин, диэтилфталат,
полиэтиленгликоли,
бутилстеарат,
моностеарат глицерина, пропиленгликольмоноэтиловый
эфир и др.
К губным помадам специального назначения относятся, например, фотозашитные
(содержащие специальные вещества, защищающие губы от тепловых лучей ультрафиолетового спектра, вызывающих их высыхание и растрескивание)
и ряд других, в состав которых входят пленкообразующие, противовоспалительные и биологически активные ве
щества. За последние годы на ряде предприятий отрасли внедрены новые автоматизированные и высокомеханизированные
установки по производству губных помад и их розливу,
что позволило улучшить качество губных помад.
Сервис онлайн-записи на собственном Telegram-боте
Попробуйте сервис онлайн-записи VisitTime на основе вашего собственного Telegram-бота:
— Разгрузит мастера, специалиста или компанию;
— Позволит гибко управлять расписанием и загрузкой;
— Разошлет оповещения о новых услугах или акциях;
— Позволит принять оплату на карту/кошелек/счет;
— Позволит записываться на групповые и персональные посещения;
— Поможет получить от клиента отзывы о визите к вам;
— Включает в себя сервис чаевых.
Для новых пользователей первый месяц бесплатно.
Зарегистрироваться в сервисе
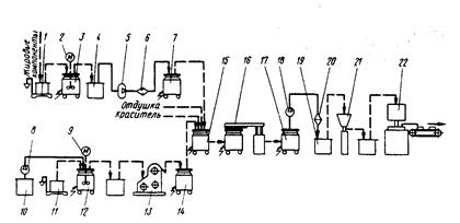
На рис. 26 показана одн
а из таких технологических схем производства губных помад. Весь технологический процесс производства состоит из следующих четырех технологических операций: приготовления жировей основы, пигментной пасты, массы помады, формовки и фасовки губной помады.
На весах 1
отвешивают соответствующее количество компонентов жировоскового
сырья, которое загружают в передвижную емкость 3,
установленную под настенной мешалкой 2.
Расплавленную массу фильтруют из промежуточной емкости 4
насосом 5
через фильтр б
в передвижную емкость 7.
Взвешенные на весах II
красители и наполнители загружают в емкость 1
2
с мешалкой 9,
куда добавляют жидкие компоненты (сорби-танолеат,
парфюмерное масло и т.д.) из емкости 10
насосом 8.
Полученную смесь подвергают вальцеванию на трехвалковой машине 13.
Емкость 15
с профильтрованной жировой основой и приготовленной пигментной пастой устанавливают под гомогенизатор 16.
Далее готовую массу губной помады насосом 1
8
через фильтр 20 передают в емкость.
Полуавтоматическая формовка и фасовка губной помады производятся на линиях фирмы "Антон Олерт"
(ФРГ).
Отфильтрованная масса загружается в литьевой котел 21,
а затем дозируется в литьевые формы. Сформованные карандаши автоматически выталкиваются в пенал. Затем пеналы с губной помадой подаются на ручную упаковку.
Наряду с полуавтоматическим производством губных помад на некоторых предприятиях сохраняется еще их выпуск на ручных конвейерах (см. рис. 25, поз. 23-28).
Отфильтрованная масса загружается в котел 22
и разливается в металлические формы 23,
которые помещаются на охлаждающий стол 24.
После охлаждения формы разбираются и карандаши губной помады ук
ладываются
в металлические подносы 25,
которые передаются на конвей
ер 26
для фасовки в пенал 2
7 и упаковки в коробки 28.
Пудра. Она относится к числу изделий декоративной косметики пользующейся большим спросом у потребителя. Ее вырабатывают в порошкообразной, жидкой и спрессованной компактной форме. Это ароматизированная
тонкодисперсная
однородная смесь минеральных и органических веществ, предназначенная для улучшения цвета лица, для защиты кожи от вредных влияний среды и впитывания выделений кожи.
Пудра должна легко впитывать выделения кожи, чтобы устранить блеск кожи, особенно носа, и оставлять легкий слой, под которым кожа выглядит матовой, бархатистой. Пудра должна обладать достаточной кроющей способностью, маскировать дефекты кожи. Для этого в ее
сос-
тав вводят окись цинка, двуокись титана и каолин. Пудра должна плотно прилегать к коже, не осыпаться при движении воздуха и относительно долго держаться на лице. Решающую роль здесь играют стеара-ты
цинка и магния и отчасти каолин. Хорошая шелковистость, бархатистость, жирность и легкость пудры достигаются введением в нее стеа-ратов
(5-15 %).
Пудра должна скользить по коже. Для этого в нее добавляют 30—50 % чистого белого талька.
Широко распространены пудры белого, розового, желтоватого (рашель),
желтовато-розового цветов, а также цвета загара и персика. Для окрашивания пудры применяют красители неорганические (сиена, железоокисные
пигменты желтый и красный и др.),
органические (эозин, лак красный ЖБ,
краски косметические),
минерального и синте
-тического
происхождения.
Чтобы пудра имела приятный запах, в нее добавляют соответствующую данному названию отдушку.
Ассортимент отечественной пудры насчитывает более 30 наименований. По ОСТ
18-249-75 пудра в зависимости от качества подразделяется на 3 группы: экстра, группы 1 и II. Для получения пудры группы э
кстра дополнительно измельчают исходное сырье или всю пудровую
массу. Пудру группы 1 просеивают через сито № 73 (сетка капроновая),
группы II - через сито № 61 (сетка капроновая). В зависимости от назначения и состава пудра групп 1 и II вырабатывается для сухой и жирной кожи. Пудра группы экстра предназначена для нормальной, сухой и жирной кожи. Различие между ними заключается в содержании компонентов в рецептурах.[1]
В зависимости от агрегатного состояния частиц пудру изготовляют россыпью (в коробочках и пакетах),
спрессованную компактной мае
-сой в специальной упаковке, кремообразную
(в тубах и банках) и жидкую (во флаконах) следующих цветов: белая, розовая, светлая рашель, рашель, загар светлый и темный и др.
Процесс приготовления всех видов пудр (за исключением кремооб-разной
и жидкой) сводится в основном к смешиванию всех ее ингредиентов с последующ
им просевом на ситах (имеющих 3600 отверстий на 1 см)
или смешивание и измельчение на соответствующих мельницах, компактной — к смешиванию и прессованию. Процесс приготовления рассыпной пудры группы экстра с применением виброизмельчения (фабрика "Новая Заря") (рис. 27) состоит из операций транспортировки и отвешивания
компонентов, предварительного просеивания, смешивания, измельчения и транспортировки готовой пудры на фасовку.
В сборник /,
установленный на весах, отвешивают компоненты пудры в соответствии с ее рецептурой. Посред
ством аэрозольтранспор-та
2 подготовленная масса подается в приемную воронку 3,
затем через шлюзовой затвор 4
и материал
опровод5
- в циклоны 6.
В дальнейшем через шлюзовой затвор 7 масса попадает на вибросито 8
и роторный смеситель 9.
После тщательного перемешивания пудровая
масса с помощью классификатора 12,
измельченная на вибромельнице 10
до величины частиц 6-12 мкм,
направляется в приемный циклон 13.
Пылевидные частицы, отсасываемые вентилятором II
из циклона 13,
поступают в вибромельницу 1
0.
Подготовленная масса через бункер 14
направляется на фасовочный автомат 1
5.
Для приготовления компактной пудры используется аналогичное сырье с д
обавлением в качестве связующих агентов декстрина, патоки, геля из крахмала и жировой добавки (ланолин, гидрированные
спирты, спермацет, пчелиный воск, пентол
и косточковое масло).
Технологическая схема приготовления компактной пудры, заим
ствованная из зарубежного опыта (Франция),
приведена ка
рис. 28. Сырье со склада подается пневмотранспортом в пять бункеров 7, 2, 3, 4, 5.
На весах 15
и 13
в переносных бочках 1
4
отвешиваются заданные по рецептуре количества краски и каолина, смешиваются в краскотерке II
и хранятся в бачке 12.
В дальнейшем готовая краска по мере надобности из бачка 12
специальным транспортером 16
подается в бункер 17.
Дозирование
отдушки осуществляется дозатором 1
8,
установленным на шнек-смесителе 19.
Заготовка и дозирование компонентов для компактной и рассыпной пудры аналогичны. Из бункеров 1-5
компоненты поступают на автоматические весы б, 7, 8, 9, 10,
а после взвешивания — в шнек-смеситель 19,
куда поступают краситель и отдушка. Пудровая смесь шнеком 20
подается в бурат27
и после просеивания (грубое классифицирование частиц по размеру) направляется в передвижной бачок 22.
В дальнейшем технология различная. Приготовленная исходная пудровая масса может поступать в производство рассыпной и на дальнейшую переработку для приготовления компактной пудры. В последнем случае пудровая масса и связующие компоненты с помощью спирального транспортера 23
подаются из бачка 22
в центробежный смеситель 24,
снабженный рубашкой, куда подается холодная вода для охлаждения. В смеситель подаются также жидкая МаКМЦ
и ком-пактирующие
добавки. В нем осуществляется интенсивное перемешивание и дополнительное измельчение компонентов массы. Измельченная масса с помощью шлюзового затвора 25
и приемника 31
попадает на классификационную установку, разделяющую исходную массу пудры на три части:
частицы, размер которых превышает 20^
-30 мкм после разделения на сите, возвращаются через шлюзовой затвор 28
с помощью спирального транспортера 27 в смеситель 24
для дополнительного измельчения;.
частицы размером менее 2 мкм аспирируются
и осаждаются в фильт
рах
26,
выводятся из схемы для использования в других изделиях (детские присыпки, тальки и т. д.);
частицы размером от 3 до 20 мкм
(оптимальный размер частиц, обладающих хорошей кроющей способностью и не закупоривающих поры кожи) из бункера 29 спиральным шнеком 32
подаются в бункера 33,
из которых по мере необходимости попадают на машину 34
для компак-тирования,
осуществляемого в металлические чашечки, поступающие из питателя. На узле прессования в чашечку запрессовывается пудра, после чего чашечка из машины выводится на ручной конвейер 35
для сборки пудреницы, укладки и закрепления чашечек в пудреницах. Во избежание пыления
в цехе вся классификационная установка аспирируется
с помощью вентилятора 30.
Жидкая пудра представляет собой суспензию обычной пудры в водно-глицериновом растворе с незначительными добавками спирта, жиро-подобных компонентов (спермацет, стеарин, парфюрмерное
масло, мо-ностеарат
глицерина и др.).
Эту пудру приготовляют в аппарате, снабженном мешалкой рамного типа. Полученная суспензия в зависимости от вязкости фасуется на автоматах розлива
жидкостей или тубонаполни-тельных
машинах.
Кремообразная
пудра или тональные кремы позволяют замаскировать незначительные дефекты кожи лица и придают ей здоровый, свежий и привлекательный вид, а также желаемый оттенок. Эти кремы представляют собой сложн
ую коллоидную систему - эмульгосуспензию.
Чрезвычайно важную роль в таких системах играют поверхностно-активные вещества, действие их многообразно и сложно,
В отличие от кремов косметических технология приготовления тональных кремов включает дополнительную стадию приготовления суспензии красителей.
Декоративные средства для глаз. Тушь для ресниц. Для окраски, утолщения и удлинения ресниц и придания им четкой формы косметической промышленностью вырабатывается специальная тушь. Она состоит из основы и красок. В основу входят мыло, декстрин, парафин, воск, стеарин и отдушка. В качестве красок применяют сажу, марсы, ультрамарин и пр. Тушь выпускае
тся в виде брусков в коробо
чках и з
виде жидкой эмульсионной массы в небольших баллончиках различных тонов. Технология приготовления брусковой туши близка к технологии получения губных помад, эмульсионную тушь готовят аналогично тональным кремам. Технологическая схема производства жидкой туши для ресниц показана на рис. 29.
Отвешенные на весах 1
жировые компоненты загружаются в передвижную емкость 3,
которая устанавливается под настенной мешалкой 2.
Расплавленную массу из промежуточной емкости 4
перекачивают насосом 5
через фильтр 6
в емкость 7. Одновременно в емкость 1
5
загружают красители, пленкообразующие компоненты, расплавленную жировую основу и проводят эмульгирование
массы в гомогенизато
ре 16.
Готовая маем
из сборника 7
7 через фильтр 20
насосом 1
8
подается в емкость 19
и пропускается через коллоидную мельницу 21.
Далее готовая масса подается в машину для автоматического наполнения и укупорки.
Пигментная паста и жидкий краситель, отвешенные на весах II,
компонент из емкости 1
0
насосом 8
подаются в емкость 12 с
мешалкой 9. Полученную смесь подвергают вальцеванию на трехвалковой машине 13
и готовую пигментную пасту добавляют в емкость 14.
Тени для век и средства для наведения теней под глазам и. Их применяют для оттен
ка глаз и придания им "глубины". Тени вырабатываются различных цветов и оттенков в виде паст, карандашей и в компактном виде. Тени в виде паст и карандашей состоят из основы (смеси жировых, воскообразных
веществ и нефтепродуктов) и красителей. Технология приготовления изделий в виде паст и карандашей и аппаратурное оформление процесса производства и фасовки аналогичны производству губной помады.
Получение теней для век (компактных) аналогично получению компактной пудры.
Карандаш для бровей. Он предназначен для подкраски и подчеркивания бровей, а также придания им желаемой формы. Карандаш представляет собой окрашенную ароматизированную
смесь восков, жиров и красителей. Цвета карандаша — черный, коричневый и синий. Технология приготовления его аналогична процессу производства и упаковки губных помад.
Лак и паста для ногтей. Лак для ногтей — бесцветные или окрашенные растворы нитроцеллюлозы
в органических растворителях -предназначен для придания ногтям блеска и окраски. Материалом для приготовления лака служит целлулоид, коллоксинин
и др. В качестве растворителей применяют амиловый эфир уксусной кислоты, ацетон,
Приложение № 1.
 
Приложение № 2.
   
[1]
В рец
ептуры пудр для сухой кожи входят компоненты, повышающие жирность кожи (стеараты
и др.). а в пудры для жирной кожи - компоненты, обеспечивающ
ие впит
ывание выделений кожи.
|