| Содержание
Введение
1. Описание машины
2. Описание и работа рабочих органов
2.1 Ходовая часть
2.2 Поворотная платформа
2.3 Стреловое оборудование
2.4 Гидравлическое оборудование крана
3. Расчет механической части
Заключение
Список литературы
Введение
Грузоподъёмные машины – это машины циклического действия, предназначенные для подъёма и перемещения грузов на небольшие расстояния в пределах определенной площадки.
Грузоподъёмные машины разнообразны по принципам действия, назначению, исполнению, конфигурации обслуживаемой площади.
Наибольшее распространение имеют машины общего назначения, универсальные, предназначенные для выполнения только подъёмно-транспортных операций. В частности, к таким устройствам относят самоходные гусеничные и пневмоколесные краны общего назначения.
Их преимущество перед остальными видами кранов проявляется в высокой мобильности устройств: возможности быстрого перемещения грузоподъемного механизма с одного места на другое, возможность использования на практически любом грунтовом основании без существенной подготовки, достаточно компактные размеры. Их недостатки: ограниченная грузоподъемность и размеры.
В данной работе рассмотрен самоходный стреловый кран с грузоподъемностью 50 тонн.
1. Описание машины
Стреловой самоходный полноповоротный кран на специальном шасси автомобильного типа КШТ-50.01 (рис. 1) предназначен для выполнения строительно – монтажных, погрузочно – разгрузочных, аварийно – восстановительных работ на рассредоточенных объектах.
Может работать с основным крюком на телескопической стреле длиной от 10,6 м до 34,5 м; вспомогательным крюком при установке удлинителей 9,5м или 16м.
Работа крана в соответствии с грузовыми характеристиками только при работе на выносных опорах.
Основные технические характеристики представлены в таблице 1.
Таблица 1.
Технические характеристики КШТ-50.01.
| Показатель
|
Значение показателя
|
| Максимальная грузоподъёмность главного подъёма (стрела 10,6м), т
|
50
|
| Максимальный грузовой момент (стрела 10,6м), кН∙м
|
1470
|
| Допустимая скорость ветра на высоте 10м, м/с
стрела до 26,5м
стрела до 34,5м
стрела с удлинителем
|
14,2
12,0
10,0
|
| Допустимая скорость ветра при нерабочем состоянии, м/с
Забиваем Сайты В ТОП КУВАЛДОЙ - Уникальные возможности от SeoHammer
Каждая ссылка анализируется по трем пакетам оценки: SEO, Трафик и SMM.
SeoHammer делает продвижение сайта прозрачным и простым занятием.
Ссылки, вечные ссылки, статьи, упоминания, пресс-релизы - используйте по максимуму потенциал SeoHammer для продвижения вашего сайта.
Что умеет делать SeoHammer
— Продвижение в один клик, интеллектуальный подбор запросов, покупка самых лучших ссылок с высокой степенью качества у лучших бирж ссылок.
— Регулярная проверка качества ссылок по более чем 100 показателям и ежедневный пересчет показателей качества проекта.
— Все известные форматы ссылок: арендные ссылки, вечные ссылки, публикации (упоминания, мнения, отзывы, статьи, пресс-релизы).
— SeoHammer покажет, где рост или падение, а также запросы, на которые нужно обратить внимание.
SeoHammer еще предоставляет технологию Буст, она ускоряет продвижение в десятки раз,
а первые результаты появляются уже в течение первых 7 дней.
Зарегистрироваться и Начать продвижение
|
27
|
| Допустимый уклон площадки для установки крана, при работе на выносных опорах, % (градусов)
|
5,2 (3)
|
| Максимальная глубина опускания крюка (стрела 10,6м), м
при кратности полиспаста 12
при кратности полиспаста 6
|
4
16
|
| Показатель
|
Значение показателя
|
| Максимальный груз, при котором могут выдвигаться секции телескопической стрелы, т
длина стрелы 10,6 - 21м
длина стрелы 21 – 26,5м
|
8,0
5,5
|
|
Скорости подъёма-опускания груза м/мин
при кратности полиспаста 12
при кратности полиспаста 6
|
4,0 - 10,0
8,3 – 20,0
|
|
Максимальная скорость передвижения крана, км/ч
своим ходом
на буксире
|
70
20
|
| Время полного изменения вылета, с
|
60
|
| Удерживающий момент со стрелой 10,6м, кН∙м
|
986,3
|
| Опрокидывающий момент со стрелой 10,6м, кН∙м
|
797,9
|
| Масса крана в заправленном состоянии, т
|
39,6
|
| Габаритные размеры крана в транспортном положении, м
|
13,2 х 2,5 х 3,7
|
| Радиус описываемый поворотной частью, м
|
3,8
|
| Расход дизельного топлива
при передвижении, на 100км, л
при крановой работе в час, л
|
70,0
12,5
|
| Гидрооборудование:
Рабочее давление, МПа
Удельный расход рабочей жидкости, л/моточас
|
20
0,5
|
Общий вид и основные размеры крана в транспортном положении приведены на рисунке 1.

Рис. 1. Общий вид крана КШТ-50.01 в транспортном положении.
1 – стрела; 2 – ходовая часть; 3 – крюковая подвеска 50т; 4 – шкворень; 5 – платформа поворотная; 6 – сменное стреловое оборудование (на рисунке показана часть удлинителя стрелы).
Основные составные части:
- ходовая часть;
- поворотная платформа;
- телескопическая стрела;
- сменное стреловое оборудование.
Ходовая часть – 4-х-осное шасси автомобильного типа. На шасси устанавливают насосы гидросистем.
Поворотная платформа служит базой для установки крановых механизмов. Механизмы на платформе приводятся в действие при помощи аксиально-поршневых гидродвигателей и гидроцилиндров, питающихся от насосов расположенных на шасси. Применение гидроприводов обеспечивает широкие диапазоны регулирования.
Телескопическая стрела – 4-х секционная с регулируемой длиной от 10,6 м до 34,5 м. Стрела обеспечивает выдвижение при наличии груза на крюке, что увеличивает возможности крана.
Сменное стреловое оборудование: удлинители 9,5 м и 16 м, увеличивают высоту подъема и пространство под стрелой, что позволяет поднимать грузы больших габаритов.
2. Описание и работа рабочих органов
2.1 Ходовая часть
Ходовая часть – шасси автомобильного типа 6923 – 0000010 - это 4-хосное колесное шасси. Общий вид колесного шасси представлен на рис. 2.
Сервис онлайн-записи на собственном Telegram-боте
Попробуйте сервис онлайн-записи VisitTime на основе вашего собственного Telegram-бота:
— Разгрузит мастера, специалиста или компанию;
— Позволит гибко управлять расписанием и загрузкой;
— Разошлет оповещения о новых услугах или акциях;
— Позволит принять оплату на карту/кошелек/счет;
— Позволит записываться на групповые и персональные посещения;
— Поможет получить от клиента отзывы о визите к вам;
— Включает в себя сервис чаевых.
Для новых пользователей первый месяц бесплатно.
Зарегистрироваться в сервисе
Рис. 2. Ходовая часть. 1 – шасси 6923-0000010; 2 – опоры выносные; 3 – стойка поддерживающая; 4 – гидрооборудование; 5 – вал карданный привода установки; 6 – редуктор; 7 – гидрораспределитель выносных опор.
Шасси оснащено выносными опорами, поддерживающей стойкой и гидрооборудованием: масляным баком, гидропанелью, гидрораспределителями выносных опор, гидрооборудование опор, редуктор привода насосов и тремя гидронасосами.
Привод гидронасосов осуществляется от входного вала раздаточной коробки шасси при помощи карданного вала.
В передней и задней частях шасси расположены выдвижные балки выносных опор. Они увеличивают опорную базу крана. В каждую балку вмонтированы гидроцилиндры выдвижения балки и силовой гидроцилиндр для установки крана на опоры.
При установке на опоры используются подпятники, которые крепятся на штоках опор при помощи рычагов. При транспортном положении – они крепятся на крыльях шасси.
2.2 Поворотная платформа
Состоит из поворотной рамы, опорно-поворотного устройства, механизма поворота, основной грузовой лебедки с ограничителем сматывания и прижимным роликом; вспомогательной лебедки с ограничителем и прижимным роликом; противовеса, гидрооборудования, гидроцилиндр подъёма стрелы, кабины с постом управления, электрооборудования и стопоры поворотной платформы.
К поворотной раме крепятся шарнир крепления стрелы, цилиндр подъёма стрелы.
Общий вид поворотной платформы представлен на рис. 3.

Рис. 3. Платформа поворотная общий вид.
1 – опорно-поворотное устройство; 2 – гидроцилиндр подъёма стрелы; 3 – пост управления; 4 – кабина; 5 – токоприёмник кольцевой; 6 – механизм поворота; 7 – лебедка вспомогательная; 8 – лебёдка основная; 9, 11 – ролики прижимные; 10 – противовес; 12 – рама поворотная; 13 – маслоохладитель; 14 – соединение шарнирное; 15 – стопор.
2.3 Стреловое оборудование
Стреловое оборудование крана включает в себя телескопическую стрелу и крюковую подвеску грузоподъёмностью 50т. Кран может оснащаться сменным стреловым оборудованием из монтируемого удлинителя и крюковой подвески грузоподъёмностью 6,3т. Общий вид телескопической стрелы приведен на рис. 4, вид крана с дополнительным стреловым оборудованием – рис. 5.
Стрела состоит из 4-х секций: основания, 2-х выдвижных секций и головки. В стреле находятся гидроцилиндр и канатный механизм телескопирования. Стрела выполнена сварной, из высокопрочной малолегированной стали. Концы секций имеют окантовку которая придаёт им прочность и жесткость.

Рис. 4. Стрела телескопическая

Рис.5. Стреловое оборудование сменное.
1 – стрела; 2 – крюковая подвеска грузоподъёмностью 50т; 3 - крюковая подвеска грузоподъёмностью 6,3т; 4 – удлинитель 9,5м; 5 – трос; 6 – удлинитель 16м.
2.4 Гидравлическое оборудование крана
Применение гидравлического привода обусловлено несколькими причинами, основная из которых – малые габариты при высокой удельной мощности, возможность плавного регулирования скорости движения, надежность и долговечность. Гидроприводы используются в тех случаях, когда невозможно использовать электропривод (например, если требуются относительно небольшие по размеру устройства), в т.ч. – в самоходных подъёмных устройствах большой грузоподъёмности.
Недостатками выбранного типа приводов можно считать: высокая стоимость, трудность предупреждения утечек рабочей жидкости, ухудшение работы при низких температурах, необходимость частой смены рабочей жидкости.
В данной модели применили объёмный гидропривод, с приводом от двигателя шасси.
Служит для установки и снятия крана с выносных опор и питает рабочей жидкостью гидросистемы поворотной платформы.
Гидросистема поворотной платформы служит для привода крановых механизмов: основной и вспомогательной лебёдок, механизмов подъёма и телескопирования стрелы.
Гидросистема состоит из 2-х основных и контура управления.
Контур 1 – привод механизмов поворота, механизма подъёма и телескопирования стрелы.
Контур 2 – приводы основной и вспомогательной лебедок.
Контур управления – дистанционное управление контура, привод компрессора кондиционера и вентилятора маслоохладителя.
3. Расчет механической части
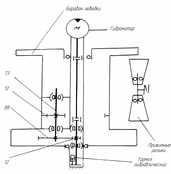
Произведем расчет мощности двигателя привода главной лебедки, как одной из наиболее ответственных частей, обеспечивающих подъём груза требуемой массы на определённую высоту с заданной скоростью.
Кинематическая схема привода приведена на рис. 6.

Рис. 6. Кинематическая схема привода главной лебедки.
Максимальное натяжение каната определим по формуле:

где G – вес груза, Н;
η – КПД полиспаста,
а – кратность полиспаста.

Момент сопротивления на валу двигателя, создаваемый весом груза и силами трения в элементах механизма:

где - диаметр барабана,
- число наматываемых ветвей каната,
- передаточное число привода барабана,
- КПД передачи привода барабана.
Средний пусковой момент

где - момент инерции вращающихся частей барабана;
- момент инерции массы груза приведенный к валу двигателя.
Момент инерции барабана

Общий КПД подъёмного механизма




Момент на валу двигателя при подъёме груза с постоянной номинальной скоростью

Мощность двигателя при подъёме груза с постоянной номинальной скоростью

Механизм привода барабана главной лебедки приведен на рис. 7.
Рис. 7. Привод барабана главной лебедки. 1 – барабан; 2 – основание; 3 – вал; 4 – подшипник; 5 – вал-шестерня; 6 – пробка; 7 – подшипник; 8 – корпус; 9 – тормоз; 10 – опора; 11, 17 – болт; 12 – крышка; 13 – колесо зубчатое; 14 – подшипник; 15 – вал; 16 – подшипник; 18 – опора; 19 – шайба; 20 – гидромотор; 21 – втулка шлицевая; 22 – сапун; 23 – крышка; 24 – подшипник; 25 – клин.
Заключение
На примере крана КШТ - 50.01 был рассмотрен целый класс устройств, предназначенных для выполнения погрузочно-разгрузочных работ.
При этом данный кран обладает большим преимуществом перед другими аналогичными механизмами. Несомненным преимуществом является возможность высокой подвижности, позволяющей в предельно короткие сроки развернуть работы на новом месте. Полная энергетическая независимость устройства от электрических сетей, наличие мощной многоосной автомобильной базы позволяет использовать кран даже в условиях малоподготовленных площадок на больших удалениях от населенных пунктов и электросетей. Большой диапазон регулирования вылета стрелы позволяет повысить универсальность крана – увеличивает возможности его применения при выполнении работ по подъёму и переносу грузов на различных высот. Наличие дополнительного оборудования в виде дополнительных удлинителей и вспомогательных крюков – позволяет оперировать с крупногабаритными грузами, например – длинные металлоконструкции большого веса.
Как существенные недостатки – можно выделить большие габариты и масса крана, жестко связанные с грузоподъёмностью устройства, - это затрудняет его использование при ограниченных размерах рабочей площадки, частые замены рабочей жидкости в крановых механизмах, высокую стоимость устройства.
Список литературы
1. Кран на спецшасси КШТ-50.01. Руководство по эксплуатации. Часть 1, 2. Описание и работа, использование по назначению.
2. Кран на спецшасси КШТ-50.01. Руководство по эксплуатации. Часть 3. Альбом рисунков и схем.
3. Александров М.П., Колобов Л.Н., Лобов Н.А. и др. Грузоподъёмные машины. М.: Машиностроение, 1986г. – 400с.
4. Зайцев Л.В., Полосин М.Д. Автомобильные краны. М.: Высшая школа, 1987г. – 208с.
5. Зайцев Л.В., Полосин М.Д. Автомобильные краны. М.: Высшая школа, 1978г. – 327с.
|