| Санкт-Петербургский государственный электротехнический университет «ЛЭТИ»
Кафедра автоматики и процессов управления
Курсовая работа
на тему:
Система автоматической стабилизации мощности излучения рентгеновского прибора.
( вариант 2 )
Выполнил:
студент группы 5561
Борисов М.
Преподаватель:
Солодовников Алексей Иванович
Санкт-Петербург.
2007
Содержание:
1. Задание: 3
2. Построение функциональной структурной схемы системы.. 3
3. Составление передаточных функций элементов системы.. 4
4. Выбор порядка астатизма системы: 4
5. Составление исходной передаточной функции и построение. 4
логарифмических АЧХ и ФЧХ для разомкнутого состояния системы.. 4
6. Построение желаемой асимптотической ЛАЧХ разомкнутой системы по заданным показателям качества. 5
7. Коррекция исходной ЛАЧХ в соответствии с желаемой. 6
8. Построение ФЛЧХ скорректированной системы для разомкнутого состояния. Проверка по запретной зоне, отвечающей заданному качеству системы.. 7
9. Поверочный расчёт переходного процесса системы.. 7
10. Пример принципиальной схемы тиристорного выпрямителя и его системы управления. 8
11. Представление схемы в двухпроводном исполнении, с учетом общего провода у электронных элементов. 8
1. Задание:
Составить функциональную структуру системы. Расчет системы по заданным показателям качества провести с помощью логарифмических частотных характеристик. Выполнить поверочный расчет переходного процесса системы по управляющему (или по возмущающему) воздействию.
Представить функциональную схему системы в двухпроводном исполнении. Показать пример принципиальной схемы одного из элементов системы (по согласованию с преподавателем)
Исходные данные:
| |
Параметры рентгеновского прибора
|
|
| 1
|
Номинальное напряжение питания, кВ
|
100
|
| 2
|
Коэффициент передачи КРП
, Вт/В
|
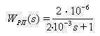
2 10-6
|
| 3
|
Передаточная функция 
|
|
| 4
|
Постоянная времени ТРП
, сек.
|
2 10-3
|
| |
Параметры управляемого источника питания
|
|
| 1
|
Источник выполнен в виде выпрямителя с тиристорным управлением по схеме с умножением выпрямляемого напряжения
|
|
| 2
|
Выходное напряжение соответствует номинальному напряжению питания рентгеновского прибора
|
|
| 3
|
Номинальное входное (управляющее) напряжение, В
|
10
|
| 4
|
Передаточная функция 
|
|
| 5
|
Постоянная времени КУИ
, сек.
|
0.15
|
| |
Параметры датчика мощности излучения
|
|
| 1
|
Коэффициент передачи, В/Вт
|
25
|
| 2
|
Номинальное выходное напряжение, В
|
5
|
| |
Показатели качества системы
Забиваем Сайты В ТОП КУВАЛДОЙ - Уникальные возможности от SeoHammer
Каждая ссылка анализируется по трем пакетам оценки: SEO, Трафик и SMM.
SeoHammer делает продвижение сайта прозрачным и простым занятием.
Ссылки, вечные ссылки, статьи, упоминания, пресс-релизы - используйте по максимуму потенциал SeoHammer для продвижения вашего сайта.
Что умеет делать SeoHammer
— Продвижение в один клик, интеллектуальный подбор запросов, покупка самых лучших ссылок с высокой степенью качества у лучших бирж ссылок.
— Регулярная проверка качества ссылок по более чем 100 показателям и ежедневный пересчет показателей качества проекта.
— Все известные форматы ссылок: арендные ссылки, вечные ссылки, публикации (упоминания, мнения, отзывы, статьи, пресс-релизы).
— SeoHammer покажет, где рост или падение, а также запросы, на которые нужно обратить внимание.
SeoHammer еще предоставляет технологию Буст, она ускоряет продвижение в десятки раз,
а первые результаты появляются уже в течение первых 7 дней.
Зарегистрироваться и Начать продвижение
|
|
| 1
|
Перерегулирование σmax
, %
|
30
|
| 2
|
Время регулирования tp
, сек.
|
<0.04
|
| 3
|
Статическая ошибка управления
|
0
|
| |
Поверочный расчет
|
|
| |
Рассчитать переходный процесс по возмущающему воздействию fB
(t) = fB
0
1(t), который вызывается скачком напряжения сети питания управляемого выпрямителя.
Передаточную функцию выпрямителя по возмущению принять в виде 
|
|
2. Построение функциональной структурной схемы системы
Построим исходную систему автоматической стабилизации мощности излучения рентгеновского прибора, анализируя исходные данные. Система будет состоять из следующих блоков:
УУ – управляющее устройство
УИ – управляемый источник питания
РП – рентгеновский прибор
ДМИ – датчик мощности излучения
fB
– возмущающее воздействие
3. Составление передаточных функций элементов системы
Запишем передаточные функции (ПФ) звеньев исходной системы в общем виде, подставив все заданные коэффициенты:
1. Передаточная функция управляющего устройства:

2. Передаточная функция управляемого источника питания:


3. Передаточная функция рентгеновского прибора:


4. Передаточная функция датчика мощности излучения:


4. Выбор порядка астатизма системы:
Примем υ=1, так как статическая ошибка управления по условию равна 0.
5. Составление исходной передаточной функции и построение
логарифмических АЧХ и ФЧХ
для разомкнутого состояния системы
Для разомкнутой системы:
Wисх
(s) = =

Графики логарифмических частотных характеристик изображены ниже на рис. 1
Показатели качества исходной системы (получены в программе CLASSIC):
Частота среза: 0.4986 рад/с
Запас по фазе: 85.6656 град
Частота пи: 57.7350 рад/с
Запас по модулю: 60.1150 дБ
6. Построение желаемой асимптотической ЛАЧХ разомкнутой системы по заданным показателям качества.
На основании заданных показателей качества по методу В. В. Солодовникова определяем:

Частота среза может принимать значения большие 282 рад/с, т. к. по условию tp
должно быть меньше значения 0.04 с

дБ
Передаточная функция желаемой ЛАЧХ имеет вид
где 
Значения K, T1
,Т2
, T3
подберем так, чтобы Wжел
соответствовала требуемым показателям качества системы, полученным из диаграммы Солодовникова.
По построениям в программе CLASSIC получаем передаточную функцию следующего вида:

На основании полученных данных построим желаемую асимптотическую ЛАЧХ и ФЛЧХ характеристики, на этом же графике для наглядности изобразим исходные характеристики:

рис. 1
7. Коррекция исходной ЛАЧХ в соответствии с желаемой
Для того чтобы получить желаемые характеристики из исходных:
Сервис онлайн-записи на собственном Telegram-боте
Попробуйте сервис онлайн-записи VisitTime на основе вашего собственного Telegram-бота:
— Разгрузит мастера, специалиста или компанию;
— Позволит гибко управлять расписанием и загрузкой;
— Разошлет оповещения о новых услугах или акциях;
— Позволит принять оплату на карту/кошелек/счет;
— Позволит записываться на групповые и персональные посещения;
— Поможет получить от клиента отзывы о визите к вам;
— Включает в себя сервис чаевых.
Для новых пользователей первый месяц бесплатно.
Зарегистрироваться в сервисе

Таким образом для обеспечения необходимых показателей качества системы необходимо применить ПИД (пропорционально-интегрально-дифференциальный) закон управления и последовательную коррекцию.
Тогда передаточная функция управляющего устройства будет иметь вид:

Передаточная функция корректирующего устройства:

Тогда передаточная функция разомкнутой полученной системы:

Показатели качества полученной системы:
Частота среза: 487.1219 рад/с
Запас по фазе: 45.4536 град
Для замкнутой системы:

8. Построение ФЛЧХ скорректированной системы для разомкнутого состояния. Проверка по
запретной зоне, отвечающей заданному качеству системы
ФЛЧХ скорректированной системы изображена на рис. 1, совпадает с желаемой ФЛЧХ. Из графика видно, что ФЛЧХ не заходит в запретную зону и практически удовлетворяет заданным показателям качества, рассчитанным по диаграмме Солодовникова.
9. Поверочный расчёт переходного процесса системы
Возмущающее воздействие по условию:
fB
(t) = fB
0
1(t), возьмем fB
0
= 3
В результате поверочного расчета в программе CLASSIC были получены следующие показатели качества при влиянии возмущения в виде ступенчатой функции:
Установившееся значение: 3.0000
Время регулирования: 0.0090 с.
Перерегулирование: 23.08%
Полученные показатели качества удовлетворяют требуемым.
График переходной функции h
(
t
)
скорректированной замкнутой системы:

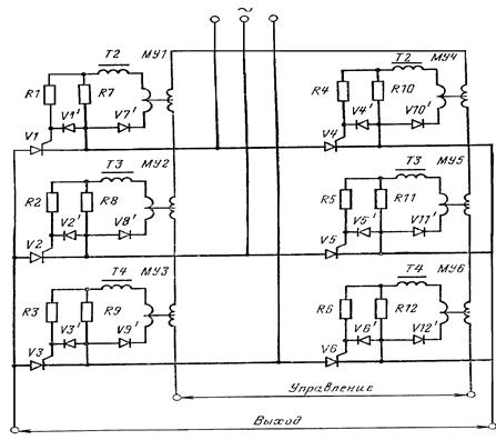
10. Пример принципиальной схемы
тиристорного выпрямителя и его системы управления

11. Представление схемы в двухпроводном исполнении, с учетом общего провода у электронных элементов

|