| Вологодский государственный педагогический университет
Курсовая работа по теме
:
МЕТОДЫ ИЗМЕРЕНИЯ КОЭФФИЦИЕНТА ПОВЕРХНОСТНОГО НАТЯЖЕНИЯ.
Выполнил
:
Орехов Н.В.
Вологда 1998
Коэффициент поверхностного натяжения.
Поверхность жидкости, соприкасающейся с другой средой, например с ее собственным паром, с какой-либо другой жидкостью или с твердым телом (в частности, со стенками сосуда, в котором она содержится), находится в особых условиях по сравнению с остальной массой жидкости.
Возникают эти особые условия потому, что молекулы пограничного слоя жидкости, в отличие от молекул в ее глубине, окружены молекулами той же жидкости не со всех сторон. Часть «соседей» поверхностных молекул - это частицы второй среды, с которой жидкость граничит. Она, эта среда, может отличаться от жидкости как природой, так и плотностью частиц. Имея же разных соседей, молекулы поверхностного слоя и взаимодействуют с ними различным образом. Поэтому силы, действующие на каждую молекулу в этом слое, оказываются неуравновешенными: существует некоторая равнодействующая сила, направленная либо в сторону объема жидкости, либо в сторону объема граничащей с ней среды. Вследствие этого перемещение молекулы из поверхностного слоя в глубь жидкости или в глубь среды, с которой она граничит, сопровождается совершением работы (внутри жидкости молекулы, со всех сторон окруженные точно такими же частицами, находятся в равновесии, и их перемещение истребует затраты работы Величина и знак этой работы зависят от соотношения между силами взаимодействия молекул поверхностного слоя со «своими» же молекулами и с молекулами второй среды.
В случае, если жидкость граничит со своим собственным паром (насыщенным), т. е. в случае, когда мы имеем дело с одним веществом, сила, испытываемая молекулами поверхностного слоя, направлена внутрь жидкости. Это объясняется тем, что плотность молекул в жидкости много больше, чем в насыщенном паре над 'жидкостью (вдали от критической температуры), и поэтому сила притяжения, испытываемая молекулой поверхностного слоя со стороны молекул жидкости, больше, чем со стороны молекул пара.
Отсюда следует, что, перемещаясь из поверхностного слоя внутрь жидкости, молекула совершает положительную работу. Наоборот, переход молекул из объема жидкости к поверхности сопровождается отрицательной работой, т. е. требует затраты внешней работы.
Забиваем Сайты В ТОП КУВАЛДОЙ - Уникальные возможности от SeoHammer
Каждая ссылка анализируется по трем пакетам оценки: SEO, Трафик и SMM.
SeoHammer делает продвижение сайта прозрачным и простым занятием.
Ссылки, вечные ссылки, статьи, упоминания, пресс-релизы - используйте по максимуму потенциал SeoHammer для продвижения вашего сайта.
Что умеет делать SeoHammer
— Продвижение в один клик, интеллектуальный подбор запросов, покупка самых лучших ссылок с высокой степенью качества у лучших бирж ссылок.
— Регулярная проверка качества ссылок по более чем 100 показателям и ежедневный пересчет показателей качества проекта.
— Все известные форматы ссылок: арендные ссылки, вечные ссылки, публикации (упоминания, мнения, отзывы, статьи, пресс-релизы).
— SeoHammer покажет, где рост или падение, а также запросы, на которые нужно обратить внимание.
SeoHammer еще предоставляет технологию Буст, она ускоряет продвижение в десятки раз,
а первые результаты появляются уже в течение первых 7 дней.
Зарегистрироваться и Начать продвижение
Представим себе, что по тем или иным причинам поверхность жидкости увеличивается (растягивается). Это значит, что некоторое количество молекул переходит из объема жидкости в поверхностный слой. Для этого, как мы только что видели, надо затратить внешнюю работу. Другими словами, увеличение поверхности жидкости сопровождается отрицательной
работой. Наоборот, при сокращении поверхности совершается положительная
работа.
Если при постоянной температуре обратимым путем изменить поверхность жидкости на бесконечно малую величину dS
,
то необходимая для этого работа

Знак минус указывает на то, что увеличение поверхности (
dS
>
0)
сопровождается отрицательной работой.
Коэффициент является основной величиной, характеризующей свойства поверхности жидкости, и называется коэффициен
том поверхностного натяжения
( > 0). Следовательно, коэффициент поверхностного натяжения измеряется работой, необходимой для увеличения площади поверхности жидкости при постоянной температуре на единицу.
Очевидно, в системе СИ имеет размерность .
Из сказанного ясно, что молекулы поверхностного слоя жидкости обладают избыточной по сравнению с молекулами, находящимися в объеме жидкости, потенциальной энергией. Обозначим ее . Эта энергия, как всегда, измеряется работой, которую могут совершить молекулы поверхности, перемещаясь внутрь жидкости под действием сил притяжения со стороны молекул в объеме жидкости.
Поскольку энергия обязана своим происхождением наличию поверхности жидкости, то она должна быть пропорциональна площади S поверхности жидкости:

Тогда изменение площади поверхности dS
повлечет за. собой изменение потенциальной энергии
,
которое сопровождается работой

в полном соответствии с (1).
Если, как было указано, изменение поверхности S осуществляется при постоянной температуре, т. е. изотермически (и обратимо), то, как известно, потребная для этого работа равна изменению свободной энергии F
поверхности:
.
(Если изменение поверхности жидкости произвести адиабатно, то ее температура изменится. Например, увеличение поверхности приведет к ее охлаждению.) Значит, избыточная потенциальная энергия поверхности жидкости, о которой говорилось выше, является свободной энергией поверхности и, следовательно,
Сервис онлайн-записи на собственном Telegram-боте
Попробуйте сервис онлайн-записи VisitTime на основе вашего собственного Telegram-бота:
— Разгрузит мастера, специалиста или компанию;
— Позволит гибко управлять расписанием и загрузкой;
— Разошлет оповещения о новых услугах или акциях;
— Позволит принять оплату на карту/кошелек/счет;
— Позволит записываться на групповые и персональные посещения;
— Поможет получить от клиента отзывы о визите к вам;
— Включает в себя сервис чаевых.
Для новых пользователей первый месяц бесплатно.
Зарегистрироваться в сервисе

т. е. коэффициент поверхностного натяжения жидкости можно определить как свободную энергию единицы площади этой поверхности.
Теперь ясно, в чем заключаются указанные выше особые условия, в которых находится поверхность жидкости. Они заключаются в том, что поверхность жидкости обладает избыточной по сравнению с остальной массой жидкости потенциальной (свободной) энергией. Посмотрим, к чему это приводит.
Известно, что всякая система при равновесии находится в том из возможных для нее состояний, при котором ее энергия имеет минимальное значение. Применительно к рассматриваемому случаю это означает, что жидкость в равновесии должна иметь минимально возможную поверхность.
Это в свою очередь означает, что должны существовать силы, препятствующие увеличению поверхности жидкости, т. е. стремящиеся сократить эту поверхность.
Очевидно, что эти силы должны быть направлены вдоль самой поверхности, по касательной к ней. Жидкость ведет себя так, как будто по касательной к ее поверхности действуют силы, сокращающие (стягивающие) эту поверхность. Эти силы называются силами поверхностного натяжения.
Нужно, однако, помнить, что первопричиной возникновения сил поверхностного натяжения являются силы, испытываемые молекулами поверхностного слоя, направленные внутрь жидкости, а в некоторых случаях внутрь той среды, с которой она граничит, т. е. перпендикулярно к поверхности.
Для разрыва, или, как говорят, для раздела поверхности необходимо приложить внешние силы, параллельные к поверхности и перпендикулярные к той линии, вдоль которой предполагается разрыв (раздел).
| 
Рис. 1
|
Это особенно ясно видно из опытов с тонкими пленками жидкости. Некоторые Жидкости, как, например, мыльная вода, сапонин и др., обладают свойством образовывать тонкие пленки. Если, например, опустить проволочную рамку, одна из сторон которой подвижна (рис. 1),
в мыльный раствор, то вся она затянется пленкой жидкости. Силы поверхностного натяжения принуждают пленку сокращаться, и подвижная перекладина АВ
вслед за пленкой перемещается вверх. Чтобы сохранить ее в равновесии, к перекладине нужно приложить силу Р
в виде груза (сюда входит и вес самой перекладины).
Таким образом, сила поверхностного натяжения, действующая в пленке, перпендикулярна к линии АВ
,
которая в данном случае и является линией раздела. Такие же силы действуют, конечно, и на другие стороны рамки. Но здесь они уравновешиваются силами притяжения жидкости к .веществу жесткой рамки.
Описанный опыт может быть использован для определения численного значения коэффициента поверхностного натяжения жидкости, образующей пленку. Действительно, поверхностная сила f
,
с учетом того, что пленка имеет две поверхности (ведь пленка на самом деле представляет собой тонкий слой жидкости), равна при равновесии весу груза Р
:
.
Если под действием этой силы перекладина, увлекаемая пленкой, переместилась на расстояние dh
из положения АВ
,
та работа, совершенная силой, равна:
Работа эта равна уменьшению свободной энергии пленки, которое, как мы знаем [см. (3)], равно: .
В данном случае ,
где l
- длина рамки. Отсюда:
и

Из (4) следует, что коэффициент поверхностного натяжения может быть определен как величина, равная силе, действующей по касательной к. поверхности жидкости, приходящейся на единицу длины линии раздела.
Определенный таким образом коэффициент поверхностного натяжения измеряется в системе СИ в единицах Н/м, а в системе СГС в дин/см.
Следующие простые опыты дополнительно поясняют сущность сил поверхностного натяжения.
| 
Рис. 2
|
Кольцо из проволоки с прикрепленной к нему в двух точках свободно подвешенной (не натянутой) нитью (рис. 2) погружается в мыльный раствор. При этом кольцо затягивается тонкой пленкой жидкости, а нить находится в равновесии, приняв случайную форму. Если теперь разрушить пленку по одну сторону от нити, прикоснувшись к пленке нагретой иглой, то нить натянется, приняв форму дуги окружности. Натяжение нити произошло под действием силы поверхностного натяжения со стороны сокращающейся пленки, силы, приложенной к нити, которая в данном случае является линией раздела. Сила эта, разумеется, во всех точках перпендикулярна к нити. Эта сила действовала на нить и. до разрушения пленки, но при этом на нее действовали одинаковые с обеих сторон силы. После же прорыва одной части пленки другая получила возможность уменьшить свою площадь и, как показывает форма натянувшейся нити, площадь эта стала минимальной.
|
Рис. 3
|
Этот опыт можно провести и в следующем, несколько измененном виде (Рис. 3). На мыльную пленку в таком же кольце помещается замкнутая петля из гибкой нити, .которая принимает случайную форму. Разрушим теперь пленку внутри петли. Тогда оставшаяся часть пленки, сокращаясь, растягивает нить в окружность, что опять ясно показывает, что силы поверхностного натяжения перпендикулярны к линии раздела. Описанные опыты показывают, что силы поверхностного натяжения возникают как результат стремления жидкости уменьшить свою поверхность, а следовательно, и поверхностную энергию.
Такого рода опыты проводятся с жидкостями, которые в силу специфического строения своих молекул легко образуют тонкие пленки. Следует отметить, что способность к образованию таких пленок связана не с величиной коэффициента поверхностного натяжения, а с формой молекул. У мыльного раствора, например, коэффициент поверхностного натяжения примерно в три раза меньше, чем у чистой воды, которая, однако, устойчивых пленок не образует.
Но поверхностное натяжение проявляется не только в опытах с тонкими пленками. Оно проявляется в целом ряде других явлений, некоторые из которых мы здесь рассмотрим.
Опыт Плато.
Стремление к уменьшению площади поверхности характерно, разумеется, не только для тонких пленок, но и для любых объемов жидкости. И если бы поверхностная энергия была единственным видом энергии, определяющим поведение жидкости, то любая масса жидкости всегда должна была бы принимать такую форму, при которой ее поверхность наименьшая. Такой формой, очевидно, является шар, так как именно шар обладает минимальной поверхностью при данном объеме.
Однако кроме внутренних сил взаимодействия между частицами, из-за которых и возникают силы поверхностного натяжения, на жидкость обычно действуют еще и внешние силы. Это, во-первых, сила тяжести и, во-вторых, силы взаимодействия частиц жидкости с частицами твердых стенок сосуда, в котором она содержится. Поэтому действительная форма, которую принимает жидкость, определяется соотношением этих трех сил.
Рассмотрим сначала роль силы тяжести. Это сила объемная, действующая на весь объем жидкости. Так как с изменением массы жидкости ее объем изменяется быстрее, чем ее поверхность, то при достаточно большой массе роль поверхностных сил очень мала по сравнению с силами объемными; поверхностная энергия в этом случае почти не играет роли и форма жидкости определяется главным образом потенциальной энергией, обусловленной силой тяжести. Под действием силы тяжести жидкость стремится разлиться и принять форму тонкого слоя - это соответствует минимальной потенциальной энергии в поле сил тяжести.
| 
Рис. 4
|
Но если тем или иным путем исключить или существенно уменьшить действие силы тяжести, то определяющими окажутся уже силы поверхностного натяжения, даже если они малы. В известном опыте Плато действие силы тяжести исключается тем, что жидкость помещается в другую, не смешивающуюся с нею жидкость с такой же
плотностью. Тогда вес жидкости уравновешивается подъемной силой Архимеда и поверхностные силы оказываются единственными определяющими геометрическую форму, которую примет жидкость. В таких случаях жидкость принимает форму шара.
Опыт Плато проводится следующим образом: в сосуд, содержащий раствор поваренной соли в воде, вливают некоторое количество анилина, который не растворяется в растворе NaCI (рис.4). Концентрацию раствора подбирают так, чтобы его плотность была равна плотности анилина. Тогда анилин собирается в шар, плавающий в растворе.
Очень эффектно наблюдаются поверхностные в космосе, когда невесомость обеспечивает шаровую форму жидкости вне сосуда.
Влияние второй среды.
Поверхностная энергия жидкости зависит не только от свойств самой жидкости, но и от свойств среды, с которой жидкость граничит. И если мы, тем не менее, ввели понятие о коэффициенте поверхностного натяжения, относя его только к жидкости, то при этом имелось в виду, что жидкость соприкасается с собственным паром. Впрочем, поверхностная энергия практически не изменится, если с жидкостью граничит любой газ малого давления. Это объясняется тем, что взаимодействие молекул жидкости с молекулами газа из-за малой его плотности значительно слабее взаимодействия между молекулами самой жидкости.
Иное дело, когда жидкость граничит с другой жидкостью или с твердым телом или с газом под большим (несколько сот атмосфер) давлением. В этом случае плотности веществ сравнимы между собой и пренебрегать взаимодействием частиц жидкости с частицами соприкасающейся среды уже нельзя.
Из-за этого взаимодействия значения коэффициентов поверхностного натяжения жидкости, граничащей со своим паром и с другим более плотным веществом, значительно различаются между собой. Поэтому, определяя коэффициент поверхностного натяжения, необходимо учитывать свойства веществ по обе стороны от поверхности.
Коэффициент поверхностного натяжения на границе двух жидкостей всегда меньше, чем в случае свободной поверхности жидкости. Это вполне естественно, так как силы взаимодействия молекул поверхностного слоя с молекулами граничащей среды и со «своими» молекулами направлены в противоположные стороны.
Влияние примесей.
Пря измерении поверхностного натяжения нужно следить за тем, чтобы жидкость была химически чистой, ибо примесь растворимых в жидкости веществ может заметно изменить поверхностное натяжение. Изменение поверхностного натяжения жидкости при растворении в ней примесей можно обнаружить при помощи следующего опыта Насыплем на поверхность воды какой-нибудь плавающий на ее поверхности порошок (например, тальк). Таким способом мы сделаем заметными перемещения поверхностного слоя воды. Теперь пустим на поверхность воды маленькую каплю мыльного раствора или эфира. Мы увидим, что порошок стремительно побежит от капельки во все стороны. Это показывает, что поверхностное натяжение раствора мыла или эфира меньше, чем поверхностное натяжение чистой воды.
То обстоятельство, что на поверхности воды образуется пленка раствора мыла или эфира, а следовательно, молекулы воды уходят вглубь, означает, что силы, втягивающие молекулы воды внутрь, больше, чем силы, втягивающие молекулы мыла или эфира; отсюда следует, что работа по вытягиванию молекул воды на поверхность больше, т. е. поверхностное натяжение чистой воды больше поверхностного натяжения раствора мыла- или эфира.
Метод капель.
Жидкость принимает сферическую форму не только при .искусственной компенсации силы тяжести (как это делается в опыте Плато). Малый объем жидкости сам по себе принимает форму, близкую к шару, так как благодаря малой массе жидкости мала и сила тяжести, действующая на нее. Поверхностная энергия и в этом случае превышает потенциальную энергию силы тяжести и форма жидкости определяется именно ею.
Этим объясняется шарообразная форма небольших капель жидкости. Хорошо известна, например, шаровидная форма капель ртути, у которой коэффициент поверхностного натяжения, как и у многих других расплавленных металлов, довольно велик - около 500 дин/см. Этим же объясняется почти строго шаровидная форма капель жидкости, вытекающих из узкой трубки.
При выходе из трубки размер капли постепенно нарастает, но отрывается она только тогда, когда достигает вполне определенного размера. Это происходит потому, что пока капля недостаточно велика, силы поверхностного натяжения достаточны для того, чтобы противостоять силе тяжести и предотвратить отрыв.
Отрыв же произойдет тогда, когда вес капли станет равным силе поверхностного натяжения, удерживающей ее. Отсюда следует, что из наблюдений над отрывом капель можно определить численное значение коэффициента поверхностного натяжения.
На рис. 5 показан процесс образования капли. Перед отрывом образуется шейка, радиус которой несколько меньше радиуса трубки. Вдоль окружности этой шейки и действует сила поверхностного натяжения (рис. 6), которая в момент отрыва должна быть равна силе тяжести.
Если радиус шейки r
, а коэффициент поверхностного натяжения жидкости ,
то сила поверхностного натяжения равна, очевидно, .
Следовательно, отрыв капли происходит при условии:

| 
Рис. 5 Рис. 6
|
Измерив вес Р
оторвавшейся капли и радиус шейки в момент отрыва, можно вычислить коэффициент поверхностного натяжения жидкости. Для достижения необходимой точности в определении радиуса шейки отрывающуюся каплю проектируют с известным увеличением на экран, где и производится измерение диаметра. При грубых измерениях диаметр шейки принимают примерно равным диаметру отверстия. Вес Р
отрывающейся капли измеряется на аналитических весах. Обычно в целях повышения точности измерения отсчитывают определенное число капель и измеряют их общий вес.
Описанный способ экспериментального определения коэффициента поверхностного натяжения дает хорошие результаты, несмотря на то, что в действительности отрыв капли происходит не совсем так, как описано выше. На самом деле капля не отрывается по линии окружности шейки. В момент, когда размер капли достигает значения, определяемого равенством (5), шейка начинает быстро сужаться, как это показано на рис. 5,г, причем ей сопутствует еще одна маленькая капля, как это показано на рис. 5,д.
Метод проволочной рамки.
| 
Рис. 7
|
Простой прибор для грубых измерений такого рода показан на рис. 7. Опустим в воду медную проволочку, изогнутую, как показано на рисунке, зацепит проволочку чувствительным пружинным динамометром и будем очень медленно, без толчков поднимать ее вверх. Показание динамометра будет постепенно увеличиваться и достигнет максимального значения, когда из воды покажется водяная пленка, повисшая на проволочке. Отсчитав показание динамометра и приняв во внимание вес проволочки, мы найдем силу, которая растягивает пленку. При длине проволочки 5 см эта сила составляет около 0,0070 Н; отсюда
Для уменьшения влияния примесей нужно непосредственно перед опытом обработать рамку спиртом. Большое влияние на результаты оказывает так же то, насколько равномерно поднимается динамометр. Эту равномерность обычно достигают тем, что динамометр оставляют неподвижным, а уровень жидкости постепенно уменьшают. Выполняются серии опытов с проволочными рамками разной длины.
Метод кольца.
| 
Рис. 8
|
Этот метод подобен методу проволочной рамки единственным отличием является то, что вместо рамки в нем используется металлическое кольцо рис.8. В этом случае длина пленки определяется как сумма длин окружностей внешней и внутренней сторон кольца.
Кроме элементарных методов определения коэффициента поверхностного натяжения жидкостей, которые были приведены выше существуют многие другие, более точные методы. некоторые из них описываются ниже.
Метод капиллярных волн.
| 
Рис. 9
|
Капиллярные волны - это другое название известного всем явления «ряби» на поверхности жидкости. Образуются эти волны под влиянием небольших возмущений и их возникновение связано с силами поверхностного натяжения. Механизм образования капиллярных волн в общих чертах следующий. Под действием тех или иных внешних воздействий поверхность жидкости в данном месте «вдавливается», становясь вогнутой (рис.9, а),
давление на слои жидкости под этой вогнутой поверхностью становится меньше (на величину ),
чем давление в соседних слоях, где поверхность осталась плоской. Возникшая таким образом разность давлений заставляет жидкость из соседних слоев приливать под вогнутую поверхность, и жидкость снова поднимается к начальному уровню, но проходит его по инерции за счет накопленной кинетической энергии. Поверхность поэтому станет выпуклой, и давление, обусловленное кривизной ее поверхности, будет теперь направлено вниз (рис. 9, б).
Ясно, что такого рода колебания жидкости в одном месте заставит и соседние точки совершать такие же колебания. Это и значит - что явление имеет волновой характер. Капиллярные волны отличаются малой амплитудой и малой длиной волны. Из-за малости амплитуды можно пренебречь влиянием силы тяжести, которая может вызывать такое же действие (силе тяжести обязаны и происхождением крутые морские волны). Волны только в тех случаях и называются капиллярными, когда в их образовании участвуют только силы поверхностного натяжения и они образуются за счет значительной кривизны на гребне и впадине волны.
Расчет показывает, что параметры капиллярных волн связаны с коэффициентом поверхностного натяжения следующим уравнением:

где n
-
частота колебаний в волне, - длина волны и -плотность жидкости. Формула (6) и может быть использована для определения коэффициента поверхностного натяжения жидкости, плотность которой известна. Для этого необходимо измерить частоту колебаний и длину волны. Обычно измеряют скорость распространения волн, с которой частота колебаний связана простым соотношением.
Метод капли и пузырька.
Этот метод основан на наблюдении крупной капли жидкости на плоской поверхности и воздушного пузырька (тоже большого размера) в той же жидкости.
| 
Рис. 10
|
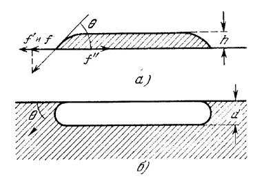
Пусть на горизонтальной плоскости (рис. 10) образована большая капля исследуемой жидкости, настолько большая, что ее поверхность всюду, кроме краев, плоская, и пусть краевой угол у границы капли. Условием равновесия капли является равенство абсолютных значений сил, стремящихся превратить ее в тонкую пленку, и сил, стремящихся придать ей сферическую форму. Растянуть каплю в тонкую пленку стремится, во-первых, сила тяжести и, во-вторых, сила поверхностного натяжения на границе между жидкостью и твердой подложкой. Сферическую же форму капле стремится придать сила поверхностного натяжения на поверхности жидкости.
Рассмотрим вертикальное сечение капли, перпендикулярное к плоскости чертежа, и выделим в этом сечении площадку высотой h
(высота капли) и длиной в 1 см. Благодаря силе тяжести на этом сечении действует гидростатическое давление. Среднее его значение равно ,
где - плотность жидкости и g - ускорение свободного падения. Сила же f
, вызванная им, равна 
(площадь выделенной площадки равна h
!).
Направление этой силы показано на рис. 10, а.
Горизонтальная составляющая f
' поверхностного натяжения на границе жидкости и подложки, отнесенная к единице длины, равна  . Направлена она так же,
как сила f
, и вместе с ней стремится превратить каплю в пленку. Этим двум силам противостоит сила поверхностного натяжения на поверхности жидкости f
",
направленная против них и равная (на единицу длины). Таким образом, условие равновесия капли можно записать в виде

или

Рассмотрим теперь воздушный пузырек в той же жидкости (рис. 10,6). Если пузырек достаточно велик, чтобы его «дно» было плоским, то рассуждения, подобные только что приведенным, показывают, что условием равновесия пузырька будет равенство

где d
-
высота пузырька. Складывая (7) и (8), получим:

Следовательно, для определения коэффициента поверхностного натяжения достаточно измерить высоты капли и пузырька.
Интересно, что этот же опыт может быть использован и для определения краевого угла . В самом деле, если вычесть (7) из (8), то получим:

Но по уравнению (9) следовательно, для получается равенство

| 
Рис. 11
|
Значит, для определения тоже требуется измерить только d
и h
.
Экспериментально d
и h
определяются с помощью манометра особом формы, показанной на рис. 11. После тщательной очистки манометр наполняется исследуемой жидкостью, после чего часть жидкости отсасывается так, чтобы образовался пузырек достаточного размера. Затем делается отсчет по манометру и этим определяется положение «дна» пузырька. После этого в прибор добавляют жидкость, чтобы на поверхности стекла, покрывающего широкое колено манометра, образовалась большая капля жидкости (на рис. 11 показана пунктиром). Новый отсчет по манометру даст положение основания капли. Наконец, с помощью специального прибора (сферометра) определяют высоту капли h
.
Зная толщину стекла, можно теперь из двух отсчетов по манометру определить d
и вычислить как коэффициент поверхностного натяжения, так и краевой угол.
Коэффициенты поверхностного натяжения некоторых жидкостей:
| Жидкость
|
температура
|
Поверхностное натяжение Н/М
|
| Вода
Раствор мыла в воде
Спирт
Эфир
Ртуть
Золото
Жидкий водород
Жидкий гелий
|
20
20
20
25
20
1130
-253
-269
|
0,0725
0,040
0,022
0,017
0,470
1,102
0,0021
0,00012
|
|