| Содержание
Аннотация……………………………………………………………….2
Введение…………………………………………………………………3
I.
Технология асимметричной цифровой абонентской линии
(
ADSL).
1.1
Общее описание технологии ADSL……………………..8
1.2
Области применения ADSL …………………………….12
1.3
Проблемы, связанные с применением ADSL………..15
1.4
Решение ADSL проблем…………………………………23
II.
Технологические характеристики оборудования
ADSL
компании
“Алкатель”
2.1
Общее описание оборудования ADSL………………..39
2.2
Мультиплексор ASAM – функциональное описание.49
2.3
Описание транспортной системы……………………...57
2.4
Функциональное описание сетевого ADSL-окончания (ANT)………………………………………………………..59
III.
Расчет оборудования ADSL
3.1
Разработка схемы проектируемой сети доступа……60
3.2 Расчет пропускной способности для проектируемой сети доступа……………………………………………….65
IV. Технико-экономическое обоснование
4.1
Обоснование целесообразности проектного решения71
4.2
Расчет капитальных затрат и эксплуатационных расходов…………………………………………………..82
V.
Экология и безопасность жизнедеятельности
5.1
Влияние монитора на организм человека…………….89
5.2
Расчет естественной освещенности в производственном помещении ………………………105
Заключение……………………………………………………………108
Список литературы………………………………………………….110
Перечень демонстрационных плакатов………………………..111
Аннотация
Данный дипломный проет посвящен описанию технологии ADSL, составу оборудования ADSL компании ”Alcatel”, расчету сети доступа в Интернет, её архитектура и состав оборудования, также был произведен расчет пропускной способности сети. В технико – экономическом обосновании сделан сравнительный анализ оборудования компаний “Alcatel” и ”Cisco Systems”, где видны явные преимущества оборудования компании “Alcatel”.
Расчет капитальных затрат и эксплуатационных расходов позволит оператору правильно определить тарифную политику, быстро окупить затраты и получить прибыль. В главе экология и безопасность жизнедеятельности описано влияние монитора на организм человека и расчитана естесственная освещенность в производственном помещении.
Дипломный проект содержит :
- 101 лист пояснительной записки;
- 5 листов плакатов;
- 1 приложение;
- 28 рисунков;
- 22 таблицы.
Введение
Российский рынок услуг передачи данных в режиме on-line находится в начальной стадии своего развития. Основным сдерживающим фактором является несоответствие между большой себестоимостью услуг и платежеспособностью потребителей, в результате чего такого рода услуги до настоящего времени могли позволить себе только средние и крупные корпоративные пользователи. Не секрет, что для снижения себестоимости услуг важнейшую роль играет выбор среды передачи данных именно для организации "последней мили", то есть линий, по которым помещения абонентов подключаются к точкам доступа оператора. При построении сети, рассчитанной на массового пользователя, выбор технологии для "последней мили" становится принципиальным с точки зрения влияния на тарифы.
Забиваем Сайты В ТОП КУВАЛДОЙ - Уникальные возможности от SeoHammer
Каждая ссылка анализируется по трем пакетам оценки: SEO, Трафик и SMM.
SeoHammer делает продвижение сайта прозрачным и простым занятием.
Ссылки, вечные ссылки, статьи, упоминания, пресс-релизы - используйте по максимуму потенциал SeoHammer для продвижения вашего сайта.
Что умеет делать SeoHammer
— Продвижение в один клик, интеллектуальный подбор запросов, покупка самых лучших ссылок с высокой степенью качества у лучших бирж ссылок.
— Регулярная проверка качества ссылок по более чем 100 показателям и ежедневный пересчет показателей качества проекта.
— Все известные форматы ссылок: арендные ссылки, вечные ссылки, публикации (упоминания, мнения, отзывы, статьи, пресс-релизы).
— SeoHammer покажет, где рост или падение, а также запросы, на которые нужно обратить внимание.
SeoHammer еще предоставляет технологию Буст, она ускоряет продвижение в десятки раз,
а первые результаты появляются уже в течение первых 7 дней.
Зарегистрироваться и Начать продвижение
В настоящее время известны и широко используются в городских условиях следующие средства для организации "последней мили":
телефонные медные провода;
волоконно-оптические кабели;
телевизионные кабельные сети;
радиоэфир (технология "радио-Ethernet");
каналы спутникового телевидения
Традиционные технологии, которые были до настоящего времени разработаны для высокоскоростной передачи данных или доступа в сеть Интернет, достаточно дороги, причем не только на этапе внедрения, но и при эксплуатации, в то время как эффективные с экономической точки зрения технологии не обеспечивали необходимой пользователям скорости передачи данных. Большинство пользователей все еще вынуждены применять для получения доступа в сеть Интернет аналоговые модемы, предназначенные для использования на телефонных линиях [5].
Возможности высокоскоростной передачи данных долгие годы не распространялись на миллионы представителей мелкого бизнеса и частных абонентов, которые по понятным экономическим соображениям не могут себе позволить содержать выделенную оптико-волоконную линию. И хотя потребность этих групп абонентов в технологиях цифровой передачи постоянно росла и растет, до последнего времени им оставалось полагаться только на те средства передачи данных, которые используют линии телефонной сети общего пользования. Технологии DSL(Цифровая абонентская линия) являются одним из главных средств решения проблем такого рода.
Медная абонентская телефонная линия находится в стадии эволюционного перехода от аналоговой сети, предназначенной только для обеспечения телефонной связи, к широкополосной цифровой сети, способной обеспечить передачу голоса, высокоскоростную передачу данных, а также работу других не менее важных коммуникационных служб. Поддержание работы такой сети требует не только наличия соответствующего современного оборудования, но и совершенно нового подхода к управлению работой кабельной абонентской телефонной сети.
Сервис онлайн-записи на собственном Telegram-боте
Попробуйте сервис онлайн-записи VisitTime на основе вашего собственного Telegram-бота:
— Разгрузит мастера, специалиста или компанию;
— Позволит гибко управлять расписанием и загрузкой;
— Разошлет оповещения о новых услугах или акциях;
— Позволит принять оплату на карту/кошелек/счет;
— Позволит записываться на групповые и персональные посещения;
— Поможет получить от клиента отзывы о визите к вам;
— Включает в себя сервис чаевых.
Для новых пользователей первый месяц бесплатно.
Зарегистрироваться в сервисе
Сеть, состоящая из пар витых проводов, которая изначально предназначалась только для обеспечения телефонной связи между различными абонентами, постепенно превращается в сеть широкополосных каналов, способных поддержать высокоскоростную передачу данных и другие широкополосные телекоммуникационные службы. Разработанная для аналоговых телефонных линий технология (аналоговые модемы, предназначенные для передачи по телефонным линиям) имеет очень ограниченную скорость передачи данных - до 56 Кбит/с. Но, благодаря использованию на абонентской кабельной сети современных технологий, разработанных специально для витых пар проводов, те же самые линии, которые ранее использовались для традиционной телефонной связи и передачи данных могут поддерживать экономически эффективную высокоскоростную передачу данных, при этом сохраняя возможности одновременного использования абонентских линии и для традиционной телефонной связи. Новую ступень развития удалось преодолеть благодаря использованию технологий DSL.
Для конечных пользователей технологии DSL обеспечивают высокоскоростное и надежное соединение между сетями или с сетью Интернет, а телефонные компании получают возможность исключить потоки данных из своего коммутационного оборудования, оставляя его исключительно для традиционной телефонной связи.
Обеспечение высокоскоростной передачи данных по медной двухпроводной абонентской телефонной линии достигается установкой оборудования DSL на абонентском конце линии и на "конечной остановке" магистральной сети высокоскоростной передачи данных, которая должна находится на телефонной станции, к которой подключена данная абонентская линия. Если на абонентской линии с использованием технологии DSL организована высокоскоростная передача данных, информация передается в виде цифровых сигналов в полосе гораздо более высоких частот, чем та, которая обычно используется для традиционной аналоговой телефонной связи. Это позволяет значительно расширить коммуникационные возможности существующих витых пар телефонных проводов.
Использование технологий DSL на абонентской телефонной линии позволило превратить абонентскую кабельную сеть в часть сети высокоскоростной передачи данных. Телефонные компании получили возможность увеличить свои прибыли, используя существующую кабельную телефонную сеть для предоставления своим абонентам возможности высокоскоростной передачи данных по доступной цене.
Кроме обеспечения высокоскоростной передачи данных, технологии DSL являются эффективных средством организации многоканальных служб телефонной связи. С помощью технологии VoDSL (голос по DSL) можно объединить большое количество каналов телефонной (голосовой) связи и передать их по одной абонентской линии, на которой установлено оборудование DSL.
Более того, широкополосные сети, построенные на базе технологии DSL, не ограничены только организацией многоканальной голосовой связи или высокоскоростной передачи данных. Они представляют собой базовую сеть для внедрения других служб, непременно требующих для своей работы широкой полосы частот.
Обеспечение доступа в сеть Интернет является одной из основных функций современных цифровых сетей. Ширина используемой полосы частот зависит от применяемой технологии высокоскоростной передачи данных.
Организация видеоконференций требует симметричной передачи данных. Так как при организации видеоконференций необходимо передавать и голос и видеосигнал, то такая служба требует наиболее широкой частотной полосы по сравнению с другими службами. При этом минимальная задержка в передачи или потеря части информации могут быть замечены немедленно.
Организация службы видео по запросу требует установки асимметричного соединения. Восходящий поток передачи данных (от пользователя в сеть) используется для передачи пользователем сигналов управления (таких, как воспроизведение, остановка, пауза, перемотка и т.п.). Нисходящий поток передачи данных используется для передачи пользователю запрошенного видеосигнала.
Для обеспечения возможности организации новых служб сеть абонентских двухпроводных телефонных линий должна пройти определенный этап развития от аналоговой узкополосной сети, предназначенной для передачи только телефонных разговоров, до цифровой широкополосной сети, предназначенной не только для передачи голоса, но и для передачи данных и видеосигналов [4].
Настоятельная потребность в высокоскоростной передаче данных привела к созданию технологий и соответствующего оборудования DSL. Для обеспечения должного уровня обслуживания, например, в городах, оборудование доступа должно быть установлено на сотнях телефонных станций. Только после установки необходимого оборудования можно предлагать данную услугу потенциальным пользователям. Предоставление абонентам услуги высокоскоростной передачи данных включает в себя установку необходимого оборудования у абонента, правильное подключение и подготовку линии, соединяющей оборудование пользователя с тем оборудованием, которое установлено на телефонной станции, и начало обслуживания. При этом существует и потребность в подготовке кадров, обладающих умением работать с оборудованием и технологиями DSL, для всех организаций, участвующих в предоставлении данной услуги.
Не все линии поддерживают технологии DSL. Технические специалисты телефонных компаний должны уметь квалифицировать линии не только с точки зрения возможности их использования для высокоскоростной передачи данных с использованием технологии DSL, но и для определения конкретной технологии DSL, которая может использоваться на данной абонентской линии. Идеально, если хотя бы проверка линий потенциальных пользователей будет проведена заранее, что позволит после поступления от любого из этих пользователей запроса на обслуживание практически без задержки предоставить ему требуемую услугу.
Провайдеры должны иметь физический доступ к абонентским линиям и проверочное оборудование, позволяющее дистанционно анализировать цифровые высокочастотные сигналы и состояние физической линии, что позволит контролировать работу абонентской линии, искать и устранять появляющиеся неисправности.
При использовании стандартной аналоговой телефонной службы абонент набирает номер, который позволяет коммутационному оборудованию телефонной сети установить соединение с другим абонентом или модемом. В случае неисправности, например, модема провайдера, происходит разъединение и для установки соединения абонент должен снова набрать телефонный номер. Соединение DSL является постоянно включенным соединением, которое соединяет оборудование пользователя с мультиплексором доступа. В случае повреждения на станции оборудования, обеспечивающего соединение с данным пользователем, последний не будет получать обслуживание до устранения провайдером неисправности в своем оборудовании. Поэтому на случай повреждения оборудования обеспечения доступа провайдер должен иметь возможность быстро переключить пользователя на резервное оборудование и устранить неисправность.
По мере того, как сети становятся все более сложными с точки зрения предоставляемых услуг и выполняемых функций, системы управления также должны развиваться. Усовершенствованные средства и инструменты управления снижают общие расходы на контроль состояния сети и управление.
В наши дни технологии, обеспечивающие высокоскоростной доступ в сеть Интернет и соединение сетей между собой, доступны как никогда. Технологии DSL позволяют расширить использование таких услуг на те сегменты рынка, которые ранее не были охвачены. Однако широкомасштабное внедрение новых технологий приводит к постепенному переходу от аналоговой абонентской сети к цифровой абонентской сети. Переход на новую ступень развития приводит не только к созданию оборудования нового поколения, но и требует использования соответствующих приборов, обучения обслуживающего персонала новым методам работы и совершенно другого подхода к вопросам управления сетью абонентских телефонных линий.
ГЛАВА I. Технология асинхронной цифровой
абонентской линии
1.1. Общее описание технологии ADSL
Вступление
Всем хорошо известны возможности медной витой пары по передаче высокочастотного аналогового сигнала. Аналоговые модемы позволяют достигать скоростей до 28 Кбит/с по стандартному телефонному каналу. Используя схожие методы модуляции технология ADSL позволяет достичь скорости нисходящего потока (от станции к пользователю) до нескольких Мбит/с. На низкоскоростном канале от пользователя к станции эта технология позволяет пользователю управлять нисходящим потоком (см. рис.1). Необходимо отметить, что современные алгоритмы модуляции и кодирования обеспечивают скорость ADSL, которая приближается к теоретическому пределу.

Рисунок 1. Абонентская линия ADSL.
Высокая скорость нисходящего потока выбрана потому, что большинство домашних пользовательских приложений являются асимметричными. Бизнес пользователи, которым необходимы симметричные высокоскоростные приложения, используют оптический или коаксиальный кабель для обеспечения высокоскоростного двустороннего обмена данными. Поэтому технология ADSL была разработана в первую очередь для рынка домашних пользователей.
В связи с этим, пользователь может продолжать пользоваться уже имеющейся телефонной связью. На практике это означает, что пользователь может осуществлять телефонные вызовы во время передачи данных с использованием ADSL оборудования.
Краткая история эволюции модемов использующих неэкранированную витую пару (UTP)
В 1881 Грэхем Белл изобрел аналоговый модем, т.е. телефон. После этого потребовалось 80 лет, чтобы изобрести цифровые модемы. В таблице 1.1 приведена краткая история модемов.
Модемы, использующие стандартный телефонный канал
Таблица 1.1 Модемы использующие канал ТЧ
| Год
|
Скорость
|
Модуляция
|
| 1960
|
300-1.2 Кбит/с (V.21,V23)
|
ЧМ
|
| 1968
|
2.4 (V.26)
|
ДОФМ (QPSK)
|
| 1972
|
4.8 Кбит/с (V.27)
|
ТОФМ (8-PSK)
|
| 1976
|
9.6 Кбит/с (V.29)
|
КАМ-16 (16-QAM)
|
| 1986
|
14.4 Кбит/с (V.33)
|
КАМ-64 со сверточным кодированием (64-QAM+TCM)
|
| 1989
|
19.2 Кбит/с (V.33bis)
|
КАМ-64 со сверточным кодированием (64-QAM+TCM)
|
| 1993
|
28.8 Кбит/с (V.34)
|
Цифровая многоканальная (DMT)
|
Модемы, использующие выделенную пару симметричного кабеля
Таблица 1.2 Модемы, использующие выделенные пары симметричного кабеля
| Год
|
Технология
|
Описание
|
Расстояние/Диаметр жилы
|
| 1985
|
U-IC
|
Дуплексная передача на скорости 160 Кбит/с по одной неэкранированной паре
|
8-10 км максимально.
4 км/0.4 мм
|
| 1990
|
HDSL
|
Дуплексная передача на скорости 2 Мбит/с по 2 или 3 неэкранированным парам
|
2 UTP: 2.4 км/0,4 мм
2 UTP: 2.6 км/0,6 мм
3 UTP: 3.9 км/0,4 мм
3 UTP: 4.9 км/0,6 мм
|
| 1995
|
ADSL
|
1.5-8 Мбит/с (и более) нисходящий поток
640 - 1000 Кбит/с восходящий поток
|
1-5.4 км максимально
|
| 1997
|
VHDSL
|
20-50 Мбит/с
|
200-500 м
|
Концепция ADSL
Концепция ADSL была предложена в начале этого десятилетия компанией AT&T Bell Laboratories и Стэндфордским университетом. С тех пор был пройден путь от компьютерных эмуляций и лабораторных прототипов до выпуска стандартных систем, которые вскоре перерастут в интегрированные системы.
Принцип заключается в одновременной передаче по медной паре высокоскоростного нисходящего потока к пользователю и низкоскоростного восходящего потока от пользователя в сеть без влияния на телефонию [1].

Рисунок 2. Спектр используемых частот.
В высокоскоростном нисходящем потоке и низкоскоростном восходящем потоке передается цифровая информация. В добавлении к этому, технология ADSL имеет важную возможность мультиплексирования цифровой информации на более высоких частотах, по сравнению с традиционным каналом ТЧ. Другими словами, пользователи, использующие аналоговую телефонию могут продолжать ей пользоваться одновременно с ADSL. Данная функция осуществляется с помощью специального устройства – сплиттера (ФНЧ).
Рисунок 3. Внешние характеристики ADSL.
На рисунке 3 изображены внешние характеристики ADSL. Пропускная способность восходящего и нисходящего потоков составляет несколько Кбит/с и несколько Мбит/с соответственно. Естественно, по мере увеличения расстояния, максимально достижимая пропускная способность падает. Например, ADSL устройство, работающее на скорости 2 Мбит/с позволяет подключить множество пользователей на достаточно большом расстоянии. Тогда как ADSL устройства, работающие на скоростях 6 Мбит/с и более, позволят подключить пользователей на значительно меньшем расстоянии.
Поскольку восходящий поток передается на более низкой частоте, по сравнению с нисходящим, переходные помехи будут значительно ниже, чем при использовании симметричных систем. Отсутствие таких помех позволяет использовать ADSL устройства на больших расстояниях.
Приемопередатчик ADSL функционирует на более высоких частотах, чем стандартные телефонные устройства, поэтому при наличии фильтрации, обеспечивающей защиту от нежелательного шума (возникающего при передаче номера декадным током и при посылке вызывного тока), ADSL устройства могут использовать одну телефонную пару вместе с телефонными устройствами.
Таким образом, технология ADSL предполагает наличие пары высокоскоростных модемов для обеспечения доступа к широкополосным службам. Один модем устанавливается в ADSL - мультиплексоре и соединяется через высокоскоростную сеть с провайдером служб, предоставляющим доступ в Интернет, видео по запросу и т.п. Другой модем устанавливается в помещении пользователя и соединяется с одним или более модулем служб (Service Module –SM). SM – это устройство конечного пользователя, например персональный компьютер (ПК).

Рисунок 4. Принцип организации ADSL
1.2
. Области применения ADSL
Требования к скорости
На рисунке 5 показаны требования к скорости, при использовании различных служб, как для восходящего так и для нисходящего потока. Очевидно, что большинство абонентских служб являются асимметричными. Другими словами пользователь принимает большой объем информации, при этом скорость передачи информации значительно меньше. Особенно высокой скорости нисходящего потока требуют видео службы. Таким образом, ADSL устройство должно обеспечивать гибкость при выборе скорости, пользователь должен иметь возможность самостоятельно определять количество каналов и их скорость при приеме данных.
В последние годы, существенно возросло использование Интернет, также возрос объем информации, который пользователь принимает из сети. В связи с этим, современные ADSL модемы предоставляют пользователю два интерфейса. Первый интерфейс – Ethernet, с помощью него к модему может быть подсоединен любой персональный компьютер. Другой - АТМ интерфейс, позволяет, с помощью использования специального терминала принимать видео сигнал на телевизор, а также рассчитан на дальнейший рост АТМ технологии.

Рисунок 5. Характеристики некоторых интерактивных служб.
Службы и области применения ADSL
В данном параграфе приводится краткий обзор служб и областей применения ADSL.
Дистанционный доступ
Работа на дому
- Конечный пользователь имеет возможность осуществлять доступ к рабочей станции, принтерам, факсам или удаленным ЛВС/ГВС
· Нисходящий поток
Видео качество CATV (4 Мбит/с) + голос + данные
· Восходящий поток Голос + данные ( 64 Кбит/с)
Видео конференции Конечный пользователь имеет возможность принимать видеоизображение из удаленной видеоконференции, в этом случае видео будет передаваться по нисходящему потоку, а аудио информация в восходящем:
· Нисходящий поток Низкокачественное видео (1.5 Мбит/с) + голос + графика
· Восходящий поток
Голос + графика + дата (все - 384 Кбит/с)
Другие области применения
Видео по запросу, Интерактивное телевидение
Конечный пользователь может получить доступ к видео реального времени, и/или заранее сохраненному видео или к графике, а также может осуществить поиск с помощью меню
· Нисходящий поток Качество VHS (1.5 Мбит/с), CATV (4 Мбит/с), высокое (6 Мбит/с)
· Восходящий поток Удаленное управление с помощью VCR (16 Кбит/с)
Музыка по запросу
Конечный пользователь может осуществить доступ к музыке через сеть провайдера служб
· Нисходящий поток Высококачественное аудио (384 Кбит/с)
· Восходящий поток Дистанционное управление (стоп, пауза,… ) (100 бит/с)
Игры
Интерактивные игры
Конечный пользователь имеет возможность участвовать в интерактивной игре через удаленный сервер с другим пользователем.
· Нисходящий поток Высококачественное видео (6 Мбит/с) + аудио
· Восходящий поток Джойстик или мышь ( 64 Кбит/с)
Заключение
Скорость приема и передачи данных, требуемая для реализации любого из рассмотренных приложений обеспечивается технологией ADSL.
1.3. Проблемы, связанные с применением ADSL
Параметры телекоммуникационной системы
На рисунке 6 показана различные параметры телекоммуникационной системы. Нам необходима максимальная скорость и, в то же время, минимальная вероятность возникновения ошибки. Этого можно достичь путем увеличения мощности передачи и/или увеличения полосы пропускания и/или усложнения системы. Конечно требуется минимально возможная мощность, полоса пропускания и сложность системы. Кроме того, телекоммуникационная система имеет ограничения по данным параметрам. Здесь оговариваются ограничения, налагаемые на мощность и ширину полосы пропускания.
С другой стороны, нам требуется обеспечить максимальное использование системы. Максимальное количество пользователей должны иметь возможность надежного доступа к службам с минимальной задержкой и максимальной защитой от интерференции. Вот то, что нужно пользователю. Рисунок 6. Параметры.
Существуют определенные теоретические ограничения, влияющие на конечный продукт [9]:
· Теоретическая минимальная полоса пропускания по Найквисту
· Теорема мощности Шеннона-Хартли и связанный с ней предел Шеннона
· Ограничения, накладываемые правительством, например на выделяемый частотный диапазон
· Технологические ограничения, например сложные компоненты
Различные явления, которые влияют на производительность передачи по витой паре могут быть разделены на следующие категории:
· Затухание
· Дисперсия импульса
· Отражения
· Несогласованный приемопередатчик;
· Изменения диаметра кабеля
· Шум и интерференция
· Белый шум;
· Перекрестные помехи
· Интерференция на радио частоте
· Импульсный шум
Критерий Найквиста
Найквист изучал проблему определения формы принимаемого импульса, которая позволила бы избежать межсимвольной интерференции (Inter-Symbol Interference - ISI) в детекторе. Им было показано, что для детектирования без ISI Rs
символов в секунду, минимальная необходимая полоса пропускания составляет ½ Rs
Гц. Данное правило выполняется при условии, что частотная характеристика коэффициента передачи имеет прямоугольную форму.
Wmin = 1/2Rs
При использовании среды передачи, имеющей форму частотной характеристики, отличную от прямоугольной равенство примет следующий вид:
Wmin = ½(1+r)Rs
где r – число от 0 (прямоугольная форма) до 1.
Вывод
Критерий Найквиста вводит ограничения на скорость передачи в символах в секунду для данной полосы пропускания. Например в телефонии используется полоса пропускания 3 КГц. В этом случае максимально достижимая скорость составит 6000 символов в секунду (или Бод).
Теорема Шеннона – Хартли
В данной теореме определено, что достичь максимальной скорости (бит/сек) можно путем увеличения полосы пропускания и мощности сигнала и, в то же время, уменьшения шума.
(1)
где С – скорость (бит/с), W – полоса пропускания (Гц), SNR (дБ) – отношение сигнал/шум
Из формулы (1) видно, что для того, чтобы послать дополнительные биты в канал необходимо удвоить отношение сигнал/шум (SNR). Этого можно достичь удвоив мощность полезного сигнала, или уменьшив шум.
На рисунке 7 представлено применение теоремы Шеннона для витой пары, диаметром 0,4 мм. Три отдельных точки соответствуют скоростям, которые могут быть достигнуты с помощью систем ADSL, использующих технологию DMT. Из данного графика видно, что для больших расстояний системы ADSL приближаются к теоретическому пределу. Для коротких расстояний запас по пропускной способности по пределу Шеннона возрастает.

Рисунок 7. Теорема Шеннона.
Вывод
Теорема Шеннона-Хартли ограничивает информационную скорость (бит/с) для заданной полосы пропускания и отношения сигнал/шум. Для увеличения скорости необходимо увеличить уровень полезного сигнала, по отношению к уровню шума.
Проблемы с модемами
Мы имеем канал с известной полосой пропускания и отношением сигнал/шум. С одной стороны критерий Найквиста ограничивает максимальное число символов, которые возможно передать без ошибки. С другой стороны теорема Шеннона – Хартли ограничивает максимальное число бит, которые возможно передать без ошибки. Исходя из данных двух ограничений мы можем вычислить количество бит на символ, которое необходимо обеспечить для достижения максимальной (не обязательно оптимальной) скорости. Однако остается неясно, как реализовать необходимое количество бит в символе, т.е. возможны различные технологии модуляции.
Затухание
На рис.8 показано, что импульс, передаваемый по витой паре принимается на другой стороне с меньшей амплитудой.

Рисунок 8. Затухание
Затухание в кабеле ограничивает расстояние, на котором можно использовать витую пару без регенераторов. На частотные характеристики витой пары существенное влияние оказывает поверхностный эффект, в результате которого токи высокой частоты текут в поверхностном слое проводника. В результате получается более сильное затухание на высоких частотах.

Рисунок 9. Зависимость затухания от частоты для симметричного кабеля.
Проблема может быть решена путем увеличения мощности передаваемого сигнала:
· Максимальная мощность сигнала ограничена в следствии возникновения эффекта переходных помех, таким образом принимаемый сигнал всегда имеет маленькую амплитуду.
· Необходимо отметить, что для обеспечения электромагнитной совместимости, необходимо, чтобы системы ADSL не мешали функционированию радио передающих систем. Данное условие также накладывает ограничения на мощность передаваемого сигнала.
· ADSL устройство должно работать как на короткой линии с затуханием 0 дБ, так и на длинной линии с затуханием в 55 дБ, поскольку неизвестно, на какой линии данное устройство будет установлено.
Дисперсия импульса
Данная проблема заключается в следующем: форма импульса, приходящего, на удаленный конец отличается от исходной формы. На графике на рисунке 10 показаны изменения формы импульса, длительностью 2 сек, возникающие после его передачи по кабелю различной длины без учета затухания. Как видно из рисунка, с ростом длины кабеля импульс все более и более расширяется, данный эффект получил название дисперсии.

Рисунок 10. Отклик на импульс, посылаемый по каналу.
Данный эффект (в следствии частотной зависимости функции передачи по каналу) приводит к тому, что называется межсимвольной интерференцией (ISI). В линейных каналах, имеющих частотные ограничения и зависимые от частоты затухание и задержку, возникает дисперсия импульсов, которая приводит к ошибкам в процессе детектирования. Этот эффект сильнее всего сказывается на коротких импульсах, что приводит к ограничениям для высокоскоростных систем. ISI может быть частично компенсирована с помощью адаптивных канальных компенсаторов. Необходимо впрочем отметить, что компенсация представляет из себя усиление и, таким образом имеет пределы, связанные с качеством принимаемого сигнала (шум, …).
Отражения
Отражения в кабеле могут возникнуть в следствии рассогласования приемопередатчика и изменения диаметра кабеля.
Шум и интерференция
Здесь оговариваются наиболее важные источники шума и интерференции, которые оказывают влияние на медную витую пару.
Белый шум
Белый шум имеет много причин появления и полностью подавить его практически невозможно. Это означает, что даже если изолировать все источники шума и интерференции все равно белый шум будет ограничивать производительность системы.
Переходные помехи
Переходные помехи вносят наиболее серьезные ограничения в абонентский участок сети. Суть данного явления заключается в емкостной связи между парами кабеля. Переходные помехи могут быть на ближнем конце (Near End CROSSTalk – NEXT) и на дальнем конце (Far End CROSSTalk – FEXT). Они приведены на рисунке 11.
· NEXT определяются, как переходные помехи между принимающей и передающей парой на одном конце кабеля.
· FEXT определяются как переходные помехи в приемнике в следствии влияния передатчика, работающего по другой паре кабеля на удаленном от приемника конце.
Необходимо отметить, что влияющая помеха при FEXT, в отличии от NEXT, проходя по линии связи, затухает также, как и передаваемый сигнал. Таким образом, в случае, если сигналы передаются в обоих направлениях, по одному кабелю NEXT будет значительно больше FEXT. Если сигналы используют общую полосу частот, например, в случае использования эхо компенсации, NEXT будет вносить наибольший вклад в переходные помехи. Также NEXT будет выше при использовании близко расположенных модемов. Это означает, что NEXT более важен в месте расположения ADSL -мультиплексора.

Рисунок 11. Переходные помехи на дальнем конце (FEXT) и ближнем конце (NEXT).
Собственные переходные помехи
Помимо переходных помех, описанных ранее, существуют и так называемые собственные переходные помехи. В действительности данный тип помехи не является переходным, поскольку не является помехой между приемником и передатчиком. Данный тип помехи вызван не полным разделением направлений приема и передачи в дифсистеме, а также является следствием не идеального согласования приемника и передатчика. Затухание на линии может достигать 55 дБ, поэтому для того, чтобы принять сигнал с уровнем, более высоким, чем у собственной переходной помехи, дифсистема должна обеспечивать затухание не хуже, чем 55 дБ.

Рисунок 12. Собственная переходная помеха.
Как и в случае NEXT, данная проблема существует, только при передаче и приеме сигналов в одном частотном диапазоне, например при использовании эхо компенсации.
Радиочастотная интерференция
Сеть доступа подвергается действию широкого спектра радиочастотной интерференции (Radio Frequency Interference – RFI), например от длинноволновых или средневолновых широковещательных передатчиков (См. рисунок 13). Несмотря на то, что медная витая пара, как правило, хорошо симметрирована и поэтому мало подвержена данному явлению (Обычно RFI более подвержены сельские сети с воздушными кабелями), должны быть предусмотрены средства, защищающие системы передачи от RFI. Необходимо отметить, что исходя из требований по электромагнитной совместимости (Electro-Magnetic Compatibility - EMC) системы передачи (ADSL) не должны быть подвержены интерференции с радиопередающим оборудованием. Данный факт также накладывает ограничения на мощность, передаваемого по линии сигнала.
Важное преимущество одного из методов модуляции, используемых в ADSL - DMT заключается в том, что он удовлетворяет как требованиям по устойчивости к радиочастотной интерференции, так и создаваемым магнитным полям.

Рисунок 13. Радиочастотная интерференция.
Импульсный шум
Данное явление характеризуется редкими шумовыми выбросами большой амплитуды, причиной которых может быть коммутационные станции, импульсный набор, вызывной сигнал, близость железнодорожных станций, заводов и т.п. Характеристики импульсного шума зависят от типа используемой станции, и таким образом специфичны для каждой страны. Поскольку выбросы имеют острую форму, спектр импульсного шума ровный в диапазоне ADSL сигналов (максимальная частота ADSL сигнала составляет 1 МГц).
1.4. Решения ADSL проблем
Разделение передаваемых и принимаемых данных
При использовании ADSL данные передаются по общей витой паре в дуплексной форме. Для того, чтобы разделить передаваемый и принимаемый поток данных существуют два метода: частотное разделение каналов (Frequency Division Multiplexing – FDM) и эхо компенсация (Echo Cancelation – EC) (смотри рисунок 14).

Рисунок 14. Разделение направлений передачи и приема данных.
Частотное разделение каналов
При использовании данного механизма низкоскоростной канал передаваемых данных располагается сразу после полосы частот, используемой для передачи аналоговой телефонии. Высокоскоростной канал принимаемых данных располагается на более высоких частотах. Полоса частот зависит от числа бит передаваемых одним сигналом.
Эхо компенсация
Данный механизм позволяет низкоскоростному каналу передаваемых данных и высокоскоростному каналу принимаемых данных располагаться в общем частотном диапазоне, что позволяет более эффективно использовать низкие частоты, на которых затухание в кабеле меньше.
Сравнение
· Эхо компенсация позволяет улучшить производительность на 2 дБ, однако является более сложной в реализации
· Преимущества EC растут при использовании более высокоскоростных технологий, таких как ISDN или видеотелефония на скорости 384 кбит/с. В этих случаях FDM требует выделения под высокоскоростной канал принимаемых данных более высоких частот, что приводит к увеличению затухания и сокращению максимального расстояния передачи.
· Совмещение двух каналов в одном частотном диапазоне, при использовании ЕС приводит к появлению эффекта собственного NEXT, который отсутствует при использовании FDM.
· Стандарт ADSL предусматривает взаимодействие между различным оборудованием, использующим как механизм FDM, так и EC, выбор конкретного механизма определяется при установлении соединения.
Заключение
При отсутствии интерференции с другими службами, приемопередатчик, использующий ЕС функционирует лучше. На скорости в 1,5 Мбит/с, разница в максимальном расстоянии составляет 16% в пользу ЕС, однако на скорости 6 Мбит/с разница падает до 9%.
При учете собственной переходной помехи (т.е. в случае использования данного кабеля другими системами ADSL) приемопередатчик, использующий FDM функционирует лучше на скоростях выше 4,5 Мбит/с. Это связано с тем, что приемопередатчик с FDM ограничен лишь наличием эффекта FEXT, тогда как приемопередатчик, использующий механизм EC подвержен влиянию как FEXT, так и собственного NEXT. Обычно модемы располагаются близко друг от друга на входе ADSL -мультиплексора, в этом случае наибольшее значение имеет параметр NEXT, именно поэтому предпочтение отдается механизму FDM.
Методы передачи
Введение
Одним из наиболее важных вопросов при стандартизации систем передачи является вопрос выбора типа используемой модуляции. В процессе стандартизации ADSL, ANSI определил три потенциальных типа модуляции:
· Квадратурная амплитудная модуляция (Quadrature Amplitude Modulation - QAM)
· Амплитудно-фазовая модуляция с подавлением несущей (Cariereless Amplitude/Phase Modulation – CAP)
· Дискретная многотональная модуляция (Discrete MultiTone Modulation – DMT)
Исследования показали, что наиболее производительной является DMT. В марте 1993 года рабочая группа ANSI T1E1.4 определила базовый интерфейс, основанный на методе DMT. Позднее ETSI также согласился стандартизовать DMT для применения в ADSL.
Квадратурная амплитудная модуляция
Для передачи в одной полосе частот, обычным методом является амплитудная модуляции (Pulse Amplitude Modulation – PAM), которая заключается в изменении амплитуды дискретными шагами. QAM использует модуляцию двух параметров – амплитуды и фазы. В данном случае для кодирования трех старших бит используется относительная фазовая модуляция, а последний бит кодируется выбором одного из двух значений амплитуды для каждого фазового сигнала.
Теоретически количество бит на символ можно увеличивать, путем повышения разрядности КAM. Однако при увеличении разрядности становится все сложнее и сложнее детектировать фазу и уровень. В таблице 1.3 представлены требования к SNR (отношение сигнал/шум) для КAM различной разрядности, с коэффициентом ошибок по битам BER£ 10-7
.
Таблица 1.3 Требования к SNR
| Количество бит на символ (r)
|
Разрядность QAM (2r
– QAM)
|
Требуемое SNR (дБ) для BER£ 10-7
|
| 4
|
16 – QAM
|
21,8
|
| 6
|
64 – QAM
|
27,8
|
| 8
|
256 – QAM
|
33,8
|
| 9
|
512 – QAM
|
36,8
|
| 10
|
1024 – QAM
|
39,9
|
| 12
|
4096 – QAM
|
45,9
|
| 14
|
16384 – QAM
|
51,9
|
Амплитудно-фазовая модуляция с подавлением несущей
САР также как и КAM использует модуляцию двух параметров. Форма спектра у данного метода модуляции также сходна с КAM.
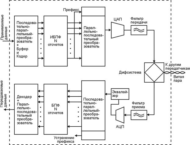
Дискретная многотональная модуляция (DMT)
DMT использует модуляцию со многими несущими. Время разбивается на стандартные «периоды символа» (symbol period), в каждый из которых передается один DMT – символ, переносящий фиксированное количество бит. Биты объединяются в группы и присваиваются сигнальным несущим различной частоты. Следовательно, с частотной точки зрения, DMT разбивает канал на большое число подканалов. Пропускная способность зависит от полосы частот, то есть подканалы с большей пропускной способностью переносят больше бит. Биты для каждого подканала преобразуются в сложное число, от значения которого зависит амплитуда и фаза соответствующего сигнальной несущей частоты. Таким образом, DMT можно представить как набор КAM систем, которые функционируют параллельно, каждая на частоте несущей соответствующей частоте подканала DMT (смотри рисунок 15). Итак, DMT передатчик по существу осуществляет модуляцию путем формирования пакетов сигнальных несущих для соответствующего количества частотных подканалов, объединения их вместе и затем посылки их в линию как «символа DMT».
 |
Рисунок 15. Распределение частот для передачи сигналов ADSL.
Модуляция/демодуляция с использованием многих несущих реализуется в полностью цифровой схеме с помощью развития методов быстрого преобразования Фурье БПФ(Fast Fourier Transform – FFT) (смотри рисунок 16). Ранние реализации DMT функционировали плохо в следствии сложности обеспечения равных промежутков между подканалами. Современные реализации функционируют успешно благодаря наличию интегральных микросхем, реализующих БПФ- преобразование аппаратно, что позволяет эффективно синтезировать сумму КAM-модулированных несущих.
Для достижения оптимальной эффективности главной задачей является выбор количества подканалов (N). Для абонентских телефонных линий оптимальным является значение N=256, которое позволяет не только достигнуть оптимальной производительности, но и сохранить достаточную простоту реализации системы.
При поступлении данных они сохраняются в буфере. Пусть данные поступают со скоростью R бит/с. Они должные быть разделены на группы бит, которые будут затем присвоены DMT символу. Скорость передачи DMT символа обратно пропорциональна его длительности Т, таким образом число бит присваиваемых символу будет b=R.T. (т.е. символьная скорость будет 1/Т). Из этих b бит, bi
бит (i=1, …, N=256) предназначены для использования в I подканале, таким образом:

Для каждого из N подканалов, соответствующие ему bi
биты, транслируются кодером DMT в сложный символ Xi
, с соответствующей амплитудой и фазой. Каждый символ Xi
, может быть рассмотрен как векторное представление процесса модуляции КAM на частоте несущей fi
. Для данного вектора существует 2bi
возможных значений. Фактически каждые bi
бит представляют точку на сигнальной решетке КAM (смотри рисунок 19), присвоенную определенному каналу i в DMT символе. В результате получается N КAM векторов. Данные N векторов подаются на вход блок инверсного быстрого преобразования Фурье (Inverse Fast Fourier Transform – IFFT). Каждый символ Xi
представлен на определенной частоте, с амплитудой и фазой соответствующими КAM модуляции. В результате N КAM векторов представляют из себя набор из N=256 равноудаленных друг от друга частот с заданными частотой и фазой. Данный набор преобразуется IFFT во временную последовательность. N выходов IFFT затем подаются на конвертер, преобразующий сигнал из параллельного в последовательный. Далее осуществляется цифроаналоговое преобразование, с помощью ЦАП (DAC). Перед отправкой непосредственно в линию DMT- символ пропускается через аналоговый полосовой фильтр, который необходим для разделения по частоте направлений передачи от пользователя и к пользователю (как видно, с точки зрения направления передачи система является системой с частотным разделением каналов (ЧРК). Для приемника осуществляются обратные действия.

Рисунок 16. Приемопередатчик DMT.
Существенной проблемой является ISI. Межсимвольная интерференция проявляется в том, что заключительная часть предыдущего DMT-символа искажает начало следующего символа, чья заключительная часть, в свою очередь искажает начало следующего за ним символа и т.д. Другим словами подканалы не являются полностью независимыми друг от друга с точки зрения частоты. Наличие эффекта ISI приводит к появлению интерференции между несущими (Inter-Carrier Interference – ICI). Для того, чтобы решить данную проблему существует три способа:
· Ввести дополнительный интервал перед каждым символом. В данном случае передача по линии будет иметь всплески, причем длина такого всплеска будет равна длине DMT символа. Однако в этом случае всплески, займут лишь около 30% всего времени, что критически снизит эффективность ADSL системы.
· Ввести корректор времени (Time Domain Equalizer – TEQ) для компенсации функции передачи по каналу. Однако это решение окажет существенное влияние на сложность аппаратной реализации, а также реализацию алгоритмов, необходимых для вычисления оптимального набора коэффициентов.
· Ввести «циклический префикс» (cyclic prefix), который прибавляется к каждому модулированному сигналу. Конечно число символов в таком префиксе должно быть значительно меньше N. Корректор осуществляет поиск на наличие данного префикса и, при наличии ISI предполагается, что интерференция распространится не далее данного префикса. Поскольку циклический префикс удаляется в приемнике, возможная ISI также удаляется до начала процесса демодуляции с помощью БПФ (смотри также рисунок 24). Данный метод снижает сложность аппаратной реализации, и вместе с тем позволяет достигнуть высокой эффективности. Например 5% избыточность привносимая префиксом, является небольшой.
Использование узких подканалов имеет преимущество, которое заключается в том, что характеристики кабеля линейны для данного подканала. Поэтому дисперсия импульса в пределах каждого подканала, а следовательно и необходимость в коррекции в приемнике будет минимальна. В следствии наличия импульсного шума принятый символ будет искажен, однако БПФ «раскидает» данный эффект по большому числу подканалов, в результате чего вероятность ошибки будет невелика.
При использовании DMT количество бит данных, передаваемых по каждому подканалу может варьироваться в зависимости от уровня сигнала и шума в данном подканале. Это не только позволяет максимизировать производительность для каждой конкретной абонентской линии, но также позволяет уменьшить влияние таких эффектов как переходные помехи или RFI (смотри рисунок 18). Количество бит данных, передаваемых по каждому подканалу определяется на фазе инициализации. В общем случае использование более высоких частот вызывает более сильное затухание, что приводит к необходимости использования КAM более низкой разрядности. С другой стороны, затухание на низких частотах будет ниже, что позволяет использовать КAM более высокой разрядности. В дополнении к этому, распределение количества бит по подканалам может адаптироваться на фазе передачи данных, в зависимости от качества канала.

Рисунок 17. Распределение бит по частотным подканалам при использовании DMT.
Коды, исправляющие ошибки
Введение
В связи с наличием импульсного шума, должны быть описаны средства, позволяющие приемопередатчику ADSL противостоять данному эффекту, а также поддерживать требуемое значение коэффициента ошибок (BER) для обеспечения хорошего качества передачи. Для этих целей используются коды исправляющие ошибки.
Из всего многообразия кодов данной разновидности, после длительных исследований, ANSI выбрал код Рида-Соломона (Reed-Solomon – RS) в качестве обязательного для всех приемопередатчиков ADSL. Исправление ошибок с помощью кода RS достигается путем внесения избыточности. Кроме того, существует возможность повысить кратность исправляемой ошибки, путем увеличения кодового слова RS, что конечно приведет к появлению дополнительной задержки.
Примечание
Необходимо отметить, что некоторые службы могут иметь собственные средства для защиты от ошибок. Например, служба «Видео по запросу» (Video on Demand – VoD), использует схему компрессии видеоизображения MPEG2, которая поддерживает собственные средства защиты от ошибок.
Исправление ошибок с помощью кода Рида-Соломона
Линейные блоковые коды
Линейные блоковые коды представляют из себя коды проверки четности, которые могут быть записаны в виде (n,k). Кодер трансформирует блок из k значащих символов (вектор сообщения) в более длинный блок из n кодовых символов (кодовый вектор).
В случае, когда алфавит состоит из двух элементов (0 и 1), код является двоичным и состоит из двоичных символов или битов.
В общем случае n кодовых битов не обязательно состоят только из k значащих бит и n-k проверочных бит. Однако для упрощения аппаратной реализации рассматриваются только систематические линейные блоковые коды. В этом случае кодовый вектор образуется путем прибавления проверочных бит к вектору сообщения.
Для получения кодового вектора, вектор сообщения умножается на порождающую матрицу. На приемной стороне кодовый вектор умножается на проверочную матрицу для осуществления проверки, попадает ли он в разрешенный набор кодовых слов. Принятый вектор является верным тогда, и только тогда, когда результат его умножения на проверочную матрицу равен 0.
Код Рида-Соломона
Не двоичные коды Рида-Соломона являются специальным классом линейных блоковых кодов.
RS коды функционируют точно так же как и двоичные коды. Единственным различием являются не двоичные символы. Алфавит RS кодов состоит из 256 элементов. Именно поэтому данный класс кодов является не двоичным.
(n,k) RS код представляет из себя циклический код, который преобразует блок из k байтов в блок из n байтов (n£255).
С точки зрения кодового расстояния RS коды функционируют наилучшим образом для заданных n и k, т.е. dmin
=n-k+1 (dmin
– минимальное расстояние).
Аппаратная реализация RS кодера выполняется в виде одного чипа, и позволяет добавить к вектору сообщения до 32 байт, причем максимальный размер кодового вектора может достигать 255 байт.
Наиболее часто используется RS код (255,239). С помощью 16 проверочных байт осуществляется коррекция до 8 ошибочных байт в кодовом векторе
(поскольку dmin
=255-239+1=17=2t+1).
Принцип чередования бит (Interleaving)
Чередование бит в закодированных сообщениях перед их передачей и обратный процесс при приеме приводит к распределению пакетов ошибок по времени и таким образом обрабатываются декодером как независимые ошибки. Для осуществления данного процесса кодовые символы перемещаются на расстояние в несколько длин блоков (для блоковых кодов) или нескольких ограниченных длин для сверточных кодов. Необходимое расстояние определяется длительностью пакета ошибок. Принцип чередования бит должен быть известен приемнику для осуществления обратного чередования бит принимаемого потока для последующего декодирования.
Существует два метода осуществления чередования бит – блочное и сверточное. С точки зрения производительности оба метода имеют сходные показатели. Наиболее важным преимуществом сверточного чередования является снижение задержки при передачи из конца в конец, а также требований к памяти на 50%.
Для данных, прошедших процедуру чередования, кратность исправляемой ошибки умножается на глубину чередования. Необходимо отметить, что существующие в настоящее время службы являются либо чувствительными к задержке, но нечувствительными к BER, либо наоборот, чувствительными к BER и не чувствительными к задержке.
Чередование бит и Коды Рида-Соломона в приемопередатчике ADSL
На рисунке 18 приведена структурная схема приемопередатчика ADSL, включающая кодер и декодер Рида-Соломона, а также устройства прямого и обратного чередования бит. Принимаемые данные разделяются на две группы, в зависимости от их требований к задержке. Первая группа содержит данные, которые могут подвергаться значительным задержкам, например однонаправленная видеоинформация. Такие данные будем называть медленными данными. Вторая группа, не подвергается чередованию бит (но кодируется кодом Рида-Соломона) и содержит данные чувствительные к задержкам, например двунаправленный голос. Данную группу назовем быстрыми данными. Требования по быстрой или замедленной передаче данных могут быть получены из заголовка передаваемой АТМ-ячейки (на основе идентификаторов VP/VC). Это означает, что несколько служб, с различными типами данных могут передаваться по линии вместе, в одно и то же время. Например, возможно перекачивать файл, определенный как медленные данные для максимальной защиты от ошибок, и одновременно передавать видео или аудио информацию, определенную как быстрые данные.
В передатчике медленные данные записываются в буфер для обратного чередования бит, тогда как быстрые данные записываются в буфер быстрых данных. Для каждого DMT символа BF
байт извлекаются из буфера быстрых данных и BI
из буфера медленных данных. Таким образом, в каждом DMT символе передается B=BF
+BI
байт.
В приемнике, первые BF
байт из принятого DMT символа помещаются в буфер быстрых данных и затем, декодируются декодером Рида-Соломона (F). Следующие BI
байт помещаются в буфер медленных данных, затем производится обратное чередование бит и только после этого декодирование в декодере Рида-Соломона (I).
Рисунок 22. Кодер и декодер Рида-Соломона в приемопередатчике DMT.
Сравнение DMT с CAP
Данный раздел посвящен сравнению методов модуляции DMT и CAP.
Аргументы в пользу DMT:
· Битовая скорость может изменяться с малым шагом (несколько кбит/с). Аппаратное обеспечение DMT проще программируется для поддержки различных скоростей данных от пользователя и к пользователю. Поддерживается оперативное изменение скорости
· Лучшая защита от радиочастотной интерференции
· Благодаря возможности адаптивно изменять количество присваиваемой DMT символу информации, а также мощности передачи, использование линии близко к оптимальному.
· Очень гибкая настройка мощности, мощность в каждом канале может увеличена или уменьшена.
· DMT более устойчива к импульсному шуму, чем CAP. Однако, когда в случае появления импульсного шума достаточно большой длительности происходит нарушение работы системы, то это приводит к существенным всплескам ошибок. Поэтому, при выборе длины DMT символа и кода исправляющего ошибки должны учитываться длительность импульсного шума и время между поступлением последовательных символов. Системы компании Алкатель спроектированы таким образом, чтобы исправлять два DMT символа, что позволяет им противостоять импульсному шуму длительностью до 700 мксек без возникновения ошибки.
· CAP имеют ту же сложность реализации, исчисляемую для сигнального процессора в миллионах операций в секунду (Million Operations Per Seconds – MIPS).
· требуется меньшая корректировка при медленной работе сигнального терминала, чем при использовании CAP.
Аргументы против DMT:
· DMT использует блоковое преобразование (БПФ), что приводит к появлению больших задержек. Однако при правильной конфигурации системы, данная задержка будет незначительной даже для служб, чувствительных к задержкам, например телефонии или узкополосной ЦСИС.
· Полная процедура инициализации, необходимая для DMT требует значительного времени (порядка 20 сек)
· Большой пикфактор (отношение мгновенной мощности к ее среднему значению) в передаваемом DMT сигнале может привести к появлению дополнительного шума и дорогого аналого-цифрового преобразования. Этого можно избежать правильным проектированием системы, а также использованием кода Рида-Соломона.
· CAP позволяет использовать более простые коды, исправляющие ошибки, чем DMT.
На сегодняшний день существует много крупных компаний, которые занимают ведущие позиции на мировом рынке связи.
Некоторые из них занимаются продажей ADSL оборудования.
Например, такие как Alcatel, Cisco Systems, Ericsson – компании являющиеся мировыми лидерами на рынке связи.
Выбирая из этих компаний, лучшую в отрасли предоставления DSL услуг, можно глядя на ряд параметров.
Например, компания Ericsson больше сосредоточена на предоставление услуг мобильной связи, и разработкой DSL технологий начала заниматься сравнительно недавно.
Компания Cisco Systems ориентирована на рынок маршрутизаторов и коммутаторов, использующихся для построения глобальных IP сетей. По сравнению с Ericsson, компания Cisco Systems больше уделяет внимания DSL технологиям, но они в свою очередь не ориентированы на конечного пользователя.
Компания Alcatel является лидирующей компанией по продаже оборудования доступа в глобальную сеть Интернет. И намного больше уделяет внимания продвижению ADSL технологии.
На основе анализа стоимостных,эксплуатационных и технических характеристик ADSL систем компаний Alcatel и Cisco Systems, который был рассмотрен ниже в технико – экономическом обосновании, было принято решение, что для построения сети доступа на базе оборудования ADSL более выгодно использовать продукцию компании Alcatel
ГЛАВА
II.
Технологические характеристики оборудования
ADSL компании “Алкатель”
2.1
Общее описание оборудования ADSL
Введение в технологию
Продукт ADSL (Asymmetric Digital Subscriber Line) предназначен для того, чтобы иметь возможность предлагать пользователям частного сектора и сектора малого бизнеса, находящимся на ограниченном расстоянии от CO (Central Office - здание (АТС)), услуги по передаче данных на повышенных скоростях. Для предоставления таких услуг используются существующие медные витые пары (по одной на каждого пользователя), при этом никакие дополнительные активные повторители не требуются. Применение технологии FDM (Frequency Division Multiplexing - частотное уплотнение каналов) позволяет по тем же витым парам одновременно предоставлять услуги POTS (Plain Old Telephone Service - услуги обычной телефонии), поэтому можно говорить о следующих преимуществах:
4 оператор сети использует существующую кабельную инфраструктуру;
4 у абонента сохраняются существующие услуги телефонии вместе с существующей аппаратурой.
В ADSL-системе предусмотрены асимметричные скорости передачи битов: высокая (вплоть до 8 Мбит/с) в направлении от CO к абоненту (называемая скоростью в прямом канале
) и низкая (вплоть до 1 Мбит/с) в противоположном направлении (называемая скоростью в обратном канале
). Эта асимметрия дает возможность предоставлять абоненту услуги, для которых требуется широкая полоса частот, в том числе услуги мультимедиа (цифровые видео- и аудио-услуги) и соединение по протоколу Ethernet. В дальнейшем, по мере увеличения скорости в обратном канале, станет возможным предоставление, на меньших скоростях, услуг мультимедиа двустороннего характера [2].
Продукт ADSL полностью основан на технологии ATM (Asynchronous Transfer Mode - режим асинхронной передачи). Это означает, что как данные пользователя (мультимедиа, соединение по протоколу Ethernet и управляющая информация), так и управляющие данные системы OAM (Operation, Administration and Maintenance - эксплуатация, администрирование и техобслуживание) транспортируются с применением ATM-ячеек. Основной причиной такого подхода является обеспечение гибкости продукта на перспективу. Применение ATM в качестве транспортного режима в большинстве случаев позволяет операторам сетей и провайдерам услуг совершенствовать предоставляемые услуги без изменения сетевого оборудования.
Система ADSL состоит из двух частей, первая из которых (на стороне CO) называется ASAM, (ATM Subscriber Access Multiplexer - ATM-мультиплексор абонентского доступа),а вторая (на стороне абонента) – (CPE Customer Premises Equipment - оборудование в помещении заказчика). CPE, в свою очередь, включает в себя PS (POTS Splitter - разветвитель) и ANT (ADSL Network Termination (unit) - (блок) сетевого ADSL-окончания). По транспортной ATM-линии мультиплексор ASAM соединен с ATM-коммутатором. Выбранным транспортным механизмом является либо SDH(Synchronous Digital Hierarchy - синхронная цифровая иерархия) [STM1 или SONET (OC3c)] либо PDH (Plesiochronous Digital Hierarchy - плезиохронная цифровая иерархия) [Е1]. Блок ANT может быть подключен к TE(Terminal Equipment - терминальное оборудование) (STB (Set Top Box - телеприставка ) или иному мультимедийному терминалу) и к локальной сети (LAN), использующей протокол Ethernet.
Система ADSL может работать как с CO, так и с выносными блоками. Выносное ASAM-оборудование может быть либо непосредственно подключено к опорной ATM-сети, либо каскадировано от находящегося на CO мультиплексора ASAM через интерфейс Е1.
Описание сети
Общие сведения
Основной задачей, стоящей перед системой доступа Alcatel 1000 ADSL, является обеспечение быстрого доступа к сети Интернет и корпоративным сетям LAN. Эта задача решается с помощью комбинированной инфраструктуры, в состав которой входят по меньшей мере четыре функциональные группы:
4 малая LAN в помещении абонента;
4 инфраструктура связи оператора сети, которая содержит сеть доступа, мультиплексоры, BB (Broad Band - широкополосный –коммутаторы) и высокоскоростную опорную сеть;
4 LAN у ISP (Internet Service Provider - провайдер услуг сети Интернет) в случае, когда доступ к сети Интернет осуществляется именно таким способом;
4 LAN предприятия в случае, когда обеспечен доступ к корпоративной сети.
Сетевая архитектура
Для обеспечения внутри сетевой архитектуры, показанной на рис. 23, сквозных соединений применяются различные технологии:
4 стандартная технология LAN между персональным компьютером и ANT (Ethernet II или IEEE 802.3);
4 технологии ATM и ADSL между ANT или PC-NIC (Network Interface Card - плата сетевого интерфейса) и ADSL-оборудованием на стороне CO;
4 стандартное транспортное оборудование между ASAM и опорной сетью WAN (территориальная сеть) с использованием SDH/SONET или PDH;
4 BB-коммутаторы/кросс-соединители в ядре опорной сети WAN.
4 обладающее высокой производительностью и в то же время стандартное LAN-оборудование в инфраструктуре ISP и корпоративной LAN.
Рис. 23. Сетевая архитектура:
1 - провайдер услуг сети Интернет; 2 - опорный маршрутизатор; 3 - Интернет; 4 - серверы; 5 - оборудование доступа; 6 - помещение абонента; 7 - абонент; 8 - сеть доступа; 9 - небольшая LAN; 10 - телевизионная приставка; 11 - разветвитель; 12 - инфраструктура корпоративной LAN; 13 - маршрутизатор подразделения; 14 - опорная сеть; 15 - отдельный персональный компьютер
Сеть в абонентских помещениях
Сеть в абонентских помещениях может представлять собой либо отдельный персональный компьютер, либо небольшую LAN, содержащую до 16 оконечных систем. Взаимные соединения между ANT и оконечными системами осуществляются с помощью LAN-оборудования, отвечающего требованиям интерфейса Ethernet II или IEEE 802.3.
Поскольку блок ANT оснащен и интерфейсом ATMF на 25,6 Мбит/с, то можно также подключать оборудование класса ATM (STB и т.п.), при этом оба интерфейса, то есть Ethernet и ATMF, могут быть задействованы одновременно.
WAN и опорная сеть
Через мультиплексоры ASAM опорная сеть и WAN соединяют абонентов с провайдерами ISP и корпоративными LAN.
К основным функциям этих объектов относятся:
4 транспортирование информации в пределах WAN;
4 перекрестное соединение информационных потоков между отдельными пользователями и провайдерами ISP и корпоративными LAN.
Провайдеры ISP и корпоративные LAN
Принципиальных различий между локальной сетью LAN провайдера ISP и локальной сетью LAN крупной корпорации практически не существует.
В общем и целом структура LAN, подключенной к сети связи общего пользования, включает в себя:
4 коммуникационные серверы доступа (иногда называемые VC-мостами (Virtual Connection - виртуальное соединение));
4 опорные IP-маршрутизаторы;
4 высокоскоростные сети LAN, например, с волоконно-оптическими соединениями (ATM-интерфейс FDDI (Fiber Distributed Digital Interface - цифровой интерфейс волоконно-оптической передачи));
4 информационные серверы;
4 коммуникационные серверы WAN-магистралей.
Важным аспектом этого оборудования является то, что оно должно оканчиваться наборами протоколов, в точности повторяющими имеющиеся в абонентских помещениях.
Подсистема ADSL-доступа
Общие сведения
Подсистема ADSL-доступа предназначена для реализации современного способа сигнальной обработки или модуляции, необходимого для обеспечения соединения по абонентской витой паре с модемной транспортной технологии (ADSL-модемов). В основу этой модемной технологии положена DMT-модуляция Discrete Multi-Tone - дискретная многотоновая (модуляция) , которая интегрирована в ASAM на стороне CO и в ANT или PC-NIC на абонентской стороне.
Модемные интерфейсы мультиплексоров ASAM оснащены так называемыми PS, которые представляют собой устройства уплотнения и разуплотнения частотных доменов для сигналов ADSL и POTS. Частично внешнее устройство PS используется также как часть находящейся в абонентском помещении аппаратуры.
Управление элементами сети доступа осуществляется через (удаленный) объект централизованного управления, который называется AWS (ASAM WorkStation - рабочая станция), и в котором используется протокол SNMP (Simple Network Management Protocol - простой протокол управления сетью). Обмен информацией между AWS и элементами сети доступа осуществляется по выделенным соединениям, предназначенным для администрирования.
Подсистема ADSL-доступа может работать как с CO, так и с выносными блоками. Выносное ASAM-оборудование может быть либо непосредственно подключено к опорной ATM-сети, либо каскадировано от находящегося на CO мультиплексора ASAM через PDH-интерфейс (DS3/Е3).
Системная архитектура
Основными строительными блоками глобальной ADSL-архитектуры (рис. 24) являются:
4 ASAM для ADSL на стороне CO;
4 блок ACU (блок контроля аварий) (AACU-[ADSL-ситуаций]);
4 расширитель ADSE-A (ADSL Serial Extender - последовательный ADSL-расширитель);
4 ANT или PC-NIC и PS на абонентской стороне;
4 выносной мультиплексор R-ASAM(удаленный,выносной), находящийся в глубине сети;
4 менеджер сетевых элементов AWS.
ASAM
С помощью ряда интерфейсов (SDH STM1 или SONET OC3с) мультиплексор ASAM размещен на стороне CO и соединен со станцией, в которой реализована технология BB-ISDN ATM.
Рис. 24. Глобальная ADSL-архитектура:
1 - узкополосная АТС (например, PSTN-сети); 2 - ADSL-абонент; 3 - шина IQ; 4 - здание АТС; 5 - витая пара; 6 - абонентские помещения; 7 ATM-сеть
Внутри каждый интерфейсный модуль SDH/SONET соединен, с помощью обеспечивающей двустороннюю передачу среды, с рядом ассоциированных модулей ADSL-LT (Line Termination - линейное окончание), при этом шина IQ Quality of Service Interface - интерфейс качества обслуживания обеспечивает управляющий интерфейс для данных, передаваемых по прямому и обратному каналам. Для стыковки с выносным мультиплексным оборудованием (типа R-ASAM) можно также предусмотреть линейные окончания PDH-LT (DS3/E3) или SDH-LT (STM1 или OC3c).
Модемные интерфейсы мультиплексора ASAM также оснащены так называемыми PS, которые представляют собой устройства уплотнения и разуплотнения частотных доменов для сигналов ADSL и POTS.
Блок AACU обеспечивает визуальное отображение аварийных ситуаций и стыковку с соответствующей системой, находящейся в здании АТС.
ACU
На каждый статив приходится один блок ACU (до 4 блоков ACU в полностью укомплектованном мультиплексоре ASAM).
Расширитель
Расширитель позволяет подключать к расширительной линии дополнительные подстативы и, в целях защиты оборудования, дублируется.
Транспортная система
Ключевой частью подсистемы ADSL-доступа является "ADSL-модем". Для осуществления соединений мультимедийного характера на базе ATM и по протоколу Ethernet используется витая пара между абонентским оборудованием (ANT) и оборудованием, находящимся в CO (ASAM).
Стержнем ADSL-системы являются два ADSL-модема, один из которых находится на стороне CO, а другой - в абонентском помещении. В сочетании эти подсистемы обеспечивают расширение полосы пропускания витой пары, которая является соединяющей из средой.
ANT
Аппаратура ANT размещается в абонентских помещениях. Она обеспечивает стыковку малой абонентской LAN, отдельного персонального компьютера и/или STB (для мультимедийных целей) с находящимися на другой стороне LAN и/или ATM-оборудованием. Все услуги по части стыковки оказываются с помощью ADSL-сигнала.
PC-NIC
PC-NIC представляет собой вставную плату стандарта PCI (интерфейс периферийного устройства), которая находится в абонентском помещении. По своим функциям она не отличается от ANT, однако позволяет избавиться от необходимости иметь дополнительную плату интерфейса Ethernet или ATMF.
R-ASAM
Выносной мультиплексор ASAM выполняет существенно те же функции, что и обычный, однако удовлетворяет более жестким требованиям в части конструктивного оформления, питания и климатических условий эксплуатации. R-ASAM может быть либо автономным, либо каскадированным от ASAM, находящегося в CO. R-ASAM можно разместить либо в уличном корпусе, либо в CEV (Controlled Environment Vault - камера с контролируемыми климатическими параметрами)
Максимальная емкость автономного сетевого мультиплексора ASAM составляет 576 линий. В случае каскадирования от CO максимальная емкость (CO плюс удаленные абоненты) остается неизменной - те же 576 линий.
Менеджер сетевых элементов
Для управления подсистемой ADSL-доступа предусмотрен менеджер AWS, который работает по протоколу SNMP в находящемся внутри полосы пропускания ATM-канале.
В AWS имеется интерфейс TL1, предназначенный для системы OSS (Operation Support System - система эксплуатационной поддержки) более высокого уровня.
Применительно к подсистеме ADSL-доступа AWS обеспечивает управление активными элементами (то есть элементами, в которых имеется OBC[1] (On-Board Controller - контроллер, размещенный на плате), находящимися в ASAM, R-ASAM, блоках ANT или интерфейсных платах PC-NIC.
2
.2.
Мультиплексор ASAM – функциональное описание
Архитектура ASAM
В подсистеме ADSL-доступа ASAM располагается на стороне CO. По витой паре и через аппаратуру ASAM каждый абонент подключается к широкополосной (BB) сети и узкополосной (NB Narrow Band - узкополосный) телефонной станции.
В общем случае мультиплексор ASAM преобразует данные, поступающие от различных абонентов, в ATM-формат. Полученные в результате такой адаптации ATM-ячейки уплотняются в один информационный поток и направляются в транспортную систему подключенной сети BB-ATM. ATM-ячейки, поступившие из сети BB-ATM, разуплотняются в соответствии с идентификатором VPI/VCI (Virtual Path Identifier - идентификатор виртуальных путей,Virtual Channel Identifier - идентификатор виртуальных каналов) и на внешнем служебном интерфейсе транслируются в свой исходный формат.
Кроме того, ASAM выполняет также функции OAM, что обеспечивает его правильную работу.
К основным функциям ASAM относятся:
4 функции общего назначения:
4 уплотнение/разуплотнение;
4 управление (OAM);
4 NT-функции;
4 TA (терминальная адаптация)-функции;
4 функции разветвления (PS);
4 функции электропитания.
Сетевое окончание
Сетевое окончание SANT (Synchronous ATM Network Termination - синхронное сетевое ATM-окончание) версии D (SANT-D) подключает сетевую транспортную систему к системе A1000 ADSL и выполняет функции, связанные с физическим и ATM-уровнями.
Сетевая цифровая транспортная система характеризуется скоростью 155,52 Мбит/с (SDH STM1 / SONET OC3c).
В мультиплексоре ASAM SANT-D является сетевым окончанием для информационного потока SDH/SONET - 155,52 Мбит/с. Оно производит адаптацию ATM-ячеек, переносимых по цифровой системе передачи к шине IQ и обратно. Кроме того, в сетевом окончании SANT-D предусмотрены функции, необходимые для эксплуатации и технического обслуживания ASAM.
Наконец, сетевое окончание SANT-D обеспечивает расширение шины IQ, для чего также предусмотрен соответствующий интерфейс. При наличии 1 сетевого окончания SANT-D и 11 расширителей ADSE версии А (ADSE-A) можно управлять двенадцатью субстативами (12 субстативов x 12 LT x 4 линии = 576 линий).
Физически сетевое окончание SANT-D выполнено на вставной (двойной европейской) печатной плате, которая вставляется в статив мультиплексора ASAM со стороны размещения шины IQ.
Шина IQ
Шина IQ обеспечивает управление и обмен данными между NT и линейными интерфейсами, то есть является устройством, которое уплотняет и разуплотняет битовые потоки между ними. IQ является шинной структурой между SANT-D или ADSE-A и ADLT( ADSL Line Termination - линейное ADSL-окончание).
В шине IQ имеются путь для направления данных по прямому и обратному каналам, синхронизатор и управляющие сигналы. Скорость передачи интерфейса составляет 155 Мбит/с.
Транспортирование в прямом и обратном направлениях осуществляется с помощью ATM-ячеек, которые посылаются фреймами, состоящими из 54 байтов. Посылка в прямом и обратном направлениях осуществляется по раздельным шинам, которые переносят 8-битовые данные.
Физически IQ выполнена в виде шины на BPA ( Backpanel Printed board Assembly - печатная плата задней панели) и стационарно закреплена в ADSL-стативах в виде системной платы. Платы SANT-D или ADSE-A, ADLT и AACU вставляются в соответствующие разъемы BPA. Соответственно по шине IQ осуществляются их взаимные соединения.
Терминальная адаптация
ADLT производит преобразование ATM-ячеек, полученных от SANT-D и предназначенных для абонента, в DMT-модулированные сигналы и наоборот и, следовательно, работает с физическим и ATM-уровнями.
Физически ADLT-функция реализуется на одной печатной плате, в которой имеется 4 ADLT-порта (4 абонентских соединения). Эта плата вставляется в системную (реализующую шину IQ) плату ADSL-статива.
Также на ADLT-плате реализованы управляющие (OAM) функции для четырех ADLT-портов.
Разветвитель PS
На абонентской линии (витой паре, идущей от местной АТС) аналоговые POTS- и ADSL-сигналы накладываются друг на друга, при этом оба сигнала являются частотно мультиплексированными
.
В ASAM ADSL- и POTS-сигналы разделяются при прохождении в обратном направлении и объединяются при прохождении в прямом с помощью специальных фильтров:
4 LPF (ФНЧ), который является прозрачным для POTS-сигналов и ослабляет ADSL-сигналы;
4 HPF (ФВЧ), который на пути ADSL-сигналов предотвращает все возмущения от типовых POTS-сигналов (например, импульсов набора номера, постоянного напряжения и вызывной частоты).
Эти специальные фильтры могут быть реализованы с применением как пассивных, так и активных фильтрующих элементов.
Плата SANT-D
Общие сведения
Плата SANT-D обеспечивает оптический доступ к цифровой SDH-системе передачи на скорости 155,52 Мбит/с и осуществляет адаптацию к этой системе ATM-ячеек, переносимых по шине IQ в обоих направлениях. Кроме того, в этой плате предусмотрены функции, необходимые для эксплуатации и технического обслуживания мультиплексора ASAM.
IQ-интерфейс
IQ-интерфейс соединяет SANT-D и ADSE-A с задней панелью ASAM и состоит из двух шин:
4 шины IQD
, предназначенной для высокоскоростной передачи (ATM-ячеек) в прямом направлении;
4 шины IQU
, предназначенной для высокоскоростной передачи (ATM-ячеек) в обратном направлении;
4 шины IQA
(access), предназначенной для контроля доступа к шине IQU
.
Шины IQD
и IQU
обеспечивают транспортировку ATM-ячеек, каждая из которых имеет 5-октетный заголовок и 48-октетное информационное поле. Кроме того, перед каждой ячейкой есть один "холостой" октет. SANT-D производит инкапсуляцию ATM-ячеек в 54-октетные слоты и обеспечивает доступ к шине IQ. Адаптация скорости 155,52 Мбит/с к скорости 152,64 Мбит/с (= 53/54 от 155,52 Мбит/с) осуществляется путем стирания незаполненных ячеек. Это может быть сделано потому, что максимальная скорость действительных ATM-ячеек, содержащихся в VC-4, ограничена величиной 149,76 Мбит/с (= 26/27 от 155,52 Мбит/с).
Шина IQA
предназначена для контроля доступа к интерфейсу с обратным каналом. Она позволяет избежать "разборок" на шине обратного канала и одновременно дает возможность ввести приоритеты различных уровней для доступа различных LT-объектов.
Системная плата BPA
BPA (узел системной платы) представляет собой печатную плату, стационарно закрепленную с обратной стороны статива ADSL-оборудования.
Основными функциями системной платы являются:
4 формирование шины IQ, которая обеспечивает соединение SANT-D или ADSE-A с ADLT-портами и AACU;
4 обеспечение внешних интерфейсных соединений для AACU;
4 подключение всех активных блоков к станционной шине питания на -48 В.
Внешние интерфейсы
Внутри мультиплексора ASAM существует один вид транспортирования: плата SANT-D подключена к оптическому волокну и передает данные на главный и внешние субстативы. В тех случаях, когда необходимо повысить качество обслуживания, эксплуатационную готовность и надежность, плата SANT-D и входящее оптическое волокно дублируются. В каждый момент времени активной является только одна плата SANT-D.
В расширительных субстативах в качестве буфера для различных сигналов используется одна плата расширителя. В каждом субстативе расширители дублированы.
Таким образом, под контролем платы SANT-D находится несколько ASAM-шин:
4 в главном субстативе:
4 шина IQ;
4 специальные линии;
4 последовательный ACU-интерфейс;
4 в расширительных субстативах (через расширительный интерфейс):
4 шина IQ;
4 специальные линии;
4 последовательный ACU-интерфейс.
Оптический транспортный интерфейс (STM1/STS3c)
SANT-D является терминалом одного SDH-канала STM1/OC3c на 155 Мбит/с. Передача на этих соединениях осуществляется с помощью мономодового (называемого также одномодовым) оптического волокна, которое оканчивается в OTM (Optical Transceiver Module - модуль оптического приемопередатчика).
Абонентский линейный интерфейс
Абонентский линейный интерфейс представляет собой соединение от ADLT до блока ANT, находящегося в абонентских помещениях.
Абонентский линейный интерфейс обеспечивает прохождение сигналов обычной телефонии, который частотно мультиплексированы с идущими в прямом и обратном направлениях сигналами ADSL/ATM. Этот интерфейс соединяет ADLT с ANT через сеть доступа на витых парах. Для соединения используется обычный телефонный провод.
Последовательный расширительный интерфейс
Сигналы шины IQ с первой главной полки, в которой находится плата SANT-D, могут быть распространены на 11 подчиненных полок, в каждой из которых имеется последовательный расширитель ADSE-A. Последовательный расширительный интерфейс является соединительным звеном между платой SANT-D и платами ADSE-A. Плата SANT-D имеет один выходной разъем для последовательного расширения, а плата ADSE-A - два. Все разъемы расположены в передней части статива.
Служебный интерфейс
Служебный интерфейс предусмотрен на плате SANT-D. Доступ к этому интерфейсу осуществляется через разъем, находящийся в передней части ACU.
Внутренние интерфейсы
IQ-интерфейс
Стыковка платы ADLT с платой SANT-D или ADSE-A осуществляется через шину IQ.
Если плата SANT-D имеет только один интерфейс SDH STM1, тогда для подсоединения плат ADLT, количество которых может доходить до 144, и 11 плат ADSE-A существует только одна шина IQ. Всем платам ADSE-A приходится совместно использовать имеющуюся полосу пропускания (155 Мбит/с) шины IQ.
На плате SANT-D имеется два положения шины IQ, так как на этой плате в любое время можно обеспечить переход на 2 STM1-соединения.
MBC-интерфейс
В плате SANT-D предусмотрена возможность выборочного включения/выключения питания каждого из терминалов ADLT, соединенного с шиной IQ.
Физическое местоположение BPA и PBA
Каждой системной плате BPA и каждому размещенному на ней узлу PBA (Printed Board Assembly - узел печатной платы ) внутри CO присвоен уникальный номер физического местоположения. Этот номер имеет 32 бита и представлен в виде ID0…ID31. Эти биты имеют следующее назначение.
5-битовый номер определяет положение каждого узла PBA на системной плате. Этот номер представлен в виде ID0…ID4 и характеризует номер слота (1…13) PBA на системной плате. Этот номер жестко "вмонтирован" в системную плату и может быть считан платой ADLT / SANT-D / ADSE-A через штыри на ее разъеме системной платы.
Питание мультиплексора
Питание мультиплексора ASAM осуществляется от станционного источника на -48 или -60 В.
ADLT-плата
Общие сведения
ADLT-плата представляет собой вставной блок, разработанный для системы A1000 ADSL.
В этой плате имеются 4 независимых линейных ADSL-окончания LT или порта. Каждый из этих портов обеспечивает двусторонний доступ к ANT по обычному кабелю UPT (Unshielded Twisted-Pair - неэкранированная витая пара), который уже проложен для аналоговой телефонии.
Для каждого порта ADLT-плата извлекает ATM-ячейки из их потока или вставляет их в этот поток, основываясь на значениях VPI/VCI для этих ячеек.
Кроме данной функции терминальной адаптации ADLT-плата также выполняет, в качестве линейного окончания, свои собственные контрольные функции.
2.3
Транспортная система
Услуги и скорости передачи
Транспортная ADSL – система обеспечивает двустороннюю связь по одинарной витой паре без каких-либо повторителей.
В ADSL-системе объединены DMT-технология и ATM-режим передачи.
Следствием такого объединения, в частности, являются:
4 Возможность обеспечения эффективного сочетания различных услуг, характеризующихся различными полосами пропускания и характеристиками трафика, и доведения до максимума физической скорости, которую можно получить от DMT-модема.
4 Автоматическое определение максимальной физической скорости в процессе инициализации модема (с учетом заданного предельного уровня шумов и в пределах ограничений, накладываемых на спектральную плотность мощности передачи). В этом случае система управления обслуживанием задает, в зависимости от профиля обслуживания заказчика, правильную величину линейной скорости, тем самым выходя на оптимальный уровень шумов и/или сводя до минимума мощность передачи. Все это дает возможность дифференцировать качество обслуживания, например, предлагая максимальные скорости по более высокой цене или обеспечивая гарантированную скорость. Скорости передачи можно выбирать по линейному закону с доведением до физически максимально возможных, а также задавать их для каждого отдельного пользователя.
4 Комбинированное использование технологий DMT и ATM позволяет системе инициализироваться и работать на очень низких скоростях в тех, например, случаях, когда линии работают неустойчиво или когда возникает много ошибок в кабельных линейных сооружениях. По причине присущей ей надежности система будет инициализироваться даже в крайне неблагоприятных условиях, информируя об этом систему управления сетью. В этом случае оператор может скачать ADSL-параметры и принять необходимые меры.
4 Развязка скоростей ATM-ячеек (путем вставления или извлечения незаполненных или неопределенных ячеек) дает возможность осуществлять передачу на любой скорости вплоть до максимально достижимой на ADSL-соединении.
Цифровая передающая способность ADSL-системы является асимметричной в том смысле, что скорости в прямом и обратном направлениях отличаются друг от друга:
4 скорость в прямом направлении
может варьироваться от 0,25 до 8,0 Мбит/с, при этом параметр ступенчатости равен 32 Кбит/с;
4 скорость в обратном направлении может варьироваться от 35 Кбит/с до 1 Мбит/с, при этом она зависит от поддерживаемых двусторонних услуг и характеристик шлейфа.
2.4
Функциональное описание ANT
Общие сведения
ANT-оборудование размещается в абонентских помещениях и обеспечивает стыковку абонентского TE с входящей абонентской линией (витой парой, по которой передается ADSL-сигнал).
В прямом направлении блок ANT является окончанием для сигнала (DMT-модулированных ATM-ячеек) в ADSL-канале, поступившего от CO на входящую витую пару. Он демодулирует сигнал и преобразует содержащиеся в нем ATM-ячейки в цифровой битовый поток, который может быть направлен на абонентское TE.
В обратном направлении блок ANT вставляет полученные от абонентского TE ATM-ячейки в их поток и формирует сигнал (DMT-модулированные ATM-ячейки) ADSL-канала, который по входящей абонентской витой паре направляется в CO.
Существует 3 вида DSL модемов семейства Speed Touch:
· Speed Touch PC-NIC - встроенный модем (плата), ориентирован в основном на частных пользователей. Соединение типа Point to Point (PPP)
· Speed Touch Home - внешний модем, ориентирован как на частных пользователей, так и на пользователей LAN малой емкости (small office, home office).В нем имеется встроенный порт Ethernet, а также выполняется функция “прозрачного моста” (Bridge).
· Speed Touch Pro - внешний модем, ориентирован на пользователей больших LAN. Функции похожи на ST Home, а также он может выполнять функции маршрутизатора (router).
ГЛАВА III Расчет оборудования ADSL
3.1
Разработка схемы проектируемой сети доступа
При расчете сети доступа на базе оборудования ADSL воспользуемся контрактным предложением поступившем от компании N на организацию высокоскоростного доступа в Интернет для 164 абонентов.
Вопрос выбора оборудования, особенно на начальном этапе, представляет собой одну из самых мучительных проблем для тех, чьи решения определяют судьбу проекта в долгосрочной перспективе.
Для реализации данного проекта было принято решение использовать аппаратные и программные средства компании Alcatel, занимающей ведущие позиции на рынке устройств ADSL.
Для эффективного решения задач, которые ставят перед нами заказчики, и последующего сопровождения проектов компания Alcatel разработала концепцию All-in-One, реализуемую сегодня на российском рынке. Ее суть заключается в том, что заказчику предоставляется комплексный пакет услуг, начиная от консультаций по разработке бизнес-плана и заканчивая сопровождением оборудования и управлением системой в процессе эксплуатации. Такой подход компании основывается на глубоком понимании бизнеса заказчиков.
В рамках All-in-One заказчик взаимодействует с одной интегрированной глобальной компанией. Служба поддержки предлагает сервис одинакового уровня по всему миру, причем в каждой стране для доступа к ней существует единый телефонный номер.
Полный пакет услуг All-in-One включает планирование и разработку, развитие, эксплуатацию и поддержку систем. Для каждого из этих направлений в Alcatel созданы соответствующие службы. Служба планирования и разработки проводит экспертную оценку действующей коммуникационной системы и определяет тип разрабатываемого проекта, при внедрении которого будет максимально оптимизирована эффективность и прибыльность коммуникационных систем и сетей заказчика. Служба развития охватывает все стадии внедрения, необходимые для установки и запуска коммуникационных систем и сетей в соответствии с ожиданиями заказчика. Она также предусматривает обучение его персонала и квалифицированную помощь в сопровождении высокотехнологичной системы непосредственно на месте ее установки. Служба эксплуатации работает в режиме немедленного реагирования и помогает персоналу заказчика решать текущие технические задачи в процессе обслуживания систем и сетей. Служба поддержки предлагает экспертную помощь в случае возникновения проблем технического характера. На основе оперативной диагностики эксперты принимают решение о замене, например, отказавшего компонента или всей коммуникационной системы, если инфраструктура пострадала от стихийного бедствия — пожара, наводнения и т. п.
Существенное значение при построении ADSL-сети имеет правильное сочетание аппаратных и программных средств. Alcatel наряду с полнофункциональным комплектом оборудования предлагает платформу управления ресурсами. Эта платформа включает в себя набор инструментальных средств, позволяющих решать технологические задачи управления сетью, и средства управления сервисом, который, собственно говоря, и определяет все многообразие возможностей, предоставляемых оператору для решения задач его бизнеса.
Система ADSL состоит из двух частей, первая из которых (на стороне CO) называется ASAM, (ATM Subscriber Access Multiplexer - ATM-мультиплексор абонентского доступа), а вторая (на стороне абонента) – CPE (Customer Premises Equipment - оборудование в помещении заказчика). CPE, в свою очередь, включает в себя PS (POTS Splitter - разветвитель) и ANT (ADSL Network Termination (unit) - (блок) сетевого ADSL-окончания).
В качестве узлового оборудования оператора связи на проектируемой сети доступа используются 6 ADSL мультиплексоров А7300 ASAM, которые устанавливаются в кроссах АТС (СО).
Конфигурация мультиплексоров ASAM приведена ниже (рис.25):
1 и 3 ASAM:
- Стойка ETSI UT-9, которая представляет из себя корпус мультиплексора;
- Плата SANT-D, которая обеспечивает оптический доступ к цифровой SDH-системе передачи на скорости 155,52 Мбит/с и осуществляет адаптацию к этой системе ATM-ячеек, переносимых по шине IQ в обоих направлениях. Кроме того, в этой плате предусмотрены функции, необходимые для эксплуатации и технического обслуживания мультиплексора ASAM;
- Плата AACU обеспечивает визуальное отображение аварийных ситуаций и стыковку с соответствующей системой, находящейся в здании АТС;
- Платы АDLT по 7 шт., к каждой из которых подключаеся по 4 ADSL модема, т.е. в общем случае 28 шт.,
14 из которых – модемы семейства ST PC NIC;
13 – модемы семейства ST Home;
1 – модем семейства ST PRO;
- Сплиттеры по 7 шт., где осуществляется разделение ADSL и POTS сигналов;
- Сплиттеры внешние, находятся в абонентском помещении и соединен с витой парой, идущей от провайдера ADSL – услуг.
2,4,5 ASAM мультиплексоры по составу аппаратной части идентичны 1-му и 3-му мультиплексорам.
6 ASAM мультиплексор отличается наличием 6-ти плат ADLT и 6-ти плат сплиттеров, а также к нему подключаются по 12 ADSL модемов семейства ST PC NIC и семейства ST Home
Ко 2-му и 4-му ASAM мультиплексору подключается
13 из которых – модемы семейства ST PC NIC;
14 – модемы семейства ST Home;
1 – модем семейства ST PRO;
К 5-му мультиплексору подключаются по 14 ADSL модемов семейства ST PC NIC и семейства ST Home.
Компания “Alcatel” предложила заказчику использовать в качестве клиентского оборудования ADSL модемы 3-х видов, предназначенных для подключения индивидуальных пользователей, локальных сетей, а также для абонентов SOHO (Small Office / Home Office, т.е. представителей малого бизнеса и домашних пользователей).
Индивидуальным пользователям устанавливаются внутренние модемы семейства Speed Touch PC (PC NIC);
Для абонентов SOHO доступ в сеть Интернет организуется с использованием ADSL модемов семейства Speed Touch Home;
Локальные сети подключаются с помощью ADSL модемов семейства Speed Touch Pro.
Управление элементами сети доступа осуществляется через удаленный объект централизованного управления, которое называется AWS (ADSL Work Station), и в котором используется протокол SNMP [7].
ASAM оборудование подключается к существующей транспортной сети SDH через уже установленный АТМ - коммутатор заказчика по каналам STM-1. Мультиплексор доступа принимает потоки ячеек от отдельных абонентских устройств и мультиплексирует их для дальнейшей транспортировки в "восходящем" направлении. Затем АТМ-коммутаторы направляют каждый поток к месту его назначения. Восстановление пакетов в том виде, в каком они были сгенерированы станцией-отправителем, осуществляет магистральный маршрутизатор или сервер удаленного доступа (RAS), установленный на входе в сеть Internet-провайдера или в корпоративную сеть. Указанные устройства терминируют тот инкапсуляционный уровень в используемом стеке протоколов, который был активирован пользовательским оборудованием, а затем направляет восстановленные пакеты адресатам. Кроме того, в их обязанности нередко входят идентификация пользователей, присвоение IP-адресов и изменение степени использования сетевых ресурсов.
Выход в глобальную сеть Интернет осуществляется через сервер доступа Х.1000 (A7410),который подключается к АТМ – коммутатору через поток STM-1
Для реализации проекта требуется установить 6 ASAM мультиплексоров к которым подключаются 164 модема:
80 модемов PC NIC;
80 модемов HOME;
4 модема PRO,
а также 160 сплитеров (сплиттеры при подключении локальных сетей не используются).
Таким образом, общая сводка оборудования, которое будет установлено на сети доступа, представлена в таблице 3.1
|
|
Описание
|
Кол-во
|
| Аппаратная часть
|
|
|
| ADSL базовая конфигурация – оборудование оператора
|
| Стойка ETSI UT-9 2200mm 48VDC
|
6
|
| Платы
|
| SАNT-D, STM-1
|
6
|
| Alarm Control Unit (AACU)
|
6
|
| ADLT
|
41
|
| Passive POTS splitter 600 ohm
|
41
|
|
|
| ADSL базовая конфигурация – оборудование клиента
|
| Модем Speed Touch PC (PC NIC)
|
80
|
| Модем Speed Touch Home
|
80
|
| Модем Speed Touch Pro
|
4
|
|
|
|
|
Сплиттеры (на стороне абонента)
|
| Passive POTS splitter 600 ohm
|
160
|
| ADSL базовая конфигурация – кабели
|
| Кабель MDF-ASAM 24 pair 25 meter
|
6
|
| Оптический кабель
|
6
|
| Система управления сетью
ADSL (AWS)
|
| Сервер Oracle V7.3.2.2.0 RTU (8 conc. users)
|
1
|
| ПО NM Expert 1390 Management SW (inclusive Dataview graphical interface)
|
1
|
| Лицензия AWS License fee per user (including MIB fee)
|
164
|
| Оборудование доступа в сеть
Internet
|
| Системные блоки и платы
|
| X1000 shelf (includes fan, clock and alarm modules).
|
1
|
| Power Supply 500 Watts DC.
|
2
|
| System Control Module, Model 120.
|
1
|
| 3 WAN + 1 Ethernet
|
2
|
| ATM Line Interface with single OC-3 Single mode IH port.
|
1
|
| DC Fuse Panel (Hendry).
|
1
|
| Switch Software, Release 2.2.
|
1
|
| |
|
|
3.2 Расчет пропускной способности для проектируемой сети доступа
В зависимости от класса обслуживания, подключаемым абонентам может предоставляться либо гарантированная полоса пропускания (CBR), либо негарантированная (UBR).
Классы сервиса содержат ряд параметров, которые определяют гарантии качества сервиса. Предусмотрено несколько классов сервиса - CBR, VBR, UBR и ABR (появился совсем недавно). Гарантии качества сервиса могут определять минимальный уровень доступной пропускной способности и предельные значения задержки ячейки и вероятности потери ячейки (таблица 3.2).
Таблица 3.2
| Класс сервиса
|
Гарантии пропускной способности
|
Гарантии изменения задержки
|
Обратная связь при переполнении
|
| CBR
|
+
|
+
|
-
|
| UBR
|
-
|
-
|
-
|
Сервис CBR (constant bit rate, сервис с постоянной битовой скоростью) представляет собой наиболее простой класс сервиса. Когда сетевое приложение устанавливает соединение CBR, оно заказывает пиковую скорость трафика ячеек (peak cell rate, PCR), которая является максимальной скоростью, которое может поддерживать соединение без риска потерять ячейку. Затем данные передаются по этому соединению с запрошенной скоростью - не более и, в большинстве случаев, не менее [3].
Любой трафик, передаваемый станцией с большей скоростью, может сетью просто отбрасываться, а передача трафика сетью со скоростью, ниже заказанной, не будет удовлетворять приложению. CBR-соединения должны гарантировать пропускную способность с минимальной вероятностью потери ячейки и низкими изменениями задержки передачи ячейки. Когда приложение заказывает CBR сервис, то оно требует соблюдения предела изменения задержки передачи ячейки. Сервис CBR предназначен специально для передачи голоса и видео в реальном масштабе времени. Для соединений CBR нет определенных ограничений на скорость передачи данных, и каждое виртуальное соединение может запросить различные постоянные скорости передачи данных. Сеть должна резервировать полную полосу пропускания, запрашиваемую конкретным соединением.
В отличие от CBR, сервис UBR (unspecified bit rate, неопределенная битовая скорость) не определяет ни битовую скорость, ни параметры трафика, ни качество сервиса. Сервис UBR предлагает только доставку "по возможности", без гарантий по утере ячеек, задержке ячеек или границам изменения задержки. Разработанный специально для возможности превышения полосы пропускания, сервис UBR представляет собой адекватное решение для тех непредсказуемых "взрывных" приложений, которые не готовы согласиться с фиксацией параметров трафика. Вместе с тем, UBR позволяет обеспечить максимальную пропускную способность в том, случае, когда происходит сложение нескольких потоков данных, имеющих разнесенные во времени пики нагрузки.
Главными недостатками подхода UBR являются отсутствие управления потоком данных и неспособность принимать во внимание другие типы трафика. Когда сеть становится перегруженной, UBR-соединения продолжают передавать данные. Коммутаторы сети могут буферизовать некоторые ячейки поступающего трафика, но в некоторый момент буфера переполняются и ячейки теряются. А так как UBR-соединения не заключали никакого соглашения с сетью об управлении трафиком, то их ячейки отбрасываются в первую очередь. Потери ячеек UBR могут быть так велики, что "выход годных" ячеек может упасть ниже 50%, что совсем неприемлемо. Для устранения этого недостатка в мультиплексорах ASAM компании Алкатель допускается использование режима UBR+, который предоставляет возможность абоненту устанавливать минимально гарантированную скорость передачи - MCR.
Обычно трафиковые характеристики задаются в виде типовых профилей абонентов. Допустим, что для самых крупных пользователей, имеющих собственную ЛВС, будет использоваться профиль 1, который будет обеспечивать класс сервиса CBR и скорость передачи в сеть не ниже 1 Мбит/с, а прием информации от сети – 8 Мбит/с.
Для пользователей, имеющих небольшие ЛВС, будет устанавливаться профиль 2, который будет обеспечивать класс сервиса UBR+ и гарантированную скорость передачи в сеть не ниже 256 Кбит/с, а гарантированную скорость приема из сети не ниже 512 Кбит/с, соответственно, максимальные скорости передачи 512 Кбит/с и приема 1024 Кбит/с.
Индивидуальным пользователям будет устанавливаться профиль 3, который будет обеспечивать класс сервиса UBR+ и гарантированную скорость передачи в сеть не ниже 128 Кбит/с, а гарантированную скорость приема из сети не ниже 256 Кбит/с, соответственно, максимальные скорости передачи 256 Кбит/с и приема 512 Кбит/с.
Тип пользователя определяет тип модема ADSL, который будет устанавливаться. В соответствии с запросом заказчика, на сети будет устанавливаться 80 модемов PC-NIC (индивидуальные пользователи), 80 модемов Home (малые ЛВС) и 4 модема PRO (крупные ЛВС). Следовательно, для абонентов с модемами PRO будет устанавливаться профиль 1, для абонентов с модемами Home будет устанавливаться профиль 2, для абонентов с модемами PC-NIC будет устанавливаться профиль 3.
На первом этапе внедрения рассматриваемой сети доступа будет использоваться режим постоянных (некоммутируемых) виртуальных соединений, т.е. за каждым пользователем будет закрепляться фиксированный VP/VC.
Определение соответствия между суммарными абонентскими скоростями и имеющейся пропускной способностью производится исходя из следующих условий:
1. Максимальная суммарная скорость всех абонентов класса CBR вместе с суммой минимальных гарантированных скоростей всех абонентов класса UBR+ не должна превышать эффективной пропускной способности используемой среды передачи ( в нашем случае STM-1)
å CBR +å UBRmin £ Kисп * STM-1;
где - Kисп – допустимый коэффициент использования среды
передачи, равный – 0,95.
STM-1 - суммарная полезная нагрузка действительной АТМ
ячейки в STM1 С-4 составляет 155,52 * 26 : 27 =
149,76 Мбит/с.):
2. Сумма максимальных (негарантированных) скоростей передачи всех абонентов класса сервиса UBR+ не должна превышать имеющейся полосы пропускания системы передачи, умноженной на коэффициент перегрузки (MCR - минимальная пропускная способность, гарантированная каждому PVC или SVC. Эта скорость (в битах в секунду) выбирается абонентом в соответствии с объемом данных, которые он собирается передавать по сети, и гарантируется она оператором. Если пакетные посылки не превосходят скорость порта подключения абонента и пропускная способность сети в данный момент свободна, то абонент может превысить согласованное значение MCR. Скорость, с которой абонент посылает данные при наличии достаточной пропускной способности, называется oversubscription rate. Значение коэффициента oversubscription может от 2 до 6)
å UBR max<= Kubr * B,
- где Kubr – коэффициент перегрузки имеющейся пропускной способности ( Kubr = 400%)
- B – пропускная способность
Произведем расчет пропускной способности для 1-го мультиплексора ASAM. В соответствии со схемой (рис.25) в него включены 14 модемов PC-NIC (профиль 3), 13 – модемов ST Home (профиль 2) и 1 модем ST Pro (профиль 1).
Таким образом, суммарная гарантированная скорость на NT – интерфейсе этого мультиплексора в нисходящем потоке составляет :
- для одного модема ST Pro - 8 Мбит/с
- для 13 модемов ST Home - 13 х 512=6,656 Мбит/с
- для 14 модемов ST PC-NIC - 14x 256 = 3,584 Мбит/с
- общая гарантированная скорость 18,240 Мбит/с.
Таким образом, суммарная гарантированная скорость значительно меньше имеющейся пропускной способности среды передачи
18,240 < 149,76х 0,95 = 142,272 Мбит/с
Произведем расчет суммы максимальных негарантированных скоростей для абонентов с классом обслуживания UBR+:
- для 13 модемов ST Home - 13x1,024 = 13,312 Мбит/с
- для 14 модемов ST PC-NIC - 14x512 = 7,168 Мбит/с
- суммарная максимальная скорость - 20,480 Мбит/с
Проверим выполнение условия 2 для нашего случая, для этого определим пропускную способность, оставшуюся на негарантированную передачу :
142,272 – 18,240 = 124,032 Мбит/с
Как видно из приведенных вычислений оставшаяся полоса пропускания больше требуемой суммарной максимальной скорости для негарантированного трафика UBR+.
Таким образом, для рассмотренного мультиплексора полностью выполняются условия 1 и 2. Поскольку число и типы абонентов, подключенных к остальным мультиплексорам не превышают число абонентов в 1-ом мультиплексоре, то пропускной способности подключенных к ним трактов STM-1 вполне достаточно, для обеспечения всех абонентов необходимым качеством передачи данных.
Поскольку все абоненты, указанные на схеме , требуют выхода в сеть Интернет и на первом этапе используется режим полупостоянных соединений, то самым узким местом в сети доступа является поток STM-1, связывающий АТМ – коммутатор с сервером доступа в Интернет.
Проведем аналогичные расчеты для этого интерфейса с учетом условий 1 и 2.
Таким образом, суммарная гарантированная скорость на этом интерфейсе в нисходящем потоке составляет :
- для 4-х модемов ST Pro - 8х4 =32 Мбит/с
- для 80 модемов ST Home - 80 х 512=40,960 Мбит/с
- для 80 модемов ST PC-NIC - 80x 256 = 20,480 Мбит/с
- общая гарантированная скорость 93,440 Мбит/с.
Таким образом, суммарная гарантированная скорость меньше имеющейся пропускной способности среды передачи
93,440 < 149,76х 0,95 = 142,272 Мбит/с
Произведем расчет суммы максимальных негарантированных скоростей для абонентов с классом обслуживания UBR+:
- для 80 модемов ST Home - 80x1,024 = 81,92 Мбит/с
- для 80 модемов ST PC-NIC - 80x512 = 40,960 Мбит/с
- суммарная максимальная скорость - 122,880 Мбит/с
Проверим выполнение условия 2 для нашего случая, для этого определим пропускную способность, оставшуюся на негарантированную передачу :
142,272 –93,440 = 48,832 Мбит/с
С учетом коэффициента допустимой перегрузки Kubr = 400% получим
48,832 х 4 = 195,328 Мбит/с > 122,880 Мбит/с
Таким образом, сумма максимальных скоростей для всех абонентов класса UBR+ не превышает расчетное значение имеющейся пропускной способности с учетом расчетного значения коэффициента перегрузки, т.е. условие 2 также выполняется для рассматриваемого интерфейса.
Проведенные расчеты показывают, что выбранный вариант построения сети доступа полностью удовлетворяет требованиям по пропусканию нагрузки проектируемой сети.
Глава
IV
. Технико-экономическое обоснование.
4.1 Обоснование целесообразности проектного решения.
В последние годы рост объемов передачи информации привел к тому, что наблюдается дефицит пропускной способности каналов доступа к существующим сетям. Если на корпоративных уровнях эта проблема частично решается (арендой высокоскоростных каналов передачи), то в квартирном секторе и в секторе малого бизнеса эти проблемы существуют.
На сегодняшний день основным способом взаимодействия оконечных пользователей с частными сетями и сетями общего пользования является доступ с использованием телефонной линии и модемов, устройств, обеспечивающих передачу цифровой информации по абонентским аналоговым телефонным линиям. Скорость такой связи невелика, максимальная скорость может достигать 56 Кбит/с. Этого пока хватает для доступа в Интернет, однако насыщение страниц графикой и видео, большие объемы электронной почты и документов в ближайшее время снова поставит вопрос о путях дальнейшего увеличения пропускной способности.
Наиболее перспективной в настоящее время является технология ADSL (Asymmetric Digital Subscriber Line). Это новая модемная технология, превращающая стандартные абонентские телефонные аналоговые линии в линии высокоскоростного доступа. Технология ADSL позволяет передавать информацию к абоненту со скоростью до 8 Мбит/с. В обратном направлении используется скорость до 640 Кбит/с. Это связанно с тем, что все современный спектр сетевых услуг предполагает весьма незначительную скорость передачи от абонента. Например, для получения видеофильмов в формате MPEG-1 необходима полоса пропускания 1,5 Мбит/с. Для служебной информации передаваемой от абонента, вполне достаточно 64 -128 Кбит/с.
Бурный рост числа пользователей Internet, наблюдаемый в последнее время, как во всем мире, так и в России, дает повод весьма оптимистично взглянуть на перспективы российского рынка ADSL. Этот оптимизм разделяют провайдеры, начинающие развертывать сети ADSL-доступа. Но что же можно сказать в отношении их потенциальной абонентской базы?
Cегодня число российских пользователей Internet оценивается в 1,95 млн. человек (по данным Dataquest). Однако из-за отсутствия четкого определения понятия «пользователь Internet» эту и другие подобные оценки следует воспринимать с некоторой долей скепсиса.
Часто фигурирующую цифру 1,5— 2 млн. нельзя рассматривать как абсолютную, так как она может породить искаженное представление. Например, по данным Института маркетинговых и социальных исследований GfK MR, изучающего российскую часть Internet на базе репрезентативных опросов населения России в возрасте старше 16 лет, в июле 2000 г. «...возможность доступа во Всемирную сеть имели около 6 млн. россиян (5,5%), однако из них только 24% (примерно 1,5 млн.) пользовались этим доступом более или менее регулярно (по крайней мере, один раз в месяц)» («Телеком-форум» от 29.10.00). Что такое один раз в месяц с точки зрения прибыли? Если продолжительность работы в Сети в среднем составляет 4—5 часов, то при расценках на коммутируемый доступ 1 долл. в час получается 50—60 долл. в год. Безусловно, реальный интерес для провайдера (по этому показателю) представляют те клиенты, которые обеспечивают доход на порядок выше.
Число «эффективных» пользователей в России в 2000 г. (считаем, что эффективный абонент проводит в Сети не менее 20 часов в месяц) оценивается на уровне 350—450 тыс. Такая консервативная оценка позволяет спрогнозировать, что быстрые темпы роста абонентской базы в среднесрочной перспективе, несмотря на невысокий уровень компьютеризации и низкие доходы населения, сохранятся. На московском рынке коммутируемого доступа в 2000 г. наблюдался рост среднемесячной загрузки модемного пула на уровне 5—6% в месяц, что подтверждает это предположение (оценка Alcatel на основе данных компании «Русский экспресс»). Это позволяет ожидать роста количества эффективных пользователей Internet, в том числе абонентов широкополосного доступа.
Таким образом, можно утверждать, что в России, как и во всем мире (хотя и с поправкой на российскую специфику), в области предоставления Internet-услуг будет происходить сдвиг в сторону широкополосных систем.
Одной из главных проблем при организации высокоскоростного доступа в Internet на базе технологии асимметричной цифровой абонентской линии (ADSL) является вопрос выбора оборудования, который, особенно на начальном этапе, представляет собой одну из самых мучительных проблем для тех, чьи решения определяют судьбу проекта в долгосрочной перспективе.
Для реализации проекта построения сети ADSL для доступа в глобальную сеть Internet было принято решение проанализировать возможность использования аппаратных и программных средств фирмы Alcatel или оборудования компании Cisco Systems. Анализ проводится на основе метода анализа иерархий (МАИ).
Метод анализа иерархий - это математический аппарат, который разработан для решения задач многокритериальной оптимизации, который в отличие от традиционных методов позволяет принять компромиссное решение [15].
МАИ является систематической процедурой для иерархического представления элементов, определяющих суть любой проблемы. Метод состоит в декомпозиции проблемы на все более простые составляющие части и дальнейшей обработке последовательности суждений лица, принимающего решение, по парным сравнениям. В результате может быть выражена относительная степень (интенсивность) взаимодействия элементов в иерархии. Эти суждения затем выражаются численно. МАИ включает процедуры синтеза множественных суждений, получения приоритетности критериев и нахождения альтернативных решений. Полученные таким образом значения являются оценками в шкале отношений и соответствуют так называемым жестким оценкам.
Сравнительный анализ оборудования
ADSL
.
Для выбора на рынке средств связи оборудования ADSL, наиболее подходящего для реализации данного проекта, произведем сравнение двух возможных вариантов аппаратных и программных средств, которые могут быть использованы для проектирования данной широкополосной сети доступа: ADSL оборудование фирмы Alcatel и компании Cisco Systems.
Возможные варианты:
1 вариант – ADSL мультиплексоры ASAM 1000 и абонентское оборудование фирмы Alcatel;
2 вариант – мультиплексоры серии Cisco 61хх / 62xx и ADSL модемы компании Cisco Systems
Сравнение этих систем будем осуществлять по следующим показателям:
1. Стоимость;
2. Надежность;
3. Легкость в эксплуатации;
4. Обеспечение безопасности передаваемых данных;
5. Гибкость управления оборудованием;
6. Реализация функций бриджинга / маршрутизации;
7. Мультипротокольность; поддержка различных сетевых интерфейсов;
8. Цифровая передающая способность ADSL системы;
9. Адаптация данных ASAM / DSLAM; управление передачей данных;
10. Рекламная политика компаний.
Решение поставленной задачи (выбора системы) с помощью МАИ осуществляется в несколько этапов:
1.
Представление задачи в иерархической форме (рис.26).
Выбор оборудования ADSL I уровень (общая цель)
          II уровень (критерий)
| Стоимость
|
Надежность
|
Легкость в эксплуатации
|
Обеспечение безопасности передаваемых данных
|
Гибкость управления оборудованием
|
Реализация функций бриджинга / маршрутизации
|
Мультипротокольность; поддержка различных сетевых интерфейсов
|
Цифровая передающая способность ADSL системы
|
Адаптация данных в ASAM / DSLAM; управление передачей данных
|
Рекламная политика компаний
|
         1 2 3 4 5 6 7 8 9 10
 III уровень (альтернатива)
ADSL оборудование Alcatel ADSL система Cisco Systems
Рисунок 26
2.
Установление приоритетов критериев.
Для установления приоритетов критериев проводится попарное сравнение критериев по отношению к общей цели, результаты попарного сравнения заносятся в матрицу. В каждую клетку матрицы ставится та или иная оценка (от 1 до 9) относительной важности. Сравнивается относительная важность левых элементов матрицы с элементами наверху. Поэтому если элемент слева важнее, чем элемент наверху, то в клетку заносится целое число; в противном случае – обратное число (дробь). Относительная важность любого элемента, сравниваемого с самим собой, равна 1. Данные представлены в таблице 4.2.
В таблице 4.1 приведена шкала оценок интенсивности относительной важности.
Таблица 4.1
Шкала оценок интенсивности относительной важности
| Интенсивность относительной важности
|
Определение
|
| 1
3
5
7
9
2,4,6,8
Обратные величины приведенных чисел
|
Значит равную важность элементов
Умеренное превосходство одного над другим
Существенное или сильное превосходство
Значительное превосходство
Очень сильное превосходство
Промежуточные решения между соседними суждениями
Если при сравнении одного вида деятельности с другим получено одно из вышеуказанных чисел, то при сравнении второго вида деятельности с первым получим обратную величину
|
Таблица 4.2
Матрица парных сравнений критериев по отношению к общей цели.
| 1
|
2
|
3
|
4
|
5
|
6
|
7
|
8
|
9
|
10
|

|

|
| 1
|
1
|
1/3
|
2
|
1/3
|
1/3
|
1/3
|
1
|
1/5
|
1/5
|
3
|
0,559
|
0,044
|
| 2
|
3
|
1
|
4
|
1
|
2
|
3
|
3
|
1/3
|
1
|
5
|
1,801
|
0,142
|
| 3
|
1/2
|
¼
|
1
|
1/4
|
1/3
|
1/2
|
1
|
1/5
|
1/4
|
2
|
0,469
|
0,037
|
| 4
|
3
|
1
|
4
|
1
|
1
|
3
|
3
|
1/3
|
1/3
|
3
|
1,431
|
0,113
|
| 5
|
3
|
½
|
3
|
1
|
1
|
3
|
3
|
1/3
|
1/3
|
3
|
1,297
|
0,102
|
| 6
|
3
|
1/3
|
2
|
1/3
|
1/3
|
1
|
1
|
1/3
|
1/3
|
3
|
0,771
|
0,061
|
| 7
|
1
|
1/3
|
1
|
1/3
|
1/3
|
1
|
1
|
1/4
|
1/3
|
2
|
0,601
|
0,047
|
| 8
|
5
|
3
|
5
|
3
|
3
|
3
|
4
|
1
|
2
|
5
|
3,096
|
0,244
|
| 9
|
5
|
1
|
4
|
3
|
3
|
3
|
3
|
1/2
|
1
|
5
|
2,295
|
0,157
|
| 10
|
1/3
|
1/5
|
1/2
|
1/3
|
1/3
|
1/3
|
1/2
|
1/5
|
1/5
|
1
|
0,346
|
0,027
|
ИС = 0,04 ОС = 2,4 %
Расчет векторов приоритетов производится в следующей последовательности. Сначала перемножаются элементы в каждой строке матрицы, и извлекается корень n-
ой степени, где n
– число элементов в строке. Полученные значения называются компонентами нормализованного вектора приоритетов, количество компонент равняется количеству строк.
Затем полученный таким образом столбец чисeл нормализуется делением каждого числа на сумму всех чисел, что в итоге и является вектором приоритетов.

Индекс согласованности (ИС) в матрице может быть приближенно получен следующим образом:
· Суммируется каждый столбец суждений, затем сумма первого столбца умножается на величину первой компоненты нормализованного вектора приоритетов, сумма второго столбца – на вторую компоненту и т.д.
· Полученные числа суммируются. Таким образом можно получить величину, обозначаемую 
· Определяется индекс согласованности из соотношения ИС= , где n
– число сравниваемых элементов. Индекс согласованности дает информацию о степени нарушения численной и порядковой согласованности
· Определяется отношение согласованности (ОС) путем деления ИС на число, соответствующее случайной согласованной матрицы того же порядка (для матрицы 10-го порядка случайная согласованность равна 1,49). Величина ОС должна быть порядка 10% или менее, чтобы быть приемлемой. В нашем случае отношение согласованности много меньше 10% и не выходит за рамки допустимых. Это означает, что матрица согласована, и суждений пересматривать не стоит.
3.
Определение локальных приоритетов
Матрицы локальных приоритетов, подобные матрице приоритетов критериев по отношению к главной цели, составляются для попарного сравнения альтернатив по отношению к каждому из критериев.
Матрицы оценок предпочтительности ADSL оборудования по разным критериям приведены в таблицах 4.3 … 4.12
Таблица 4.3
Матрица попарных сравнений для уровня 3 по параметру “Стоимость”
| Alcatel
|
Cisco Systems
|

|

|
| Alcatel
|
1
|
5
|
2,236
|
0,833
|
| Cisco Systems
|
1/5
|
1
|
0,447
|
0,167
|
ИС = 0
Таблица 4.
4
Матрица попарных сравнений для уровня 3 по параметру “Надежность”
| Alcatel
|
Cisco Systems
|

|

|
| Alcatel
|
1
|
3
|
1,732
|
0,75
|
| Cisco Systems
|
1/3
|
1
|
0,577
|
0,25
|
ИС = 0
Таблица 4.
5
Матрица попарных сравнений для уровня 3 по параметру “Легкость эксплуатации”
| Alcatel
|
Cisco Systems
|

|

|
| Alcatel
|
1
|
4
|
2
|
0,8
|
| Cisco Systems
|
1/4
|
1
|
0,5
|
0,2
|
ИС = 0
Таблица 4.
6
Матрица попарных сравнений для уровня 3 по параметру “Обеспечение безопасности передаваемых данных”
| Alcatel
|
Cisco Systems
|

|

|
| Alcatel
|
1
|
1/5
|
0,447
|
0,167
|
| Cisco Systems
|
5
|
1
|
2,236
|
0,833
|
ИС = 0
Таблица 4.7
Матрица попарных сравнений для уровня 3 по параметру “Гибкость управления оборудованием”
| Alcatel
|
Cisco Systems
|

|

|
| Alcatel
|
1
|
1/3
|
0,577
|
0,25
|
| Cisco Systems
|
3
|
1
|
1,732
|
0,75
|
ИС = 0
Таблица 4.
8
Матрица попарных сравнений для уровня 3 по параметру Реализация функций бриджинга / маршрутизации
| Alcatel
|
Cisco Systems
|

|

|
| Alcatel
|
1
|
1/3
|
0,577
|
0,25
|
| Cisco Systems
|
3
|
1
|
1,732
|
0,75
|
ИС = 0
Таблица 4.9
Матрица попарных сравнений для уровня 3 по параметру “Мультипротокольность; поддержка различных сетевых интерфейсов”
| Alcatel
|
Cisco Systems
|

|

|
| Alcatel
|
1
|
1
|
1
|
0,5
|
| Cisco Systems
|
1
|
1
|
1
|
0,5
|
ИС = 0
Таблица 4.10
Матрица попарных сравнений для уровня 3 по параметру “Цифровая передающая способность ADSL системы”
| Alcatel
|
Cisco Systems
|

|

|
| Alcatel
|
1
|
4
|
2
|
0,8
|
| Cisco Systems
|
1/4
|
1
|
0,5
|
0,2
|
ИС = 0
Таблица 4.11
Матрица попарных сравнений для уровня 3 по параметру “Адаптация данных в ASAM / DSLAM; управление передачей данных”
| Alcatel
|
Cisco Systems
|

|

|
| Alcatel
|
1
|
3
|
1,732
|
0,75
|
| Cisco Sytems
|
1/3
|
1
|
0,577
|
0,25
|
ИС = 0
Таблица 4.
12
Матрица попарных сравнений для уровня 3 по параметру “Рекламная политика компаний”
| Alcatel
|
Cisco Systems
|

|

|
| Alcatel
|
1
|
4
|
2
|
0,8
|
| Cisco Systems
|
1/4
|
1
|
0,5
|
0,2
|
ИС = 0
4.
Определение глобальных приоритетов.
Следующим этапом является применение принципа синтеза. Для каждой альтернативы находится сумма произведений локального приоритета данной альтернативы по каждому из критериев на приоритет соответствующего критерия по отношению к вышестоящему уровню:
, где
- количество критериев;
- локальный приоритет альтернативы по -ому критерию;
- локальный приоритет -ого критерия.
В таблице 4.13 приведены глобальные приоритеты:
1 - ADSL система фирмы Alcatel
2 - ADSL оборудование Cisco Systems
Таблица 4.13
Глобальные приоритеты
| 1
0,044
|
2
0,142
|
3
0,037
|
4
0,113
|
5
0,102
|
6
0,061
|
7
0,047
|
8
0,244
|
9
0,181
|
10
0,027
|
Приоритет
|
Ранг
|
| 1
|
0,833
|
0,75
|
0,8
|
0,167
|
0,25
|
0,25
|
0,5
|
0,8
|
0,75
|
0,8
|
0,608
|
1
|
| 2
|
0,167
|
0,25
|
0,2
|
0,833
|
0,75
|
0,75
|
0,5
|
0,2
|
0,25
|
0,2
|
0,392
|
2
|
Проведенные расчеты показывают, что наиболее предпочтительным вариантом является 1-й вариант, то есть проектирование сети доступа в глобальную сеть Internet на базе ADSL оборудования фирмы Alcatel.
Для этого лучшего варианта произведем расчет основных экономических показателей:
- капитальных затрат;
- эксплуатационных расходов
4.2
Расчет капитальных затрат и эксплуатационых расходов
4.2.1. Расчет капитальных затрат
На основе данных контрактного предложения (фирма «Alcatel») от 18.02.01 составим смету на приобретение оборудования и произведем расчет капитальных затрат на реализацию ADSL сети. Нам понадобится оборудование оператора (СО), абонентское оборудование (CPE), система управления сетью и шлюз доступа в сеть Internet [14]
таблица 4.14
Смета на приобретение оборудования
|
|
Описание
|
Кол-во
|
Стоимость единицы, доллар США
|
Общая стоимость, доллар США
|
| Аппаратная часть
|
|
|
| ADSL базовая конфигурация – оборудование оператора
|
| Стойка ETSI UT-9 2200mm 48VDC version 3SR
|
6
|
$8 753,36
|
$ 52 520,16
|
| Платы
|
| SDH-NT STM-1, SVC
|
6
|
$3 296,48
|
$ 19 778,88
|
| Alarm Control Unit
|
6
|
$668,80
|
$4 012,80
|
| Line board - EUR variant
|
41
|
$828,08
|
$ 33 951,28
|
| Passive POTS splitter 600 ohm
|
41
|
$95,04
|
$ 3 896,64
|
|
|
| ADSL базовая конфигурация – оборудование клиента
|
| Модем Speed Touch PC (PC NIC)
|
80
|
$176,00
|
$ 14 080,00
|
| Модем Speed Touch Home
|
80
|
$299,20
|
$ 23 936,00
|
| Модем Speed Touch Pro
|
4
|
$484,00
|
$ 1 936,00
|
|
|
|
|
Сплиттеры
|
| Passive POTS splitter 600 ohm
|
160
|
$24,64
|
$ 3 942,40
|
| ADSL базовая конфигурация – кабели
|
| Cable MDF-ASAM 24 pair 25 meter
|
6
|
$126,72
|
$ 760,32
|
| Fiber and connectors SDH-NT to network
|
6
|
$72,16
|
$ 432,96
|
| |
Итого за ADSL оборудование:
|
|
|
$ 159 247,44
|
| |
|
|
| Система управления сетью
ADSL
|
|
|
| Сервер Oracle V7.3.2.2.0 RTU (8 conc. users)
|
1
|
$10 825,76
|
$ 10 825,76
|
| ПО NM Expert 1390 Management SW (inclusive Dataview graphical interface)
|
1
|
$27 324,24
|
$ 27 324,24
|
| Лицензия AWS License fee per user (including MIB fee)
|
217
|
$24,64
|
$ 5 346,88
|
| Итого за систему управлению:
|
|
|
$ 43 496,88
|
| |
|
|
|
|
| Итого за
ADSL
сеть:
|
|
|
$202 744,32
|
| |
|
| Оборудование доступа в сеть
Internet
|
| Системные блоки и платы
|
| X1000 shelf (includes fan, clock and alarm modules).
|
1
|
$5 275,60
|
$ 5 275,60
|
| Power Supply 500 Watts DC.
|
2
|
$1 232,00
|
$ 2 464,00
|
| System Control Module, Model 120.
|
1
|
$14 960,00
|
$ 14 960,00
|
| 3 WAN + 1 Ethernet
|
2
|
$4 840,00
|
$ 9 680,00
|
| Digital Modem Server 84 channels.
|
1
|
$22 000,00
|
$ 22 000,00
|
| Digital Modem Server 84 channels.
|
1
|
$17 600,00
|
$ 17 600,00
|
| ATM Line Interface with single OC-3 Single mode IH port.
|
1
|
$8 360,00
|
$ 8 360,00
|
| DC Fuse Panel (Hendry).
|
1
|
$1 936,00
|
$ 1 936,00
|
| Switch Software, Release 2.2.
|
1
|
$3 960,00
|
$ 3 960,00
|
| |
|
|
Итого:
|
$ 111 755,60
|
| |
|
|
| Итого за оборудование доступа:
|
|
$153 208,60
|
| Итого за проект:
|
|
$355 952,92
|
Капитальные затраты включают в себя следующие составляющие:
- Стоимость оборудования;
- Стоимость монтажа (10% от стоимости оборудования);
- Транспортные и заготовительно-складские расходы (5% от стоимости оборудования);
- Затраты на тару и упаковку (0,5% от стоимости оборудования).
Стоимость монтажа:

Транспортные и заготовительно-складские расходы:

Затраты на тару и упаковку:

 
Таким образом, капитальные затраты на построение сети ADSL составят 11 922 643, 56 рублей.
4.2.2 Расчет эксплуатационных затрат
Определим величину годовых эксплуатационных расходов (Э).
В процессе обслуживания оборудования осуществляется деятельность, требующая расхода ресурсов оператора связи. Сумма затрат за год составит фактическую производственную себестоимость, или величину годовых эксплуатационных расходов.
Эксплуатационные расходы являются важнейшим показателем деятельности любого хозяйствующего субъекта, который показывает, во что обходится предприятию создание продукции или услуг данного объема, какие затрачены для этого производственные ресурсы[13].
В соответствии с действующей методикой в эксплуатационные затраты включаются следующие статьи:
- Затраты на оплату труда
;
- Отчисления на социальные нужды
;
- Амортизация основных фондов
;
- Материальные затраты
;
- Затраты на электроэнергию
;
- Прочие расходы

Сумма затрат на оплату труда определяются по формуле:
где – величина оклада работника i–ой категории;
– число работников i-ой категории;
12 – число месяцев в году;
1,2 – коэффициент, учитывающий премии.
В таблице 4.15 представлены должностные оклады согласно штатному расписанию компании:
Таблица 4.15
Должностные оклады сотрудников компании
| Должность
|
Численность персонала
|
Оклад (доллары США)
|
| Инженер технической эксплуатации
|
1
|
700
|
| Техник оператор
|
5
|
400
|
Таким образом затраты на оплату труда составят:

Отчисления на социальные нужды представляют собой обязательные для каждого предприятия выплаты по установленным в законодательном порядке нормам в размере 35,6%, в том числе в государственные фонды социального страхования (4%), пенсионный (28%), и обязательного медицинского страхования (3,6%). Отчисления на социальные нужды напрямую зависят от фонда оплаты труда и рассчитываются по единым для всех предприятий нормам:

Амортизация представляет собой постепенный перенос стоимости ОПФ на стоимость вновь создаваемой продукции или услуг по мере их износа. Количественной мерой амортизации и ее денежным выражением являются амортизационные отчисления, предназначенные на полное восстановление основных производственных фондов. Амортизационные отчисления с экономической точки зрения являются денежным эквивалентом овеществленного труда, израсходованного в течение одного производственного цикла создания продукции. Амортизационные отчисления рассчитываются обычным порядком, как установленный процент отчислений в год с основных фондов. Затем определяется доля отчислений, которая зависит от продолжительности использования вычислительной техники при эксплуатации данного программного продукта.
В общем виде формула расчета амортизационных отчислений имеет вид:

Сумма первоначальных затрат составляет 355 952, 92 доллара США. Годовые нормы амортизации для вычислительной техники, информационных систем и систем обработки данных составляют 25%. Следовательно, годовая сумма отчислений составит:
А = 355 952, 92 * 25 / 100 = $ 88 988,23.
Материальные затраты составляют 0,5% от стоимости оборудования:
М = 0,005*355 952, 92 = $ 1 779, 77.
Затраты на электроэнергию составляют 1% от общих эксплуатационных расходов:

Прочие расходы включают в себя:
a) Обязательное страховое имущество на предприятии – 0,08% от стоимости оборудования:

b) расходы на ремонт оборудования в размере 2% от стоимости оборудования:
.
c) прочие административно-хозяйственные расходы в размере 20% от расходов по труду:


Общие эксплуатационные расходы за вычетом затрат на электроэнергию составят:

Общие эксплуатационные расходы составят:

Полученные данные сведены в таблицу 4.16
Таблица 4.16
Технико-экономические показатели
| Наименование показателя
|
Единица измерения
|
Стоимостная оценка
|
| 1. Капитальные затраты
|
рубль
|
11 922 642, 98
|
| 2. Годовые эксплуатационные расходы, в т.ч.:
d) Затраты на оплату труда ;
e) Отчисления на социальные нужды ;
f) Амортизация основных фондов А;
g) Материальные затраты ;
h) Затраты на электроэнергию ;
i) Прочие расходы .
|
рубль
рубль
рубль
рубль
рубль
рубль
рубль
|
4 722 060, 14
1 125 200
401 397, 12
2 580 658, 67
51 613, 33
47 220, 7
515 970, 61
|
Выводы:
В результате проведенных в данном разделе расчетов можно сделать следующие выводы:
1.
На основании проведенного сравнительного анализа с помощью метода анализа иерархий (МАИ) сделано заключение о том, что оборудование ADSL фирмы Alcatel выгоднее применять на сети доступа по сравнению с оборудованием ADSL фирмы Cisco (по значению глобальных приоритетов).
2.
В результате проведенных расчетов по лучшему варианту были получены значения капитальных затрат ( руб.) и эксплуатационных расходов ( руб.)
ГЛАВА V. Экология и безопасность жизнедеятельности
5.1
Влияние монитора на организм человека
Среди различных физических факторов окружающей среды, которые могут оказывать неблагоприятное воздействие на человека и биологические объекты, большую сложность представляют электромагнитные поля неионизирующей природы, особенно относящиеся к радиочастотному излучению. Здесь неприемлем замкнутый цикл производства без выброса загрязняющего фактора в окружающую среду, поскольку используется уникальная способность радиоволн распространяться на далекие расстояния. По этой же причине неприемлемо и экранирование излучения и замена токсического фактора на другой менее токсический фактор. Неизбежность воздействия электромагнитного излучения (ЭМИ) на население и окружающую живую природу стало данью современному техническому прогрессу и все более широкому применению телевидения и радиовещания, радиосвязи и радиолокации, использования СВЧ-излучающих приборов и технологий и т.п. И хотя возможна определенная канализация излучения, уменьшающая нежелательное облучение населения, и регламентация во время работ излучающих устройств, дальнейший технический прогресс все же повышает вероятность воздействия ЭМИ на человека. Поэтому здесь недостаточны упомянутые меры уменьшения загрязнения окружающей среды.
На возможность неблагоприятного влияния на организм человека электромагнитных полей (ЭМП) было обращено внимание еще в конце 40-х годов. В результате обследования людей. работающих в условиях воздействия ЭМП значительной интенсивности, было показано, что наиболее чувствительными к данному воздействию являются нервная и сердечно-сосудистая системы. Описаны изменения кроветворения, нарушения со стороны эндокринной системы, метаболических процессов, заболевания органов зрения. Было установлено, что клинические проявления воздействия радиоволн наиболее часто характеризуются астеническими и вегетативными реакциями .
В условиях длительного профессионального облучения с периодическим повышением предельно допустимых уровней (ПДУ) у части людей отмечали функциональные перемены в органах пищеварения, выражающиеся в изменении секреции кислотности желудочного сока, а также в явлениях дискинезии кишечника.
При длительном профессиональном облучении выявлены также функциональные сдвиги со стороны эндокринной системы: повышение функциональной активности щитовидной железы, изменение характера сахарной кривой и т.д.
В последние годы появляются сообщения о возможности индукции ЭМИ злокачественных заболеваний. Еще немногочисленные данные все же говорят, что наибольшее число случаев приходится на опухоли кроветворных тканей и на лейкоз в частности./Это становится общей закономерностью канцерогенного эффекта при воздействиях на организм человека и животных физических факторов различной природы и в ряде других случаев.
Видеодисплеи персональных компьютеров (ВДПК) используют в процессе повседневной деятельности миллионы служащих во всем мире. Компьютеризация в нашей стране принимает широкий размах, и многие сотни тысяч людей проводят большую часть рабочего дня за экраном дисплея. Наряду с признанием несомненной пользы применение компьютерной техники вызывает беспокойство за свое здоровье и многочисленные жалобы пользователей ПК.
Имеются статистические данные, согласно которым лица, работающие с ЭВМ, более беспокойны, подозрительны, чаще избегают общения, а также недоверчивы, раздражительны,склонны к повышенной самооценке, высокомерны, фиксируют внимание на неудачах [6].
ХАРАКТЕРИСТИКА ЭМИ ВИДЕОТЕРМИНАЛОВ КОМПЬЮТЕРОВ
Дисплеи персональных компьютеров, выполненные на электронно-лучевых трубках (ЭЛТ). являются потенциальными источниками мягкого рентгеновского, ультрафиолетового (УФ), инфракрасного (ИК), видимого, радиочастотного, сверх- и низкочастотного ЭМИ .
Сотрудники Центра электромагнитной безопасности провели независимое исследование ряда компьютеров, наиболее распространенных на нашем рынке, и установили, что "уровень электромагнитных полей в зоне размещения пользователя превышает биологически опасный уровень."
Последствия регулярной работы с компьютером без применения защитных средств:
•
заболевания органов зрения (60 процентов пользователей);
•
болезни сердечно-сосудистой системы (60 процентов);
• заболевания желудочно-кишечного тракта (40 процентов);
• кожные заболевания (Ю процентов);
•
различные опухоли.
Особенно опасно электромагнитное излучение компьютера для детей и беременных женщин. Установлено, что у беременных женщин, работающих на компьютерах с дисплеями на электронно-лучевых трубках, с 90-процентной вероятностью в 1,5 раза чаще случаются выкидыши и в 2,5 раза чаще появляются
на свет дети с врожденными пороками [10].
СОВРЕМЕННОЕ СОСТОЯНИЕ ПРОБЛЕМЫ НОРМИРОВАНИЯ ЭМИ
Осуществляемое в нашей стране гигиеническое нормирование электромагнитного "загрязнения" окружающей среды в своих основополагающих позициях базируется на общих методологических принципах регламентации условий в населенных местах, разработанных несколькими поколениями ученых-гигиенистов.
Общей методологической основой работ по обоснованию гигиенических нормативов различных факторов окружающей среды является проведение многоплановых исследований - опытов на лабораторных животных, а также наблюдений за людьми в соответствующих реальных или моделируемых ситуациях. На этой основе за допустимые уровни факторов окружающей среды принимают такую их выраженность, которая при воздействии на организм человека периодически или в течение всей жизни не вызывает соматических иди психических заболеваний (в том числе скрытых или временно компенсируемых) или других изменений состояния здоровья, выходящих за пределы приспособительных реакций, обнаруживаемых современными методами исследования сразу или в отдаленные сроки жизни настоящего или будущих поколений. Таким образом, соблюдение допустимых уровней должно обеспечить сохранение средней продолжительности жизни, показателей физического развития, состояния высшей нервной деятельности, работоспособности, поведения, репродуктивной функции, способности адекватного адаптирования к среде обитания, биохимических и физиологических констант организма человека.
Учитывая специфику воздействия ЭМП на население (возможность круглосуточного и в течение всей жизни воздействия на. большие контингенты людей, в том числе детей, обладающих повышенной чувствительностью к вредным влияниям), неблагоприятными следует считать существенные отклонения от нормы любой жизненно важной функции организма.
В соответствии с принципом единства организма как системы взаимосвязанных подсистем, появление возрастающих по ' значимости функциональных изменений хотя бы в одной подсистеме организма может привести к возникновению неблагоприятных реакций и в других подсистемах. Поэтому оно должно расцениваться как показатель неблагоприятного воздействия, которое может привести к появлению патологических, необратимых реакций при продолжающемся воздействии.
Одним из наиболее сложных и до настоящего времени окончательно не решенных вопросов является экстраполяция результатов экспериментальных исследований с животных на человека.
При нормировании ЭМП, как и других факторов окружающей среды, в населенных местах оценочным критерием их действия на организм служат не патологические, а функциональные изменения, при этом в качестве допустимого уровня ЭМП принимают подпороговые величины, которые не вызывают компенсаторного напряжения функциональных систем организма.
Широкий спектр частот электромагнитных сигналов, их различный энергетический вклад создают существенные сложности для измерений и, комплексной оценки.
| 1-14В/м
2 –6В/м
3- 1В/м
4-03В/м
1-75В/м
2-25В/м 3-10В/м
4 -2В/м
5-03В/м
|
рисунок 27.Зоны компьютерного излучения 1. Вид сверху

2. Вид сбоку
3.
Использование средств защиты от ЭМИ

 - Зона размещения пользователя:
- зона распространения электромагнитных полей;
1 - монитор без системы электромагнитной защиты;
2 - монитор с защитным фильтром на экране;
3 - монитор с полной электромагнитной защитой,
ОПАСНО ЛИ РАБОТАТЬ ЗА ПЕРСОНАЛЬНЫМ КОМПЬЮТЕРОМ? РЕГЛАМЕНТАЦИЯ И СПОСОБЫ ИНДИВИДУАЛЬНОЙ ЗАЩИТЫ
Персональные компьютеры (ПК) заняли прочное место в деятельности очень многих людей. Сейчас уже невозможно представить полноценную трудовую деятельность на предприятиях, в частном бизнесе, да и в процессе обучения без ПК. Но все это "не может не вызывать обеспокоенности в отношении их вредного влияния на состояние здоровья пользователей. Недооценка особенностей работы с дисплеями, помимо снижения надежности и эффективности работы с ними, приводит к существенным проблемам со здоровьем.
Выполнение рекомендаций по эксплуатации компьютеров позволяет значительно снизить вредные воздействия находящихся в эксплуатации ПЭВМ. В первую очередь, безопасность при работе с ПК может быть обеспечена за счет рационального размещения компьютеров в помещениях, правильной организации рабочего дня пользователей, а также за счет применения средств повышения контраста и защиты от бликов на экране, электромагнитных излучений и электростатического поля .
Рекомендуется, например, чтобы экран дисплея находился от глаз пользователя на расстоянии 50 (не ближе) - 70 см.
Режимы трудами отдыха при работе с ПЭВМ, согласно, зависят от категории трудовой деятельности. Все работы с ПЭВМ делятся на три категории:
1. Эпизодическое считывание и ввод информации не более 2-х ч. за 8-часовую рабочую смену.
2. Считывание информации или творческая работа не более 4-х ч. за 8-часовую смену.
3. Считывание информации или творческая работа более 4-х ч. за 8-часовую смену.
Продолжительность непрерывной работы с ПЭВМ не должна превышать 2 ч.
При 8-часовой рабочей смене регламентированные перерывы рекомендуется устанавливать следующим образом:
• для 1 категории работ с ПЭВМ - через 2 ч. от начала смены и через 2 ч. после обеденного перерыва продолжительностью 15 мин. каждый;
• для 2 категории - через 2 ч, от начала смены и через 2 ч, после обеденного перерыва продолжительностью 15 мин. каждый или продолжительностью 10 мин. через каждый час работы;
• для 3 категории - через 2 ч. от начала смены, через 1,5 и 2,5 ч. после обеденного перерыва продолжительностью 5-15 мин.
Если в помещении эксплуатируется более одного компьютера, то следует учесть, что на пользователя одного компьютера могут воздействовать излучения от других ПЭВМ, в первую очередь со стороны боковых, а также и задней стенки дисплея. Учитывая, что от излучения со стороны экрана дисплея можно защититься применением специальных фильтров, необходимо, чтобы пользователь размещался от боковых и задних стенок других дисплеев на расстоянии не менее 1 м.
На мониторы рекомендуется устанавливать защитные фильтры класса полной защиты, которые обеспечивают практически полную защиту от всех вредных воздействий монитора в электромагнитном спектре и позволяют уменьшить блик от электронно-лучевой трубки, а также повысить читаемость символов.
В нашей стране существует Центр электромагнитной безопасности, где разрабатываются всевозможные средства защиты от электромагнитного излучения: специальная защитная одежда, всевозможные ткани и прочие защитные материалы, которые могут обезопасить любой прибор. Но до внедрения подобных разработок в широкое и повседневное их использование пока далеко. Так что каждый пользователь должен позаботиться о средствах своей индивидуальной защиты сам, и чем скорее, тем лучше.
Требования к видеодисплейным терминалам и персональным электронно-вычислительным машинам
Визуальные эргономические параметры ВДТ являются параметрами безопасности, и их неправильный выбор приводит к ухудшению здоровья пользователей.
Все ВДТ должны иметь гигиенический сертификат, включающий в том числе оценку визуальных параметров.
Конструкция ВДТ, его дизайн и совокупность эргономических .параметров должны обеспечивать надежное и комфортное считывание отображаемой информации в условиях эксплуатации.
Конструкция ВДТ должна обеспечивать возможность фронтального наблюдения экрана путем поворота корпуса в горизонтальной плоскости вокруг вертикальной оси в пределах +/- 30 градусов и в вертикальной плоскости вокруг горизонтальной оси в пределах +/- 30 градусов с фиксацией в заданном положении. Дизайн ВДТ должен предусматривать окраску корпуса в спокойные мягкие тона с диффузным рассеиванием света. Корпус ВДТ и ПЭВМ, клавиатура и другие блоки и устройства ПЭВМ должны иметь матовую поверхность одного цвета с коэффициентом отражения 0,4-0,6 и не иметь блестящих деталей, способных создавать блики. На лицевой стороне корпуса ВДТ не рекомендуется располагать органы управления, маркировку, какие-либо вспомогательные надписи и обозначения- При необходимости расположения органов управления на лицевой панели они должны закрываться крышкой или быть утоплены в корпусе.
Для обеспечения надежности считывания информации при соответствующей степени комфортности ее восприятия должны быть определены оптимальные и допустимые диапазоны визуальных эргономических параметров. При проектировании и разработке ВДТ сочетания визуальных эргономических параметров и их значения,
соответствующие оптимальным и допустимым диапазонам, полученные в результате испытаний в специализированных лабораториях, аккредитованных в установленном порядке, и подтвержденные соответствующими протоколами, должны быть внесены в техническую документацию на ВДТ.
Примечание: все ранее разработанные и находящиеся в эксплуатации типы отечественных и зарубежных ВДТ должны быть испытаны в течение года после утверждения настоящих Санитарных правил.
Конструкция ВДТ должна предусматривать наличие ручек регулировки яркости и контраста, обеспечивающих возможность регулировки этих параметров от минимальных до максимальных значений.
В технической документации на ВДТ должны быть установлены требования на визуальные параметры, соответствующие действующим на момент разработкам или импорта ГОСТ и признанным в Российской Федерации международным стандартам.
В целях защиты от электромагнитных и электрических полей допускается применение средств индивидуальной защиты, прошедших испытания в аккредитованных лабораториях и имеющих соответствующий гигиенический сертификат [8].
Требования к помещениям для эксплуатации ВДТ и ПЭВМ
Помещения с ВДТ и ПЭВМ должны иметь естественное и искусственное освещение.
Естественное освещение должно осуществляться через светопроемы, ориентированные преимущественно на север и северо-восток и обеспечивать коэффициент естественной освещенности (КЕО) не ниже 1,2% в зонах с устойчивым снежным покровом и не ниже 1,5% на остальной территории.
Расположение рабочих мест с ВДТ и ПЭВМ для взрослых пользователей в подвальных помещениях не допускается. Размещение рабочих мест с ВДТ и ПЭВМ во всех учебных заведениях и дошкольных учреждениях не допускается в цокольных и подвальных помещениях.
Производственные помещения, в которых для работы используются преимущественно ВДТ и ПЭВМ (диспетчерские, операторские, расчетные и др.) и учебные помещения (аудитории вычислительной техники, дисплейные классы, кабинеты и др.), не должны граничить с помещениями, в которых уровни шума и вибрации превышают нормируемые значения (механические цеха, мастерские, гимнастические залы и т.п.).
Звукоизоляция ограждающих конструкций помещений с ВДТ и ПЭВМ должна отвечать гигиеническим требованиям и обеспечивать нормируемые параметры шума согласно требованиям настоящих Санитарных правил-
Помещения с ВДТ и ПЭВМ должны оборудоваться системами отопления, кондиционирования воздуха или эффективной приточно-вытяжной вентиляцией. Расчет воздухообмена следует проводить по теплоизбыткам от машин, людей, солнечной радиации и искусственного освещения.
Требования к освещению помещений и рабочих мест с ВДТ и ПЭВМ
Искусственное освещение в помещениях эксплуатации ВДТ и ПЭВМ должно осуществляться системой общего равномерного освещения. В производственных и административно-общественных помещениях, в случаях преимущественной
работы с документами, допускается применение комбинированного освещения (к общему освещению дополнительно устанавливаются светильники местного освещения, предназначенные I
освещения зоны расположения документов).
Освещенность на поверхности стола в зоне размещения рабочего документа должна быть 300-500 лк.(минимальный размер объекта различения-толщина штриха буквы-0.3 мм, отсюда разряд зрительной работы – работа высокой точности ). Допускается установка светильников местного освещения для подсветки документов. Местное освещение не должно создавать бликов поверхности экрана и увеличивать освещенность экрана более 300 лк
Следует ограничивать прямую блесткость от источников освещения, при этом яркость светящихся поверхности (окна, светильники и др.), находящихся в поле зрения, доля быть не более 200 кд/кв.м.
Следует ограничивать отраженную блесткость на рабочих поверхностях (экран, стол, клавиатура и др.) за с' правильного выбора типов светильников и расположения рабочих мест по отношению к источникам естественного и искус венного освещения,
Следует ограничивать неравномерность распределения яркости в поле зрения пользователя ВДТ и ПЭВМ, при этом соотношение яркости между рабочими поверхностями должно превышать 3:^-5:]. а между рабочими поверхностям поверхностями стен и оборудования - 10:1.
В качестве источников света при искусственном освещении должны применяться преимущественно люминесцентные лампы типа ЛБ. При устройстве отраженного освещения производственных и административно-общественных помещениях допускается применение металлогалогенных ламп мощностью до 250 Вт. Допускается применение ламп накаливание светильниках местного освещения.
Общее освещение следует выполнять в виде сплошных или прерывистых линий светильников, расположенных сбоку от рабочих мест, параллельно линии зрения пользователя при рядном расположении ВДТ и ПЭВМ. При периметральном расположении компьютеров линии светильников должны находиться ближе к переднему краю, обращенному к оператору.
Для обеспечения нормируемых значений освещенности в помещениях использования ВДТ и ПЭВМ следует проводить чистку стекол оконных рам и светильников не реже двух раз в год и проводить своевременную замену перегоревших ламп.
Требования к организации и оборудованию рабочих мест с ВДТ и ПЭВМ
Рабочие места с ВДТ и ПЭВМ по отношению к световым проемам должны располагаться так, чтобы естественный свет падал сбоку, преимущественно слева
Схемы размещения рабочих мест с ВДТ и ПЭ должны учитывать расстояние между рабочими столами с видеомониторами (в направлении тыла поверхности одного видеомонитора и экрана другого видеомонитора), которое должно быть не менее 2,0 м, а расстояние между боковыми поверхностями видеомониторов - не менее 1,2 м.
Рабочие места с ВДТ и ПЭВМ в залах электрон вычислительных машин или в помещениях с источниками вред производственных факторов должны размещаться в изолированных кабинах с организованным воздухообменом.
Оконные проемы в помещениях использования ВДТ и ПЭВМ должны быть оборудованы регулируемыми устройствами типа: жалюзи, занавесей (п.5.5), внешних козырьков и
Рабочие места с ВДТ и ПЭВМ при выполнении творческой работы, требующей значительного умственного напряжения или высокой концентрации внимания, следует изолировать друг от друга перегородками высотой 1,5-2,0 м.
Шкафы, сейфы, стеллажи для хранения дисков, дискет, комплектующих деталей, запасных блоков ВДТ и ПЭВМ инструментов, следует располагать в подсобных помещения для учебных заведений - в лаборантских.
При отсутствии подсобных помещений или лаборантов допускается размещение шкафов, сейфов и стеллажей в помещениях непосредственного использования ВДТ и ПЭВМ при соблюдении требований, изложенных в настоящем разделе.
В подсобных помещениях или в лаборантских должны размещаться рабочий стол и радиомонтажный сто оборудованный местным отсосом на телескопическом воздуховоде с шарнирным соединением, позволяющим устанавливать воздухоприемник в нужном положении, с исходной скорость 5-6 м/с во всасывающей плоскости.
При конструировании оборудования и организации рабочего места пользователя ВДТ и ПЭВМ следует обеспечить соответствие конструкции всех элементов рабочего места и их взаимного расположения эргономическим требованиям с учетом характера выполняемой пользователем деятельности, комплектности технических средств, форм организации труда и основного рабочего положения пользователя.
Конструкция рабочего стола должна обеспечивать оптимальное размещение на рабочей поверхности используемого оборудования с учетом его количества и конструктивных особенностей (размер ВДТ и ПЭВМ, клавиатуры, пюпитра и др.), характера выполняемой работы- При этом допускается использование рабочих столов различных конструкций, отвечающих современным требованиям эргономики.
Конструкция рабочего стула (кресла) должна обеспечивать поддержание рациональной рабочей позы при работе на ВДТ и ПЭВМ, позволять изменять позу с целью снижения статического напряжения мышц шейно-плечевой области и спины для предупреждения развития утомления.
Тип рабочего стула (кресла) должен выбираться в зависимости от характера и продолжительности работы с ВДТ и ПЭВМ с учетом роста пользователя.
Рабочий стул (кресло) должен быть подъемно-поворотным и регулируемым по высоте и углам наклона сиденья и спинки, а также расстоянию спинки от переднего края сиденья, при этом регулировка каждого параметра должна быть независимой, легко осуществляемой и иметь надежную фиксацию.
Поверхность сиденья, спинки и других элементов стула (кресла) должна быть полумягкой, с нескользящим, неэлектризующимся и воздухопроницаемым покрытием, обеспечивающим легкую очистку от загрязнений.
Экран видеомонитора должен находиться от глаз пользователя на оптимальном расстоянии 600-700 мм, но не ближе 500 мм с учетом размеров алфавитно-цифровых знаков и символов.
В помещениях с ВДТ и ПЭВМ ежедневно должна проводиться влажная уборка.
Помещения с ВДТ и ПЭВМ должны быть оснащены аптечкой первой помощи и углекислыми огнетушителями.
Требования к организации режима труда и отдыха при работе с ПЭВМ и ВДТ
Режимы труда и отдыха при работе с ПЭВМ и ВДТ должны организовываться в зависимости от вида и категории трудовой деятельности.
Виды трудовой деятельности разделяются на 3 группы: группа А - работа по считыванию информации с экрана ВДТ или ПЭВМ с предварительным запросом; группа Б - работа по вводу информации; группа В - творческая работа в режиме диалога с ЭВМ. При выполнении в течение рабочей смены работ, относящихся к разным видам трудовой деятельности, за основную работу с ПЭВМ и ВДТ следует принимать такую, которая занимает не менее 50% времени в течение рабочей смены или рабочего дня.
Для видов трудовой деятельности устанавливается 3 категории тяжести и напряженности работы с ВДТ и ПЭВМ, которые определяются: для группы А - по суммарному числу считываемых знаков за рабочую смену, но не более 60 000 знаков за смену; для группы Б - по суммарному числу считываемых или вводимых знаков за рабочую смену, но не более 40 000 знаков за смену; для группы В - по суммарному времени непосредственной работы с ВДТ и ПЭВМ за рабочую смену, но не более 6 часов за смену.
Продолжительность обеденного перерыва определяется действующим законодательством о труде и Правилами внутреннего трудового распорядка предприятия (организации, учреждения).
Для обеспечения оптимальной работоспособности и сохранения здоровья профессиональных пользователей, на протяжении рабочей смены должны устанавливаться регламентированные перерывы,
Время регламентированных перерывов в течение рабочей смены следует устанавливать в зависимости от ее продолжительности, вида и категории трудовой деятельности (приложение 15).
Продолжительность непрерывной работы с ВДТ без регламентированного перерыва не должна превышать 2 часов.
При работе с ВДТ и ПЭВМ в ночную смену, (с 22 до 6 часов), независимо от категории и вида трудовой деятельности, продолжительность регламентированных перерывов должна увеличиваться на 60 минут.
При 8-часовой рабочей смене и работе на ВДТ и ПЭВМ регламентированные перерывы следует устанавливать:
- для 1 категории работ - через 2 часа от начала рабочей смены и через два часа после обеденного перерыва продолжительностью 15 минут каждый;
- для 2 категории работ - через 2 часа от начала рабочей смены и через 1,5-2,0 часа после обеденного перерыва продолжительностью 15 минут каждый или продолжительностью 10 минут через каждый час работы;
- для 3 категории работ - через 1,5-2,0 часа от начала рабочей смены и через 1,5-2,0 часа после обеденного перерыва продолжительностью 20 минут каждый или продолжительностью 15 минут через каждый час работы
При 12-часовой рабочей смене регламентированные перерывы должны устанавливаться в первые 8 часов работы аналогично перерывам при 8-ми часовой рабочей смене, а течение последних 4 часов работы, независимо от категории вида работ, каждый час продолжительностью 15 минут.
Во время регламентированных перерывов с цель снижения нервно-эмоционального напряжения, утомления зрительного анализатора, устранения влияния гиподинамии и гипокинезии, предотвращения развития познотонического утомления целесообразно выполнять комплексы упражнений.
С целью уменьшения отрицательного влияния монотонии целесообразно применять чередование операций осмысления текста и числовых данных, чередование редактирования текстов и ввода данных (изменение содержания работы).
В случаях возникновения у работающих с ВДТ ПЭВМ зрительного дискомфорта и других неблагоприятных субъективных ощущений, несмотря на соблюдение санитарно- гигиенических, эргономических требований, режимов труда отдыха следует применять индивидуальный подход в ограничении времени работ с ВДТ и ПЭВМ, коррекцию длительности перерывов для отдыха или проводить смену деятельности [ другую, не связанную с использованием ВДТ И.ПЭВМ.
Работающим на ВДТ и ПЭВМ с высоким уровнем напряженности во время регламентированных перерывов и конце рабочего дня показана психологическая разгрузка в специально оборудованных помещениях (комната психологической разгрузки) [12].
Таблица 5.1 Нормируемые визуальные параметры видеодисплейных терминалов
| № п/п
|
Наименование параметров
|
Значения параметров
|
| 1
|
Контраст (для монохромных ВДТ)
|
от 3:1 до 1,5:1
|
| 2
|
Неравномерность яркости
|
не более +/ - 25
|
| элементов знаков, %
|
| 3
|
Неравномерность яркости
|
не более +/ - 20
|
| рабочего поля экрана, %
|
| 4
|
Формат матрицы знака
|
не менее 7-9 элементов
|
| прописных букв и цифр, (для
|
изображения
|
| отображения диакритических
|
не менее 5-7 элементов
|
| знаков и строчных букв с
|
изображения
|
| нижними выносными элементами)
|
| 5
|
Отношение ширины знака к его
|
от 0,7 до 0,9 (допускается
|
| высоте для прописных букв
|
от 0.5 до 1,0)
|
| 6
|
Размер минимального элемента
|
0,3
|
| отображения (пикселя) для
|
| монохромного ВДТ, мм
|
| 7
|
Угол наклона линии наблюдения, град.
|
не более 60 град. ниже горизонта
|
| 8
|
Угол наблюдения, град.
|
не более 40 град. от нормали к
|
| -любой точке экрана дисплея
|
| 9
|
Допустимое горизонтальное сме
|
не более 5
|
| щение однотипных знаков, % от
|
| ширины знака
|
| 10
|
Допустимое вертикальное
|
не более 5
|
| смещение однотипных знаков, %
|
| от высоты матрицы
|
| 11
|
Отклонение формы рабочего поля
|
| экрана ВДТ от правильного прямо
|
| угольника не должно превышать:
|
В1-В2
|
| - по горизонтали
|
DВ=2-------- < 0,02
|
| В1+В2
|
Рисунок 28. Схема расположения рабочих мест относительно светопроемов
 Дверь
5.2
Расчет естественной освещенности в производственном помещении.
Рабочий зал расположен на третьем этаже здания. На противоположной стороне улицы на расстоянии L=10 м находится здание, с высотой карниза H=20 м над уровнем подоконника зала. Длина машинного зала - А=15 м, ширина - В=9 м, высота - h=5,5 м.
Необходимо определить:
1) площадь световых проемов в помещении для обеспечения нормируемой освещенности (площадь остекления);
2) число окон;
3) размещение окон с целью равномерности естественного освещения.
1. Необходимая площадь окон, для создания нормируемой естественной освещенности в зале, определяется по формуле где Sп - площадь пола в производственном помещении, м^2
Sп=Sпт(площадь потолка)=А´В=15´9=135 м^2
Sст(стены)=(А+В)´2´h= (15+9)´2´5,5= 264 м^2
Lmin - минимальный коэффициент естественной освещенности [11]
Lmin=3 - работа высокой точности (разряд работ - 3)
h0 -коэффициент световой характеристики окна
Но для этого определим:
а) параметр окна - h1, м h1 - возвышение верхнего края окна над горизонтальной рабочей поверхностью, м;
h0=3,5 м - высота окна, h`=1,0 м - расстояние от пола до подоконника, hраб=1,5 м - высота рабочей поверхности над уровнем пола.
h1=3,5+1,0-1,5=3 м
б) отношение длины помещения А, м, к ширине В, м:
А/В=15/9=1,67
в) отношение ширины помещения В, м, к параметру окна h1, м:
В/h1=9/3=3
По полученным значениям (а,б,в) находим значение h0
h0= 20
к - коэффициент, учитывающий затемнение окна противостоящим зданием, по предварительно найденному отношению - расстояния между противостоящими зданиями L, м, к высоте карниза противостоящего здания над уровнем подоконника рассматриваемого окна Н, м: L/H=10/20= 0,5 м
r0 - коэффициент светопропускания в помещении категории Б. Положение остекления - вертикальное, при деревянных и железобетонных одинарных переплетах. Освещение естественное, боковое, одностороннее.
r0= 0,5
r1 - коэффициент, учитывающий влияние отраженного света при боковом естественном освещении
При этом r1 зависит от средневзвешенного коэффициента отражения света от ограждающих поверхностей помещения rср. Этот коэффициент находится из соотношения:  Sп, Sст, Sпт - были найдены выше, а rп, rст, rпт - соответственно коэффициенты отражения от пола, стены и потолка
rп=0,3 , rст=0,3 , rпт=0,7
rср=(0,3´135+0,3´264+0,7´135)/(2´135+264)»0,4
r1=4
Площадь окон, необходимая для создания нормируемой естественной освещенности в зале равна:
S0=(135´3´20´1,7)/(100´0,5´4)= 49 м^2
2. Зная площадь одного окна S=h0´b0= 3,5´2,0=7,0 м^2, находим количество окон, необходимое для соблюдения нормируемой естественной освещенности в машинном зале: n=S0/S=49/7=7 окон;
где b0=2,0 м - ширина окна n=7 окон
3. В боковой стене, по длине помещения, размещения n окон, с межоконным промежутком b; b`=(15-7´2,0)/(7+1)=0,125 м
Заключение
В настоящее время бурно развиваются сетевые технологии.
На сегодняшний день существует несколько альтернативных методов доступа в Интернет.
Наиболее распространенным, из которых является коммутируемый доступ через телефонную сеть. Однако, этот метод доступа обладает рядом недостатков. Например, низкая скорость, трудности с дозвоном до провайдера, неустойчивые соединения, перегрузка телефонной сети.
Эти недостатки можно устранить, используя наиболее перспективный для массового использования метод доступа, на базе технологии ADSL.
В I главе данного дипломного проекта были рассмотрены общие вопросы, касающиеся развития и применения технологии ADSL.
Во II главе описывается оборудование ADSL компании “Алкатель”, занимающей ведущие позиции на мировом рынке связи (Мультиплексор доступа ASAM и клиентское оборудование).
В III главе производится расчет сети доступа заказчика компании ”Алкатель”, на базе оборудования ADSL, который также включает в себя расчет пропускной способности каналов связи.
В IV главе – технико-экономическое обоснование проекта, произведенное по методу анализа иерархий (МАИ), в котором сравнивалось ADSL оборудование компаний “Алкатель” и “Cisco Systems”, а также рассчитывались капитальные затраты и эксплуатационные расходы на организацию сети доступа.
В V главе разрабатывались вопросы экологии и безопасности жизнедеятельности. Был произведен анализ влияния монитора на организм человека и рассчитана естественная освещенность в производственном помещении
Таким образом, был разработан проект сети доступа:
- Сетевая архитектура;
- Комплектация оборудования.
Проведенный расчет пропускной способности подтвердил, что данная сеть доступа будет работать с заданным качеством.
Сравнительный анализ оборудования компании “Алкатель” и компании “Cisco” показал явные преимущества оборудования компании “Алкатель”.
Расчитанные капитальные затраты и эксплуатационные расходы позволят оператору правильно определить тарифную политику, быстро окупить затраты и получить прибыль
СПИСОК ЛИТЕРАТУРЫ
1. . Под редакцией В.Ю. Деарт, Д.М. Броннер Асимметричная цифровая абонентская линия. Теоретические основы.Учебное пособие. 2001- 41с
2. Под редакцией В.Ю. Деарт, Д.М. Броннер. Асимметричная цифровая абонентская линия.Описание системы. Учебное пособие. 2001- 36с.
3. Internet Access Учебное пособие 2000-25с.
4. Б. Крук, В. Попантонопуло. Телекоммуникационные системы и сети Сиб. Предприятие “Наука” РАН. 1998- 523с.
5. С. Симонович, Т. Евсеев. Сетевые технологии. ДЕСС КОМ. Информ-Пресс. М. 2000-221с.
6. И. Коваленко, В. Рябец. Охрана труда при работе на видеотерминалах. Обзор. Информ. Вып. 6. М. ВЦНИИОТ ВЦСПС. 1986-78с.
7. В. Олифер, Н. Олифер. Компьютерные сети. Принципы. Технологии, протоколы, С-П, Интермир, 2000, 267с
8. Б. Сынзыныс, А. Ильин. Биологическая опасность и нормирование электромагнитных излучений персональных компьютеров. М. Русполиграф-1997-62с.
9. В. Дурнев и др. Электросвязь. Введение в специальность. М. Радио и связь. 1988-215с.
10. Н. Баклашов и др. Охрана труда на предприятиях почтовой связи. М. Радио и связь. 1989-288с.
11. П. Домин. Основы техники безопасности в электроустройствах. Учебное пособие для вузов. М. Энергоатомиздат. 1984-448с.
12. Б. Терехов. Охрана труда и охрана окружающей среды. Учебное пособие. МИС 1990-21с.
13. С. Есиков. Методы и практика расчетов экономической эффективности новой техники связи. М. Связь. 1980-156с.
14. Н. Резникова, Е. Демина. Методические указания по технико-экономическому обоснованию дипломных проектов для технических факультетов. М. Информсвязьиздат. 2000-60с.
15. Т. Саати, К. Керис. Аналитическое планирование. Организация систем. М. Радио и связь. 1998-224с.
Список демонстрационных плакатов
1. Плакат №1.”Принцип организации ADSL” (рис.4)
2. Плакат №2. “Распределение спектра частот” (рис.15, табл.1.3)
3. Плакат №3. “Структура проектируемой сети доступа” (рис.24)
4. Плакат №4. “Состав оборудования сети” (рис.25)
5. Плакат №5. “Технико – экономические показатели” (рис.26,табл.4.13,табл.4.16)
Приложение 1
Список сокращений
ADSL – Asymmetrical Digital Subscriber Line – асимметричная цифровая абонентская линия
BER – Bit Error Rate – коэффициент ошибок по битам
CAP – Carrierless Amplitude Phase modulation – амплитудно-фазовая модуляция без передачи несущей
DMT – Discrete Multi-Tone – дискретная многотональная модуляция
EC - Echo Cancellation – эхо-компенсация
EMC – Electro-Magnetic Compatibility – электромагнитная совместимость
ETSI – European Telecommunications Standarts Institute – Европейский институт по стандартизации в области связи
FDM – Frequency Division Multiplexing – частотное разделение каналов
FEXT – Far End CROSSTalk – переходное влияние на дальнем конце
ICI – Inter – Carrier Interference – интерференция между несущими
IFFT – Inverse Fast Fourier Transform – инверсное быстрое преобразование Фурье
ISDN – Integrated Service Digital Network – цифровая сеть с интеграцией служб
ISI – Inter Symbol Interference – межсимвольная интерференция
NEXT – Near End CROSSTalk – переходное влияние на ближнем конце
PS – POTS Splitter – ФНЧ для выделения сигналов аналоговой телефонии
RFI Radio Frequency Interference – радиочастотная интерференция
RS –Reed-Solomon – код Рида-Соломона
SNR –Signal to Noise Ratio – отношение сигнал/шум
UTP – Unshielded Twisted Pair – неэкранированная симметричная пара
|