Учебное пособие
Пуск в работу питательного электронасоса после ремонта
Груздев В.Б.
Рассматривается методика подготовки и пуск питательного насосного агрегата с электрическим приводом. Подробно описана последовательность технологических операций при пуске питательного насоса и его масляной системы. Приведено краткое описание работы центробежных насосов в сети. В приложении приведены иллюстрации, поясняющие работу питательного насоса. Также приведены варианты аварийных ситуаций и успешное их решение. Составлены перечни контрольных вопросов к каждой главе.
Предназначено для студентов очно - заочной формы обучения при подготовке по специальности 140100 "Теплоэнергетика". Может полезно студентам других специальностей, при изучении дисциплины "Режимы работы и эксплуатация ТЭС", а также всем инженерно-техническим работникам и рабочим тепловых и атомных электрических станций.
насос электрический масляный центробежный
СОДЕРЖАНИЕ
Введение
Глава1. Основные параметры и классификация насосов
Глава 2. Питательные установки тепловых электростанций
2.1 Включение питательного насоса в тепловую схему электростанции
2.2 Пуск в работу после ремонта маслосистемы питательного электронасоса
Глава 3. Моделирование ситуации с аварийным отключением работающего маслонасоса
3.1 Исходное состояние оборудования
3.2 Возможные причины аварийного отключения работающего маслонасоса
3.3 Возможные причины аварийного отключения работающего маслонасоса
3.4 Действия оперативного персонала, при отключении работающего и включение по АВР резервного маслонасосов
3.5 Действия оперативного персонала, при отключении работающего и не включение резервного маслонасоса
3.6 Действия оперативного персонала при пожаре на маслосистеме ПЭН
3.7 Контрольные вопросы
Глава 4. Включение в работу после ремонта питательного электронасоса
4.1 Изучение технологической схемы
4.2 Пуск ПЭН в работу после ремонта
4.3 МПЭН выполняет следующую работу
4.4 Контрольные вопросы
Глава 5. Совместная работа двух и более питательных насосов на общую гидравлическую сеть
5.1 Параллельная работа центробежных насосов
5.2 Параллельная работа центробежных насосов с одинаковыми характеристиками
5.3 Параллельная работа центробежных насосов с разными характеристиками
5.4 Включение в параллельную работу двух питательных электронасосов
Забиваем Сайты В ТОП КУВАЛДОЙ - Уникальные возможности от SeoHammer
Каждая ссылка анализируется по трем пакетам оценки: SEO, Трафик и SMM.
SeoHammer делает продвижение сайта прозрачным и простым занятием.
Ссылки, вечные ссылки, статьи, упоминания, пресс-релизы - используйте по максимуму потенциал SeoHammer для продвижения вашего сайта.
Что умеет делать SeoHammer
— Продвижение в один клик, интеллектуальный подбор запросов, покупка самых лучших ссылок с высокой степенью качества у лучших бирж ссылок.
— Регулярная проверка качества ссылок по более чем 100 показателям и ежедневный пересчет показателей качества проекта.
— Все известные форматы ссылок: арендные ссылки, вечные ссылки, публикации (упоминания, мнения, отзывы, статьи, пресс-релизы).
— SeoHammer покажет, где рост или падение, а также запросы, на которые нужно обратить внимание.
SeoHammer еще предоставляет технологию Буст, она ускоряет продвижение в десятки раз,
а первые результаты появляются уже в течение первых 7 дней.
Зарегистрироваться и Начать продвижение
5.5 Контрольные вопросы
Приложения
Литература
Введение
Целью настоящего учебного Пособия является изучение студентами общей схемы обвязки трубопроводами и вспомогательным оборудованием питательного электронасоса и его системы маслоснабжения, а также их пуск в работу после ремонта.
При описании питательного электронасоса и пуска его в работу после ремонта с вариантами аварийных ситуаций, как самого питательного насоса, так и его вспомогательных систем, использовалась общеизвестная техническая литература по насосам [1-22] и более чем 20-ти летний опыт работы автора по эксплуатации Заинской ГРЭС (Татарстан), Ленинградской и Чернобыльской АЭС, что позволило обобщить и создать настоящее Пособие, и тем самым разработать методику подготовки к пуску и пуск питательных электронасосов в работу после ремонта энергоблоков тепловых и атомных электростанций.
В ходе изучения Пособия студенты получат навыки решения эксплуатационных задач при пуске в работу питательных насосов с электрическим приводом. Пуск же питательного насоса с турбоприводом, где вместо приводного электродвигателя применяется паровая турбина, существенно не отличается за исключением пусковых операций на приводной турбине. В следующем Пособии мы рассмотрим и такой пуск питательного насоса, тем более турбоприводами снабжен большой парк питательных насосов российских и зарубежных энергоблоков мощностью 300 и более Мвт.
Теперь вспомним, что насосами называются гидравлические лопастные машины, предназначенные для подъема и подачи жидкостей, в нашем случае – питательной воды из деаэратора.
Глава 1. Основные параметры и классификация насосов
Термины в области насосов установлены ГОСТ 17398—72 "Насосы. Термины и определения". Согласно этому ГОСТ насосы подразделяются на две основные группы: динамические и объемные.
Динамическими называют насосы, в которых жидкость под воздействием гидродинамических сил перемещается в камере (незамкнутом объеме), постоянно сообщающейся с входом и выходом насоса.
Объемными называют насосы, в которых жидкость перемещается путем периодического изменения объема жидкостной камеры, попеременно сообщающейся с входом и выходом насоса.
Динамические насосы подразделяются на лопастные, насосы трения и инерционные.
Лопастными называют насосы, в которых жидкость перемещается за счет энергии, передаваемой ей при обтекании лопастей рабочего колеса. Лопастные насосы объединяют две основные группы насосов: центробежные и осевые. В центробежных насосах жидкость перемещается через рабочее колесо от центра к периферии, а в осевых, через рабочее колесо в направлении его оси. Часто насосы поставляются в виде насосного агрегата, т е. насоса и соединенного с ним двигателя. В качестве двигателя могут быть как электрические, так и паровые машины.
Сервис онлайн-записи на собственном Telegram-боте
Попробуйте сервис онлайн-записи VisitTime на основе вашего собственного Telegram-бота:
— Разгрузит мастера, специалиста или компанию;
— Позволит гибко управлять расписанием и загрузкой;
— Разошлет оповещения о новых услугах или акциях;
— Позволит принять оплату на карту/кошелек/счет;
— Позволит записываться на групповые и персональные посещения;
— Поможет получить от клиента отзывы о визите к вам;
— Включает в себя сервис чаевых.
Для новых пользователей первый месяц бесплатно.
Зарегистрироваться в сервисе
Кроме того, существует понятие насосная установка, т. е. насосный агрегат с комплектом оборудования, смонтированного по определенной схеме, обеспечивающей работу насоса в заданных условиях.
Кроме терминов, относящихся к конструктивным и другим признакам насосов, ГОСТ 17398—72 устанавливает и терминологию основных технических показателей насосов и насосных агрегатов.
Основным из этих показателей является объемная подача насоса — объем подаваемой насосом жидкости в единицу времени. Подача воды измеряется в м3
/с или м3
/ч. Допускается измерять подачу в л/с.
Существует понятие массовая подача — масса подаваемой жидкости в единицу времени. Массовая подача измеряется в кг/с (т/с) или кг/ч (т/ч) и определяется, как вторым основным показателем насоса является развиваемое им давление или напор и определяется приростом удельной энергии воды при движении ее потока от входа к выходу насоса. Напор чаще всего измеряется в метрах водяного столба (м. вод. ст.) или в атмосферах (атм).
Для определения величины полного напора насоса Н применяются следующие формулы:
Н = P2
/ρg – P1
/ρg + Δh + (v2
2
- v2
1
) / 2g, (м. вод. ст.) (1)
H = Hм+ (v2
2
- v2
1
) / 2g, ( м. вод. ст.), (2)
где P2
, P1
– давление воды соответственно в напорном и всасывающем патрубках насоса, атм;
Δh = (z2
- z1
) –
расстояние по вертикали между точками установки манометра на напоре и вакуумметра на всасе, м;
v2
, v1
- скорости воды в нагнетательном и всасывающем патрубках насоса, м/с;
ρ - плотность воды, кг/м3
.
Hм – манометрический напор насоса, представляющий собой сумму показаний манометра на напоре насоса, вакуумметра на всасе, и геометрического напора между точками установки этих приборов Δh.
Напор насоса также может быть выражен в виде давления воды на выходе из него:
Р=Нρg, (м. вод.ст.) (3)
Давление измеряется в кПа, мПа, атм или кгс/см2
, а напор — в метрах столба перекачиваемой жидкости. Например, метр водяного столба записывается как – м. вод. ст., а 10 м. вод. ст. = 1,0 атм. =1,0 кгс/см2
= 0,1 МПа. Объемная подача Q насоса измеряется в м3
/с, а массовая подача М - в кг/с, которая определяется как
M = ρQ, (4)
где ρ - плотность среды, кг/м 3
.
В свою очередь объемная подача практически одинакова по всей длине проточной части насосов и может быть рассчитана по средней скорости движения среды с помощью уравнения неразрывности потока:
Q = FC, (5)
где F - площадь поперечного сечения потока жидкости, м2
;
С - скорость движения среды, м/с.
Количество энергии, затрачиваемое в единицу времени на привод насоса, определяет ее полезную мощность:
Nп =ρg QH, (кВт) (6)
или
Nп =ρQH / 102, (кВт) (7)
где Q – производительность насоса, м 3
/с;
ρ – плотность среды, кг/м3
;
Н – полный напор насоса, м. вод.ст.
Потери энергии неизбежны в любом рабочем процессе и действительная мощность, затрачиваемая на привод насоса, больше теоретической величины:
N = Nп + ΔN, (8)
где ΔN - cумма всех энергетических потерь, возникающих из-за несовершенства насоса как лопастной машины.
Для оценки полноты использования энергии, подводимой к насосу от двигателя, применяют характеристику, называемую эффективным КПД агрегата:
η = Nп /N (9)
Таким образом, зная КПД, напор и подачу насоса можно расчетным путем найти потребляемую мощность насоса:
N= ρgQH/η = Nп / η, (кВт) (10)
Но весьма важным для лопастных машин является безразмерная величина, которая называется коэффициентом быстроходности.
Коэффициент быстроходности nsиспользуется для сопоставления геометрических параметров и технико-экономических показателей, подобных между собой насосов, имеющих различные значения напора, расхода и числа оборотов. Зачем это нужно? Коэффициент ns позволяет при проектировании и эксплуатации один насос заменять другим, что особенно важно в настоящее время. Физически под коэффициентом быстроходности понимается частота вращения виртуального модельного насоса, геометрически подобного во всех элементах натурному, с теми же гидравлическим и объемным коэффициентами полезного действия при условии, что модельный насос создает напор, равный 1 метру столба воды, при гидравлической мощности в 1 л.с., т.е. подача модельного насоса равна Q = 0,075 м3
/с на режиме максимального к.п.д., если считать, что плотность воды 1000 кг/м3
при нормальных физических условиях.
Известно, что коэффициент быстроходности является функцией трех аргументов – производительности Q, напора H и числа оборотов n ротора насоса, т.е. ns = f (Q, H, n), и оценивает оптимальный режим работы лопастной машины. С его помощью также удобно классифицировать тип насоса по виду рабочего органа, оценивать выбор числа ступеней сжатия, обобщать технико-экономические показатели различных типов насосов. Формула для расчета ns выведена путем натурного моделирования процессов в лопастных машинах, т.е. эмпирическим путем, и записывается в следующем виде для насосов, подающим воду с плотностью ρ=103
кг/м3
ns= 3,65 n√Q/ H3/4
, (11)
где n – число оборотов насоса, об/мин;
Q – подача (производительность) насоса, м3
/час;
H - напор насоса, м. вод. ст. (для многоступенчатых насосов с одинаковыми рабочими колесами напор, приходящийся на одно колесо).
Таким образом, коэффициент быстроходности позволяет объединять различные колеса насосов в группы по признаку их геометрического подобия и является чисто расчетным параметром, с помощью которого удобно классифицировать тип насоса по рабочим органам, оценивать выбор числа ступеней для многоступенчатого насоса, обобщать технико-экономические показатели различных насосов.
Обычно применяют следующую классификацию рабочих колес центробежных насосов по величине коэффициента быстроходности:
1). тихоходные, ns
= 50-100;
2). нормальные, ns
= 100-200;
3). быстроходные, ns
= 200-350
Приведем пример практического применения коэффициента быстроходности. Например, нам необходимо определить количество ступеней выбранного питательного насоса с расходом Q = 650 м3
/час, напором 2000 м. вод. ст. (200 атм), числом оборотов n = 2850 об/мин (привод от асинхронного электродвигателя).
Сначала определяем коэффициент быстроходности ns по формуле (11), который будет равен 663.
ns= 3,65 n√Q/ H3/4
.
Тогда ns= 3,65 х 2850 х √ 650 / 2000 3/4
= 663,16 ≈ 663.
Теперь определяем напор одной ступени насоса Н1 по формуле:
Н1 = (3,65n √Q / ns) 3/4
Н1 = (3,65n √Q / ns)¾
= (3,65 х 2850 х √650 / 663) ¾
= 400 м. вод. ст.
Разделив требуемый полный напор 2000 м. вод. ст. на напор одной ступени, получаем число ступеней выбранного питательного насоса - 2000 / 400 = 5 ступеней в насосе, которые удовлетворяют заданным гидравлическим требованиям.
Подбор насоса обычно осуществляется для заданных рабочих условий внешней сети по требуемой подаче, напору, температуре, а также по физико-химическим свойствам перекачиваемой жидкости (коррозионные свойства, вязкость и плотность жидкости). Подача и напор насоса должны соответствовать характеристике гидравлического сопротивления внешней сети, которая состоит из системы трубопроводов и арматуры. При этом насос должен обеспечить максимально возможную подачу для данной сети. Но учитывая возможные отклонения характеристик выбранного насоса при изготовлении его на заводе, напор его все-таки выбираем на 3-5% выше требуемого напора для преодоления гидравлического сопротивления сети. Немало важно и правильная установка насоса. Насосы иногда устанавливают так, что уровень расположения всасывающего патрубка находится выше горизонта жидкости в приемном резервуаре или в камере.
В таких случаях во входном патрубке насоса необходимо создать разрежение (вакуум), за счет которого жидкость будет всасываться в насос под действием давления столба атмосферного воздуха. Высота всасывания, развиваемая лопастным насосом, определяется как:
Hвс = (P0
- P1
) / ρg, (12)
где Р0
- атмосферное давление или давление в емкости, к которой подключен насос, атм; ρ – плотность жидкости, кг/ м3
; g – ускорение свободного падения, равное 9,81 м/с2
В каталогах насосов всегда указывается допустимая вакуумметрическая высота всасывания Нвс, т.е. высота, при которой обеспечивается работа данного насоса без изменения его основных технических показателей. Известно, что от величины допустимой высоты всасывания зависит надежность и устойчивость работы энергетических насосов. Поэтому кратко вспомним, что такое высота всасывания насосов и особенно явление кавитации. Жидкость по всасывающему трубопроводу к рабочему колесу насоса подводится под действием разности давлений в приемном резервуаре и абсолютного давления в потоке у входа в колесо. Последнее зависит от расположения насоса относительно уровня поверхности жидкости в резервуаре и режима работы насоса. На практике встречаются три основные схемы установки центробежных насосов:

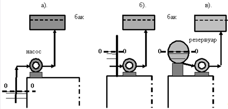
Рис. 1. Схемы установки центробежных насосов
1. ось насоса выше уровня воды (0-0) в приемном резервуаре (камере) – (рис. 1, а);
2. ось насоса ниже уровня воды (0-0) в приемном резервуаре (рис. 1, б), т.е. насос находится под гарантированным заливом воды;
3. ось насоса ниже уровня воды (0-0) в приемном резервуаре и находится она под избыточным давлением (рис. 1, в), поэтому насос находится под гарантированным заливом воды. Как следует из рис.1 самыми лучшими способами подключения насоса к источнику воды являются варианты б) и в), т.к. здесь имеется очень высокая гарантия того, что насос не сорвет в работе, т.е. на всасе всегда будет подпор воды, пока присутствует ее избыточный уровень на входе в насос, и самый неудобный способ – это вариант а). Здесь воду необходимо загнать в насос, а для этого необходимо создать во входе в насос разрежение и поставить обратный клапан на всасывающем трубопроводе, всегда выполнять заливку водой всасывающего трубопровода, при этом обратный клапан должен держать эту воду и не выпускать из насоса. При включении насоса в работу, он сам на всасе создать разрежение и вода будет поступать в насос под действием давления атмосферного воздуха. При отключении насоса обратный клапан должен не упустить воду из насоса и удержать ее в полости насоса, в противном случае, придется его опять заливать водой или ремонтировать обратный клапан. Как видно это неудобный способ подключения насоса, но он применяется, когда нужно откачивать воду из колодца, подземного резервуара или приямка. В любом случае все эти способы широко применяются как на электростанциях, так и на других промышленных предприятиях и в быту.
Из уравнения Бернулли для двух сечений (в нашем случае для уровня воды в приемном резервуаре 0 — 0 и сечения на входе в насос (рис. 1.)) следует:
Hг.в. + h п.в. = pа / ρg – pн / ρg- v2
в
/ 2g, (13)
где hп.в.
— потери во всасывающем трубопроводе, Па;
ра — атмосферное давление, Па;
рв — абсолютное давление на входе в насос, Па;
vв — скорость воды на входе в насос, м/с.
Левая часть уравнения (13) представляет собой вакуумметрическую высоту всасывания насоса и измеряется в метрах водяного столба перекачиваемой жидкости.
Также можно записать, что высота всасывания насоса Hв
Hв = H г.в. + h п.в. (14)
Из анализа формул (13, 14) следует, что, если вода в насос поступает с подпором (рис. 1, б), то
Hв = h п.в. -- H г.в. (15)
Отрицательное же значение Hв
указывает на работу насоса с подпором.
При работе насоса по схеме, показанной на рис. (1, в), выражение вакуумметрической высоты всасывания приобретает вид:
Hв = [P0
- (Pв
+ ρ vв
/ 2g )] / ρg , (16)
где P0
— абсолютное давление среды над свободной поверхностью жидкости, Па.
В зависимости от конструкции лопастного насоса геометрическую высоту всасывания отсчитывают по-разному.
Для горизонтальных насосов Hг.в.
— это разность отметок оси насоса и уровня жидкости в приемном резервуаре.
Для насосов с вертикальным валом Н г.в.
отсчитывается от середины входных кромок лопастей рабочего колеса (в многоступенчатых насосах колеса первой ступени) до свободной поверхности жидкости в приемном резервуаре.
Необходимо помнить, что нормальная работа центробежного насоса обеспечивается только в таком режиме, когда абсолютное давление во всех точках его внутренней полости больше давления насыщенных паров перекачиваемой жидкости при данной температуре.
Если такое условие не соблюдается, то начинаются явления парообразования и кавитации, которые приводят к уменьшению или даже прекращению подачи насоса (насос "срывает") и выходу его из строя.
Кавитация – с латинского языка (cavitas) означает – пустота. Так что же это за явление под таким красивым и звучным названием?
Кавитация – это есть процесс нарушения сплошности внутри потока жидкости, т.е. образование в капельной жидкости полостей, заполненных газом, паром или их смесью (кавитационные пузырьки или "каверны", т.е. пустоты). Обычно кавитационное течение характеризуют безразмерным параметром (числом кавитации):
, (17)
где
P — гидростатическое давление набегающего потока, Па;
Ps
— давление насыщенных паров жидкости при определенной температуре окружающей среды, Па;
ρ —плотность среды, кг/м³;
V — скорость потока на входе в систему, м/с.
Известно, что кавитация возникает при достижении потоком граничной скорости V = Vc
, когда давление в потоке становится равным давлению парообразования (насыщенных паров). Этой скорости соответствует граничное значение критерия кавитации.
В зависимости от величины Χ можно различать четыре вида потоков:
· докавитационный — сплошной (однофазный) поток при Χ>1;
· кавитационный — (двухфазный) поток при Χ~1;
· пленочный - с устойчивым отделением кавитационной полости от остального сплошного потока (пленочная кавитация) при Χ< 1;
· суперкавитационный — при Χ<<1.
Требуемый кавитационный запас ΔhTP
обычно вычисляют по характеристике, представляемой производителем насоса. Кривая ΔhTP
начинается с точки нулевой подачи и медленно растет с увеличением. Когда подача превышает точку максимального КПД насоса, кривая ΔhTP
резко возрастает по экспоненте. Зона справа от точки максимального КПД обычно является кавитационно опасной.
Кавитационный запас не поддается контролю с точки зрения механики и машинист насосной станции только слышит ее как металлический шум и щелчки, но это уже развитая кавитация.
К сожалению, еще мало приборов, позволяющих наблюдать и предотвращать кавитацию. Хотя датчик давления на всасывающей стороне насоса, подающий сигнал тревоги при падении давления ниже допустимого для данного насоса, должен применяться повсеместно.
По опыту эксплуатации насосов известно, что звуки потрескивания пропадают после прикрытия напорной задвижки. Но, снижая тем самым подачу и кавитацию, можно не достичь технологических параметров самого насоса.
Для того, чтобы правильно устранить кавитацию обязательно нужно использовать основной принцип – на входе в насос должно всегда быть жидкости больше, чем на выходе.
Приведу несколько простых способов как этого достичь:
1. замените диаметр всасывающего патрубка на большего размера. Необходимо помнить, что диаметр всаса насоса всегда должен быть больше диаметра напора;
2.переместите насос ближе к источнику воды или к питающему резервуару, но не ближе 5-10-ти диаметров всасывающей трубы;
3.понизьте сопротивление во всасывающей трубе, заменой ее материала на менее шероховатую;
4.замените всасывающую задвижку на шиберную, характеризующуюся меньшими местными потерями;
5.если всасывающая труба имеет повороты, то уменьшите их количество или замените отводы малых на большие радиусы поворота, сориентировав их в одной плоскости (иногда правильно заменить жесткую трубу гибкой);
6. увеличьте давление на всасывающей стороне насоса повышением уровня в питающем резервуаре либо снижением оси установки насоса, либо установите бустерный насос.
Общеизвестно, что кавитация возникает в результате местного уменьшения давления ниже критического значения и для реальной жидкости оно приблизительно равно давлению насыщенного пара этой жидкости при данной температуре. В результате этого наблюдается образование большого количества мельчайших пузырьков, наполненных парами жидкости и газами, выделившимися из нее. Образование пузырьков внешне похоже на кипение жидкости.
Возникшие в результате понижения давления пузырьки увеличиваются в размере и уносятся потоком.
При этом наблюдается местное повышение скорости движения жидкости вследствие стеснения поперечного сечения потока выделившимися пузырьками пара или газа.
Попадая в область с давлением выше критического, пузырьки разрушаются, при этом их разрушение происходит с большой скоростью и поэтому сопровождается местным гидравлическим ударом в данной микроскопической зоне. Так как конденсация занимает некоторую область и протекает непрерывно в течение длительного времени, это явление приводит к разрушениям значительных площадей поверхности рабочих колес или направляющих аппаратов насоса.
Практически появление кавитации при работе насоса можно обнаружить по характерному потрескиванию в области всасывания, нарастающему шуму и внезапному появлению повышенной вибрации насоса. Кавитация сопровождается также химическим разрушением (коррозией) материала насоса под действием кислорода и других газов, выделившихся из жидкости в области пониженного давления.
При одновременном действии коррозии и циклических механических воздействий прочность металлических деталей насоса быстро снижается. При этом воздействие кавитации на металлические детали насоса усиливается, если перекачиваемая жидкость содержит взвешенные абразивные вещества: песок, мелкие частицы шлака и т. п.
Под действием кавитации поверхности деталей становятся шероховатыми, губчатыми, что способствует быстрому их истиранию взвешенными веществами. В свою очередь эти вещества, истирая поверхности деталей насоса, способствуют усилению кавитации.
Кавитационному разрушению наиболее подвержены чугун и углеродистая сталь, и наименее - бронза и нержавеющая сталь.

Рис. 2. Разрушение рабочего колеса центробежного насоса под воздействием кавитации
В целях повышения устойчивости деталей насосов от разрушения применяют защитные покрытия. Для этого поверхности деталей наплавляют твердыми накладками из твердых сплавов (стеллиты), используют местную поверхностную закалку и другие способы защиты. Однако основной мерой борьбы с преждевременным износом проточной части насосов является предупреждение кавитационных режимов их работы.
В технической документации на насосы (каталогах, паспортах и пр.) обязательно должна указываться допустимая высота всасывания (или допустимый кавитационный запас) для нормальных физических условий, т. е. для атмосферного давления 0,1 МПа (что соответствует 760 мм рт. ст.) и температуры перекачиваемой жидкости 20°С.
Следовательно, основными техническими характеристиками, определяющими работу любого насоса, являются:
1. напор (Нн, м. вод. ст; атм.; кгс/см2
; Па, кПа, МПа);
2. подача (Q, л/сек; м3
/час; кг/с; т/час);
3. потребляемая мощность (N, кВт);
4. коэффициент полезного действия (η, %);
5. частота вращения (n, об/мин);
6. высота всасывания насоса (Н вс, м. вод. ст.).
Из указанных параметров насоса подача и частота вращения являются независимыми переменными, а остальные параметры находятся в функциональной зависимости от подачи и частоты его вращения. Взаимосвязь параметров в различных режимах насоса обычно изображается графически в виде характеристик.
Для их получения необходимо проведение испытаний насоса в различных условиях всасывания, при различных напорах, подачах и мощностях, изменяющихся от минимальных до максимальных значений. Только в результате этих испытаний может быть получено представление о работе насоса и его энергетических показателях.
Экспериментальные характеристики насоса являются необходимым техническим материалом для оценки качества насоса, для выбора режима его работы и для осуществления правильной и надежной эксплуатации. Эти опытные характеристики получают на испытаниях каждого насоса на заводе-изготовителе и прилагаются к технической документации при продаже насоса.
Мы здесь не будем рассматривать построение нормальных и других характеристик насосов, а также применение математического аппарата для расчета насосов, ибо это не входит в задачу нашего Пособия, поэтому мы адресуем любознательного читателя к Литературе, которая приведена в конце Пособия [11, 13, 14, 15, 19].
По характеру физического и рабочего процесса в насосе происходит преобразование механической энергии приводного двигателя в гидравлическую энергию перемещаемой жидкости.
Мы уже знаем, что существуют десятки различных типов насосов, но из них основными и часто используемыми на электростанциях являются объемные и лопастные. В объемных насосах передача энергии производится принудительным воздействием рабочего органа (плунжер, поршень, ротор) на транспортируемую среду и ее вытеснение (плунжерные, поршневые, роторные насосы). В лопастных же насосах преобразование механической энергии в гидравлическую производится насаженным на вращающийся вал ротора рабочим колесом, снабженного лопастями (центробежные, осевые, вихревые, диагональные насосы). На современных электростанциях, как в России, так и за рубежом, в основном применяются ЦБН – центробежные насосы и ОН - осевые насосы. Обратный клапан на всосе насоса:

Рис. 3. Схема насосного агрегата центробежного типа
1 – открытый источник воды;
2 – всасывающий трубопровод;
3 – открытый нагнетаемый резервуар;
4 – расходомерная вставка в напорном трубопроводе;
5 – насос центробежный;
6 – электродвигатель;
М – манометр на напоре насоса;
V – мановакууметр на всасе насоса;
Р – атмосферное давление.
На рис. 4 показан разрез и устройство обычного центробежного одноступенчатого насоса.

Рис. 4. Схема центробежного насоса
1 – расширяющийся корпус насоса ("улитка");
2 – вал насоса;
3 – рабочее колесо;
4 – лопатки рабочего колеса;
5 – подводящий (всасывающий) патрубок насоса;
6 – отводящий (напорный) патрубок насоса.
Внутри корпуса насоса 1, имеющего, как правило, спиральную форму в виде улитки, на валу 2 насажено рабочее колесо 3. Рабочее колесо состоит из заднего и переднего дисков, между которыми установлены лопасти 4, отогнутые от радиального направления в сторону, противоположную направлению вращения рабочего колеса.
С помощью патрубков 5 и 6 корпус насоса соединен со всасывающим и напорным трубопроводами. Если при наполненных жидкостью корпусе и всасывающем трубопроводе привести во вращение рабочее колесо, то жидкость, находящаяся в каналах рабочего колеса (между его лопастями), под действием центробежной силы будет отбрасываться от центра колеса к периферии. В результате этого в центральной части колеса создается разрежение, а на периферии — избыточное давление. Под действием этого давления жидкость из насоса поступает в напорный трубопровод, одновременно через всасывающий трубопровод под действием разрежения жидкость поступает в насос. Таким образом, осуществляется непрерывная подача жидкости центробежным насосом.
Центробежные насосы могут быть не только одноступенчатыми (с одним рабочим колесом), как показано на рис. 2, но и многоступенчатыми (с несколькими рабочими колесами). При этом принцип их действия во всех случаях остается одним и тем же — жидкость перемещается под действием центробежной силы, развиваемой вращающимся рабочим колесом.
За рубежом получили распространение так называемые диагональные насосы, конструкция которых совмещает в себе признаки центробежных и осевых насосов. В отличие от центробежных в диагональных насосах поток выходит из колеса под углом не в 90°, а в 45°.
У диагональных насосов поток жидкости, проходящий через рабочее колесо, направлен не радиально, как у центробежных насосов, и не параллельно оси, как у осевых, а наклонно, как бы по диагонали прямоугольника, составленного из радиального и осевого направлений.
Наклонное направление потока создает основную конструктивную особенность диагональных насосов — наклонное к оси насоса расположение лопастей рабочего колеса. Это обстоятельство позволяет использовать при создании напора совместное действие подъемной и центробежной сил и по своим рабочим параметрам диагональные насосы занимают промежуточное положение между центробежными и осевыми насосами.
Как ЦБН и осевые, диагональные насосы выпускаются как в горизонтальном, так и с вертикально расположенным валом.

Рис. 5. Разрез диагонального насоса с горизонтальным ротором

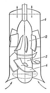
Рис. 6. Насос осевого типа
1 – корпус насоса; 2 – направляющий неподвижный аппарат насоса; 3 – вращающийся ротор насоса; 4 – вращающиеся вокруг собственной оси рабочие лопасти ротора насоса.

Рис. 7. Струйный насос
1 – конфузор на подаче побудительной среды (вода, газ);
2 - патрубок отсасываемой жидкости (газа);
3 – рабочая камера смешивания подаваемой и отсасываемой среды (вакуумная камера);
4 – диффузорная часть нагнетательно-напорной части насоса.

Рис. 8. Насос зубчатый
1 – корпус насоса;
2 – всасывающая часть насоса;
3 – предохранительно-перепускной клапан;
4 – напорная часть насоса.

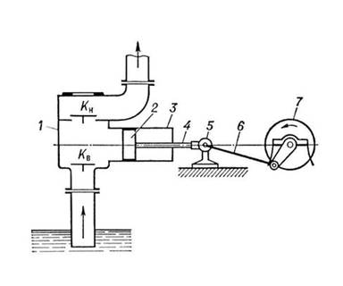
Рис. 9. Насос поршневой (плунжерный)
1 – корпус насоса;
2 – поршень (плунжер);
3 – цилиндр;
4 – шток поршня;
5 – кривошип;
6 – шатун;
7 – привод;
Кв – клапан на всасе в насос;
Кн – клапан нагнетательный со стороны напора насоса
На ТЭС в качестве питательных насосов применяются гидравлические насосы центробежного действия, имеющие весьма высокий коэффициент повышения напора, особенно многоступенчатого исполнения. Механическая энергия подводится в виде вращающегося момента и передается жидкости через лопатки вращающегося рабочего колеса. Действие лопаток на жидкость, заполняющую рабочее колесо, вызывает повышение гидродинамического давления и заставляет жидкость перемещаться в направлении от центра рабочего колеса к периферии, выбрасывая её в спиральный кожух. В дальнейшем движении жидкость поступает в напорный трубопровод. Отсюда следует, что основным рабочим органом центробежного насоса является свободно вращающееся внутри корпуса лопастное колесо. На рис. 10, 11 приведены фотографии рабочего колеса центробежного насоса. В свою очередь, рабочее колесо состоит из двух вертикальных дисков (переднего и заднего по потоку жидкости), как показано на рис. 10, отстоящих на некотором расстоянии друг от друга. Между дисками, соединяя их в единую конструкцию, находятся лопасти, плавно изогнутые в сторону, противоположную направлению вращения колеса (рис.9), т.е. по потоку жидкости. Внутренние поверхности дисков и поверхности лопастей образуют межлопастные каналы колеса, которые при работе насоса заполнены перекачиваемой жидкостью.

Рис.10. Рабочее колесо центробежного насоса в разрезе

Рис. 11. Рабочее колесо центробежного насоса в сборе
Из курса теоретической механики известно, что при вращении колеса с угловой скоростью ω (1/сек) на элементарную массу жидкости m (кг), находящейся в межлопастном канале на расстоянии R (м) от оси вала, будет действовать центробежная сила Fц.б.
, определяемая выражением:
Fц.б
= m ω2
R(18)
В инженерных расчетах также применяется формула (19) эквивалентная формуле (18):
Fц.б
= mV2
/ R , (19)
где V (м/с) – линейная скорость движения элементарной массы вещества на радиусе R от центра вращения.
Мы уже говорили, что для обеспечения непрерывного движения жидкости через насос необходимо обеспечить постоянный ее подвод в насос и отвод из насоса. Поэтому жидкость поступает через отверстие в переднем диске рабочего колеса по всасывающему патрубку из всасывающего трубопровода.
Например, движение воды по всасывающему трубопроводу в питательный насос происходит вследствие избыточного давления в корпусе деаэратора и столба питательной воды, равной разности отметок установки аккумуляторного бака деаэратора и отметки установки питательного насоса в машинном зале главного корпуса электростанции.
Обычная отметка установки аккумуляторного бака блочного деаэратора составляет 20÷24 метра в помещении деаэраторной этажерки электростанции в зависимости от мощности энергоблока, а установка питательного насоса выполняется на отметке 0,0 ÷ 5.0 метров в машзале главного корпуса электростанции. Отсюда следует, что разность отметок установки аккумуляторного бака деаэратора и питательного насоса может составлять 15,0 – 19,0 (24 - 5=19) метров и если учесть температуру и удельный объем питательной воды в аккумуляторном баке, а также гидравлическое сопротивление опускного трубопровода питательной воды до всаса питательного насоса, то получится, что подпор на всасе питательного насоса составит 13÷17 м. вод. ст. или 1,3 -1,7 атм. Это дает возможность частично отстроиться от опасного явления кавитации, имея гарантированный запас по давлению питательной воды на всасе питательного насоса. На рис. 12 представлена гидростатическая схема питательного насоса в качестве иллюстрации вышесказанного.

Рис. 12. Гидростатическая схема питательного насоса
А – отметка установки аккумуляторного бака деаэратора;
Б – отметка установки питательного насоса;
H1– высота уровня питательной волы в аккумуляторном баке деаэратора;
H2 – разность отметок установки аккумуляторного бака деаэратора и питательного насоса.
Анализ уравнений (18,19) показывает, что центробежная сила, следовательно, и напор, развиваемый насосом, тем больше, чем больше частота вращения рабочего колеса.
Но увеличение скорости вращения ротора насоса ограничено частотой вращения электродвигателя, т.к. в качестве привода центробежного насоса в основном применяется любой высокооборотный электродвигатель, но чаще всего для этой цели служат электродвигатели асинхронного типа, скорость которых несколько ниже синхронной скорости.
Применение же других электродвигателей, а также электротехнических устройств по регулированию числа оборотов электродвигателя хотя и позволяют изменять скорость вращения ротора насоса, но они не получили широкого распространения на электростанциях в качестве привода питательных насосов из-за своей сложности и не надежности.
В связи с этим в последнее время на российских и зарубежных электростанциях получил широкое применение электропривод питательных насосов с гидромуфтой, которая приведена в Приложении, рис. П-1,2.
В зависимости от требуемых параметров, назначения и условий работы в настоящее время разработано большое число разнообразных конструкций центробежных насосов, которые можно классифицировать по нескольким признакам. Например, по числу рабочих колес различают одноступенчатые и многоступенчатые насосы. В многоступенчатых насосах перекачиваемая жидкость проходит последовательно через целый ряд рабочих колес, насаженных на общий вал.
Создаваемый таким насосом напор равен сумме напоров, развиваемых каждым колесом.
В зависимости от числа колес (ступеней) насосы могут быть двухступенчатыми, трехступенчатыми и т. д. По сути, на одном валу находятся сразу несколько одноступенчатых насосов в виде рабочих колес, которые последовательно повышают напор всего насоса, являющегося его основной напорно-расходной характеристикой.
По способу подвода воды к рабочему колесу различают насосы с односторонним подводом и насосы с двусторонним подводом или, так называемые, центробежные насосы двустороннего входа воды.
По способу отвода жидкости из рабочего колеса различают насосы со спиральным и турбинным отводом.
В насосах со спиральным отводом перекачиваемая жидкость из рабочего колеса поступает непосредственно в спиральную камеру и затем либо отводится в напорный трубопровод, либо по переточным каналам поступает к следующим рабочим колесам.
В насосах с турбинным отводом жидкость, прежде чем попасть в спиральную камеру, проходит через систему неподвижных лопаток, образующих особое устройство, называемое направляющим аппаратом, установленное в статоре насоса.
По компоновке насосного агрегата (расположению вала относительно опор) различают насосы горизонтального и вертикального исполнения.
По способу соединения с двигателем центробежные насосы разделяются на приводные (со шкивом или редуктором), соединяемые непосредственно с двигателями с помощью муфты, и моноблочные, рабочее колесо которых устанавливается на удлиненном конце вала электродвигателя - консольные насосы.
Например, насосы консольного типа обозначаются как К-120-15, т.е. насос консольный, производительностью 120 м3
/ час и напором 15 атм.
Напор одноступенчатых центробежных насосов, серийно выпускаемых российской промышленностью, достигает 120 м. вод. ст. (1,2 МПа; 12 атм).
В свою очередь серийные многоступенчатые насосы развивают напор до 2500 м. вод. ст. (25 МПа; 250 атм) и более.
Параметры же центробежных насосов специального изготовления, как одноступенчатых, так и многоступенчатых, могут быть значительно выше.
Что касается КПД, то в зависимости от конструктивного исполнения он меняется в широких пределах — от 0,85 до 0,90 у крупных одноступенчатых насосов и 0,55—0,60 у высоконапорных многоступенчатых.
Столь низкий к.п.д. многоступенчатых высоконапорных насосов связан с гидравлическими потерями в проточной части насоса и особенно с высоким трением разгрузочного стального диска гидравлической пяты в системе осевой разгрузки насоса.
В свою очередь трение этого монолитного чугунного диска толщиной 30-40 мм и диаметром около 300 мм при скорости вращения почти 50 об/сек в замкнутом водяном объеме (в камере гидропяты) приводит к заметному нагреву воды в насосе, температура которой учитывается в тепловом цикле Ренкина.
Также известно, что потребляемая мощность насоса при нулевой подаче, т.е. при закрытой выходной задвижке (это холостой ход насоса), не падает до нуля и составляет около 30-40% от номинальной мощности электродвигателя. Вот эта мощность также превращается в энергию теплоты, которая способна повысить температуру питательной воды до эффекта "запаривания" насоса, при котором механическому воздействию подвергаются рабочие колеса, разгрузочное устройство, опорные подшипники, уплотнения вала насоса и в итоге может привести к аварийному выходу насоса из работы. Повышение температуры питательной воды ∆t в без расходном режиме определяется по формуле:
∆t = 632N (1-h) / 1000Q(о
С), (20)
где:
N – мощность электродвигателя, кВт;
h - к.п.д. насоса;
Q – подача насоса, кг/с.
Из уравнения (20) следует, что с понижением подачи насоса Q повышается температура питательной воды.
Иногда этим способом повышения температуры питательной воды пользуются машинисты при пуске энергоблоков, что, конечно, является не экономично и не рационально с точки зрения надежности насосного агрегата. Из [15], стр. 68, следует, что максимально допустимое повышение температуры воды достигает 11 о
С и основывается на том предположении, что лишь теплота, обусловленная гидравлическими потерями внутри насоса, способствует повышению температуры питательной воды в насосе на эту величину. Вообще-то предел повышения температуры воды в насосе чаще всего произвольный. Например, для насосов, не имеющих разгрузочных устройств (линия рециркуляции), иногда для поддержания минимального расхода через приоткрытую напорную задвижку, допускается повышение температуры до 30 о
С во избежание его "запаривания".
Но в любом случае, работа центробежного насоса, особенно многоступенчатого, в безрасходном режиме не допустима более трех минут.
На современных крупных электростанциях мощность электродвигателей привода питательных насосов достигает нескольких тысяч киловатт. Отсюда можно представить насколько быстро и высоко может подняться температура питательной воды при нулевом расходе, когда эти тысячи киловатт электрической энергии будут преобразованы в тепловую энергию.
Но как бы там не было, центробежные насосы отличаются от других насосов уникальным свойством саморегулирования и возможностью принудительного регулирования в широком диапазоне их производительности и напора. Под саморегулированием понимается самостоятельное изменение режима работы с изменением сопротивления сети, что особенно важно для питательных насосов с электроприводом и маневренности энергоблоков. Это свойство ЦБН широко применяется при эксплуатации насосов, особенно при включении их в параллельную работу на общую гидравлическую сеть, как при плановом включении, так и при аварийном автоматическом включении резерва (АВР). В следующем разделе мы рассмотрим варианты включения питательной насосной установки в схему электростанции.
Глава 2. Питательные установки тепловых электростанций
2.1 Включение питательного насоса в тепловую схему электростанции
Нам известно, что питательный насос нагнетает питательную воду из деаэратора, повышая её давление до Р п.н..
=(1,25-1,3) Р0
, где Р0
– давление острого пара перед турбиной, с учётом сопротивления питательного тракта и поверхностей нагрева парового котла. На современных электростанциях применяются несколько схем включения питательных насосов, но мы рассмотрим только две из них, наиболее применяемые.
1. Одноподъёмная схема, в которой питательный насос подаёт воду с конечным расчетным давлением через ПВД к питательному узлу парового котла:

Рис. 13. Принципиальная одноподъёмная схема включения питательного насоса
Данная схема применяется на энергоблоках мощностью до 200 МВт.
Достоинства этой схемы:
1. относительная простота регулировки расхода питательной воды питательным насосом.
Особенность: подогреватели высокого давления (ПВД) работают под очень высоким давлением, создаваемого питательным насосом. Из-за высокого перепада давлений на ПВД к ним предъявляются высокие требования к надёжности работы и повышенные капитальные затраты на ее обеспечение, связанные с увеличением толщины стенки корпуса теплообменника.
2. Двухподъёмная схема, при которой питательные насосы первого подъёма прокачивают воду через ПВД к питательным насосам второго подъёма, подающим воду в паровой котёл:

Рис. 14. Принципиальная двухподъёмная схема включения питательного насоса
Данная схема может применяться на энергоблоках мощностью 300 МВт и выше.
Достоинства этой схемы:
1. выполнение ПВД на меньшее давление, определяемое тем, что давление воды на входе в насосы второго подъёма должно для предотвращения кавитации несколько превышать давление насыщения при температуре воды перед насосами, поэтому требования к надёжности ПВД несколько меньше, чем в одноподъёмных схемах.
Недостатки:
1. пониженная надёжность питательных насосов второго подъёма, перекачивающих воду с высокой конечной её температурой;
2. усложнение и удорожание питательной установки;
3.повышенный расход электроэнергии на перекачку воды с более высокой температурой;
4. необходимость синхронизации насосов I и II подъёма и сложность их регулирования, т.к. питательный насос второго подъёма работает на горячей воде, которая при понижении давления мгновенно вскипит.
Существует два варианта приводов питательных насосов:
1) электрический;
2) турбинный.
Электрический привод питательных насосов
Достоинства:
1)простота конструкции (синхронный или асинхронный электродвигатель);
2) высокая надёжность.
Недостатки:
1) ограничена единичная мощность двигателя до 9000 кВт;
2) ограниченные возможности по регулировке расхода питательной воды.
Турбинный привод питательных насосов
Достоинства:
1) возможность регулирования частоты вращения, а также подачи воды в широком диапазоне;
2) компактность;
3) независимость от электрического питания.
Выбор электродвигателя ПН осуществляется на основе теплового и экономического сравнения вариантов.
В связи с этим мощность питательного насоса определяется по формуле:
, (21)
где:
Q п.в..
– расход питательной воды, кг/с;
- перепад давления воды в питательном насосе, кг/см2
;
-средняя температура питательной воды на выходе из ПН, о
С;
- КПД насоса;
- КПД гидромуфты (если она есть).
Условием тепловой экономичности турбинного или электрического привода служит следующее соотношение:
(22)
Коэффициенты полезного действия преобразования и передачи энергии при турбоприводе и электроприводе соответственно равны:
(23)
, (24)
где  - внутренние относительные КПД главной и приводной турбин;
и - механические КПД главной и приводной турбин;
- коэффициент дросселирования при транспорте пара в тракте приводной турбины;
- КПД генератора;
- КПД электрического трансформатора и электрической сети собственных нужд;
- КПД приводного электродвигателя;
- КПД гидромуфты.
На ТЭЦ обычно применяется электропривод, а на конденсационных электростанциях (КЭС) тип привода зависит от мощности энергоблоков.
Например:
1) для энергоблоков мощностью 200 МВт и менее применяются электроприводы;
2) для энергоблоков мощностью 300 МВт:
· при Nэ<30 % - электроприводы;
· при 30 %<Nэ<100% - турбоприводы
В заключение хочу сказать, что питательный насос в схеме тепловой электрической станции, будь то классическая на природном топливе или атомная электростанция на ядерном топливе, является объектом повышенного наблюдения и контроля и не менее важным, нежели паровая турбина или паровой котел (ядерный реактор) и правильность его эксплуатации также сказывается на безаварийности работы энергоблока и его надежности.
В следующем разделе Пособия рассмотрим пуск в работу питательного электронасоса из ремонта, где будет рассмотрен поэтапный ввод в работу, как самого насоса, так и всех его вспомогательных систем: насосов маслосистемы и маслоохладителей.
2.2 Пуск в работу после ремонта маслосистемы питательного электронасоса
Рассмотрим технологическую схему обвязки маслосистемы питательного электронасоса (рис. 15), которая может быть как автономной, так и общей для нескольких ПЭН (питательный электрический насос).

Рис.15. Принципиальная технологическая схема масляной системы ПЭН
1, 2 – маслонасосы системы смазки;
3, 4 – маслоохладители, кожухотрубные;
ММ-1, 2 – манометры, типа ОБМ;
Р-1, 2 – вентили на линии рециркуляции маслонасоса;
ЭКМ-1, 2 – электроконтактные манометры;
МФ-1, 2 – маслофильтры, два на один маслоохладитель.
Система маслоснабжения ПЭН является автономной системой со своими маслобаком, группой электронасосов (обычно два электронасоса, из которых один работает, второй находится на АВР или в ремонте), маслоохладителями, масляными фильтрами, арматурой, фланцами и трубопроводами, а также автоматической защитой и технологическими блокировками, и при выходе из строя одного работающего ПЭН по аварийному сигналу включается резервный ПЭН, стоящий на АВР, у которого система маслоснабжения исправна, маслобак с номинальным уровнем масла и система с маслонасосами готова к включению в работу, через маслоохладитель настроена протока охлаждающей воды, которую после включения ПЭН и маслонасоса в работу, машинист ПЭН отрегулирует по мере повышения температуры масла, не допуская ее превышения номинального значения.
При невозможности регулирования температуры масла, срочно подключить резервный маслоохладитель по охлаждающей воде, а дефектный вывести из работы, для чего закрыть выходную арматуру по маслу тем самым, поставив маслоохладитель под опрессовку давлением маслонасоса, и промыть его обратным ходом охлаждающей воды и сообщить старшему машинисту турбинного цеха (СМТЦ).
Маслосистема ПЭН на всех тепловых и атомных электростанциях во многом унифицирована, что упрощает ее эксплуатацию и ремонтоспособность, что особенно важно для работающего персонала.
Маслосистема ПЭН работает следующим образом.
Отработанное горячее масло с температурой не выше 55 О
С из подшипников питательного насоса и его электродвигателя (по два подшипника скольжения у насоса и электродвигателя) самотеком возвращается по общему сливному маслопроводу насосного агрегата (линия "а") в маслобак ПЭН, где происходит его отстой и деэмульсация, время которой должно быть не более 3-5-ти минут, в противном случае масло необходимо отправить на очистку и заменить его на свежее масло из общестанционного маслопровода, поступающего из центрального маслохозяйства электростанции в машинный зал. Для смазки подшипников насосного агрегата применяется турбинное масло, что и для паровых турбин, в основном марки Т-22 или Тп-22, качество которого должно удовлетворять требованиям ГОСТ- 32-53-2000.
Для справки: (Т-22 – это масло Турбинное (Т), с кинематической вязкостью ν = 22 сантистокса; Тп-22 - это масло Турбинное (Т), с кинематической вязкостью ν = 22 сантистокса с присадкой (п) синтетического состава при температуре 20 0
С. Обе марки масел являются дистиллятными нефтяного крекинга. Число после марки масла – 22, 32 или других марок указывает, что кинематическая вязкость масла в 22, 32 раза выше кинематической вязкости дистиллированной воды. Время деэмульсации показывает на количество воды, присутствующей в масле и чем больше это время, тем более обводненное масло, тем меньше его кинематическая вязкость. Вода агрессивно воздействует на баббитовую заливку вкладыша (в сплаве баббита до 80% олова) подшипников насоса и электродвигателя ПЭН, что ведет к коррозионному износу вкладыша и уменьшению срока его эксплуатации).
После отстоя в маслобаке масло поступает на всас электромаслонасосов (1, 2). Обычно маслонасосы устанавливаются малорасходными (до 3-5-ти м3
/ч), но с высоким напором – до 30,0 атм (3,0 МПа). Отсюда следует, что маслонасосы ПЭН могут быть винтового, шестеренчатого, плунжерного или другого типа, которые при неправильном пуске (особенно в безрасходном режиме) могут привести к повреждению, как напорного маслопровода (разрыв фланцевого соединения трубопроводов), так и самого насоса (выдавливание уплотнений насоса, повреждение напорной и всасывающей арматуры). Затем масло под давлением насоса (один насос в работе, второй – на АВР или в ремонте) через один из маслофильтров (МФ-1, 2), который подключен в работу, второй – в резерве (ремонте), поступает в один из маслоохладителей, другой маслоохладитель находится в резерве или ремонте. Здесь масло охлаждается технической водой до 40 0
С и с избыточным давлением 0,7-1,2 атм направляется в общий подающий маслопровод, а из него раздаётся в подшипники насоса и электродвигателя, при этом недопустимо повышение давления масла перед подшипниками более 1,2 атм. При повышении давления масла в напорном трубопроводе до 1,3-1,5 атм установлен механический предохранительный клапан, который избыточное давление в конце масляной линии сбрасывает в маслобак. Для регулирования количества масла перед подшипниками в маслопроводах устанавливаются дроссельные шайбы, диаметр которых определяется опытным путем при пробных пусках насоса после ремонта и заносится в ремонтно-технический циркуляр насоса.
На питательных насосах АЭС в корпусе стула подшипников насоса и электродвигателя выполнен специальный объем для масла с кольцевой смазкой, который рассчитан на аварийный выбег насосного агрегата и для исключения подплавления баббитовой заливки вкладышей подшипников при отключении маслонасосов при потере собственных нужд энергоблока.
Также на многих ПЭН широко применяются предвключенные винты в виде многозаходного шнека, которые выполняют роль бустера (англ. – booster, от boost – поднимать, повышать давление) и установлены они на валу насоса перед входом воды в первую ступень проточной части насоса. Это дает возможность частично отстроиться от кавитации.
Для предотвращения попадания механических примесей, которые могут появиться из потоков, поступающих в корпус деаэратора, перед входной задвижкой ПЭН внутри трубопровода, устанавливают защитную коническую сетку, на которой измеряется перепад давлений питательной воды "до" и "после" сетки. Появление перепада давления более 2,0 атм., сетку промывают без останова или разгрузки насоса на рециркуляцию.
Защитные сетки монтируются в специальной вставке – "катушке", которая на фланцах крепится во всасывающем трубопроводе и легко может быть демонтирована при необходимости.
Теперь приступим к пуску питательного насосного электроагрегата, но в начале операций по пуску ПЭН включим в работу его маслосистему, без которой не может работать ни сам насос, ни его привод.
При работающем ПЭН маслосистема в полном объеме в ремонт не выводится, ее выводят в ремонт только одновременно с ремонтом всего насосного агрегата, да это и понятно: без системы смазки насос и его электропривод, имеющие подшипники скольжения с принудительной смазкой, не смогут работать.
Все подготовительные и пусковые работы на ПЭН выполняет оперативный персонал турбинного цеха во главе со старшим машинистом турбинного цеха (энергоблока) (СМТЦ) по прямому распоряжению начальника смены турбинного цеха (НСТЦ) для чего:
Наряд-допуски на производство ремонтных работ на маслосистеме ПЭН – закрыты, а не прикрыты. Обычно открывается один Общий наряд-допуск на производство ремонтных работ на всем насосном агрегате: сам питательный насос и его маслосистема, ремонтные же работы на электродвигателе выполняет персонал электроцеха электростанции, согласно Разделительной ведомости между турбинным и электрическим цехами. При необходимости выполнения какой-либо работы в пределах насосного агрегата, на который в целом выписан Общий наряд, ответственным руководителем ремонтных работ по Общему наряду выписывается Промежуточный наряд на ремонтные работы на узле, участке агрегата;
В Журнале окончания работ (находится на рабочем месте НСТЦ) начальники электроцеха, цеха тепловой автоматики и измерений (ЦТАИ), турбинного цеха (он делает последним запись в этом журнале) выполняют разрешающие записи о том, что все ремонтные работы на питательном насосном агрегате закончены, ремонтный персонал цеха выведен, насос готов к пуску в работу. Это является основным юридическим документом, дающим право НСТЦ приступить к пусковым операциям на ПЭНе.
НСТЦ дает устную команду СМТЦ о начале пусковых работ на ПЭНе, который, в свою очередь, дает распоряжение машинисту ПЭН (МПЭН).
Машинист питательных насосов выполняет следующую работу:
проверяет, что ремонтный персонал из зоны ремонта насосного агрегата полностью выведен;
снимает и относит на рабочее место НСТЦ предупреждающие и запрещающие плакаты, цепи с арматуры и замки;
проверяет, что КИПиА целы, не просрочены Госповеркой, опечатаны, подключены по импульсным линиям к датчикам (коренные вентили на импульсных линиях открыты), запорно-регулирующая и защитная арматура в целости, фланцы трубопроводов соединены шпильками, которые от усилия руки не проворачиваются, полумуфты насосов и электродвигателей сцеплены и закрыты защитным кожухом, лючки маслобака ПЭН закрыты, масла в баке нет по уровнемерному стеклу (проверяет открытием нижнего вентиля уровнемерного стекла);
докладывает СМТЦ о том, что осмотр насосного агрегата выполнен. Если есть замечания, которые могут привести к аварийной ситуации на насосе, то они записываются в Журнал дефектов, который находится на рабочем месте НСТЦ, и пусковые работы прекращаются до устранения этих дефектов ремонтным персоналом цехов. Степень готовности насоса к пуску определяет НСТЦ, который несет ответственность за пуск насоса;
приступает после устранения дефектов к включению в работу системы маслоснабжения ПЭН, маслобак принят химцехом на чистоту, о чем выполнена запись в Оперативном журнале НСТЦ;
заказывает через СМТЦ подачу свежего масла в маслобак ПЭН, открыв ручной вентиль М-0 (рис. 15);
определяет по характерному шуму в маслобаке и по шуму в дыхательном клапане на маслобаке, что масло пошло в маслобак, воздух вытесняется через дыхательный клапан (дыхательный клапан – это устройство предохранительного назначения и предназначено для герметизации газового объема резервуара с нефтепродуктами и поддержания давления в этом объеме в заданных пределах, а также для защиты от проникновения пламени в резервуар); подключает в работу маслоуравнительное стекло, продувает его в атмосферу, открыв вентили верхнего и нижнего конца трубки, через нижний конец трубки должно выливаться масло в предварительно подставленную емкость (обычно металлическое ведро), после чего закрывает вентиль и визуально проверяет масло на его чистоту и прозрачность (для исключения травматизма, запрещается применять стеклянную посуду, применять только прозрачную пластиковую);
открывает ручные вентили Н-1,2, закрыв вентиль М-О, при достижении номинального уровня масла в маслобаке (обычно на стеклянной уровнемерной трубке красной краской наносят черту, соответствующую номинальному уровню масла в маслобаке), начинает заполнение маслонасосов маслом, предварительно открыв воздушники и дренажи из их корпусов, не допуская попадания масла из воздушников на фундамент и соседнее оборудование. При разливе масла на полу или других местах, масло убирается немедленно с помощью сухого песка и чистой ветоши. Промасленные песок и ветошь убираются в специальные металлические контейнеры и удаляются из цеха;
закрывает вентиль при появлении сплошной струи масла из воздушника, и дренаж, маслонасосы считаются заполненными маслом и обезвоздушенными;
открывает напорные вентили маслонасосов (Н-1,2), по манометрам (ММ-1,2) и ЭКМ-1 проверяет, что они показывают величину статического столба масла в маслобаке (0,08-0,10 атм), т.е уровень масла в баке составляет около одного метра от его дна. Вообще шкала любого манометра должна быть выбрана таким образом, чтобы при работе насоса значение его напора находилось во второй трети всей шкалы;
подает в летнее время года техническую воду на маслоохладители, открыв ручные вентили (ТВ-1,3), а также воздушники из трубной системы маслоохладителей, заполняет маслоохладители водою, (контроль – из воздушника идет непрерывная струя воды, воздушники закрыть), опрессовать маслоохладители по воде под давлением техводы (контроль – при открытии вентиля опорожнения масляного пространства маслоохладителя - воды нет). В зимнее время года – техводу в маслоохладители не подавать, а при начале роста температуры масла и баббитовых вкладышей подшипников, постепенно подать техводу, не допуская резкого снижения температуры масла;
приоткрывает на 1/3 выходные вентили техводы (ТВ-2, 4) из маслоохладителей, ставит маслоохладители под протоку техводы;
заказывает сборку электросхем на маслонасосы;
проверяет совместно с персоналом ЦТАИ защиты и блокировки на маслонасосах (стандартный перечень и назначение технологических защит и блокировок питательного насоса см. Приложение 3);
приоткрывает на 1/2 вентили рециркуляции масла (Р-1, 2), и всасывающие вентили (Н-1, 3) насосов, напорные вентили (Н-2, 4) закрыть;
включает электродвигатель одного из маслонасосов, постепенно открывая всасывающий вентиль маслонасоса и его
рециркуляции, на местном щите управления маслонасосов (МЩУ МН), контролирует загрузку электродвигателя насоса по амперметру;
отключает первый пущенный насос, опробывает в работе второй маслонасос, зная, что работа маслонасосов на рециркуляцию более 30-ти минут недопустима;
осматривает во время работы маслонасосы на предмет дефектов;
запрашивает у СМТЦ какой маслонасос, согласно цеховому графику, должен остаться в работе и при готовности маслосистемы самого ПЭНа, подать масло от работающего маслонасоса в подающий коллектор маслопровода ПЭНа через один из маслоохладителей, при этом, постепенно закрывая вентиль рециркуляции, на манометре М-3 проконтролировать, что давление масла в конце напорного маслопровода ПЭН соответствует номинальному значению, согласно Инструкции по эксплуатации ПЭН;
переключает на МЩУ МН ключ работающего маслонасоса "Режим работы МН" в положение "Работа", а резервного - в положение "Резерв", в противном случае по факту отключения работающего насоса резервный маслонасос не включится и питательный насос аварийно будет отключен, что приведет к нарушению работы энергоблока;
записывает в Оперативный журнал (суточную ведомость) МПЭН об опробовании маслонасосов ПЭН и состоянии его маслохозяйства, сообщает об этом СМТЦ и ждет дальнейших его распоряжений, не прекращая контролировать работу маслосистемы ПЭН.
Глава 3. Моделирование ситуации с аварийным отключением работающего маслонасоса
3.1 Исходное состояние оборудования
В работе питательный электронасос с одним из двух маслонасосов, (второй маслонасос стоит на АВР), один из двух маслоохладителей (второй в резерве или ремонте). Отклонений от номинальных параметров нет. Защиты, сигнализация, блокировки и автоматика насосного агрегата ПЭН введены в работу в полном объёме, о чем выполнена запись в Оперативном журнале (Суточной ведомости) МПЭН.
3.2 Возможные причины аварийного отключения работающего маслонасоса
Отключение электродвигателя работающего маслонасоса из-за неисправностей, например, от внутренних повреждений, короткого замыкания в клеммной коробке (попадание воды, обрыв шины заземления корпуса электродвигателя), ошибочного отключения персоналом, неисправности цепи управления, перегрузом по току и др.
Дефекты самого насоса, связанные, например, с заклиниванием насоса или его подшипников, поломкой рабочего колеса, расцеплением соединительной муфты насоса с электродвигателем, срабатыванием технологических защит и др.
3.3 Сценарий протекания аварийного процесса
При отключении одного работающего маслонасоса, например №1, снижается давление масла в конце линии напорного маслопровода ПЭН.
В связи с этим значение давления масла в ЭКМ-1, установленного в конце этой линии, достигает аварийной уставки срабатывания АВР. Тогда от блок-контактов ЭКМ-1 подается электрический сигнал в цепи включения электродвигателя резервного маслонасоса №2, стоящего на АВР, насосный агрегат включается в работу без выдержки времени, заменяя отключившийся маслонасос. Весь процесс прохождения АВР и запуска резервного маслонасоса в работу протекает не более 3,0-4,0 секунд. Так - что, резкого снижения давления масла в конце масляной напорной линии ПЭН за счет большого ее объема не происходит и срыва масляного клина в подшипниках скольжения насоса и электродвигателя не будет.
При достижении номинального давления масла в конце масляной линии ПЭН и установления этого значения в ЭКМ-2, блок-контакты на ЭКМ-1 и ЭКМ-2 взводятся в номинальное рабочее положение и опять готовы подать электрический сигнал на включение резервного насоса при понижении давления масла в напорной линии маслопровода ПЭН.
3.4 Действия оперативного персонала, при отключении работающего и включение по АВР резервного маслонасосов
Машинист ПЭН узнает об отключении маслонасоса по световой и звуковой сигнализации (ревун) и выпадению светового табло на световой панели местного щита управления ПЭНами (МЩУ ПЭН).
Предупредительные сигналы не снимутся до тех пор, пока машинист не сквитирует их кнопкой квитирования сигналов на МЩУ ПЭН, это доказывает, что аварийный сигнал машинистом принят.
После прохождения АВР и включения резервного маслонасоса машинист ПЭН осматривает включившийся маслонасос и аварийно отключившийся, проверяет значение номинального давления масла по ЭКМ-2 в конце масляной линии маслосистемы работающего ПЭНа.
При отсутствии или наличии замечаний МПЭН сообщает о происшествии СМТЦ и НСТЦ и записывает об этом в Оперативном журнале (Суточной ведомости) ПЭН.
При наличии явных дефектов на отключившемся маслонасосе СМТЦ и НСТЦ лично осматривают дефектный маслонасос, НСТЦ делает запись в Журнале дефектов и в своем Оперативном журнале, сообщает об этом начальнику турбинного цеха или его заместителю по эксплуатации.
3.5 Действия оперативного персонала, при отключении работающего и не включение резервного маслонасоса
Машинист ПЭН узнает об отключении работающего маслонасоса по световой и звуковой сигнализации (ревун) и выпадению табло на световой панели на МЩУ ПЭН.
Предупредительные сигналы не снимутся до тех пор, пока машинист не сквитирует их кнопкой квитирования сигналов на МЩУ ПЭН, это доказывает, что аварийный сигнал машинистом принят.
После отключения работающего насоса и не прохождение сигнала АВР на резервный маслонасос (маслонасос не включился) МПЭН немедленно должен на МЩУ ПЭН перевести ключ блокировки из положения "АВР" в положение - "Ручное управление", и попробовать включить маслонасос вручную. При не включении маслонасоса, немедленно перевести ключ блокировок обоих маслонасосов в положение – "Ремонт", и сообщить о случившемся событии СМТЦ И НСТЦ (положение ключа блокировок "Ремонт", накладывает запрет на включение ПЭНа как по месту, так и с блочного щита управления - БЩУ).
МПЭН обязан срочно проконтролировать аварийный останов питательного насоса, при этом должны пойти на открытие электрифицированный вентиль линии рециркуляции в деаэратор, а напорная задвижка ПЭН - на закрытие. При закрытии напорной задвижки и не открытие вентиля рециркуляции, немедленно снять с "Автомата" электропривод вентиля и открыть его вручную зная, что более трех минут ПЭН в безрасходном режиме работать не может.
По ЭКМ-1 (на напорном патрубке ПЭН) проверить нулевое значение избыточного давления в напорной линии остановившегося ПЭН, это доказывает, что обратный клапан насоса держит, и обратного вращения насоса нет (контроль со стороны муфты насоса).
МПЭН обязан проконтролировать нормальное включение по АВР резервного ПЭН и перевести его ключ блокировок на МЩУ ПЭН из положения – "АВР", в положение – "Работа", и взять под усиленный контроль оставшиеся в работе ПЭНы.
О всех работах МПЭН докладывает СМТЦ И НСТЦ и выполняет подробную запись в Оперативном журнале (Суточной ведомости) ПЭН и пишет на имя начальника турбинного цеха подробную объяснительную записку о не прохождении АВР на маслонасосах, которую передает НСТЦ. Тот ее внимательно изучает, анализирует и при разборке аварийной ситуации, объясняет персоналу действия МПЭН. Объяснительную записку НСТЦ обязан передать начальнику турбинного цеха лично для принятия как административных, так и технических решений.
3.6 Действия оперативного персонала при пожаре на маслосистеме ПЭН
При очередном обходе работающих насосов машинист ПЭН обнаружил на одном из них возгорание масла в маслобаке или на масляной линии.
МПЭН обязан немедленно сообщить об этом НСТЦ и на БЩУ, и самостоятельно приступить к тушению пожара:
остановить горящий насос отключением от электросети ближайшей кнопкой КСА (кнопка-стоп аварийного останова работающего ПЭН), которых должно быть несколько и установлены они в легко доступных местах в пределах насоса;
включить в работу насос пенопожаротушения (НППЖТ) местным ключом и проконтролировать, что через пеногенераторы, установленные над маслобаком или над маслолинией ПЭН, обильно пошла высокократная пена, убедиться, что очаг возгорания локализован и открытого огня нет.
Обычно насосы пенопожаротушения (не менее трех) установлены в строго охраняемом отдельном здании на территории электростанции рядом с подземным резервуаром хранения пенообразователя.
На российских электростанциях применяются несколько типов пенообразователей, но в основном те, у которых срок хранения не менее 36-ти месяцев.
В настоящее время в России выпускается целый ряд различных пенообразователй, например, ПО-6ЦТ, 6ТС, 6МТ, 6ТС (3%), 6ТС-В, 6ТФ-У, в состав которых в основном входят водные растворы смеси поверхностно-активных веществ со стабилизирующими добавками. Но все равно все они созданы на базе ПО-6 и предназначены для тушения пожаров классов "А" и "В", т.е. именно для нашего случая.
ПО-6 представляет из себя биоразлагаемый пенообразователь целевого назначения с повышенной огнетушащей способностью, приготовленный на основе водного раствора триэтаноламиновых солей первичных алкилсульфатов со стабилизирующими добавками с водородным показателем pH = 7,0 - 10,0 и температурой замерзания не ниже минус три градуса. Но наиболее устойчивые пены образуются на основе белковых пенообразователей, которые получают из разнообразных веществ, либо полностью состоящих из белка, либо содержащих его в значительных количествах. Эти белки извлекаются из крови животных, кожи, костей, рогов, копыт, щетины, перьев, рыбьей чешуи, жмыха масличных культур, а также продуктов, получаемых из молока.
При производстве таких пенообразователей белки предварительно гидролизуют, так как продукты их гидролиза обладают гораздо более высокой пенообразующей способностью, чем исходные белки и протеины. Для этого их подвергают тепловой обработке, как правило, в щелочной среде. Причем гидролиз не доводят до конца, т.к. продукты конечного распада белков аминокислоты хотя достаточно сильные пенообразователи, но они дают неустойчивую, быстро разрушающуюся пену.
Все белковые пенообразователи представляют собой питательную среду для различного рода микроорганизмов. Поэтому в их состав вводят антисептики - фториды или фенол. Без них пенообразователи быстро теряют свои свойства, загнивают и дурно пахнут.
При производстве пенообразователя ПО-6, кровь животных, получаемая с мясокомбинатов, вначале гидролизуется едким натром, затем нейтрализуется хлоридом аммония или серной кислотой. Полученный раствор упаривается до заданной концентрации. Для повышения устойчивости пены в состав пенообразователя вводят сульфат железа.
Кратность получаемой пены, выходящей из пожарного ствола с пеногенератором, например типа ГПС, составляет более 60 крат, т.е. из единицы объема пенообразователя ПО-6 получается 60 объемов пены с устойчивостью около 300 секунд (пять минут) на очаге пожара. Этого времени достаточно, чтобы локализовать и перекрыть свободный доступ атмосферного кислорода, т.е. прекратить горение.
НППЖТ являются потребителями надежного электропитания и относятся к системе безопасности электростанции первой категории, поэтому обязательно один из них имеет привод от источника постоянного тока при полной потере собственных нужд электростанции, т.е. при условиях МПА (максимально проектной аварии) и в зависимости от мощности запускаются в работу от обратимых электрических преобразователей или от общестанционных аккумуляторных батарей;
остановить включенный НППЖТ;
МПЭН в Оперативном журнале (Суточной ведомости) ПЭН выполняет запись о произошедшем событии;
те же действия выполняет МПЭН при пожаре на электродвигателе или на самом насосе;
запрещается тушить водою горящие электродвигатели или электрифицированную арматуру, находящиеся под напряжением без диэлектрических перчаток и специального заземляющего устройства на брандспойте.
3.7 Контрольные вопросы
1.В каких случаях применяется АВР маслонасосов?
2.Каково назначение маслофильтров на маслоохладителях?
3.Почему вихревые маслонасосы нельзя пускать в работу в безрасходном режиме?
4.Объясните необходимость линии рециркуляции маслонасосов ПЭН.
5.Сравните качество применяемых турбинных масел.
6.Объясните необходимость системы защит и блокировок на маслонасосах ПЭН?
7.Обоснуйте необходимость обратного клапана на насосах.
8.К чему приведет аварийное отключение рабочего маслонасоса и не включение резервного маслонасоса?
9.Какие действия должен предпринять машинист ПЭН при загорании электродвигателя или маслобака насосной станции ПЭН?
10. Каким образом работает защита ПЭН по осевому сдвигу?
11.Состав пенообразователя?
12. Назначение КСА.
Глава 4. Включение в работу после ремонта питательного электронасоса
4.1 Изучение технологической схемы
Установка питательного насоса центробежного типа выполняет следующие функции:
- забор питательной воды из аккумуляторного бака деаэратора;
- увеличение избыточного давления питательной воды за счет высокоскоростного вращения (центробежного эффекта) и ступенчатого последовательного повышения давления воды в корпусе насоса;
- подача питательной воды такого высокого давления, которое могло бы преодолеть гидравлическое сопротивление водопарового тракта парогенератора, т.е. более давления свежего пара из котла;
-создание принудительного движения питательной воды в поверхностях нагрева котла.
Нам уже известно, что повышение давления питательной воды создается за счет центробежного эффекта, создаваемого дисковым рабочим колесом насоса, с периферийным расположением лопаток.
Например, если давление на всасе насоса равно Рвс.= 8,0 атм, а на напоре должно составлять Рнап.= 158,0 атм (давление острого пара равно 130 атм), т.е. диапазон повышения давления равен: Рнап. – Рвс. = 158,0 -8,0 = 150,0 атм, то при одноступенчатом насосе диаметр рабочего колеса составит метры, что недопустимо по надежности и невыполнимо технологически.
Пусть в нашем случае на роторе ПЭН установлено пять ступеней повышения давления, в каждую из которых входит рабочее колесо и его направляющий аппарат с осевыми и радиальными уплотнениями, тогда каждая ступень последовательно повышает рабочее давление воды на 30,0 атм. и на выходе из насоса эта величина достигнет 158,0 атм. (5 ступ. х 30,0 атм. + 8,0 атм. на всасе = 158,0 атм. на напоре).
В насосах высокого давления и с односторонним входом воды во время работы возникает осевое гидравлическое давление, которое стремится сдвинуть ротор насоса (вал с насаженными на нем рабочими колесами) в сторону, обратную направлению движения воды, поступающей в колесо, т.е. в сторону всаса насоса. Поэтому для компенсации осевого усилия сдвига ротора насоса в его проточной части выполнена система осевой разгрузки, о которой более подробно в Приложение П-5,6.
Теперь рассмотрим принципиальную технологическую схему питательного электронасоса, представленную на рис. 16.

Рис.16. Принципиальная технологическая схема питательного электронасоса
1 – Электрозадвижка на всасе насоса из деаэратора (В-1); 2 – Электрозадвижка на напоре насоса (Н-1); 3 – Клапан обратный, механический (ОК); 4 – Вентиль с ручным приводом на линии рециркуляции в деаэратор (ВР-1); 5 – Вентиль электрифицированный на линии рециркуляции в деаэратор (ВР-2); 6 – соединительная муфта; А – электроконтактный манометр (ЭКМ-1); Б - электроконтактный манометр (ЭКМ-2);
В состав питательного насоса с электроприводом входит:
1.питательный центробежный насос (обычно многоступенчатый), установленный на специальной металлической раме, залитой и закрепленной неподвижными анкерными болтами на специальной площадке плюсовой или нулевой отметки машинного зала главного корпуса электростанции. Проточная часть насоса состоит из двух корпусов – внутреннего и внешнего корпуса. Внутренний корпус состоит из последовательно соединенных между собою цилиндрических секций, в каждой из которых расположена рабочая ступень с одним рабочим колесом и направляющим аппаратом, осевыми и радиальными уплотнениями. Своими литыми лапами каждая секция опирается на горизонтальную станину внешнего корпуса, и все секции стягиваются горизонтальными сквозными шпильками, тем самым создается единый пакет цилиндрических секций. Например, пятиступенчатый питательный насос имеет пять таких цилиндрических секций;
2. всасывающий и напорный фланцевые патрубки трубопроводов насоса с запорной арматурой и с обратным механическим клапаном перед напорной задвижкой насоса. Приводы арматуры электрифицированы;
3. трубопровод линии рециркуляции питательной воды с отсечной арматурой - два по ходу вентиля, первый с ручным приводом, а второй вентиль – электрифицирован;
4. электродвигатель асинхронного типа. Электродвигатель насоса имеет встроенные воздухоохладители, которые в свою очередь охлаждаются технической водой, подаваемой от общего коллектора в машинном зале главного корпуса электростанции;
5. соединительная муфта, состоящая из двух полумуфт, насаженных на вал насоса и электродвигателя.
В настоящее время широкое применение получила гидравлическая муфта, позволяющая изменять количество вращения всего валопровода насосного агрегата, тем самым это дает возможность регулировать потребляемую электрическую мощность, подачу питательной воды в паровой котел в зависимости от электрической нагрузки энергоблока, что невозможно сделать при асинхронном приводе ПЭН (подробно о гидромуфте Приложение рис. П-1,2);
6. станция маслоснабжения насосного агрегата, расположенная под отметкой питательного насоса в подвальном помещении со своей системой пожаротушения;
7. система автоматического водяного и пенного пожаротушения насосного агрегата;
8. станция системы маслоочистки (в основном применяются способы очистки масла – пурификация (очистка от воды) и кларификация (очистка от механических примесей)) для всех ПЭН одного энергоблока.
4.2 Пуск ПЭН в работу после ремонта
Все подготовительные и пусковые работы на ПЭН выполняет оперативный персонал турбинного цеха во главе со старшим машинистом цеха (энергоблока) (СМТЦ) по прямому распоряжению начальника смены турбинного цеха (НСТЦ).
Наряд-допуски на производство ремонтных работ на маслосистеме ПЭН – закрыты, а не прикрыты. Обычно открывается один Общий наряд-допуск на производство ремонтных работ на всем насосном агрегате (сам питательный насос и его маслосистема, ремонтные же работы на электродвигателе выполняет персонал электроцеха электростанции, согласно "Разделительной ведомости между турбинным и электрическим цехами"). При необходимости выполнения какой-либо работы в пределах насосного агрегата, на который в целом выписан Общий наряд, ответственным руководителем ремонтных работ по Общему наряду выписывается Промежуточный наряд;
В Журнале окончания работ (находится на рабочем месте НСТЦ) начальниками электроцеха, цеха тепловой автоматики и измерений, турбинного цеха (он делает последним запись в этом журнале) выполнена разрешающая запись о том, что все ремонтные работы на питательном насосном агрегате закончены, ремонтный персонал выведен, насос готов к пуску в работу. Это является основным юридическим документом, дающим право НСТЦ приступить к пусковым операциям на ПЭНе после ремонта.
НСТЦ дает устную команду СМТЦ о начале пусковых работ на ПЭНе, который, в свою очередь, дает распоряжение машинисту ПЭН (МПЭН).
4.3 МПЭН выполняет следующую работу
проверяет, что ремонтный персонал из зоны ремонта выведен;
снимает и относит на рабочее место НСТЦ предупреждающие и запрещающие плакаты, цепи с арматуры и замки;
проверяет, что КИПиА целы, не просрочены Госповеркой, опечатаны, подключены по импульсным линиям к своим датчикам, запорно- регулирующая и защитная арматура в целости, фланцы трубопроводов соединены шпильками, полумуфты насоса и электродвигателя сцеплены и закрыты защитным кожухом;
включает в работу станцию маслоснабжения ПЭН (см. пункты 2.2. -2.3. настоящего Пособия);
подает техническую воду в воздухоохладители электродвигателя, открыв воздушники и дренажи, не допуская попадания воды на корпус электродвигателя, при появлении непрерывной струи воды из воздушников, их немедленно закрыть;
приоткрывает всасывающую задвижку В-1 (рис.10) на 10-15% от ручного привода и в открытый воздушник и дренаж из корпуса насоса, проверяет, что вода из деаэратора поступает.
Внимание! Данную работу нужно выполнять очень осторожно, не допуская попадания горячей воды на тело человека и рядом стоящее оборудование.
После обезвоздушивания и промывки насоса через дренажную линию, воздушник закрыть, начать прогрев металла питательного насоса питательной водой деаэратора через открытый дренаж насоса, если деаэратор находится под номинальными параметрами, прогрев выполнять со скоростью, указанной в Инструкции по эксплуатации ПЭН, не допуская гидроударов в корпусе насоса вплоть до полного закрытия всасывающей задвижки В-1 при появлении гидроударов;
после прекращения гидроударов, медленно приоткрыть всасывающую задвижку В-1 и продолжить прогрев насоса;
заказать в ЦТАИ сборку электросхем приводов всасывающей В-1, напорной Н-1 задвижек и вентиля рециркуляции ВР-2 в рабочее положение, для дистанционного управления ими с местного и блочного щита управления (БЩУ);
по ЭКМ-1 проконтролировать, что обратный клапан ОК открылся (манометр должен показывать избыточное давление в корпусе деаэратора плюс высота столба питательной воды, равная разности отметок, установки деаэратора и ПЭН);
полностью открыть ручной вентиль рециркуляции ВР-1;
при достижении разности температур металла насоса и питательной воды в деаэраторе не более ∆t ≤ 50 0
С, полностью открыть всасывающую задвижку В-1 от электропривода;
открыть вентили байпаса напорной задвижки Н-1 (на схеме рис.16 не показаны) для прогрева насоса и выравнивания давления воды до и после напорной задвижки, чтобы ее можно было легко открыть от электропривода;
заказать в электроцехе сборку электрической схемы электродвигателя в испытательное положение и заказать в ЦТАИ проверку технологических защит и блокировок на ПЭНе и электродвигателе. Проверку выполняют оперативный персонал турбинного цеха (МПЭН) и оперативный персонал ЦТАИ совместно. Обязательно проверяется срабатывание аварийной кнопки (КСА) останова насоса ручным опробыванием по месту и с БЩУ;
после проверки защит и блокировок ПЭН и электродвигателя, заказать в электроцехе сборку электросхемы электродвигателя в рабочее положение;
после сборки электросхемы электродвигателя в рабочее положение, СМТЦ предупреждает оперативный персонал БЩУ о пуске ПЭНа, включить его в работу с БЩУ;
МПЭН и СМТЦ по месту контролируют полное открытие второго по ходу вентиля рециркуляции ВР-2, а на БЩУ машинист блока контролирует токовую нагрузку электродвигателя, которая должна быть не более 30-ти % от номинального значения, т.е. I пэн ≤ 0,3 I ном.;
МПЭН и СМТЦ осматривают весь насосный агрегат на предмет свищей и течей воды, вибрации, показаний КИПиА, шума, осевого положения валопровода электродвигатель-насос. При необходимости аварийно остановить насос нажатием КСА;
при условии, что замечаний по работе насоса нет, дать команду на открытие напорной задвижки Н-1 при этом проконтролировать, что вентиль рециркуляции ВР-2 от блокировки с концевых выключателей задвижки Н-1 начинает закрываться.
По ЭКМ-1 определяем, что давление на напоре насоса на 5-10% выше, чем давление в сети, т.е. насос легко и плавно войдет в параллельную работу с другими уже работающими ПЭНами и преодолеет сопротивление сети;
на рециркуляцию долго работать недопустимо по прочностным и термическим причинам ПЭН;
по характерному шуму можно определить, что вентиль ВР-2 закрылся, а насос взял полную токовую нагрузку, расходомер показывает номинальный расход питательной воды;
при повышении температуры воздуха в воздухоохладителях электродвигателя и масла за маслоохладителями МН ПЭН, отрегулировать их значения увеличением расхода технической воды с помощью выходных вентилей;
установить положение ключа режима работы ПЭН на МЩУ и БЩУ в положение "Работа";
МПЭН делает запись о пуске в работу ПЭН в Оперативном журнале (Суточной ведомости), а машинист энергоблока и НСТЦ – в своих Оперативных журналах;
ПЭН считается сданным в эксплуатацию после ремонта, если он проработал без замечаний с номинальными параметрами непрерывно не менее 72-х часов (трое суток);
согласно цеховому графику ПЭН не должен непрерывно работать более 30-ти суток, поэтому необходимо выполнить плановый переход на резервный ПЭН. Для создания равных условий работы для всех ПЭН энергоблока определяется периодичность вывода в резерв работающих насосов, чем достигается одинаковая наработка насосов и равномерность их износа, а также проверяется надежность каждого насоса в длительной эксплуатации. Но в любом случае резервные ПЭН должны быть исправными и в постоянной готовности к пуску, поэтому задвижки на входном и выходном трубопроводах должны быть открыты, проверка АВР должна проводиться периодически по графику не реже чем один раз в календарный месяц, капитальный ремонт ПЭН должен проводиться не реже один раз в три-четыре года.
4.4 Контрольные вопросы
1. Какие функции выполняет питательный насос в схеме энергоблока?
2. На каком физическом эффекте основан метод повышения давления жидкости в питательном насосе?
3. Почему повышается температура питательной воды в ПЭНе?
4. От чего зависит качество деаэрации питательной воды?
5. Как компенсируется осевой сдвиг ротора ПЭНа?
6. Опишите основные этапы пуска в работу ПЭНа?
7. Какие устройства предусмотрены для предотвращения обратного вращения насоса?
8. Обосновать необходимость линии рециркуляции ПЭН?
9. Для чего служит ЭКМ на ПЭНе?
10. Чем опасно для персонала появление свищей на ПЭНе?
11. Какие существуют схемы включения ПЭН на энергоблоке?
12. Какие разгрузочные устройства имеются на ПЭН при его пуске в работу?
Глава 5. Совместная работа двух и более питательных насосов на общую гидравлическую сеть
В этой главе мы рассмотрим варианты совместной работы центробежных питательных насосов, как при последовательном, так и при параллельном включении на общую гидравлическую сеть.
Обычно в параллельную работу включаются насосы, от которых зависит длительность эксплуатации, надежность, экономичность и безопасность работы эксплуатируемого энергоблока. К числу таких насосов относятся питательные, конденсатные, циркуляционные насосы, насосы систем смазки турбин, генераторов, пожарные и другие насосы.
Для упрощения устройства энергетической установки при параллельной работе обычно применяют однотипные насосы, что позволяет расширить диапазон регулирования подачи воды в сеть.
Необходимость в последовательной работе насосов возникает главным образом для обеспечения благоприятных условий всасывания более мощному насосу за счет менее мощного. Например, применение бустеров и предвключенных насосов позволяет значительно снизить массу и размеры основного питательного насоса. Необходимость в последовательном включении насосов может появиться и тогда, когда одним насосом рассматриваемой сети не удается создать достаточный напор.
5.1 Параллельная работа центробежных насосов
Насосы в насосных станциях и в крупных насосных установках, как правило, работают совместно, т.е. несколько насосов подают жидкость в одну гидравлическую систему. При этом насосы могут быть включены в систему последовательно (последовательная работа) или параллельно (параллельная работа). Параллельной называют совместную и одновременную работу нескольких насосов, присоединенных напорными патрубками к общей гидравлической системе. Чтобы избежать явления помпажа, лучше всего не применять при параллельном включении такие насосы, у которых напорные характеристики имеют восходящие участки. К таковым относятся насосы, рабочие колеса которых имеют коэффициент быстроходности 500 ≥ ns
≥ 80.
5.2 Параллельная работа центробежных насосов с одинаковыми характеристиками
На рис. 17(а) изображена расходно-напорная характеристика Q — H каждого из двух одинаковых насосов. Для того чтобы построить суммарную характеристику этих двух насосов при параллельной работе, необходимо удвоить абсциссы кривой Q—H одного насоса при одинаковых ординатах (напорах). Например, для нахождения точки в суммарной характеристике Q — H необходимо удвоить отрезок (аб). Таким образом, отрезок (ав = 2аб). Так же находят и другие точки суммарной характеристики.

Рис. 17. Характеристики параллельной работы двух центробежных насосов в одной системе а). насосы с одинаковыми характеристиками; б). насосы с разными характеристиками
Для определения режима совместной работы насосов характеристику Р — Е системы нужно построить так же, как и при работе одного насоса. Рабочая точка в этом случае будет находиться на пересечении суммарной характеристики насосов с характеристикой системы.
Общая подача при параллельной работе двух насосов характеризуется абсциссой точки 2 и равна QI
+
I
1
, напор соответствует ординате точки 2, равной HI
+
I
1
или Hi
.
Чтобы установить, в каком режиме работает каждый из насосов, необходимо провести из точки 2 линию, параллельную оси абсцисс. Абсцисса, соответствующая точке пересечения этой линии с кривой Q — H насоса (точка 1), определит расход, а ордината — напор Hi
каждого из параллельно работающих насосов.
Следовательно, напор, развиваемый каждым насосом, равен напору, развиваемому двумя насосами при их параллельной работе, а подача каждого насоса равна половине суммарной подачи двух насосов.
Если бы в данную систему жидкость подавал только один насос, то режим его работы характеризовался бы напором и подачей в точке 5.
Как видно из рис. 17(а) при этом его подача Q0
была бы больше, чем в случае параллельной работы со вторым насосом.
Таким образом, суммарная подача насосов, работающих параллельно в общей системе, меньше, чем сумма подачи этих же насосов при их раздельной работе. Это происходит из-за того, что при увеличении общего расхода жидкости, подаваемой в систему, возрастают потери напора, а следовательно, увеличивается и напор, необходимый для подачи данного расхода, что влечет за собой уменьшение подачи каждого насоса.
Коэффициент полезного действия каждого из параллельно работающих насосов характеризуется его КПД в точке 4 на пересечении кривой Q — η с перпендикуляром, опущенным из точки 1. Как видно из рис. 17(а), КПД каждого из параллельно работающих насосов также отличается от КПД насоса при раздельной работе, который характеризуется КПД в точке 3 на кривой Q - η.
Мощность каждого из параллельно работающих насосов характеризуется мощностью в точке 7 на кривой Q—N, тогда как мощность отдельно работающего насоса определяется мощностью в точке 6. При построении суммарной характеристики трех параллельно работающих насосов необходимо утроить абсциссы характеристики каждого насоса. Режим работы трех и более насосов при их параллельном включении определяется так же, как и в случае параллельной работы двух насосов.
При увеличении числа параллельно работающих насосов или при увеличении сопротивления системы, например, при выключении одного из участков параллельно работающих водоводов при аварии, подача каждого насоса в отдельности уменьшается.
Параллельная работа одинаковых насосов в одну систему эффективна при пологих характеристиках системы и крутых характеристиках насосов. При крутой характеристике системы, параллельная работа может оказаться неэффективной, так как при подключении к одному насосу второго или третьего насоса подача возрастет незначительно.
Одинаковые насосы для параллельной работы по каталогам подбирать следует так, чтобы оптимальная точка характеристики соответствовала напору, вычисленному для подачи всего расхода в систему, и подаче, равной общему расходу, деленному на число включенных одинаковых насосов.
При параллельной работе двух насосов их общая производительность меньше удвоенной производительности одного насоса. Обычно, при работе одного насоса, подача составляет 60% от суммарной подачи при параллельной работе двух насосов.
Наклон кривой характеристики сети определяется потерями напора на преодоление сопротивлений в трубопроводе.
Известно, что величина потерь обратно пропорциональна диаметру трубопровода в пятой степени (∆h ≡ 1/ D5
труб.) или при большом диаметре трубопровода для пропуска тех же расходов требуется меньшие напоры насоса, при этом характеристика сети будет пологой. Поэтому напорные и сбросные водоводы циркуляционной воды на электростанциях выполняются из труб большого диаметра. При малом диаметре трубопровода требуются большие напоры насоса, при этом характеристика сети будет крутой.
Можно отрегулировать новый насос на заданный расход Qнов., но с меньшим напором, с незначительным снижением к.п.д. – обточкой рабочих колес, если нет запасного рабочего колеса с меньшим диаметром.
При эксплуатации насосного оборудования на электростанциях часто бывает нужно изменить напорно-расходные характеристики действующего насоса без покупки нового насоса. В связи с этим приходится делать подрезку рабочих колес имеющегося насоса.
Но во избежание значительного снижения к.п.д. насоса уменьшение диаметра рабочих колес центробежного насоса ограничивают следующими пределами (табл. 1):
Табл. 1
| ns, коэффициент быстроходности |
60 |
120 |
200 |
300 |
350 |
| Максимальное отношение обточки диаметра рабочего колеса (Dстар. – Dнов.) / Dстар. |
20 |
15 |
11 |
9 |
7 |
При ns> 350 обточка рабочих колес обычно не выполняется.
С достаточной для практических целей точностью 2-5% определение уменьшение диаметра рабочего колеса производится по параболе пропорциональности, построенной по формуле:
H = Hнов. Q2
стар. /Q2
нов = BQ2
стар. (25)
При этом значение нового диаметра Dнов. определяется по формуле:
Dнов. = Qнов. / Qстар. (26)
Dнов. = Dстар. ÖHнов. / Hстар. (27)
ns = (365nÖQ) / Н 3/4
,(28)
где Q – расход насоса, м3
/сек;
Н – напор насоса, м.вод.ст.;
n – число оборотов насоса, об/мин.
Обычно, если:
ns ≤ 60 - это тихоходные центробежные насосы;
ns ≤ 70-150 - это нормальные центробежные насосы;
ns = 150 – 360 - это быстроходные центробежные насосы с максимальным к.п.д.;
ns = 350 – 650 – это диагональные насосы;
ns = 600 – 1200 – это осевые насосы с высокой подачей.
При определении ns насосов с двухсторонним всасом, их производительность делится на 2, а многоступенчатых насосов – напор делится на число рабочих колес.
5.3 Параллельная работа центробежных насосов с разными характеристиками
Насосы с разными характеристиками могут параллельно работать только при определенных условиях, в зависимости от соотношения характеристик этих насосов. Проанализировать возможность и целесообразность параллельной работы насосов с разными характеристиками можно, совмещая характеристики насосов и системы. На рис.17(б) показаны характеристики насосов I и II. Как видно из рисунка, насос II развивает меньший напор, чем насос I. Поэтому насос II может работать параллельно с насосом I, только начиная с точки, где развиваемые ими напоры равны (точка С рис. 17(б)). Характеристика совместной работы насосов (суммарная характеристика), начиная с точки С, строится путем сложения абсцисс характеристик насосов I и II при одинаковых ординатах (напорах, развиваемых насосами). Для определения суммарной подачи необходимо построить характеристику системы (кривая РЕ рис. 17 (б). Затем из точки А — точки пересечения характеристики системы с суммарной характеристикой совместной работы насосов I и II следует провести линию, параллельную оси ординат, которая отсечет на оси абсцисс отрезок, соответствующий расходу Qi
+
i
1
, подаваемому в систему обоими насосами. Подачу каждого из совместно работающих насосов можно найти, проведя из точки А прямую, параллельную оси абсцисс. Пересечение этой прямой с характеристиками насосов I и II дает соответствующие точкам 1' и 2' величины подачи Q'i
Как и в случае параллельной работы двух насосов с одинаковыми характеристиками, суммарная подача двух насосов меньше суммы подач каждого из насосов в отдельности. Из рис. 17(б) видно, что QI
+QI
>QI
+
II
.
Мощность и КПД совместно работающих насосов определяются так же, как и в случае совместной параллельной работы двух насосов с одинаковыми характеристиками. Принцип построения характеристики параллельной работы разных насосов применяют и для построения характеристики параллельной работы нескольких одинаковых насосов, когда подачу одного из них регулируют изменением частоты вращения.
5.4 Включение в параллельную работу двух питательных электронасосов
Теперь рассмотрим вариант включения в параллельную работу ПЭН при работающем другом ПЭНе, и какие для этого необходимо соблюдать условия. Первое и самое необходимое условие – это, чтобы давление включаемого насоса превышало рабочее давление в сети не менее, чем на 10-15%. В противном случае насос не сможет войти в сеть, а будет работать на холостом ходу в безрасходном режиме, что равносильно на закрытую напорную задвижку. Мы уже знаем, к чему это может привести, и что такой режим работы центробежного насоса не допустим более трех минут.
На рис.18 показана схема включения в параллельную работу двух питательных насосов, при этом они имеют одинаковые напорно-расходные характеристики, однотипные и оба исправны. Обычно при данной схеме включения насосов на общую гидравлическую сеть, один из них в работе, а другой – на АВР или в ремонте. Рассмотрим следующий вариант состояния исходной схемы на рис.18: ПЭН-1- в работе, а ПЭН-2 – необходимо включить в работу после ремонта. Работы выполняет оперативный персонал турбинного цеха – старший машинист цеха (СМТЦ) и машинист питательных насосов (МПН).

Рис. 18. Схема включения в параллельную работу двух питательных насосов
ПЭН-1,2 – питательные насосы;
ВЗ-1,2 – всасывающие задвижки питательных насосов;
ОК-1,2 – обратные клапаны питательных насосов;
НЗ-1,2 – напорные задвижки питательных насосов;
ВР-1,2 – вентили рециркуляции;
ВБ-1,2 – вентиль байпаса напорной задвижки.
ЭКМ-1,2,3 – электроконтактные манометры.
В цехе тепловой автоматики и измерений (ЦТАИ) заказать сборку электросхем привода всасывающей (ВЗ-2), напорной (НЗ-2) задвижек и вентиля рециркуляции (ВР-2);
Включить в работу систему маслоснабжения ПЭН-2;
Медленно приоткрывая всасывающую задвижку ВЗ-2, заполнить насос горячей питательной водой из деаэратора, зная, что температура её около 160 о
С, постепенно прогреть насос, не допуская гидроударов, а контроль прогрева ведем по показаниям термометров на местном щите управления насосом;
Через байпас ВБ-2 напорной задвижки НЗ-2 заполнить и прогреть участок напорного трубопровода от общего сетевого трубопровода и тем самым разгружаем клапан напорной задвижки от одностороннего давления со стороны нагнетания насоса. Если этой разгрузки не выполнить, то напорную задвижку НЗ-2 будет трудно открыть с помощью электропривода, который будет "садиться на муфту", что приведет к выбиванию электросхемы привода от токовой перегрузки и к задержке пуска насоса и даже к выходу из строя электропривода задвижки НЗ-2;
По ЭКМ-2 определить, что ПЭН-2 заполнен водою и прогрет (температуру металла насоса определяем по показаниям измерительного прибора на местном щите управления ПЭН-2, который расположен рядом с насосом).
Запрещено для прогрева насоса открывать воздушники, разрешено открыть вентиль дренажа из корпуса насоса, после прогрева – закрыть его;
Прокрутить от электропривода напорную задвижку НЗ-2 и вентиль рециркуляции ВР-2;
Через начальника смены электроцеха заказать сборку электрической схемы ПЭН-2 в испытательное положение;
Совместно с персоналом ЦТАИ проверить срабатывание технологических защит и блокировок на ПЭН-2;
Через начальника смены электроцеха заказать сборку электросхемы включения электродвигателя ПЭН-2 в рабочее положение;
Проверить, что всасывающая задвижка ВЗ-2 открыта полностью, напорная задвижка закрыта, но электросхема ее привода собрана, ручной вентиль на линии рециркуляции открыт, а вентиль с электроприводом закрыт, но схема его электропривода собрана, дренаж и воздушники насоса закрыты, байпас напорной задвижки НЗ-2 закрыт;
Включить в работу электродвигатель ПЭН-2, по амперметру на местном щите ПЭН-2 видим, что его стрелка на красной черте, что свидетельствует - насос работает на закрытый напор, проконтролируем автоматическое открытие вентиля рециркуляции от электропривода, по ЭКМ-2 проверяем, что давление, создаваемое ПЭН-2, выше, чем давление в сети по ЭКМ-3. Это свидетельствует, что ПЭН-2 преодолеет сопротивление сети и свободно войдет в параллельную работу с насосом ПЭН-1;
Через три минуты должна автоматически пойти на открытие напорная задвижка НЗ-2, а вентиль рециркуляции ВР-2 должен пойти на закрытие. При не срабатывании этой схемы работы арматуры, МПЭН обязан вручную открыть напорную задвижку с местного щита управления ПЭН-2. При этом ключ блокировок перевести с "Автомат" на "Местное" управление и также вручную закрыть вентиль рециркуляции – ВР-2;
По амперметру на местном щите управления ПЭН-2 проконтролировать, что электродвигатель взял токовую нагрузку, стрелка прибора "отвалилась" от красной черты в меньшую сторону и установилась на значении номинальной величины рабочего тока электродвигателя;
Еще в течение 20-30 минут необходимо проконтролировать работу насосного агрегата ПЭН-2, особое внимание уделить токовой нагрузке, температуре металла насоса, работе маслосистемы ПЭН-2, осевому сдвигу, что все показания штатных контрольно-измерительных приборов находятся в пределе рабочих величин.
МПН записывает в суточную ведомость время пуска ПЭН-2 в работу и докладывает о выполненной работе СМТЦ.
5.5 Контрольные вопросы
1. В какой оперативной документации выполняются технологические операции на оборудовании?
2. Что значит "сесть на муфту"?
3. Назначение линии байпаса напорной задвижки ПЭН?
4. Назначение ЭКМ на ПЭН?
5. Что такое гидроудар?
6. Как можно избежать гидроудары в насосе?
7. Назначение деаэратора?
8. Зачем нужны предвключенные винты, шнеки?
9. Назначение и работа обратного клапана на ПЭН?
10. Необходимые условия входа насоса в параллельную работу?
11. Почему и когда выполняют подрезку рабочего колеса насоса?
12. Как можно определить суммарную производительность двух насосов, работающих в параллель?
ПРИЛОЖЕНИЯ
Наряд-допуск (наряд) — это есть задание на производство работы, оформленное на специальном бланке установленной формы и определяющее содержание, место работы, время ее начала и окончания, условия безопасного проведения, состав бригады и лиц, ответственных за безопасное выполнение работы.
На атомных электростанциях выдается дозиметрический наряд-допуск. Дозиметрический наряд-допуск – это письменное задание на безопасное производство работ. В наряде-допуске указывается содержание работы, место и время ее проведения, необходимые меры безопасности и состав бригады. При выполнении работ по дозиметрическим нарядам-допускам назначают ответственных лиц за безопасное проведение работ.
Лицо, выдающее наряд-допуск, отвечает за возможность безопасного проведения работ и полноту предусмотренных мер радиационной безопасности. Меры безопасности определяются на основании результатов измерения радиационной обстановки и записываются в графе "Условия производства работ", а в графе "Дополнительные средства индивидуальной защиты" указываются необходимые комплексы СИЗ. Производитель работ отвечает за приемку рабочего места в соответствии с требованиями наряда-допуска, а соблюдение мер радиационной безопасности лично самим и членами бригады, за дезактивацию рабочего места после выполнения задания до допустимых уровней.
Допускающий отвечает за полное выполнение мер радиационной безопасности в соответствии с нарядом-допуском, правильность допуска к работе и приемку рабочего места по окончании работы. Дозиметрист отвечает за правильность измерения параметров радиационной обстановки перед допуском бригады и во время ее работы, периодический контроль за соблюдением мер радиационной безопасности работающими при производстве работ.
Члены бригады несут ответственность за соблюдение мер радиационной безопасности и правильное применение СИЗ, предусмотренных наряд-допуском.
Распоряжение также является заданием на безопасное производство работ. Оно оформляется записью в журнале регистрации нарядов-допусков и распоряжений и имеет разовый характер. Срок действия распоряжения определяется продолжительностью рабочего дня бригады. Перечень работ, выполняемых по нарядам-допускам или распоряжениям, утверждается руководством электростанции.
ФОРМА НАРЯДА-ДОПУСКА
Предприятие _________ Подразделение __________
НАРЯД, ОБЩИЙ НАРЯД, ПРОМЕЖУТОЧНЫЙ НАРЯД N ____
_________________________________________
К ОБЩЕМУ НАРЯДУ N ______
(заполняется только при выдаче промежуточного наряда)
Руководителю работ _____________________________
Производителю работ (наблюдающему)_________________
(ненужное зачеркнуть) (фамилия, инициалы, должность, разряд)
с членами бригады _____ чел. __________________________
(фамилия, инициалы, разряд, группа)
Поручается _____________________________________
(содержание работы, объект, место работы)
________________________________________________
Начало работы: дата ____________, время ____________
Окончание: дата _________, время __________
Для обеспечения безопасных условий необходимо ____________________
(перечисляются необходимые мероприятия по подготовке рабочих мест и меры безопасности, в том числе подлежащие выполнению дежурным персоналом других цехов)
Особые условия ______________________________________
Наряд выдал: дата ________, время ________, должность
Подпись __________________, фамилия, инициалы
Наряд продлил по: дата ______, время _______, должность
Подпись __________________, фамилия, инициалы
дата ______________________, время ______________________
Условия производства работ выполнены: дата _______, время
Остаются в работе ____________________________
(оборудование, расположенное вблизи места работы и находящееся под напряжением, давлением, при высокой температуре, взрывоопасное и т.п.)
Дежурный персонал других цехов (участков) _____________
(цех, должность подпись, фамилия, инициалы)
Отметка о разрешении начальника смены электростанции (дежурного диспетчера)____________________________
(подпись или пометка о разрешении, переданном по телефону, подпись начальника смены цеха)
Ответственное лицо дежурного персонала цеха (блока, района);
руководитель работ по промежуточному наряду (ненужное зачеркнуть) ______________________________
Выполнение условий производства работ проверили, с оборудованием, оставшимся в работе, ознакомлены и к работе допущены.
Дата _______, время ______________
Руководитель работ ____________________________________
Производитель работ _____________________
Оформление ежедневного допуска к работе, окончания работы, перевода на другое рабочее место. Работа полностью закончена, бригада удалена, заземления,
установленные бригадой, сняты, сообщено (кому) ___________________
Дата ______________ Время______________
Производитель работ
(наблюдающий) ______________________
Ответственный руководитель работ ____________________
Стандартные технологические защиты и блокировки на ПЭН.
Рассмотрим существующие защиты, блокировки и сигнализацию на примере питательного электронасоса типа СПЭ-1250-75, применяемого как на тепловых, так и на атомных электростанциях.
В настоящее время применяются и другие типы ПЭН, но принцип построения защит и блокировок с сигнализацией отклонения рабочих параметров насосного агрегата остается прежним: максимально обеспечить безопасную работу насосного агрегата - питательный насос-электродвигатель
Теплотехнические защиты:
Снижение давления питательной воды на напоре насоса менее 40 атм. – срабатывание идет от ЭКМ, установленного на МЩУ. Во время пуска насоса накладка защиты автоматически выводится из работы на 30 секунд.
Повышение давления в камере осевой разгрузки насоса более 12 атм. – срабатывание защиты идет от ЭКМ, установленного на МЩУ.
Снижение давления масла в конце масляной линии менее 35 атм. – срабатывание идет от ЭКМ, установленного на МЩУ, время выдержки срабатывания защиты – 8 секунд.
Электротехнические защиты:
Дифференциальная защита электродвигателя от между фазного короткого замыкания - без выдержки времени действует на отключение масляного выключателя электродвигателя насоса;
Защита минимального напряжения при понижении питающего напряжения при:
- Umin = 0,65Uном., отключается масляный выключатель с выдержкой времени 35 секунд;
- Umin = 0,45Uном., отключается масляный выключатель с выдержкой времени 7,0 секунд;
Защита электродвигателя от токовой перегрузки при достижении перегрузочного тока Iпер. = 1,5Iном. Защита срабатывает с выдержкой времени больше времени действия пускового тока.
Защита электродвигателя от замыкания обмотки статора "на землю" – поступает только предупредительный сигнал на МЩУ ПЭН.
Блокировки ПЭН:
Включение насоса удерживается до:
Повышения давления масла в системе смазки более 0,5 атм и открытия линии рециркуляции питательной воды в деаэратор;
При снижении расхода питательной воды менее 400 м3
/час – открываются вентили рециркуляции от ВМД на МЩУ ПЭН;
При расходе питательной воды более 480 м3
/час – закрывается линия рециркуляции в деаэратор;
АВР маслонасосов ПЭН происходит:
- По факту отключения работающего насоса;
- При снижении давления на напоре маслонасоса менее 1,8 атм. – сигнал идет от ЭКМ, установленного на МЩУ;
- При снижении давления смазки равного 0,5 атм. - включается резервный маслонасос;
- При снижении давления смазки равного 0,35 атм. – отключается ПЭН.
Сигнализация отклонений при нормальной работе ПЭН.
- Снижение давления питательной воды на напоре насоса менее 82 атм. на БЩУ появляется мигающий знак на мнемосхеме насоса;
- Снижение уровня масла в маслобаке ПЭН менее 0,1м от номинального уровня – выпадает предупредительный блинкер на МЩУ ПЭН, подается звуковой сигнал;
- Повышение температуры масла на входе в подшипники насосного агрегата более 45 О
С– выпадает предупредительный блинкер на МЩУ ПЭН, подается звуковой сигнал;
- Повышение температуры масла на сливе из подшипников насосного агрегата более 70 О
С – выпадает предупредительный блинкер на МЩУ ПЭН, подается звуковой сигнал.
ПЭН с гидромуфтой.
На рис. П-1 изображен ПЭН, где в качестве соединительной муфты показана широко применяемая на современных электростанциях гидравлическая муфта (гидромуфта).

Рис. П-1 Общий вид питательного насоса в сборе

Рис. П-2. Насосный агрегат ПЭН с гидромуфтой
А – блок автоматической системы управления (АСУ) и маслообеспечения гидромуфты.

Рис. П-3. Гидравлическая муфтач

Рис. П-4. Энергосбережение от применения гидромуфты
Из анализа графиков на рис. П-4 следует, что при малых подачах ПЭН достигается максимальная экономия электроэнергии на его приводе от асинхронного электродвигателя, что невозможно получить при жестких муфтах. Это особенно важно, когда энергоблок часто разгружается вплоть до полного останова по режимному или диспетчерскому графику, или когда энергоблок участвует в регулировании мощности энергосистемы, обычно в ночное время суток. Эта возможность регулирования мощности и подачи ПЭН также важна при пусках и остановах энергоблока, что дает значительную экономию электроэнергии на собственные нужды электростанции.
Система осевой разгрузки ПЭН.
В насосах с односторонним входом воды во время работы возникает осевое гидравлическое давление, которое стремится сдвинуть ротор насоса (вал с насаженными на него рабочими колесами) в сторону, обратную направлению движения воды, поступающей в колесо.
Как можно уравновесить осевое усилие? Этого можно достигнуть:
1. двухсторонним входом воды в рабочее колесо, а в многоступенчатом насосе – соответствующим групповым расположением рабочих колес на валу насоса (смешанного типа);
2. сверлением отверстий в задней стенке рабочего колеса, через которые происходит некоторое уменьшение разности усилий, действующих на внешнюю и внутреннюю стенки рабочего колеса, в этом случае колесо имеет уплотнения с двух сторон, однако эти сверления уменьшают к.п.д. ступени и в современных насосах этот способ осевой разгрузки почти не применяется;
3. устройством гидравлической пяты у многоступенчатых насосов.
В связи с тем, что первые два способа не применяются в устройстве питательных насосов, мы рассмотрим только третий способ уравновешивания осевого усилия – это устройство гидравлической пяты у многоступенчатых питательных насосов.
Как работает гидравлическая пята ПЭН.
Гидропята представляет собой массивный диск, закрепленный на валу насоса за его последней ступенью. На рис. П -5 представлена схема работы гидропяты: вода из входной камеры насоса (А), пройдя через кольцевой зазор (3) и радиальный зазор (Б), поступает в камеру гидропяты (4), из которой выходит в камеру, соединенную с атмосферой или со всасывающей трубой насоса.

Рис. П-5. Принципиальная схема осевой разгрузки питательного насоса
1 - Последнее по ходу питательной воды рабочее колесо насоса;
2 - Шайба гидропяты;
3 - Кольцевой зазор;
4 - Камера гидропяты;
5 - Диск гидропяты;
6 - Гидравлическое уплотнение вала насоса;
А – Вход питательной воды от рабочего колеса;
Б – Радиальный зазор (при работе насоса – не более 0,15-0,20 мм);
В - Динамическое усилие смещение ротора насоса в сторону напора;
Г – Усилие гидравлической разгрузки ротора насоса в сторону всаса.
Осевое усилие в современных питательных насосах направлено в сторону всаса насоса и составляет несколько тонн. Поэтому разгрузку осевого усилия осуществляют с помощью гидропяты (диск разгрузочный), работа которой приведена в Приложение на рис. П-6, где показано, что для осевой разгрузки насоса вектор А осевого смещения ротора насоса направлен в сторону его всаса (давление напора в 16 раз больше, чем давление воды на всасе – вектор Б, Р2
=8 атм), на валу со стороны напора установлен разгрузочный монолитный диск, в камеру которого, подается питательная вода с напора насоса в противоположном направлении вектора смещения.

Рис. П-6. Схема камеры разгрузки и сил, действующих на разгрузочный диск
Неисправности питательных насосов
Механические повреждения и неполадки питательных насосов происходят, вследствие:
-неудовлетворительного ремонта и обслуживания;
-неправильной сборки, центровки и привода, балансировки во время монтажа, плохой смазки подшипников;
-ошибок при пуске и остановке.
К тяжелым последствиям может привести:
-отсутствие или неправильное устройство и использование разгрузочных линий питательных насосов;
-отсутствие или неисправность обратных клапанов и ограничителей расхода на линиях разгрузки, включение их в общий разгрузочный трубопровод и во всасывающую линию питательных насосов.
Неполадки в работе питательных насосов, которые могут привести к аварийной остановке котла, их причины и способы устранения приведены в паспортах и технических описаниях насосов.
Для обеспечения надежной работы питательных насосов завод-изготовитель гарантирует их исправную работу с учетом использования запасных частей не менее 12 мес. со дня ввода в эксплуатацию для конденсатных насосов с подачей до 20 м3 /ч и не менее 24 мес. для всех остальных насосов при условии соблюдения правил транспортирования, хранения, монтажа и эксплуатации.
Консервация насосов, запасных частей производится таким образом, чтобы обеспечивалась их защита от коррозии при транспортировании и хранении без переконсервации в течение двух лет. Кроме того, все отверстия, присоединительные фланцы и патрубки насоса закрывают пробками или заглушками, а ответственные разъемы и отверстия входного и напорного патрубка пломбируются.
В насосах массой более 1000 кг или на их фундаментных рамах (плитах) предусматриваются регулирующие устройства для выверки их положения на фундаменте и месте для установки уровня. Места для установки уровня указываются на монтажном чертеже. До опробования насоса отдельно пускается электродвигатель с целью проверки направления вращения, отсутствия вибрации, температуры подшипников, после чего полумуфты соединяются, и опробуется совместная работа электродвигателя с насосом вначале на холостом ходу, а затем под нагрузкой. Колеса и роторы в сборе необходимо отбалансировать. Среднеквадратическое значение вибрационной скорости, измеренной на корпусах подшипников насоса, не должно быть более 7 мм/с при изготовлении и 11 мм/с - при эксплуатации, а температура металла и масла подшипников не должна быть более, чем на 35-40 О
С выше температуры окружающего воздуха. Необходимо обеспечить во время работы питательных насосов непрерывный надзор за их исправным состоянием.
Регулярно проверять контрольно-измерительные приборы насосов, поддерживать давление питательной воды после насосов и контролировать давление воды перед насосом в соответствии с Инструкцией по эксплуатации насоса. Вывесить у задвижек на нагнетательных патрубках насосов плакаты с надписью, что разгрузочную линию необходимо включить:
-при пуске насоса;
-при работе на холостом ходу;
-при снижении нагрузки до предельно допустимой по надежности работы насоса согласно производственной инструкции, но не ниже 20% его номинальной производительности.
Кроме того, иметь на рабочих местах схему питательных и деаэрационных установок со всем, относящимся к ним оборудованием и арматурой, инструкции по обслуживанию установок, связанных с питанием паровых котлов.
В инструкции обязательно указываются порядок действия персонала по предупреждению и ликвидации возможных неполадок и аварий.
Не допускается включение в работу питательного насоса, а также его работа на холостом ходу, при закрытой задвижке на стороне нагнетания без перепуска воды по линии рециркуляции (разгрузки) более трех минут.
Важно следить, чтобы у резервных питательных насосов были открыты задвижки на всасывающих и нагнетательных патрубках.
При выводе насоса в ремонт или в резерв необходимо отключать его электродвигатель только после закрытия нагнетательной задвижки (с предварительным открытием линии рециркуляции).
Если питательный насос остается в резерве, необходимо после полной его остановки вновь открыть задвижку на нагнетательном патрубке и проверить, не вращается ли ротор двигателя.
Если в случае неплотности обратного клапана насос вращается в обратном направлении, то надо немедленно закрыть нагнетательную задвижку у насоса и вывести его в ремонт.
Необходимо оборудовать АВР - автоматическое устройство для запуска резервного насоса при снижении давления в напорной магистрали и периодически, по графику, проверять его действие (обязательно для всех питательных насосов с электроприводом).
Кроме того, устанавливают от каждого питательного насоса отдельную рециркуляционную (разгрузочную) линию с ограничительной шайбой, подключенную к деаэратору или питательному баку (но не во всасывающую линию питательных насосов). Отвод в линию разгрузки делается до обратного клапана насоса. Если разгрузочные линии для однотипных насосов объединены, то на каждой из них устанавливается обратный клапан.
Объединение разгрузочных линий электро- и турбонасосов запрещается!
Нельзя допускать при работе питательных насосов повышения температуры подшипников и их приводов выше 70o
С, при необходимости заменить смазку в подшипниках или в системе смазки.
Шум и удары в насосе наблюдаются при:
-при неправильной расточке соединительных полумуфт;
-статическом прогибе вала;
-стуке подшипников;
-витковом замыкании в электродвигателе;
-задевании рабочего колеса за уплотнения;
-при недопустимом нагревании подшипников;
- при появлении кавитации.
Заметное снижение производительности насоса через некоторое время его нормальной работы может быть вызвано:
-увеличением щелевых потерь внутри насоса;
-повышением температуры воды;
-большим сопротивлением трубопровода на всасе (запаривание насоса);
-засорением рабочего колеса и его износом;
-попаданием воздуха в насос и всасывающий трубопровод.
Питательные насосы размещают ниже баков питательной воды деаэраторов во избежание разрыва потока горячей воды вследствие ее вскипания. Образование паровых пузырей во всасывающем патрубке насоса приводит к гидравлическим ударам в питательных трубопроводах и срыву подачи воды насосом, что может вызвать аварию.
Основными причинами "запаривания" ПЭН являются:
1. Резкое снижение уровня воды или давления в деаэраторе;
2.Резкое снижение расхода питательной воды при закрытой линии рециркуляции;
3.Резкое повышение подачи питательной воды насосом при засорении сетки на всасе;
4.Повышение сопротивления на линии разгрузки из камеры гидропяты;
5.Увеличение протечек через камеру гидропяты.
Рассмотрим только две основные причины, т.к. ни в коем случае нельзя допускать "запаривания" насоса, что может быстро привести к его выходу из строя.
1. Резкое снижение уровня воды или давления в деаэраторе.
Это может быть вызвано при:
1.1.недостоверности показаний электронного уровнемера, проверить его и продублировать по уровнемерному стеклу, установленного в аккумуляторном баке питательной воды;
1.2. засорении фильтрующей сетки на всасе насоса.
Фильтрующая сетка на всасе ПЭН имеет два конических корпуса, вставленные один в другой, между которыми зажата латунная сетка. Внутренний конический корпус сетки состоит из вертикальных проволочных стержней диаметром 6,0 мм с навитой на них проволокой диаметром 1,0 мм. Наружный конический корпус сетки выполнен из перфорированной листовой стали толщиной 4,0 мм с 22000 отверстиями диаметром 4,0 мм.
Для периодической продувки фильтра и его промывки имеются два патрубка подвода основного конденсата от конденсатных насосов и отвода грязи из нижней части фильтра. Продувку можно делать при работающем насосе, а промывку только на остановленном насосе;
1.3.закрытии регулирующего клапана подачи основного конденсата.
Срочно проверить на БЩУ собрана ли схема на электроприводе регулятора, немедленно связаться с обходчиком машиниста по деаэраторам, потребовать вручную открыть байпас регулятора и проверить открытие арматуры подачи основного конденсата через охладитель выпара деаэратора. Резкое снижение уровня питательной воды в аккумуляторном баке деаэратора при работающем питательном насосе, может привести к образованию воронки на всасе насоса и к его срыву, т.к. насос на водяном паре работать не может;
1.4. закрытии регулятора греющего пара в деаэратор ведет к снижению давления пара в его корпусе. Срочно открыть байпас регулятора, проверить вручную работу самого регулятора;
1.5. не санкционированном открытии электрозадвижки подачи холодной химобессоленной воды в деаэратор для аварийной подпитки и предпускового заполнения деаэратора. Это ведет к резкому снижению давления пара в деаэраторе и может привести к вскипанию всего объема воды в корпусе деаэратора и к его разрушению.
2. Резкое снижение расхода питательной воды при закрытой линии рециркуляции. Это может быть вызвано при:
2.1. неправильном показании расходомера, проверить его показания;
2.2. самопроизвольном закрытии напорной задвижки от короткого замыкания в её электроприводе;
2.3.обрыве соединительной муфты электродвигатель-насос. Срочно проверить токовую нагрузку электродвигателя. При обрыве муфты амперметр будет показывать ток холостого хода электродвигателя, т.е. меньше номинального тока. На напорном патрубке насоса установлен механический обратный клапан, который служит для предотвращения "запаривания" насоса при снижении расхода питательной воды. Обратный клапан оборудован автоматической линией рециркуляции, обеспечивающей расход не менее 30% от номинального расхода насоса при закрытой напорной задвижке.
"Запаривание" насоса выражается возникновением металлического контакта между неподвижными и вращающимися частями насоса в результате разрыва сплошности потока воды, от чего появляется интенсивное парообразование в насосе. При "запаривании" наблюдаются сильные удары и шумы на входе воды в насос, снижение давления на напоре насоса, резкое колебание токовой нагрузки электродвигателя насоса.
Типы и виды питательных центробежных насосов
Питательные электронасосы типа ПЭ обеспечивают подачу воды с температурой до 165 °С в барабанные и прямоточные паровые котлы и предназначены для питания водой стационарных паровых котлов тепловых электростанций, работающих на органическом топливе.
Насосы с номинальными подачами 380 и 580 м3
/ч могут эксплуатироваться с гидромуфтой и без нее; 600 м3
/ч - только с гидромуфтой; 710 м3
/ч - без гидромуфты; 780 м3
/ч - могут комплектоваться синхронным частотно регулируемым электроприводом.
В группу питательных насосов также входят насосы двух типов ПЭ и ЦВК и предназначены для питания паровых котлов водой, не содержащей твердых частиц. Конструктивно они представляют собой горизонтальные секционные многоступенчатые насосы с односторонним расположением рабочих колес и делятся на однокорпусные и двухкорпусные.
Шестиступенчатые однокорпусные насосы ПЭ65/40, ПЭ65-53, ПЭ150-53 и ПЭ150-63 предназначены для котлов давлением пара 40 кГс/см 2
. Материал проточной части серый чугун СЧ20.
Десятиступенчатый однокорпусной насос ПЭ270-150-3 предназначен для котлов давлением 100 и 140 кгс/cм 2
. Материал проточной части - сталь.
Опорами вала служат два подшипника скольжения с камерами водяного охлаждения.
Конструкцией насосов предусмотрено охлаждение сальников водой. Вода подается в узел уплотнения для конденсации паров перекачиваемой жидкости, которые могут просачиваться через уплотнение. Осевое усилие, действующее на ротор насоса, воспринимается гидравлической пятой, отлитой из модифицированного чугуна.
Двухкорпусную конструкцию представляют насосы: десятиступенчатые ПЭ380-185-3, ΠЭ500-180-3, ΠЭ580-195 и одиннадцатиступенчатые ПЭ380-200-3 для докритических котлов с давлением пара 140 кГс/см2, семиступенчатый насос ПЭ600-300-3 для закритических котлов с давлением пара 255 кГс/см2.
Цифровое обозначение насосов: первая цифра - подача м3/час, вторая - напор в кГс/см2 (атм).
С развитием атомной энергетики были созданы специальные питательные насосы для АЭС, которые не предназначены для широкого круга потребителей и обозначены буквой А, т.е. только для АЭС.
Питательные центробежно-вихревые консольные насосы типа ЦВК предназначены для перекачивания воды и других нейтральных жидкостей с температурой до 105 °C, содержащих твердые включения размером до 0,05 мм, концентрацией не более 0,01% по массе.

Рис. П-7. Разрез питательного насоса типа ПЭ (Питательный с Электроприводом) 1 — вал, 2 — подшипник, 3 — торцовое уплотнение, 4 — входная крышка, 5 — кольцевой подвод, 6 — предвключенное колесо, 7 — крышка, 8 — рабочее колесо, 9 — секция; 10 — направляющий аппарат, 11 — кожух насоса, 12 — внутренний корпус, 13 — напорная крышка, 14 — корпус концевого уплотнения вала; 15 — упор ротора, 16 — разгрузочный диск; 17 — вспомогательные тpyбoпpоводы; 18 – наружный корпус, 19 — плита.

Рис. П-8. Разрез насоса типа ЦВК:1 — крышка, 2 —центробежное колесо; 3 — вставка I; 4 — вихревое колесо, 5 — вставка II; 6 — торцевое уплотнение, 7 — корпус, 8 — вал
В цифровом обозначении насоса числитель дроби - подача (л/сек.), знаменатель - напор (м.вод.ст.). Конструктивно они представляют собой консольный горизонтальный насос с двумя рабочими колесами. Рабочее колесо первой ступени - центробежное, второй ступени - вихревое. Такое сочетание позволяет получить с помощью первой ступени нормальные условия всасывания, (допустимая вакуумметрическая высота всасывания -7 м), а с помощью второй ступени - высокий напор. Материал проточной части чугун, вихревое колесо - сталь 35Л. Уплотнение вала - торцевое, возможна установка сальника с мягкой набивкой. Насосы могут комплектоваться электродвигателями во взрывозащищенном исполнении. В настоящее время действуют следующие заводы-изготовители по производству насосов и оборудования к ним: ОАО "Ливгидромаш", ФГУП "Турбонасос", ОАО "Бобруйский машиностроительный завод", ОАО "Щелковский насосный завод", ЗАО "Катайский насосный завод", ЗАО "Ясногорский машиностроительный завод", "Сумской машиностроительный завод", ОАО "Уралгидромаш", ОАО "Вакууммаш", АО "Молдовахидромаш", ЗАО "Рыбницкий насосный завод", ОАО "Горнас", ОАО "Промприбор", ОАО "Кусинский машиностроительный завод".
Литература
Основная литература
1. Быстрицкий Г.Ф.Основы энергетики. Учебник: М., Инфра-М. 2007.
2. Залуцкий Э.В. и др. Насосные станции.-Киев. "Вища школа". 2006.
3. Современная теплоэнергетика/под ред. Трухния А.Д./ МЭИ. 2007.
4. Соловьев Ю.П. Вспомогательное оборудование на электрических станциях. М.: Изд-во МЭИ. 2005.
5. Стерман Л.С., Лавыгин В.М., Тишин С.Г. Тепловые и атомные электрические станции. – М.: Изд-во МЭИ. 2007.
6. Тепловые и атомные электростанции. /Под ред. А.В. Клименко/, т.3.МЭИ. 2004.
7. Тепловые электрические станции: Учебник для вузов/Под ред. Е.Д.Бурова и др. М.: МЭИ. 2007.
8. Тиатор И.Н. Насосное оборудование отопительных систем. – М.: Изд-во МЭИ. 2006.
Дополнительная литература
9. Будов В.М. Насосы АЭС.- М.: Энергоатомиздат. 1986.
10. Горшков А.М. Насосы.- М.-Л.: Машиностроение. 1947.
11. Карелин В.Я. Насосы и насосные станции. - М.: Энергия. 1996.
12. Кривченко Г.И. Гидравлические машины. Турбины и насосы. М.: Энергия. 1988.
13. Ломакин А.А. Центробежные и осевые насосы.- М.:Машиностроение. 1976.
14. Малюшенко В.В. Энергетические насосы. - М.: Энергия. 1981.
15. Малюшенко В.В., Михайлов А.К. Насосное оборудование тепловых электростанций. - М.: 1975.
16. Рычагов В.В. и др. Насосы и насосные станции. - М.: Колос. 1988.
17.Cтепанов А.И. Центробежные и осевые насосы. М.: Машгиз. 1960.
18.Теплотехнический справочник. Т.1., М.: Энергия. 1975.
19.Черкасский В.М. Насосы, вентиляторы, компрессоры. - М.: Энергия. 1994.
20.Чиняев И.А. Лопастные насосы. Справочное пособие. - М.: Машиностроение. 1992.
21. Шерстюк А.Н. Насосы, вентиляторы, компрессоры. - М.: Высшая школа. 1972.
22. Энгель-Крон И. В. Устройство и ремонт оборудования турбинных цехов электростанций. - М.: Высшая школа. 1971.
|