Содержание
Введение
1. Протирочные и протирочно-резательные машины, их классификация, принцип работы, правила эксплуатации
1.1 Машины протирочно-резательные МПР-350М
Заключение
Литература
Введение
Основными направлениями развития предприятий общественного питания является успешное внедрение современных методов производства готовой кулинарной продукции, а также полуфабрикатов высокой степени готовности с максимально возможной механизацией и автоматизацией процессов, так как на современном этапе общественное питание занимает преобладающее место по сравнению с питанием в домашних условиях.
Отечественная промышленность создает большое количество различных машин для нужд предприятий общественного питания. Ежегодно осваиваются и внедряются новые, более современные машины и оборудование, обеспечивающие механизацию и автоматизацию трудоемких процессов на производстве.
На предприятиях общественного питания первичная обработка овощей производится по следующей технологической схеме: сортировка, мытье, очистка, доочистка, сульфитация (картофеля) и измельчение. Протирочные машины являются механизмами достижения максимальной степени измельчения продуктов.
В настоящее время практически на всех предприятиях общественного питания применяются автоматы для жарки и выпечки, так как это значительно сокращает время производства изделий и увеличивает количество выпускаемой продукции; к тому же, процессы жарки и выпечки проходят при довольно больших температурах, поэтому безопасней всего максимально сократить участие человека в этих процессах.
Ниже мы рассмотрим понятие протирочно-резательной машины на примере МПР-350М, изучим принцип действия и правила эксплуатации данного механизма, используя наглядные изображения и схемы.
протирочный резательный машина эксплуатация
1. Протирочные и протиро-резательные машины, их классификация, принцип работы, правила эксплуатации
Протирание - это не только процесс измельчения, но и разделения, т.е. отделения массы плодоовощного сырья от косточек, семян и кожуры на ситах с диаметром ячеек 0,8–5,0 мм. Финиширование - это дополнительное измельчение протертой массы пропусканием через сито диаметром отверстий 0,4–0,6 мм.
Забиваем Сайты В ТОП КУВАЛДОЙ - Уникальные возможности от SeoHammer
Каждая ссылка анализируется по трем пакетам оценки: SEO, Трафик и SMM.
SeoHammer делает продвижение сайта прозрачным и простым занятием.
Ссылки, вечные ссылки, статьи, упоминания, пресс-релизы - используйте по максимуму потенциал SeoHammer для продвижения вашего сайта.
Что умеет делать SeoHammer
— Продвижение в один клик, интеллектуальный подбор запросов, покупка самых лучших ссылок с высокой степенью качества у лучших бирж ссылок.
— Регулярная проверка качества ссылок по более чем 100 показателям и ежедневный пересчет показателей качества проекта.
— Все известные форматы ссылок: арендные ссылки, вечные ссылки, публикации (упоминания, мнения, отзывы, статьи, пресс-релизы).
— SeoHammer покажет, где рост или падение, а также запросы, на которые нужно обратить внимание.
SeoHammer еще предоставляет технологию Буст, она ускоряет продвижение в десятки раз,
а первые результаты появляются уже в течение первых 7 дней.
Зарегистрироваться и Начать продвижение
Основные конструкции протирочных машин различаются по взаимодействию сита и бичевых устройств. В основу положены следующие признаки: сетчатый барабан неподвижен, движутся бичи, «инверсивные» протирочные машины, в которых движется сито, а бичи неподвижные, и безбичевые. В них сито совершает сложное вращательное движение вокруг собственной оси и планетарно. По количеству ступеней: одноступенчатые, двухступенчатые, трехступенчатые, две сдвоенные машины. По конструкции сита: коническое и цилиндрическое; секционные и по диаметрам отверстий. По конструкции бичевых устройств: плоские; проволочные и др. По загрузочным устройствам: шнековые, в сочетании с лопастным устройством, загрузки по трубе.
Одноступенчатая протирочная машина состоит из станины, приводного вала, укрепленного в 2-х подшипниках со шнеком, лопастью и бичевым устройством, загрузочного бункера и привода с клиноременной передачей.
Работа машины основана на силовом воздействии бичей на обрабатываемый продукт, продавливая его через сито и за счет центробежной силы. Рабочая машина также регулируется изменением угла между осью вала и бичами, изменением зазора между ситом и бичами и диаметром отверстий сит. Протертая масса выводится через поддоны, а отходы из цилиндра выводятся через лоток.
Протирочные машины должны обеспечивать качественное разделение протираемой массы на полуфабрикат и отходы, высокую удельную производительность, минимальное количество отходов, низкий удельный расход энергии, однородный и достаточно тонкий дисперсный состав протертого полуфабриката, максимальную степень измельчения.
К недостаткам протирочных машин следует отнести невысокую эксплуатационную надежность, обусловленную неравномерным износом и быстрым выходом из строя сеток; неравномерные нагрузки на ротор вследствие неодинакового зазора между бичом и сеткой цилиндра; низкую удельную протирочную способность. Перспективными конструкциями протирочных машин являются машины с вращающимся ситчатым барабаном и неподвижными бичами.
В настоящее время на предприятиях общественного питания для протирания и перемешивания овощей применяются протирочные машины и многоцелевые механизмы нескольких типов. Протирочные машины МП-800, ИП-1000предназначены для перемешивания вареных овощей, фруктов.
Протирочно-резательный механизм МОвходит в комплект к универсальному приводу УКМ и может собираться в двух вариантах: для нарезки сырых овощей и для протирки вареных продуктов.
Сервис онлайн-записи на собственном Telegram-боте
Попробуйте сервис онлайн-записи VisitTime на основе вашего собственного Telegram-бота:
— Разгрузит мастера, специалиста или компанию;
— Позволит гибко управлять расписанием и загрузкой;
— Разошлет оповещения о новых услугах или акциях;
— Позволит принять оплату на карту/кошелек/счет;
— Позволит записываться на групповые и персональные посещения;
— Поможет получить от клиента отзывы о визите к вам;
— Включает в себя сервис чаевых.
Для новых пользователей первый месяц бесплатно.
Зарегистрироваться в сервисе
1.1 Машины протирочно-резательные МПР-350М
Машины протирочно-резательные МПР-350М, МПР-350М-01, МПР-350М-02 предназначены для протирки вареных продуктов (картофеля, свеклы, моркови, жидких каш, гороха, фасоли, яблок, творога и т.д.), нарезки сырых и вареных продуктов (картофеля, свеклы, моркови, лука, репы, брюквы, огурцов, томатов и т.д.) на частицы различной геометрической формы, тонкого измельчения картофеля, моркови, а также шинковки капусты.

Рис.1 Машина протирочно- резательная 350М
Нож для нарезки соломкой 2х2 позволяет делать красивую салатную нарезку для большинства овощей (свеклы, капусты, редьки, картофеля, в том числе свежих и маринованных огурцов и т.д.) и фруктов. А также используется для нарезания моркови на корейские салаты, при этом морковь располагается в большом бункере плашмя, вдоль ножа для получения максимально длинной соломки. Машины предназначены для эксплуатации на предприятиях общественного питания и малых предприятиях по переработке овощей.

Рис. 2. Сменные рабочие органы для нарезки овощей
Машины изготавливаются по ТУ РБ 08845027.003-99 для работы при температуре от плюс 1 до плюс 40°С в климатическом исполнении У, категории размещения 3 по ГОСТ 15150.
Машины протирочно-резательные типа МПР-350М производятся в соответствии с требованиями стандарта СТБ ИСО 9001:2001, имеют белорусский, украинский и российский сертификаты соответствия и удостоверение о государственной гигиенической регистрации.
Машины выпускаются в трёх исполнениях:
МПР-350М
- для нарезки сырых и вареных, протирки вареных продуктов.
МПР-350М-01
- для протирки вареных продуктов.
МПР-350М-02
- для нарезки сырых и вареных продуктов.
Таблица. Основные технические характеристики машин
| Наименование параметра |
МПР-350М |
МПР-350М-01 |
МПР-350М-02 |
| Производительность при нарезке сырого картофеля брусочками сечением 10х10 мм, кг/ч, не менее |
350
|
-
|
350
|
| Производительность при протирке картофеля, кг/ч, не менее |
600
|
600
|
-
|
| Количество видов нарезки |
6 |
- |
6 |
| Количество видов протирки |
2 |
2 |
- |
Номинальная потребляемая мощность,
кВт, не более
|
1,0
|
1,0
|
0,545
|
Питающая электросеть:
- род тока
- номинальное напряжение, В
- частота тока, Гц
|
трёхфазный, переменный
380
50
|
Габаритные размеры, мм, не более:
- длина
- ширина
- высота
|
600
340
650
|
600
340
650
|
600
300
650
|
| Масса, кг, не более |
32 |
28 |
29 |
Таблица. Производительность машины в зависимости от вида обработки
| Виды переработки, виды и размеры нарезки |
Производительность, кг/ч, не менее |
| Нарезка: |
| картофеля кружочками (ломтиками) толщиной 2 мм |
100 |
| соломкой сечением 4х3 мм |
110 |
| брусочки 5х10 мм |
200 |
| свеклы кружочками (ломтиками) толщиной 2 мм |
100 |
| соломкой сечением 4х3 мм |
110 |
| моркови кружочками (ломтиками) толщиной 2 мм |
100 |
| соломкой сечением 1,3х3,5 мм |
100 |
| соломкой сечением 4х3 мм |
110 |
| соломкой сечением 2х2 мм |
150 |
| репы, брюквы кружочками (ломтиками) толщиной 2 мм |
100 |
| соломкой сечением 4х3 мм |
110 |
| огурцов свежих и соленых соломкой 4х3 мм |
110 |
| лука репчатого кольцами (полукольцами) толщиной 2 мм |
100 |
| Тонкое измельчение: |
| картофеля |
120 |
| моркови |
60 |
| Шинковка: |
| капусты толщиной 2 мм |
220 |
| Протирка на сите с отверстиями диаметром 4 мм: |
| вареных гороха, фасоли |
300 |
| вареных моркови, свеклы (после измельчения на диске терочном) |
100 |
| жидких крупяных каш |
300 |
| творога |
300 |
| яблок печеных |
400 |
| тыквы |
400 |
| Протирка на сите с отверстиями диаметром 1,5 мм: |
| жидких крупяных каш |
150 |
Таблица. Состав и комплектация машин сменными рабочими органами
| Наименование и обозначение комплектующих |
МПР-350М
|
МПР-350М-01
|
МПР-350М-02
|
| Привод МПР-350М.01.00.00 |
да |
да |
да |
| Приспособление для протирки МПР-350М.02.00.00 с ротором МПР-350М.08.00.00 |
да |
да |
Приспособление для нарезки
МПР-350М.03.00.00
|
да |
да |
| Ящик ЗИП |
да |
да |
| Комплект сменных рабочих органов: |
диск шинковочный МПР-350М.13.00.00
(нарезка соломкой 4х3 мм)
|
да |
да |
диск тонкого измельчения МПР-350М.12.00.00
(для драников)
|
да |
да |
нож комбинированный МПР-350М.14.00.00
(нарезка брусочками 5х10 мм)
|
да |
да |
| нож для нарезки соломкой 2х2 мм МПО-1.04.16.00 |
да |
да |
диск тёрочный МПР-350М.11.00.00
(нарезка размером 1,3х3,5 мм)
|
да |
да |
нож дисковый МПР-350М.10.00.00
(нарезка ломтиками толщиной 2 мм)
|
да |
да |
диск протирочный МПР-350М.00.00.04
с отверстиями диаметром 4 мм
|
да |
да |
диск протирочный МПР-350М.00.00.05
с отверстиями диаметром 1,5 мм
|
да |
да |
| Комплект принадлежностей: |
| прочистка МПР-350М.00.00.10 |
да |
да |
| лопатка МЭБ-1.00.50 |
да |
да |
| толкатель МПР-350М.03.00.04 |
да |
да |
| толкатель МПР-350М.03.00.04-01 |
да |
да |
Сменные рабочие органы для нарезки овощей

Рис Диск шинковочный МПР-350М.13.00.00 (нарезка соломкой 4х3 мм)

Рис. Диск тонкого измельчения МПР-350М.12.00.00 (для драников)

Рис. Нож комбинированный МПР-350М.14.00.00 (нарезка брусочками 5х10 мм)

Рис.Диск тёрочный МПР-350М.11.00.00 (нарезка размером 1,3х3,5 мм)
Рис.Нож дисковый МПР-350М.10.00.00 (нарезка ломтиками толщиной 2 мм)
Рис. Нож для нарезки соломкой МПО-1.04.16.00 (нарезка по-корейски размером 2х2 мм)
Сменные рабочие органы для протирки продуктов

Рис.Диск протирочный МПР-350М.00.00.04 с отверстиями диаметром 4 мм

Рис.Диск протирочный МПР-350М.00.00.05 с отверстиями диаметром 1,5 мм
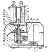
Устройство машины протирочно-резательной
Машина МПР-350М состоит из пластмассового корпуса, двух загрузочных приспособлений, сменных рабочих органов и привода. Рабочие органы устанавливаются в верхней части корпуса, нижняя наклонная часть которого служит для выхода переработанных продуктов. Сверху на корпус устанавливается одно из приспособлений - для нарезки овощей или для протирки продуктов.

1-Приспособление для нарезки; 2-Винт специальный; 3-Сменные рабочие органы; 4-Втулка; 5-Гайка регулировочная; 6-Контргайка; 7-Сбрасыватель; 8-Рабочая камера; 9-Панель;
10-Электродвигатель; 11-Болт натяжения; 12-Плита; 13,17-Шкивы; 14-Амортизатор; 15-Рама; 16-Ремень клиновой (Z(0)-800 ГОСТ 1284.1-89); 18,24-Крышки; 19-Вал;
20-Подшипники (ГОСТ 8882-75 180206); 21-Стакан; 22-Манжета; 23-Отражатель; 25-Гайка; 26-Щиток; В-Рабочий зазор.
Таблица -Тест
1. Протирочные и протиро-резательные машины относятся к:
а) универсальным приводам
б) машинам для обработки овощей
в) тепловому оборудованию
|
11. Машина МПР-350М состоит из:
а) пластмассового корпуса, двух загрузочных приспособлений, сменных рабочих органов и привода.
б) стального корпуса и привода
в) загрузочного бака и сменных рабочих органов
|
2. Финиширование- это:
а) завершающий этап очистки овощей
б) дополнительное измельчение протертой массы пропусканием через сито диаметром
отверстий 0,4–0,6 мм.
в) припуск овощей кипящей водой
|
12. Протирочные диски в машине МПР-350М установлены:
а) в нижней наклонной части корпуса
б) в верхней части корпуса
в) посередине
|
3. Одноступенчатая протирочная машина состоит из:
а) станины, приводного вала, загрузочного бункера и привода с клиноременной передачей.
б) станины и привода
в) загрузочного бункера, станины и приводного вала
|
4. Основной недостаток протирочных машин –это:
а) быстрый и неравномерный износ рабочих сеток
б) крупные габариты
в) высокие цены
|
5. Машины МПР-350М, МПР-350М-01, МПР-350М-02 предназначены для:
а) протирки вареных продуктов
б) нарезки сырых и вареных продуктов
на частицы различной геометрической формы, тонкого измельчения картофеля, моркови, а также шинковки капусты.
в) всех операций, перечисленных выше
|
6. Назначение МПР-350М:
а) протирка вареных продуктов
б) нарезка сырых и вареных продуктов, а также их протирка
в) нарезка сырых и вареных продуктов.
|
7. Назначение машины МПР-350М-01:
а) нарезка сырых и вареных продуктов, а также их протирка
б) протирка сырых продуктов
в) протирка вареных продуктов
|
8. Назначение машины МПР-350М-02:
а) нарезка и протирка сырых продуктов
б) нарезка и протирка вареных продуктов
в) нарезка сырых и вареных продуктов
|
9. МПР-350М за 1 час протирает картофеля:
а) не более 600 кг
б) не менее 600 кг
в) 32 кг
|
10. При помощи механизма МПР-350М за 1 час можно получить:
а) 220 кг мелкошинкованной капусты
б) 300 л отжатого сока
в) 1 тонну протертых крупяных каш
|
Ключ:
1.б) 2.б) 3. а) 4.а) 5.в) 6.б) 7. в) 8. в) 9. б) 10. а)
11. а) 12. б)
Заключение
В настоящее время одной из важнейших задач в стране является радикальная реформа по ускорению научно-технического прогресса в народном хозяйстве.
В общественном питании она стоит особенно остро, на предприятиях до сих пор преобладающее большинство производственных процессов выполняется вручную. Существует много видов работы, где занято большое количество работников малоквалифицированного труда. Поэтому коренная перестройка в этой сфере производства предполагает необходимость широкой индустриализации производственных процессов, массового внедрения промышленных методов приготовления и поставки продукции потребителям.
Мы уверены, что подобная организация производства в общественном питании позволит не только применять новое высокопроизводительное оборудование, но и более эффективно его использовать. В выигрыше будут и потребители, — сокращаются затраты времени, повышается культура обслуживания, и работники общественного питания — за счет механизации и автоматизации производства резко снижаются затраты ручного труда, увеличивается производительность производства продукции и улучшаются санитарно-технические условия.
Литература
1. Богданова М.А. Оборудование предприятий общественного питания. – М.: Экономика, 1988
2. Гусева Л.Г. Тепловое и электрическое оборудование предприятий общественного питания. М.: Экономика, 1983.
3. Золин В.П. Технологическое оборудование предприятий общественного питания: Учеб. для нач. проф. образования. – М.: ПрофОбрИздат, 2002.- 248с.
протирочный резательный машина овощи
|