ФЕДЕРАЛЬНОЕ АГЕНТСТВО ПО ОБРАЗОВАНИЮ
Ульяновский государственный технический университет
Кафедра «Технология машиностроения»
КУРСОВОЙ ПРОЕКТ
по технологии машиностроения
СтудентПлетнёв Д.А.
Факультет машиностроительный
Группа МТМд-51
КонсультантБелов М.А.
Ульяновск 2006
АННОТАЦИЯ
курсовой работы по технологии машиностроения
студента машиностроительного
факультета Д.А.Плетнёва
ПЗ на 47 с., в том числе 10 ил.; 4 листа чертежей
Ульяновский государственный технический университет, 2006
домкрат корпус втулка сборка резание
В курсовом проекте представлен анализ технических условий на домкрат 7035-4141, разработаны технологический процесс сборки домкрата, схема сборки и технологическая документация.
Разработаны единичные маршрутно-операционные технологические процессы изготовления корпуса 7035-4141/003 и втулки 7035-4141/006. Выполнен анализ точности механической обработки заготовки корпуса. Сделаны технологические эскизы 10,35,40 и 45 операций. Произведён размерный анализ технологического процесса изготовления втулки.
Сделан выбор заготовок и методов их получения. Произведена отработка конструкции корпуса и втулки на технологичность и разработаны технические требования на них. Выбраны методы обработки поверхностей заготовок.
Также произведён расчёт межоперационных припусков механической обработки корпуса и расчёт режимов резания.
СОДЕРЖАНИЕ
Введение
1. Исходная информация для выполнения курсовой работы
2. Общие положения
2.1 Служебное назначение домкрата
2.2 Производственная программа выпуска домкрата. Тип производства
3. Технологический процесс сборки домкрата
3.1 Анализ и разработка технических требований к домкрату
3.2 Отработка домкрата на технологичность
3.3 Схема сборки домкрата
3.4 Маршрутный технологический процесс сборки домкрата
3.5 Оформление технологической документации сборки домкрата
4. Технологический процесс изготовления корпуса
4.1 Служебное назначение корпуса
4.2 Выбор заготовки и метода её получения
4.3 Отработка конструкции корпуса на технологичность
4.4 Анализ и разработка технических требований к корпусу
4.5Методы обработки поверхностей заготовки
4.6 Разработка маршрутного технологического процесса изготовления корпуса
Реклама
4.7.Разработка маршрутно-операционного технологического процесса изготовления корпуса
4.7.1 Выбор оборудования для обработки корпуса
4.7.2 Выбор режущего инструмента для обработки корпуса
4.7.3 Расчёт межоперационных припусков механической обработки корпуса
4.7.4 Расчёт режимов резания
4.7.5 Оформление технологической документации
4.8 Технико-экономическое обоснование выбранного технологического процесса
5. Технологический процесс изготовления втулки
5.1 Служебное назначение втулки
5.2 Выбор заготовки и метода её получения
5.3 Отработка конструкции втулки на технологичность.
5.4 Анализ и разработка технических требований ко втулке
5.5 Методы обработки поверхностей заготовки
5.6 Разработка маршрутного технологического процесса изготовления втулки
5.7 Разработка маршрутно-операционного технологического процесса изготовления втулки
5.7.1 Выбор оборудования для обработки втулки
5.7.2 Выбор режущего инструмента для обработки втулки
5.7.3 Размерный анализ технологического процесса изготовления втулки домкрата
5.7.4Оформление технологической документации
6. Расчёт и проектирование приспособления для растачивания
6.1 Техническое задание на проектирование приспособления
6.2 Расчёт и проектирование приспособления
6.2.1. Расчёт сил зажима
6.2.2. Расчёт приспособления на точность изготовления
Заключение
Библиографический список
Приложения
ВВЕДЕНИЕ
В развитии научно-технического прогресса, эффективности производства, повышения производительности труда важную роль играет машиностроение обеспечивающее техническое перевооружение производства во всех отраслях промышленности. Современному этапу развития машиностроения присущи качественно новые черты: создание все современных изделий на основе внедрения достижений науки и техники и сокращение сроков их освоения. В процессе изготовления машин повышаются значение технологической подготовки производства, предлагающих проектирование технологических процессов изготовления, обработки и сборки изделия.
Растут требования к качеству технологических разработок, поставлена задача оптимизации технологических процессов при одновременном сокращении сроков производственного проектирования.
При разработке технологий изготовления деталей необходимо добиваться заданного качества деталей по всем параметрам при минимальной себестоимости детали.
Основные цели данной курсовой работы:
- научиться правильно применять теоретические знания, практические навыки и умения, полученные в процессе учёбы в университете;
Реклама
- использовать свой практический опыт работы на машиностроительных предприятиях для решения профессиональных технологических и конструкторских задач;
- подготовиться к выполнению выпускной квалификационной работы;
Основными задачами курсовой работы являются:
- расширение, углубление, систематизация и закрепление теоретических знаний и применение этих знаний для разработки прогрессивных технологических процессов;
- развитие и закрепление навыков ведения самостоятельной творческой работы с привлечением средств ЭВМ;
- овладение методикой теоретико-экспериментальных исследований, выполняемых с целью совершенствования технологических процессов механосборочного производства, экономии ресурсов, повышения качества и снижения себестоимости;
При выполнении данной работы были разработаны технологические процессы сборки роликового домкрата 7035-4141 и механической обработки корпуса 7035-4141/003, а также технико-экономические обоснования принятых решений.
1. ИСХОДНАЯ ИНФОРМАЦИЯ ДЛЯ ВЫПОЛНЕНИЯ КУРСОВОЙ РАБОТЫ
Исходная информация для разработки курсовой работы по технологии машиностроения подразделяется на базовую, руководящую и справочную.
Базовая информация включает в себя:
- конструкторская документация на домкрат 7035-4141, и корпус 7035-4141/003;
- годовая программа выпуска домкрата – 13000 шт.;
- срок выпуска изделия по неизменной конструкторской документации – 1 год;
-сборочный чертёж домкрата;
-рабочий чертёж корпуса домкрата;
-технические условия на домкрат и корпус домкрата;
Руководящая документация включает:
- ГОСТ 14.301-83. Форма организации типовых или групповых технологических процессов сборки изделий;
- ГОСТ 3.1407-86. Требования к заполнению и оформлению технологических документов на технологические процессы и операции специализированные по методам сборки;
- ГОСТ 2.105-95. Общие требования к текстовым документам;
- ГОСТ 3.1107-81. ЕСТД. Опоры, зажимы и установочные устройства. Графическое обозначение;
- ГОСТ 14.306-73. Выбор средств технологического контроля сборки изделий в машиностроении;
- ГОСТ 25761-83. Виды обработки резанием. Термины и определения общих понятий;
- ГОСТ 25762-83. Обработка резанием. Термины, определения общих понятий;
- ГОСТ 14.004-83. ЕСТПП. Термины и определения основных понятий;
- ГОСТ 25142-82. Шероховатость поверхности. Термины и определения;
- ГОСТ 25751-83. Инструменты режущие. Термины и определения общих понятий;
- ГОСТ 21495-76. Базирование и базы в машиностроении. Термины и определения.
Справочная информация, используемая в курсовой работе, приведена в библиографическом списке.
2. ОБЩИЕ ПОЛОЖЕНИЯ
2.1 СЛУЖЕБНОЕ НАЗНАЧЕНИЕ ДОМКРАТА
Домкрат 7035-4141 представляет собой приспособление, служащее для поднятия грузов различной массы.
Он состоит из корпуса 4, в отверстие которого вставляется втулка 6 в сборе с державкой 3 и шарикоподшипниками 1,крепящимися к державке с помощью оси 2.Поднятие груза осуществляется с помощью гайки 8.Предохранительный винт 5 служит для снятия нагрузки с резьбы втулки. При поднятии, груз устанавливается на шарикоподшипники.
Закрепление домкрата на других приспособлениях осуществляется при помощи шпонок и шпоночных пазов, имеющихся на корпусе; масса изделия 4,5 кг.
2.2 ПРОИЗВОДСТВЕННАЯ ПРОГРАММА ВЫПУСКА ДОМКРАТА. ТИП ПРОИЗВОДСТВА
Принимаем двусменный режим работы при 41-часовой рабочей неделе. Действительный годовой фонд времени работы оборудования Фд.о
= 4015 ч. и рабочего Фд.р.
= 1860 ч. [1].
Годовая программа выпуска деталей 13000 шт.
При массе изделия 4,5 кг принимаем среднесерийный тип производства [1].
При среднесерийном производстве коэффициент закрепления операций Кзо
=10…20; Принимаем Кзо
=12;
Исходя из заданной годовой программы, рассчитываем месячное, суточное, сменное задание и такт выпуска:
месячное задание: П мес.
= П/12 = 13000/12 = 1083 шт.;
суточное задание: П сут
= П/250 = 13000/250 = 52 шт.;
задание на смену: П см
= П сут
/2 = 52/2 =26 шт.
Такт выпуска изделий:
;
где К3
- планируемый нормативный коэффициент загрузки оборудования, учитывающий простои по организационно-техническим причинам и регламентированные перерывы на отдых.
К3
= 0,92 [1],
П – годовая программа выпуска изделий, шт.
 
3.ТЕХНОЛОГИЧЕСКИЙ ПРОЦЕСС СБОРКИ ИЗДЕЛИЯ
3.1
АНАЛИЗ И РАЗРАБОТКА ТЕХНИЧЕСКИХ ТРЕБОВАНИЙ К ИЗДЕЛИЮ
Для выполнения служебного назначения к домкрату (приспособлению) 7035-4141 предъявляют следующие технические требования.
Требование 1
Несоосность оси подшипника 1 с осью паза корпуса не должно превышать 0,4 мм.
Невыполнение данного требования приведет к сильному смещению составных частей домкрата друг относительно друга и груза относительно поверхности на которой расположен домкрат.
Контроль технического требования производим решением размерной цепи А (рис.1 и 2).
В размерную цепь входят следующие звенья:
А1
– несоосность оси подшипника и оси паза державки 3;
А2
– несоосность оси паза державки 3 и оси цилиндрической части державки;
А3
– несоосность оси цилиндрической части державки и оси отверстия втулки 9;
А4
– несоосность оси отверстия втулки 9 и оси наружной цилиндрической поверхности этой же втулки;
А5
– несоосность оси наружной цилиндрической поверхности втулки 9 и оси отверстия в корпусе 4 ;
А6
– несоосность оси отверстия в корпусе 4 и оси паза в том же корпусе;
А∆
- несоосность оси подшипника 1 с осью паза корпуса.
Рис.1. Конструкторская размерная цепь А
Для выполнения домкратом своего служебного назначения допуск ТА∆
на отклонение от соосности оси подшипника 1 и оси паза равен 0,4 мм. Следовательно, ∆вА∆
= +0,2 мм; ∆нА∆
= -0,2 мм.Тогда ТА∆
= ∆вА∆
- ∆нА∆
= 0,2-(-0,2) = 0,4 мм;
∆оА∆
= 0 мм – середина поля допуска исходного звена.
Следовательно, А∆
= мм.
Рассчитываем номинальный размер всех составляющих звеньев [2]:
А∆
= 
А∆
=  
Номинальные размеры звеньев: А1
=А2
=А3
=А4
=А5
=А6
= 0 мм.

Рис.2. Схема линейной размерной цепи А
Рассчитываем среднюю величину допуска составляющего звена:
Тср
= ;
Тср
= мм.
Технически и экономически выдержать данный допуск на все звенья возможно. Следовательно, такой метод достижения точности вполне нас устраивает, поэтому расчет размерной цепи будем производить методом полной взаимозаменяемости.
Устанавливаем экономичные в данных производственных условиях допуски на размеры всех составляющих звеньев (табл.1):
Т = 0,1 мм; Т = 0,02 мм; Т = 0,1 мм; Т = 0,02 мм; Т =0,12 мм;
Таблица 1
Расчет размерной цепи методом полной взаимозаменяемости
| Обозначение звена |
Номинальный размер звена, мм |
Допуски Т , мм |
Коор-
динаты середин полей допусков D , мм
|
Переда-
точное отношение
|
Предельное отклонение размеров звеньев, мм |
| верхнее |
нижнее |
| А∆
|
0 |
0,4 |
0 |
+0,2 |
-0,2 |
| А1
|
0 |
0,1 |
0 |
+1 |
+0,05 |
-0,05 |
| А2
|
0 |
0,02 |
0 |
+1 |
+0,01 |
-0,01 |
| А3
|
0 |
0,1 |
0 |
+1 |
+0,05 |
-0,05 |
| А4
|
0 |
0,02 |
0 |
+1 |
+0,01 |
-0,01 |
| А5
|
0 |
0,12 |
0 |
+1 |
+0,06 |
-0,06 |
| А6
|
0 |
0,04 |
0 |
+1 |
+0,02 |
-0,02 |



Назначим координаты середин полей допусков на все составляющие звенья:
;
мм
.
Выполним проверку правильности расчётов допусков и координат середин полей допусков:




Рассчитываем предельные отклонения:
 












Рассчитываем предельные размеры по уравнениям:


Получаем:
  
  
  
  
  
  
Требование 2
Отклонение от параллельности торца корпуса и основания державки.
Невыполнение данного требования приведет к неправильному контакту корпуса и державки, что повлечёт за собой скос поднимаемого груза относительно нижней плоскости.
Схема контроля показана на рис.3.
Рис.3. Схема контроля параллельности торца корпуса относительно основания державки
Параллельности данных поверхностей можно проверить следующим образом. На основание державки наносится слой краски по всей плоскости. Затем её устанавливают в изделие и по пятнам краски, оставшейся на торце корпуса, определяют характер сопряжения.
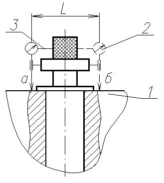
Требование 3
Отклонение от параллельности поверхностей роликов относительно установочной плоскости должно быть не более 0,1 мм на длине 300 мм.
Невыполнение данного требования повлечёт за собой скос поднимаемого груза относительно установочной плоскости.
Схема контроля показана на рис.4.

Рис.4.Схема контроля параллельности поверхностей роликов относительно установочной плоскости.
Индикатор 2 (ИГП, ГОСТ 6933-81, цена деления 0,005 мм) укрепляют на оправке 3, смонтированная на измерительной стойке так, чтобы его измерительный наконечник касался поверхности измерительной плиты 1. Отклонение определяется алгебраической разностью показаний индикатора 2 в точках А и Б.
3.2 ОТРАБОТКА КОНСТРУКЦИИ ИЗДЕЛИЯ НА ТЕХНОЛОГИЧНОСТЬ
Технологичность конструкции изделия должна в максимальной мере соответствовать технологическим требованиям производства, серийности и степени автоматизации сборки.
 Рис.5 Схема сборки домкрата: а - общая, б - узловая.
Основными показателями технологичности являются: показатели трудоемкости изготовления и технологическая себестоимость изделия.
Анализ технических требований производства, серийности, и степень автоматизации данного производства позволяет сделать заключение, что данный домкрат можно считать технологичным.
3.3 СХЕМА СБОРКИ ИЗДЕЛИЯ
Схему сборки составляем следующим образом: детали собираются в сборочные единицы 2 порядка (Рис5б), затем сборочные единицы 2-го порядка собираются в сборочную единицу 1-го порядка – домкрат (Рис5а).
3.4 МАРШРУТНЫЙ ТЕХНОЛОГИЧЕСКИЙ ПРОЦЕСС СБОРКИ ИЗДЕЛИЯ
Общая масса изделия 4,5 кг, тип производства – среднесерийный.
На основании составленной схемы сборки (см. рис.5) составляем маршрутно-операционный технологический процесс сборки изделия (табл.2) и производим его нормирование [3].
Таблица 2
Нормирование технологического процесса сборки домкрата 7035-4141 (общая сборка)
| № |
Содержание работы |
Факторы |
№ карты и позиция |
Оперативн. Время Топ
, мин. |
| 1 |
2 |
3 |
4 |
5 |
| 1. |
Взять гайку, установить на корпус. |
Масса гайки 0,1 кг. Наибольший размер 90 мм. |
К 38. стр.70
|
0,023
|
| 2. |
Завернуть втулку в гайку |
Размер втулки М52, длина завинчивания 40 мм. |
К 59. стр.108
|
0,21
|
| 3. |
Взять державку в сборе, установить в корпус. |
Масса державки 2,5 кг. Наибольший размер 155 мм. |
К 52. стр.97
|
0,052
|
| 4. |
Завернуть резьбовую втулку в корпус вручную. |
Размер втулки М20, длина завинчивания 11 мм. |
К 59. стр.108
|
0,1
|
| 5. |
Завернуть винт в резьбовую втулку вручную. |
Размер винта М10, длина завинчивания 30 мм. |
К 59. стр.108
|
0,18
|

6.
7.
|
Взять винт и завернуть на 2…3 нитки вручную.
Завернуть ручной слесарной отвёрткой.
|
Размер винта М5, длина завинчивания 10 мм.
Размер винта М5, длина завинчивания 10 мм.
|
К 54. стр.99
К 58. стр.105
|
0,057
0,105
|
Таблица 3
Нормирование технологического процесса сборки домкрата 7035-4141 (узловая сборка)
| № |
Содержание работы |
Факторы |
№ карты и позиция |
Оперативн. Время Топ
, мин. |
| 1 |
2 |
3 |
4 |
5 |
| 1. |
Взять подшипники, установить в державку. |
Масса подшипника 0,5 кг. Наибольший размер 50 мм. Количество 2 шт. |
К 38. стр.70
|
0,023*2=
0,046
|
2. |
Запрессовать две оси вручную.
Итого:
|
Масса оси 0,1 кг. Длина запрессовки 20 мм. Кол. 2 шт. |
К 48. стр.91
|
0,059*2=
0,118
0,891
|
Рассчитываем штучное время на сборочную операцию с учетом времени на обслуживание рабочего места и отдых [1]:

где - основное технологическое время, мин;
- вспомогательное время, мин;
- время на обслуживание рабочего места, мин;
- время на отдых и личные надобности, мин;
- поправочный коэффициент на оперативное время, учитывающий число приёмов, выполняемых сборщиком [4].





Штучно-калькуляционное время:

где - подготовительно-заключительное время, мин,


Определим число основных рабочих:

где - трудоёмкость сборки изделия, мин;
- коэффициент превышения нормы выработки.

Принимаем число основных рабочих 
Поскольку принятый режим работы двухсменный, сборку производит один человек в первую смену и один человек во вторую.
Число вспомогательных рабочих берут равным 20…40% от основных [4]:

Принимаем одного вспомогательного рабочего в первую и одного во вторую смены.
Расходы по зарплате основных рабочих:

где - часовая тарифная ставка четвёртого разряда для сборщиков, [4];
- средний тарифный коэффициент;
- суммарная годовая трудоёмкость сборки изделия;

Расходы по дополнительной зарплате основных рабочих принимаем в размере (6…12)% от основной зарплаты [4].

Суммарные годовые расходы по заработной плате основных рабочих:

Среднемесячная зарплата одного основного рабочего:

Расходы по прямой зарплате вспомогательных рабочих:

где - часовая тарифная ставка четвёртого разряда для повременщиков.

Годовой фонд премий вспомогательных рабочих принимаем равным 20% от расходов по прямой зарплате вспомогательных рабочих:

Суммарные годовые расходы по зарплате вспомогательных рабочих:

Среднемесячные расходы по зарплате одного вспомогательного рабочего:

Компоновка рабочего места сборщика приведена на рис.6.

Рис.6. Компоновка участка сборки: 1- стеллаж для приёма собранных изделий; 2 – верстак
3.5 ОФОРМЛЕНИЕ ТЕХНОЛОГИЧЕСКОЙ ДОКУМЕНТАЦИИ СБОРКИ ДОМКРАТА
Требования к заполнению и оформлению технологических документов на технологические процессы, специализированные по методам сборки, устанавливаются по ГОСТ 3.1407-86.
После разработки технологического процесса сборки заполняем технологические документы, в частности маршрутную карту слесарно-сборочных работ (см. приложение 1).
4. ТЕХНОЛОГИЧЕСКИЙ ПРОЦЕСС ИЗГОТОВЛЕНИЯ КОРПУСА
4.1 СЛУЖЕБНОЕ НАЗНАЧЕНИЕ КОРПУСА.
Корпус 7035-4141/003 является деталью домкрата и воспринимает осевую нагрузку при подъёме груза. Точность относительных перемещений составных частей домкрата зависит от точности относительного положения его поверхностей, а также от точности его линейных размеров.
В соответствии с этим корпус должен иметь требуемую точность положения поверхностей и отверстий, обладать требуемой жесткостью, что обеспечит требуемое относительное положение соединяемых деталей, правильности работы приспособления. Параллельность торцовых поверхностей должна находиться в пределах 0,03…0,05/300 мм. Перпендикулярность осей отверстий плоскостям торцев должна находиться в пределах 0,05/300 мм. Качество поверхностей торцев Rа = 1,25. материал стойки – Сталь 20Л. Масса детали 1,5 кг.
4.2 ВЫБОР ЗАГОТОВКИ И МЕТОДА ЕЁ ИЗГОТОВЛЕНИЯ
Правильный выбор метода получения заготовки оказывает непосредственное влияние на возможность рационального технологического процесса изготовления детали.
На основании чертежа стойки, результатов анализа его служебного назначения, технических требований, программы выпуска и типа производства, определяем способ получения заготовки.
Для этого при помощи пакета программ SAPR был проведен сравнительный анализ наиболее приемлемого способа получения заготовки (см. приложение 2) и выбран наиболее выгодный для среднесерийного производства способ получения заготовки – литьём в песчанные формы. (Эскиз отливки см. приложение 5)
4.3 ОТРАБОТКА КОНСТРУКЦИИ КОРПУСА НА ТЕХНОЛОГИЧНОСТЬ
Анализируя чертеж корпуса, можно сделать вывод, что он имеет недостаток: наличие 5 резьбовых отверстий различного диаметра, что ведёт к более частой смене РИ и соответственно к увеличению трудоёмкости изготовления. Приняв все отверстия одинакового размера М5, мы уменьшим трудоёмкость и соответственно себестоимость изготовления.
4.4 АНАЛИЗ И РАЗРАБОТКА ТЕХНИЧЕСКИХ ТРЕБОВАНИЙ К СТОЙКЕ
Для выполнения служебного назначения к корпусу 7035-4141/003 предъявляют следующие технические требования.
Требование 1
Отклонение от параллельности плоскости верхнего торца корпуса относительно нижней плоскости должно быть не более 0,05 мм на длине 300 мм.
Невыполнение данного требования приведет к неправильному сопряжению корпуса и державки.
Схема контроля показана на рис.7.
 Рис 7. Схема контроля параллельности плоскости корпуса.
Индикатор 2 (1ИГП, ГОСТ 6933-81, цена деления 0,005 мм) укрепляют на оправке 3, смонтированной так, чтобы его измерительный наконечник касался контролируемой поверхности корпуса 1. Отклонение определяется алгебраической разностью показаний индикатора 2 в точках А и Б.
Требование 2
Отклонение от перпендикулярности оси отверстия Ø52+0,06
корпуса относительно торцовой поверхности должно быть не более 0,05 мм на длине 300 мм.
Невыполнение данного требования приведет к неправильному сопряжению корпуса и державки.
Схема контроля показана на рис.8.

Рис.8. Схема контроля перпендикулярности оси отверстия корпуса относительно торцовой поверхности
Индикатор 2 (1 ИГП, ГОСТ 6933-81, цена деления 0,005 мм) укрепляют на муфте 3 так, чтобы его измерительный наконечник касался верхней плоскости корпуса 1. Вращая муфту, замеряют отклонения стрелки индикатора. Отклонение от перпендикулярности находят как разность между наибольшим и наименьшим показаниями индикатора в точках а и б (рис.9).
Требование 3
Несоосность оси отверстия Ø52+0,06
и оси паза должна быть не более 0,04 мм.
Невыполнение данного требования приведёт к неправильному расположению державки относительно установочной поверхности и, следовательно к неправильной траектории поднимаемого груза.
Схема контроля показана на рис. 9.
Рис. 9. Схема контроля несоосности оси отверстия Ø52+0,06
и оси паза.Индикатор 2 (1 ИГП, ГОСТ 6933-81, цена деления 0,005 мм) укрепляют на муфте 3 так, чтобы его измерительный наконечник касался образующей оправки 1. Вращая оправку, замеряют отклонения стрелки индикатора. Зная расстояние L и диаметр оправки D можно найти несоосность.
4.5. МЕТОДЫ ОБРАБОТКИ ПОВЕРХНОСТЕЙ ЗАГОТОВКИ
Выбор методов обработки поверхностей, в зависимости от применяемого технологического оборудования, представлен в табл.3:
Таблица 3
Методы обработки поверхностей заготовки
| № поверхностей |
Вид поверхности |
Варианты маршрута обработки |
| первый |
второй |
| 2,9 |
Плоская |
Фрезерование предварительное
Фрезерование окончательное
|
Фрезерование предварительное
Фрезерование окончательное
|
4,5,7
|
Плоская |
Фрезерование предварительное
Фрезерование окончательное
Шлифование однократное
|
Фрезерование предварительное
Фрезерование окончательное
Шлифование однократное
|
| 1 |
Плоская
|
Фрезерование предварительное
Фрезерование окончательное
Шлифование однократное
|
Фрезерование предварительное
Фрезерование окончательное
Шлифование однократное
|
| 6 |
Цилиндрическая внутренняя |
Растачивание предварительное
Растачивание окончательное
|
Растачивание предварительное
Растачивание окончательное
|
| 3,10 |
Цилиндрическая внутренняя |
Сверление |
Сверление |
| 8 |
Плоская |
Протягивание
однократное
|
Протягивание
однократное
|
| 11,12 |
Цилиндрическая внутренняя |
Сверление
Зенкерование
Нарезание резьбы
|
Сверление
Зенкерование
Нарезание резьбы
|
| 14 |
Коническая |
Растачивание однократное |
Растачивание однократное |
| 13 |
Плоская |
Фрезерование однократное |
Фрезерование однократное |
4.6 РАЗРАБОТКА МАРШРУТНОГО ТЕХНОЛОГИЧЕСКОГО ПРОЦЕССА ИЗГОТОВЛЕНИЯ КОРПУСА
Варианты маршрутного технологического процесса изготовления корпуса представлены в табл.4 и на первом листе графической части.
Таблица 4
Маршрутно-операционные технологические процессы изготовления корпуса
| № операции |
№ установки |
№ перехода |
Наименование и содержание операции
|
Оборудование |
| 1 |
2 |
3 |
4 |
5 |
| I вариант |
| 5 |
Фрезерная с ЧПУ |
Станок вертикально-фрезерный 6Р11МФ3-1 |
| А |
1 |
Фрезеровать поверхности 2,9 предварительно |
| 10 |
Фрезерная с ЧПУ |
Станок вертикально-фрезерный 6Р11МФ3-1 |
| А |
1 |
Фрезеровать поверхности 4,5,7 предварительно |
| 15 |
Программная |
Станок фрезерно-сверлильно расточной СС2В05ПМФ4 |
| А |
1 |
Фрезеровать поверхность 1 предварительно
Расточить отверстие 6 окончательно
Сверлить отверстия 3,10
|
| 17 |
Фрезерная с ЧПУ |
Станок вертикально-фрезерный 6Р11МФ3-1 |
| А |
1 |
Фрезеровать поверхности 4,5,7 окончательно |
| 18 |
Фрезерная с ЧПУ |
Станок вертикально-фрезерный 6Р11МФ3-1
|
| А |
1 |
Фрезеровать поверхности 1,2,9 окончательно |
| 20 |
Плоскошлифовальная |
Станок плоскошлифовальный 3Е721АФ1-1 |
| А |
1 |
Шлифовать поверхность 4 |
| 25 |
Плоскошлифовальная |
Станок плоскошлифовальный 3Е721АФ1-1 |
| А |
1 |
Шлифовать поверхности 5,7 |
| 30 |
Плоскошлифовальная |
Станок плоскошлифовальный 3Е721АФ1-1 |
| А |
1 |
Шлифовать поверхность 1 |
| 35 |
Алмазно-расточная |
Станок отделочно-расточной 2Е78П |
| А |
1 |
Расточить поверхность 6 окончательно |
| 40 |
Контроль |
Стол ОТК |
| II вариант |
| 5 |
Фрезерная с ЧПУ |
Станок вертикально-фрезерный 6Р11МФ3-1 |
| А |
1 |
Фрезеровать поверхности 4,5,7 предварительно |
| 10 |
Фрезерная с ЧПУ |
Станок вертикально-фрезерный 6Р11МФ3-1 |
| А |
1 |
Фрезеровать поверхности 1,2,9 предварительно |
| 15 |
Вертикально-расточная |
Координатно-расточной 2Б460Ф2 |
| А |
1 |
Расточить отверстие 6 предварительно |
| 17 |
Фрезерная с ЧПУ |
Станок вертикально-фрезерный 6Р11МФ3-1 |
| А |
1 |
Фрезеровать поверхности 4,5,7 окончательно |
| 18 |
Фрезерная с ЧПУ |
Станок вертикально-фрезерный 6Р11МФ3-1 |
| А |
1 |
Фрезеровать поверхности 1,2,9 предварительно |
| 20 |
Плоскошлифовальная |
Станок плоскошлифовальный 3Е721АФ1-1 |
| А |
1 |
Шлифовать поверхность 4 |
| 25 |
Плоскошлифовальная |
Станок плоскошлифовальный 3Е721АФ1-1 |
| А |
1 |
Шлифовать поверхности 5,7 |
| 30 |
Плоскошлифовальная |
Станок плоскошлифовальный 3Е721АФ1-1 |
| А |
1 |
Шлифовать поверхность 1 |
| 35 |
Алмазно-расточная |
Станок отделочно-расточной 2Е78П |
| А |
1 |
Расточить поверхность 6 окончательно |
| 45 |
Контроль |
Стол ОТК |
Оба варианта технологического процесса обеспечивают требуемую точность по выдерживаемым размерам (см. первый лист графической части). Второй вариант технологического процесса имеет меньшие суммарные погрешности по большинству размеров, поэтому для реализации принимаем второй вариант ТП.
4.7 РАЗРАБОТКА МАРШРУТНО-ОПЕРАЦИОННОГО ТЕХНОЛОГИЧЕСКОГО ПРОЦЕССА ИЗГОТОВЛЕНИЯ КОРПУСА
4.7.1 ВЫБОР ОБОРУДОВАНИЯ ДЛЯ ОБРАБОТКИ КОРПУСА
Для обработки корпуса выбираем станки с ЧПУ и многоцелевые станки, так как они удовлетворят условиям среднесерийного производства: обеспечивают большую концентрацию переходов, что сокращает количество оборудования, а также позволяют существенно сократить вспомогательное время и увеличить производительность. Марки станков (см. табл. 4).
4.7.2 ВЫБОР РЕЖУЩЕГО ИНСТРУМЕНТА ДЛЯ ОБРАБОТКИ КОРПУСА
Выбор режущего инструмента производим, руководствуясь таблицей 3 методы обработки поверхностей заготовки. В соответствии с этой таблицей выбираем для фрезерной обработки - фрезы: торцевые, концевые; для сверлильной обработки - свёрла: центровочные и свёрла для станков с ЧПУ; для растачивания - резцы: расточные; для шлифования - круги шлифовальные: прямоугольного профиля; для нарезания резьбы: метчики машинные; для зенкерования: зенкеры; для протягивания протяжку прямоугольного профиля; По конструкции фрезы и резцы: сборные с пластинами из твёрдого сплава;
свёрла, метчики, зенкеры, протяжки: цельные из быстрорежущей стали (см. приложение 4).
4.7.3 РАСЧЁТ МЕЖОПЕРАЦИОННЫХ ПРИПУСКОВ МЕХАНИЧЕСКОЙ ОБРАБОТКИ КОРПУСА
Расчёт межоперационных припусков на механическую обработку произведём для поверхности 6 (лист 1), одновременно обрабатываемых на 10 операции. Расчёт припусков осуществляется на размер Ø
Определяем минимальный припуск на предварительную обработку поверхности 6 [5]:

где - высота неровностей профиля на предшествующем переходе, мкм;
- глубина дефектного слоя на предшествующем переходе, мкм.
По табл.11 [5] принимаем 
- суммарные отклонения расположения поверхности, мкм;
,
где

где - коробление заготовки, мкм; (табл.15. [5])
и - длина и ширина поковки; мм.

погрешность смещения ,мкм
, где
допуски на расстояния от опорной и направляющей базы соответственно, получаемые при литье.
Для литья в песчанные формы они равны


Следовательно

- погрешность установки заготовки на выполняемом переходе;
В данном случае она равна 0.

Определим припуск на чистовую обработку:



Определим общий припуск на обработку:

Результаты расчётов припусков приведены в табл.5.
Таблица 5
Предельные размеры по технологическим переходам
| Маршрут обработки поверхностей 4 и 5 |
Элементы припуска, мкм |
Расчётный припуск, мм |
Расчётный размер, мм |
Допуск Т, мкм
|
Предельные размеры, мм |
Предельные значения припуска, мм |
 |
 |
 |
 |
 |
 |
 |
 |
| Литьё |
300 |
577 |
- |
- |
50 |
400 |
49,6 |
50 |
- |
- |
| Растач. предвар. |
117 |
34,62 |
- |
2*877 |
51,76 |
300 |
51,46 |
51,76 |
1,754 |
2,054 |
| Растач. окончат. |
28 |
1,38 |
- |
2*152 |
52,06 |
60 |
52 |
52,06 |
0,304 |
0,364 |
Общий припуск 
4.7.4 РАСЧЁТ РЕЖИМОВ РЕЗАНИЯ
Рассчитаем режимы резания на 40 операцию (сверление) вручную, а на 10, 35 и 45 операцию с помощью ЭВМ (приложение 3).
Расчёт режимов резания при сверлении производим в следующей последовательности:
Станок – вертикально-сверлильный 2Р135Ф2.
Инструмент – сверло ø17 Р6М5.
Определим глубину резанья:

где - диаметр сверла; мм 10

Определим подачу:
По табл.25, [5] при НВ 160…240, 
Определим скорость резания:

где - коэффициент; 17,1 (табл. 28, [5]);
q – показатель степени; 0,25 (табл. 28, [5]);
m – показатель степени; 0,125 (табл. 28, [5]);
- показатель степени; 0,4 (табл. 28, [5]);
T – период стойкости сверла, мин; 45 (табл. 30, [5]);
- общий поправочный коэффициент на скорость резания, учитывающий фактические условия резания:

где - коэффициент на обрабатываемый материал; 1 (табл. 4, [5]);
можно определить по формуле
,где


- коэффициент на инструментальный материал; 1 (табл. 6, [5]);
- коэффициент, учитывающий глубину сверления; 1 (табл. 31, [5])


Определим крутящий момент:

где = 0,0345 (табл. 32, [5]);
q = 2,0 (табл. 32, [5]);
y = 0,8 (табл. 32, [5]);
- коэффициент, учитывающий фактические условия обработки, определяется по формуле
где
n=1,


Определим осевую и поперечную силы:

где
(табл. 32, [5]);




Определим мощность резания:

где n – частота вращения сверла,


принимаем по станку n=275 об/мин

Определим основное и штучное время:




4.7.5 ОФОРМЛЕНИЕ ТЕХНОЛОГИЧЕСКОЙ ДОКУМЕНТАЦИИ
После выбора варианта технологического процесса переходим к оформлению технологической документации. Карты технологического процесса КТП согласно ГОСТ 3.1404-86 представлены в приложении 4.
4.8 ТЕХНИКО-ЭКОНОМИЧЕСКОЕ ОБОСНОВАНИЕ ВЫБРАННОГО ТЕХНОЛОГИЧЕСКОГО ПРОЦЕССА
Сравнение двух вариантов технологического процесса производим по приведённым затратам [5]:

где - приведенные затраты по i-му варианту;
- себестоимость изготавливаемых деталей, руб.;
- нормативный коэффициент народно-хозяйственных затрат;
- капитальные затраты по i-му варианту технологического процесса, руб.
Определим капитальные затраты [5]:

где - стоимость технологического оборудования, руб.;
- стоимость производственных площадей, руб.;
- стоимость технологической оснастки, руб.;
- затраты на технологичную подготовку производства, руб.
Определим стоимость технологичного оборудования

где Ф – балансовая стоимость оборудования, руб.[6];
- коэффициент загрузки оборудования;
m – число операций технологического процесса.


где Ф1 – балансовая фрезерного станка[6];
Ф2 – балансовая стоимость шлифовального станка[6];
Ф3 – балансовая стоимость сверлильного станка[6];
Ф4 – балансовая стоимость фрезерно-сверлильно-расточного станка[6];


Производственные площади, занимаемые технологическим оборудованием по первому варианту технологического процесса:

где - коэффициент, учитывающий дополнительную производственную площадь на проходы; 
f – производственная площадь, занимаемая оборудованием, м2
[6];


Удельные капитальные вложения в здания:

где - коэффициент загрузки оборудования; 0,8;

Стоимость технологической оснастки приходящая на одну единицу продукции:
[7].
Затраты на технологическую подготовку производства приходящие на одну единицу продукции:
[7].
Суммарные капитальные затраты на одну единицу продукции по первому варианту:

Капитальные затраты по второму варианту технологического процесса:

Стоимость технологической оснастки:
[7].
Затраты на технологическую подготовку производства
[7].
Суммарные капитальные на затраты на одну единицу продукции по второму варианту:

Приведенные капитальные затраты по первому варианту:

Приведенные капитальные затраты по второму варианту:

Сопоставляя полученные выше приведенные затраты на одну деталь, можно сделать вывод, что второй технологический процесс обработки стойки наиболее экономичен.
Годовой экономический эффект:


Таблица 7
Расчет себестоимости нормативным методом
| Показатель |
Первый вариант ТП |
Второй вариант ТП |
| Фрезерный станок 6Р11МФ3-1 |
Координатно-расточной станок 2В460Ф3 |
Сверлильный станок 2Р135Ф2 |
Фрезерно-сверлильно-расточной станок СС2В05ПМФ4 |
| 1 |
2 |
3 |
4 |
5 |
| Станкоёмкость, станко-минуты |
0,83 |
0,56 |
4,75 |
4,75 |
| Трудоёмкость, нормо-минуты |
2,1 |
1 |
6 |
6 |
| Разряд работы станочника |
4 |
4 |
4 |
4 |
| Сменность |
2 |
2 |
2 |
2 |
| Коэффициент, машино-час |
1,2 |
1,9 |
0,8 |
— |
| Годовая программа, шт. |
13000 |
13000 |
13000 |
13000 |
| Стоимость заготовки, руб. |
0,37 |
— |
— |
0,37 |
| Заработная плата станочника с начислениями |
14 |
7,5 |
51,4 |
52,2 |
| Затраты на содержание и эксплуатацию оборудования |
18,3 |
15,4 |
44,7 |
55,9 |
| Итого: себестоимость обработки + стоимость обработки |
151,67 |
108,47 |
5.
ТЕХНОЛОГИЧЕСКИЙ ПРОЦЕСС ИЗГОТОВЛЕНИЯ ВТУЛКИ
5.1 СЛУЖЕБНОЕ НАЗНАЧЕНИЕ ВТУЛКИ
Втулка является составной частью домкрата. Изготовлена из стали 40Х и служит для взаимной ориентации державки 7035-4141/002 и корпуса 7035-4141/003,а также выполняет роль базирующего элемента для державки. Кроме того на ней предусмотрена резьба М52-1,5, посредством которой осуществляется перемещение державки и груза в осевом направлении и паз на цилиндрической поверхности, который даёт возможность фиксации от перемещения державки с грузом в осевом направлении с помощью винта.
5.2 ВЫБОР ЗАГОТОВКИ И МЕТОДА ЕЁ ПОЛУЧЕНИЯ
Марка материала, из которой будет изготавливаться втулка - Сталь 40Х.
Правильный выбор метода получения заготовки и разработка ее чертежа оказывает непосредственное влияние на возможность рационального построения технологического процесса изготовления детали. Окончательное решение по выбору метода получения заготовки выносится на основе сравнения приведенных затрат на изготовления втулки по формуле:
W=Cчер
- Cотх
+Cсеб
,
где Cчер
- стоимость черновой обработки,
Cотх
- стоимость отходов,
Cсеб
- себестоимость получения заготовки.
Расчет себестоимости различных способов получения заготовки произведен с помощью ЭВМ (приложение 1).
Горячая объемная штамповка на молотах и прессах:
W1
=1.48 - 0,013 + 0,94 = 2,407 руб.
Ковка:
W1
=1.97 - 0,035 + 1.31 = 3.245 руб.
Прокат (круг, квадрат):
W1
=3.70 - 0.078 + 0.76 = 4.382 руб.
Холодное объемное деформирование:
W1
=1.57 - 0.003 + 1.07 = 2.637 руб.
Штамповка на горизонтально-ковочных машинах:
W1
=1.39 - 0.009 + 0.89 = 2.271 руб.
Анализируя данные технико-экономического расчета можно сделать вывод, что для условий массового производства и годовой программы выпуска валов 130000 шт. целесообразно получать заготовку для изготовления втулки 7035-4141/006 горячей объёмной штамповкой. Эскиз заготовки изображен на рисунке 10.

Рис. 10. Эскиз заготовки втулки
5.3 ОТРАБОТКА КОНСТРУКЦИИ ВТУЛКИ НА ТЕХНОЛОГИЧНОСТЬ
Отработка конструкции детали на технологичность преследует цель сокращения затрат времени и средств на технологическую подготовку производства и процесса его изготовления.
У втулки наружная цилиндрическая поверхность и отверстие Ø35 имеют фаски ,однако из-за опасности оплавления кромок у отверстия и ухудшения качества деталей для них рекомендуются фаски .
5.4 АНАЛИЗ И РАЗРАБОТКА ТЕХНИЧЕСКИХ ТРЕБОВАНИЙ КО ВТУЛКЕ
Техническое требование 1
Диаметр отверстия для установки державки должен быть равен Ø .
С учётом типа производства для контроля данного технического требования выбираем пробку. Втулка во время контроля находится в руках контролёра. Невыполнение данного требования может привести к появлению натяга в сопряжении втулки и державки, а следовательно к невозможности сборки изделия.
Техническое требование 2
Диаметр наружной цилиндрической поверхности втулки должен быть равен Ø .
С учётом типа производства для контроля данного технического требования выбираем скобу. Втулка во время контроля находится в руках контролёра. Невыполнение данного требования может привести к появлению натяга в сопряжении втулки и корпуса, а следовательно к невозможности сборки изделия.
5.5 ВЫБОР МЕТОДОВ ОБРАБОТКИ ПОВЕРХНОСТЕЙ ЗАГОТОВКИ
В зависимости от требований, предъявляемых к точности размеров, формы, относительного расположения и шероховатости поверхностей вала с учетом ее размеров, конструкции, ориентируясь на таблицы средней экономической точности различных методов обработки [7, с.178-184], а также оправданностью данных методов в условиях массового производства предлагаем следующие методы обработки поверхностей, представленные в таблице 1.
Выбор методов обработки поверхностей
| Вид поверхности |
Метод обработки |
| Торцы |
Точение |
| Наружные цилиндрические поверхности |
Точение, шлифование |
| Фаски, галтели |
Точение |
| Внутренние цилиндрические поверхности |
Точение |
| Резьба |
Точение, резьбонарезание |
5.6 РАЗРАБОТКА МАРШРУТНОГО ТЕХНОЛОГИЧЕСКОГО ПРОЦЕССА ИЗГОТОВЛЕНИЯ ВТУЛКИ
Маршрутный технологический процесс изготовления втулки 7035-4141/006 рассмотрен в таблице 8 пояснительной записки. Эскиз втулки показан на рисунке 11.

Рис. 11. Эскиз втулки
Таблица 8
Технологический процесс обработки заготовки втулки
№
опер.
|
№
стан.
|
№
перехода
|
Наименование и содержание операции |
Оборудование |
| 1 |
2 |
3 |
4 |
5 |
05
|
Автоматно-линейная
|
Автоматическая линия
|
| 1 |
2
|
Токарная автоматная
Расточить отверстие 12 предварительно
Подрезать фаску 11
|
Токарный полуавтомат 1А425 |
| 3 |
Подрезать торец 10 окончательно
Подрезать фаску 9
|
| 2 |
5
|
Токарная автоматная
Точить поверхность 6 предварительно
|
Токарный полуавтомат 1А425 |
| 6 |
Подрезать торец 2 окончательно
Подрезать фаску 1
|
| 3 |
8
|
Токарная автоматная
Расточить отверстие 12 предварительно
|
Токарный полуавтомат 1А425 |
| 9 |
Расточить отверстие 12 окончательно |
| 4 |
11
|
Токарная автоматная
Точить поверхность 6 окончательно
|
Токарный полуавтомат 1А425 |
| 5 |
13
|
Фрезерная
Фрезеровать паз 8
|
Фрезерный с ЧПУ
6Р11Ф3-1
|
| 10
|
Агрегатная
|
Агрегатный |
1
|
Сверлить отверстие 4
|
2
|
Нарезать резьбу 5
|
| 20
|
Внутришлифовальная
Шлифовать отверстие 12
|
Внутришлифовальный станок 3К227 |
25
30
|
Круглошлифовальная
Шлифовать поверхность 6
Резьботокарная
Точить поверхность 7
|
Круглошлифовальный станок 3М150
Токарный полуавтомат 1А425
|
5.7 РАЗРАБОТКА МАРШРУТНО-ОПЕРАЦИОННОГО ТЕХНОЛОГИЧЕСКОГО ПРОЦЕССА ИЗГОТОВЛЕНИЯ ВТУЛКИ
5.7.1 ВЫБОР ОБОРУДОВАНИЯ ДЛЯ ОБРАБОТКИ ВТУЛКИ
Для обработки втулки выбираем станки автоматы и агрегатные станки, так как они удовлетворят условиям массового производства: сокращается количество оборудования и вспомогательное время. Для ещё большего сокращения вспомогательного времени в условиях массового производства применяется вспомогательное оборудование: автооператоры и промышленные роботы. Марки станков (см. табл. 9).
5.7.2 ВЫБОР РЕЖУЩЕГО ИНСТРУМЕНТА ДЛЯ ОБРАБОТКИ ВТУЛКИ
Выбор режущего инструмента производим, руководствуясь таблицей 8 методы обработки поверхностей заготовки. В соответствии с этой таблицей выбираем для фрезерной обработки фрезу: концевую; для сверлильной свёрла: центровочные и свёрла для станков с ЧПУ и автоматических линий; для растачивания и точения резцы: проходные, расточные, подрезные; для шлифования круги шлифовальные: прямоугольного профиля; для нарезания резьбы: метчики машинные. По конструкции резцы: сборные с пластинами из твёрдого сплава; свёрла, метчики, фреза: цельные из быстрорежущей стали (см. приложение 8).
5.7.3 РАЗМЕРНЫЙ АНАЛИЗ ТЕХНОЛОГИЧЕСКОГО ПРОЦЕССА ИЗГОТОВЛЕНИЯ ВТУЛКИ
Размерный анализ является одним из важнейших этапов проектирования технологического процесса обработки заготовок. Размерный анализ проектируемого технологического процесса позволяет решать следующие задачи:
1. Обоснованно назначить операционные размеры и технические требования для всех операций (переходов);
2. Определить минимально необходимые операционные и промежуточные припуски для каждой операции механической обработки;
3. Назначить такие размеры исходной заготовки, при которых обеспечивается съем минимальных общих припусков на обработку и, следовательно, максимальный коэффициент использования металла.
4. Установить наиболее предпочтительную структуру технологического процесса.
В технологических процессах механической размерной обработки заготовок между переходами и операциями возникают размерные связи, которые представляют в форме технологических размерных цепей. Размерный анализ представляет собой фактически расчет системы связанных между собой технологических размерных цепей.
В ходе размерного анализа выявляют операционные размерные цепи, которые можно изобразить отдельно друг от друга, а также записать в виде уравнений. Общее число уравнений равно числу замыкающих звеньев на размерной схеме технологического процесса.
Уравнения операционных размерных цепей удобнее всего записывать с помощью цифровых кодов.
К началу расчетов должны быть известны все уточненные исходные данные. Для вновь проектируемого технологического процесса это сведения:
- о величинах предельных отклонений размеров исходной заготовки, величинах операционных допусков (погрешности технологической системы) на все операционные размеры (см. [3]);
- о минимальных величинах припусков на все переходы механической обработки;
В данной курсовой работе составление технологических размерных цепей и решение соответствующей им системы линейных уравнений производился при помощи ПЭВМ с использованием прикладной программы «Ракурс».
Размерный анализ технологического процесса представлен на четвёртом листе графической части курсового проекта.
Расчет размерного анализа произведен на ЭВМ и представлен в приложении 8.
Таблица 9
Припуски на обработку
| №-операции |
№-
станции
|
Границы
звена
|
Припуски, мм |
| Min значение |
Max значение |
| Осевые |
5
|
1 |
[18-19] |
1.000 |
2.250 |
| [78-79] |
1.000 |
2.350 |
| 2 |
[89-88] |
1.000 |
1.700 |
| 20 |
[39-38] |
0.810 |
1.085 |
| 25 |
[29-28] |
0.550 |
0.880 |
| Диаметральные |
| 5 |
1 |
[126-125] |
0.100 |
1.150 |
| 2 |
[106-107] |
0.100 |
1.700 |
| 3 |
[127-126] |
0.250 |
0.862 |
| [128-127] |
0.088 |
0.389 |
| 4 |
[107-108] |
0.250 |
0.824 |
| 20 |
[129-128] |
0.041 |
0.265 |
| 25 |
[108-109] |
0.046 |
0.270 |
5.7.4
ОФОРМЛЕНИЕ ТЕХНОЛОГИЧЕСКОЙ ДОКУМЕНТАЦИИ
После выбора оборудования технологического процесса переходим к оформлению технологической документации. Карты технологического процесса КТП согласно ГОСТ 3.1404-86 представлены в приложении 8.
6. РАСЧЁТ И ПРОЕКТИРОВАНИЕ ПРИСПОСОБЛЕНИЯ ДЛЯ РАСТАЧИВАНИЯ
6.1 ТЕХНИЧЕСКОЕ ЗАДАНИЕ НА ПРОЕКТИРОВАНИЕ ПРИСПОСОБЛЕНИЯ
Техническое задание на проектирование приспособления для растачивания домкрата оформляем в виде таблицы 8.
Таблица 10
Техническое задание на проектирование приспособления для растачивания
| Раздел |
Содержание раздела |
| 1 |
2 |
| Наименование и область применения |
Приспособление для растачивания отверстия в корпусе |
| Основание для разработки |
Карта технологического процесса механической обработки корпуса |
| Цель и назначение разработок |
Проектируемое приспособление должно обеспечивать: точную установку и надёжное закрепление корпуса, постоянное во времени положение заготовки относительно оси центров станка и режущего инструмента, с целью получения необходимой точности размеров и их расположения относительно других поверхностей заготовки |
| Технические требования |
Тип производства: среднесерийное.
Программа выпуска – 13000 шт./год
Установочные и присоединительные размеры приспособления должны соответствовать станку 2В460Ф3.
Обеспечить регулирование и настройку приспособления. Время закрепления заготовки не более 0,1 мин.
Входные данные о заготовке поступающей на расточную операцию:
– заготовка – отливка;
– материал сталь 40Х;
– масса заготовки 0.52 кг;
– масса детали 0.4 кг;
– наружные размеры 120
120
75
– шероховатость Ra = 12,5 мкм
– шероховатость установочной базы Ra= 6,3 мкм
|
| 1 |
2 |
Выходные данные:
– наружные размеры 180
135
100, Ra = 6,3 мкм.
|
| Режимы резания при растачивании на данной операции: |
| Глубина резания при черновой обработке |
t = |
1.4 |
мм |
| Скорость резания |
V = |
297,58 |
м/мин; |
| Частота вращения борштанги |
n = |
1000 |
об/мин; |
| Подача на оборот |
Sо = |
0,25 |
мм/об; |
| Силы резания |
Pz = |
520.4 |
Н; |
| Py = |
121,571 |
H |
| Px = |
319,414 |
H; |
| Основное технологическое время |
To = |
0.4 |
мин; |
| Мощность резания |
N = |
1,625 |
кВт. |
Технические характеристики станка 6Г82:
– диаметр растачиваемого отверстия, мм; 28-200
– габарит устанавливаемого изделия, мм; 
– частоты вращения шпинделя 26…1200 об/мин;
– регулирование скоростей ступенчатое;
– подачи шпинделя 0,025…0,200 мм/об;
– ширина Т - образного паза 12 мм.
Характеристика режущего инструмента:
– тип инструмента: резец расточной.
– Инструментальный материал Т15К6
Операция выполняется за один переход.
Штучное время на операцию приведены в маршрутной карте.
|
| Документация, используемая при разработке |
ЕСТПП. Общие правила обеспечения технологичности конструкций изделий |
| Документация, подлежащая разработке |
Пояснительная записка (раздел – конструкторская часть), чертеж общего вида для технического проекта приспособления для фрезерования (лист 3 графической части; спецификация (приложение) |
| Экономические показатели |
Срок окупаемости затрат на освоение и разработку производства продукции 1 год |
Выбор вида станочного приспособления производим на ЭВМ. Критерием выбора той или иной системы приспособлений являются минимальные относительные затраты и цикл оснащения производства.
Результаты выбора вида рациональной системы станочных приспособлений приведены в приложении 9.
Из предложенных вариантов выбираем систему УСП.
6.2 РАСЧЁТ И ПРОЕКТИРОВАНИЕ ПРИСПОСОБЛЕНИЯ
6.2.1 РАСЧЁТ СИЛ ЗАЖИМА
Для расчета сил зажима заготовки в приспособлении составим расчетную схему приспособления.

Рис. 12. Расчетная схема приспособления
При обработке заготовки, установленной на пластинах и прижимаемой к направляющей базе, под действием составляющей силы резания Pz
возможно смещение заготовки относительно установочной базы, которое предотвращаются силами трения, возникающими в местах контакта заготовки с направляющей базой и зажимным устройством.
Условие равновесия примет вид:

где - коэффициент запаса надежности,
k0
- гарантированный коэффициент запаса для всех случаев обработки, k0
=1,5 /2/;
k1
- коэффициент, учитывающий наличие случайных неровностей на заготовке, k1
=1/2/;
k2
- коэффициент, учитывающий увеличение сил резания от прогрессирующего затупления режущего инструмента в зависимости от метода обработки, k2
=1,6 /2/;
k3
- коэффициент, учитывающий увеличение сил резания при прерывистой
обработке, k3
=1,2 /2/;
k4
- коэффициент, учитывающий изменение зажимного усилия, k4
=1/2/;
k5
- коэффициент, характеризующий эргономику ручных зажимных устройств,
k5
=1 /2/;
k6
- коэффициент, учитывающий наличие момента, стремящегося повернуть заготовку на опорах, k6
=1 /2/.

Т1
, Т2
, Т3
– силы трения в местах контакта установочной базы заготовки с установочными поверхностями приспособления, Н;
где f2
– коэффициент трения заготовки с опорой, f1
= 0,2 /2/;
Q
– сила зажима, Н;
Т4
, Т5
– силы трения в местах контакта заготовки с прихватами, Н;
Т4
=Т5
=2 ·
Q
·
f
1
где f1
– коэффициент трения заготовки с прихватами, f1
= 0,16 /2/.
Найдём силу 

Из условия равновесия:
Таким образом, необходимая сила зажима 
Найдём давление в системе:
(где S площадь гидроцилиндра);
 

6.2.2 РАСЧЁТ ПРИСПОСОБЛЕНИЯ НА ТОЧНОСТЬ ИЗГОТОВЛЕНИЯ
Определить необходимую точность приспособления для обеспечения перпендикулярности А=0,1 мм. на длине 300 мм.

Рис.13 Схема для расчёта приспособления на точность
1. Погрешность базирования ωб
=0 мм ;
2. Погрешность закрепления ωз
= 0 мм.
3. Погрешность установки фактическая

4. Погрешность технологической системы ωтс
= 0,06 мм,
Поправочный коэффициент kп
= 0,7 (для размеров выполненных по 9 квалитету и грубее);
Суммарная погрешность обработки:

5. Допустимая погрешность установки

ТБ
- допуск выдерживаемого размера, ТБ
= 0,1 мм

Следовательно, ωу
<<[ωу
] и предлагаемая схема базирования допустима.
6. Суммарная погрешность приспособления

7. Допуск на расчетный размер собранного приспособления

где εуп
- погрешность установки приспособления на станке,

где L - длина обрабатываемой заготовки, мм;
L = 120 мм;
S1
- максимальный зазор между направляющей шпонкой приспособления и пазом стола станка; S1
=0,041 мм для посадки 12Н7/h7;
l – расстояние между шпонками, мм;
l = 460 мм;

εз
- погрешность, возникающая вследствие конструктивных зазоров, необходимых для посадки заготовки на установочные элементы приспособления; εз
= 0.
εп
- погрешность смещения инструмента при настройке по установу; εз
= 0.
Tc
=0,058-(0,01 + 0 + 0) = 0,048 мм.
ЗАКЛЮЧЕНИЕ
В результате проведённого анализа конструкции корпуса 7035-4141/003 была проведена отработка её на технологичность, что позволило сократить затраты на операции сборки, уменьшить трудоёмкость.
Правильный выбор метода получения заготовки корпуса 7035-4141/003, а также отработка его конструкции на технологичность и применение станков с ЧПУ позволили обеспечить большую концентрацию переходов на операциях и повысить точность технологического процесса. Были разработаны основные технические требования на корпус и втулку, и приведены схемы и устройства их контроля.
Для корпуса было разработано два варианта ТП, и проведён их анализ точности на первом листе графической части. Оба варианта обеспечивают заданную точность и содержат одинаковое количество операций, но второй вариант технологического процесса имеет меньшие суммарные погрешности по большинству размеров, и меньшие приведенные капитальные затраты.
Сопоставляя полученные приведенные затраты на одну деталь, можно сделать вывод, что второй технологический процесс обработки корпуса наиболее экономичен - годовой экономический эффект 81540 руб.
Разработан ТП на втулку для условий массового производства и проведён её размерный анализ, в результате которого определены припуски на обработку и операционные размеры, а также размеры исходной заготовки.
Спроектировано и рассчитано, в соответствии с техническим заданием, приспособление для растачивания отверстия. Рассчитаны сила зажима и точность приспособления. Рассчитанная точность приспособления составляет 0,048 мм.
БИБЛИОГРАФИЧЕСКИЙ СПИСОК
1. Худобин, Л. В. Курсовое проектирование по технологии машиностроения: учебное пособие для машиностроительных специальностей вузов / Л.В. Худобин, В.Ф. Гурьянихин, В.Р. Берзин. - М.: Машиностроение,1989. - 288 с.
2. Худобин, Л. В. Разработка технологических процессов сборки в курсовых и дипломных проектах: учебное пособие / Л. В. Худобин, В. Ф. Гурьянихин, В. Р. Берзин, - Ульяновск: УлГТУ, 1995. – 80 с.: ил.
3. Общемашиностроительные нормативы времени на слесарную обработку деталей и слесарно-сборочные работы по сборке машин. Мелкосерийное и единичное производство.-М.: Машиностроение, 1974.-512 с.
4. Маталин, А.А. Технология машиностроения: учебник для машиностроительных вузов по специальности “Технология машиностроения, металлорежущие станки и инструменты” / Маталин А. А. Л.- М: Ленингр. отделение 1985. - 496 с., ил.
5. Справочник технолога – машиностроителя. В 2-х т / под ред. А.Г. Косиловой и Р. К. Мещерякова.– 4-е изд., перераб. и доп.-М.: Машиностроение, 1985.-494 с.
6. Металлорежущие станки. Номенклатурный каталог / -М.: ВНИИТЭМР, 1992.-312с.
7. Трусова, Л.И. Организационно-экономическая часть в дипломных проектах: учебное пособие / Трусова Л. И., Богданов В. В. – Ульяновск: УлГТУ, 1999. - 109 c.
8. Кузнецов, Ю.И. Конструкции приспособлений для станков с ЧПУ: Учебное пособие для СПТУ/ Кузнецов Ю.И.- М.:Высш. Шк. 1988.- 303 с.: ил.
9. Веткасов, Н.И. Курсовое проектирование по автоматизации производственных процессов в машиностроении: учебное пособие /
Веткасов Н.И. - Ульяновск: УлГТУ, 1998. - 144 c.
10. Белов, М.А. Размерный анализ технологических процессов обработки заготовок: учебное пособие/ Белов М.А., Унянин А.Н. – Ульяновск: УлГТУ, 1997. - 148 c.; ил.
11. Кузнецов, В.С. Универсальные сборные приспособления в машиностроении. Альбом чертежей. 3-е издание, дополненное и переработанное. -М.: Машиностроение 1971.-288с.
|