Содержание
Введение
1 Сцепление
1.1 Определение усилия на педали сцепления
1.2 Определение показателей износостойкости сцепления
1.3 Расчет коэффициента запаса сцепления при износе накладки на 1мм
1.4 Прочностной расчет ступицы ведомого диска
2. Рулевое управление
2.1 Кинематический расчет рулевого привода
2.2Определение усилия на рулевом колесе при повороте колес на месте
2.3 Прочностной расчет рулевого механизма и рулевого привода
2.4 Расчет гидроусилителя, определение производительности и необходимой мощности на привод насоса гидроусилителя
3. Тормозная система
3.1 Определение усилия на педали тормоза
3.2 Определение показателей износостойкости тормозного механизма
3.3 Расчет тормозного привода
3.4 График оптимального распределения тормозных сил по осям
4. Подвеска
4.1Определение показателей плавности хода автомобиля
4.2 Расчет упругих элементов
4.3 Расчет направляющих элементов
4.4 Расчет демпфирующих элементов
Выводы
Список литературы
Приложение
Введение
Перед автомобильной промышленностью и автомобильным транспортом поставлены задачи совершенствования конструкций транспортных средств, повышения их производительности, снижения эксплуатационных затрат, повышения всех видов безопасности. В результате интенсивного совершенствования конструкции автомобилей, более частого обновления выпускаемых моделей, придания им высоких потребительских качеств, отвечающих современным требованиям, возникает необходимость повышения уровня знаний. Конструкции автомобилей непрерывно совершенствуются. Тенденции развития конструкций автомобилей обусловлены как экономическими, так и социальными причинами. Экономические причины определяют тенденцию повышения топливной экономичности как легковых, так и грузовых автомобилей, что в настоящее время стало одним из ведущих направлений современного автостроения. Социальными причинами обусловлена тенденция повышения безопасности автомобилей. Автомобиль – объект повышенной опасности. Поэтому необходимо совершенствование активной и пассивной безопасности автомобиля. Автомобиль является источником загрязнения окружающей среды отработавшими газами (окись углерода, окислы азота). Это определяет непрерывное повышение требований экологической безопасности автомобиля. Следует также отметить тенденцию автоматизации управления автомобилем, которая обеспечивается современными средствами электронной, микропроцессорной техники и направлена на повышение топливной экономичности и динамики автомобиля (управление двигателем и трансмиссией), активной безопасности (управление тормозной системой), комфортабельности (управление подвеской и др.).
Данный курсовой проект является анализом рабочих процессов агрегатов (сцепления, подвески автомобиля), систем управления автомобиля (рулевого и тормозного управлений) и кинематическим и прочностным расчетом механизмов и деталей автомобиля на примере автомобиля Москвич-2140.
Забиваем Сайты В ТОП КУВАЛДОЙ - Уникальные возможности от SeoHammer
Каждая ссылка анализируется по трем пакетам оценки: SEO, Трафик и SMM.
SeoHammer делает продвижение сайта прозрачным и простым занятием.
Ссылки, вечные ссылки, статьи, упоминания, пресс-релизы - используйте по максимуму потенциал SeoHammer для продвижения вашего сайта.
Что умеет делать SeoHammer
— Продвижение в один клик, интеллектуальный подбор запросов, покупка самых лучших ссылок с высокой степенью качества у лучших бирж ссылок.
— Регулярная проверка качества ссылок по более чем 100 показателям и ежедневный пересчет показателей качества проекта.
— Все известные форматы ссылок: арендные ссылки, вечные ссылки, публикации (упоминания, мнения, отзывы, статьи, пресс-релизы).
— SeoHammer покажет, где рост или падение, а также запросы, на которые нужно обратить внимание.
SeoHammer еще предоставляет технологию Буст, она ускоряет продвижение в десятки раз,
а первые результаты появляются уже в течение первых 7 дней.
Зарегистрироваться и Начать продвижение
1 Сцепление
автомобиль сцепление рулевое тормозное
1.1 Определение усилия на педали сцепления
Максимальный момент Mс, передаваемый сцеплением, рассчитывается по формуле:
Н∙м; (1.1)
где: β - коэффициент запаса сцепления;
Меmax - максимальный крутящий момент двигателя;
Pс
- усилие пружин сцепления;
= 0,3 - коэффициент трения;
Rcp - средний радиус дисков;
i - число пар поверхностей трения.
Определение прижимного усилия на нажимной диск сцепления:
Н; (1.2)
Средний радиус дисков вычисляется по формуле:
; (1.3)
где: R = 102мм - наружный диаметр диска;
r = 73мм - внутренний радиус диска.
В гидравлическом приводе общее передаточное число рассчитываем по формуле:
(1.4)
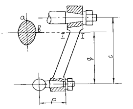
где: a,b,c,d,e,f – длины плеч рычагов, мм;
d1
и d2
– диаметры главного и рабочего цилиндра.
Принимаем: a=326мм; b=48мм; c=116мм; d=64мм; e=56мм; f=16мм; d1
=22мм; d2
=22мм.
Рисунок 1 - Кинематическая схема привода сцепления
Усилие на педали сцепления
(1.5)
где - прижимное усилие на нажимной диск сцепления;
- КПД привода.
1.2 Определение показателей износостойкости сцепления
Минимально возможная работа буксования сцепления определяется по формуле:
(1.6)
где: ne
= 800 об/мин - частота включения коленвала перед включением сцепления;
JA
-момент инерции автомобиля, приведенный к валу сцепления на 1 передаче КПП:
; (1.7)
где: та
-
масса автомобиля;
rк
- радиус колеса;
uК
–передаточное число КПП
UГ
- nepeдаточное число главной передачи.

Je
=0,19 кгм2
–момент инерции вращающихся частей двигателя;

Удельная работа буксования определяется по формуле
; (1.8)

Приращение температуры деталей сцепления при трогании автомобиля с места, без учета теплоотдачи в окружающую среду:
; (1.9)
где: γ - доля работы буксования, приходящаяся на нагреваемую деталь(γ=0,5);
С - теплоемкость детали (0,115 ккал/кг*град);
Gg
-
масса,
детали,кг.
Для нажимного диска:
;
1.3 Расчет коэффициента запаса сцепления при износе накладки на 1мм.
Cуммарное прижимное усилие пружин определяется по формуле:
; (1.10)
где: деформация пружины, м
;
модуль упругости первого рода; высота пружины, м
;
толщина пружины, м
;
a , b
и c –
параметры пружины.
Параметры пружины а, b, c представлены на рисунке 2:

Рисунок 2 – Диафрагменная пружина
Принимаем: м;
а=0,078м;
b=0,1м;
c=0,068м;
H=0,0064м;
Модуль упругости определяется по формуле:
; (1.11)
.
В итоге получается:
При

Результаты расчетов занесем в таблицу 1.1
Таблица 1.1 – Результаты расчета прижимного усилия нажимных пружин
Сервис онлайн-записи на собственном Telegram-боте
Попробуйте сервис онлайн-записи VisitTime на основе вашего собственного Telegram-бота:
— Разгрузит мастера, специалиста или компанию;
— Позволит гибко управлять расписанием и загрузкой;
— Разошлет оповещения о новых услугах или акциях;
— Позволит принять оплату на карту/кошелек/счет;
— Позволит записываться на групповые и персональные посещения;
— Поможет получить от клиента отзывы о визите к вам;
— Включает в себя сервис чаевых.
Для новых пользователей первый месяц бесплатно.
Зарегистрироваться в сервисе
| Деформация, м |
0,001 |
0,0015 |
0,002 |
0,0025 |
0,003 |
0,0035 |
0,004 |
0,0045 |
| Прижимное усилие, Н |
2650 |
3488 |
3920 |
4112 |
4005 |
3828 |
3670 |
3580 |
На основании данной формулы построен график зависимости прижимного усилия от деформации пружин рисунок 3;
На графике значению PΣ
= 3692 Н
соответствует прогиб 0,00425 м
. При износе накладки на 1 мм
прогиб будет 0,00225 м
. Этому значению соответствует PΣ
= 4060Н.

Рисунок 3 – График характеристики пружины
Определим коэффициент запаса сцепления при износе накладки на 1 мм:

1.4 Прочностной расчет ступицы ведомого диска.
Шлицы рассчитываются на срез и смятие по формуле:
; (1.12)
где:
(1.13)
(1.14)
(1.15)
L-длина шлиц;
a=0,75;


Допускаемое напряжение:
(1.16)
Где: b
-ширина шлиц.
Вывод: Рассчитанные напряжения не превышают допустимых, значит условие выполнено.
2. Рулевое управление
2.1 Кинематический расчет рулевого механизма
При движении автомобиля на повороте рулевой привод должен обеспечивать качение управляемых колес без бокового скольжения. При этом управляемые колеса должны быть провернуты на разные углы, значения которых (без учета угла бокового увода шин) связаны зависимостью:
(2.1)
где: - база автомобиля;
- расстояние между шкворнями;
и - углы поворота соответственно наружного и внутреннего колес.
Принимаем: = 2400мм
=1009мм
Максимальный угол поворота наружного колеса определяется по формуле:
(2.2)
Принимаем =5,25м.
Определим максимальный угол поворота наружного колеса:
Из формулы (2.1) выводим формулу зависимости угла поворота внутреннего колеса от угла поворота наружного колеса:
;


Рисунок 2- Определение зависимости углов поворота колес графическим методом
Результаты определения зависимости угла поворота внутреннего колеса от угла поворота наружного колеса теоретическим и графическим методами сносим в общую таблицу 2.1
Пример вычисления:
При aн
=3 град:
;
Таблица 2.1- результаты вычислений
 |
5 |
10 |
15 |
20 |
25 |
30 |
35 |
 |
4,5 |
9,3 |
13,4 |
17,3 |
21 |
24,3 |
28 |
 |
4,4 |
9 |
12,9 |
16,5 |
19,7 |
22,7 |
25,6 |
На рисунке 2.1 изображена теоретическая и графическая зависимости между углами поворота внутреннего и внешнего управляемого колес автомобиля.
2.2 Определение усилия на рулевом колесе при повороте колес на месте
Кинематическое передаточное число рулевого управления определяется по формуле:
(2.3)
где - угловые передаточные числа соответственно рулевого механизма и рулевого привода.
Принимаем: =16,12; =1
Подставив данные значения в формулу (2.3) получим:
(общие технические сведения);
Момент сопротивления повороту управляемых колес складывается из момента сопротивления, связанного с плечом обкатки, трением в пятне контакта, поперечным наклоном шкворня:
(2.4)
Значения и определяются по формулам:
(2.5)
(2.6)
где: - вес, приходящийся на переднюю ось;
f - коэффициент сопротивления качению;
a- плечо обкатки;
j - коэффициент сцепления шины с полотном дороги;
rj
- эквивалентный радиус сил трения.
Принимаем: .
=6678Н
f =0,015;
a=0,025м;
j =0,85.
Подставив значения в формулы (2.4)-(2.6) получим:



Усилие, прикладываемое водителем к рулевому колесу, определяется по формуле:
(2.7)
где: - КПД рулевого механизма
- КПД рулевого привода
- радиус рулевого колеса
Принимаем: =0,85
=0,90
=0,2м
После подстановки данных в формулу (2.7) получим:
2.3 Прочностной расчет рулевого механизма и рулевого привода
В автомобиле Москвич 2140 в качестве рулевого механизма применяют глобоидную пару «червяк-ролик».
Осевое усилие на винте определяется по формуле:
;(2.8)
где: - начальный радиус винтовой линии червяка по наименьшему сечению;
- угол наклона винтовой линии;
- усилие, прикладываемое водителем на рулевом колесе;
- радиус рулевого колеса.
Принимаем: =0,03м

=400Н
=0,2м
Подставив данные в формулу (2.8) получим:
Н
Контактная площадь определяется по формуле:
(2.9)
Принимаем: =1,099рад
=0,994рад
=0,0727 м
=0,02м

Рисунок 4 - Схема зацепления червяк-ролик.
Подставив данные значения в формулу (2.9) получим:

Контактное напряжение в зацеплении червяк-ролик определяется по формуле:
;(2.10)
где: n – число гребней ролика
Принимаем n=2.
Подставив значения в формулу (2.10) получим:
;
Прочностной расчет рулевого привода.
Расчет вала рулевой сошки рассчитывается на кручение по формуле:
(2.11)
где: - передаточное отношение рулевого механизма;
- диаметр вала сошки в опасном сечении.
Принимаем: =16.12
=0,0267м
Подставив данные в формулу (2.11) получим
МПа
 
Рисунок 5 - Схемы к расчету рулевого привода
Усилие на шаровом пальце сошки определяется по формуле:
; (2.12)
где: С – плечо поворота управляемых колес.
МРМ
– момент на выходе рулевого механизма
Принимаем: С=152мм=0,152м
Значение МРМ
определим по формуле:
;(2.13)
Принимаем: 0,85
Подставив значения в уравнения (2.12) и (2.13) получим:
;
;
На рисунке 5 изображена схема к расчету рулевого привода. Максимальное напряжение изгиба будет в точке «а», а максимальное напряжение кручения – в точке «b».
Эквивалентное напряжение растяжения в точке «а» определяется по формуле:
(2.14)
где: 

Принимаем: q=0.12м;
p=0.04м;
Подставив данные значения в формулу (2.14) получим:

Напряжение кручения определяется по формуле:
(2.15)
Подставив значения получим:

Расчет шарового пальца на смятие и изгиб производим по формулам:
(2.16)
(2.17)
где: - диаметр шаровой головки пальца;
- диаметр шарового пальца в опасном сечении.
Принимаем: ;
Подставив значения в формулы (2.16) и (2.17) получим:
;
;
Поперечная тяга проверяется на сжатие и продольную устойчивость. Напряжение сжатия определяется по формуле:
;(2.18)
где: F - сечение поперечной тяги.
Принимаем: 
Подставив значения в уравнение (2.19) получим:
;
Критическое напряжение при продольном изгибе определяется по формуле:
; (2.19)
где: L - длина тяги по центрам шарниров;
E – модуль упругости первого рода
- экваториальный момент инерции сечения тяги.
Принимаем: L=498,5мм;E= 200 ГПа.
Значение эквивалентного момента инерции определяется по формуле:
; (2.20)
Принимаем: м; м.
Подставив значения, получим:
;
Подставив значения в формулу (2.20) получим:
;
Запас устойчивости определяется по формуле:
(2.21)
где .
Подставив значения, получим:
.
2.4 Расчет гидроусилителя, определение производительности и мощности на привод насоса гидроусилителя
Расчет гидроусилителя рулевого управления начинается с определения момента сопротивления повороту управляемых колес на сухом асфальте при полностью нагруженном автомобиле и сводится к последующему определению: размеров исполнительного цилиндра, распределителя, диаметра трубопроводов, производительности гидронасоса и мощности, затрачиваемой на его привод.
Величину усилия , прикладываемого водителем к ободу рулевого колеса, выбирают из условия, чтобы усилие не превышало 60Н для легковых автомобилей.
Рабочий объем силового цилиндра определяется исходя из работы, совершаемой усилителем.

Рисунок 6 – Расчетная схема гидроусилителя
Усилие сопротивления на поршне определяется по формуле:
, (2.22)
где - радиус сектора;
- момент на валу сошки, определяемый по формуле:
, (2.23)
где - момент сопротивления на колесе;
- КПД рулевого привода.
.
Подставляя найденное значение в формулу (2.22), получим:
.
Рабочая площадь поршня определяется по формуле:
, (2.24)
где - минимальное усилие на рулевом колесе;
- угол наклона винтовой линии;
- радиус винта.

Так как усилитель интегрированный, то объем цилиндра определяется по формуле:
, (2.25)
где =50 мм - ход поршня, равный ходу гайки по винту.

Диаметр цилиндра определяем исходя из того, что поршень выполнен заодно с гайкой и его перемешение происходит по винту. Используем формулу:
, (2.26)
D - Диаметр цилиндра, определим, исходя из того что поршень выполнен заодно с гайкой и перемещение его происходит по винту.
Площадь сечения винта м2
. Принимаем D=40мм
Номинальная производительность насоса определяется по формуле:
, (2.27)
где - максимальная скорость поворота рулевого колеса;
- максимальный угол поворота управляемых колес из одного крайнего положения в другое, град;
- объемный КПД насоса;
- утечки.
.
Мощность, затрачиваемая на привод насоса, определяется по формуле:
, (2.28)
где - расчетное давление жидкости.
.
Диаметр трубопроводов определяется по формуле:
, (2.29)
где - скорость движения жидкости в трубопроводах:
1) для нагнетательной магистрали ;
2) для сливной магистрали ;
3) для всасывающей магистрали .
Подставляя данные значения в формулу (2.29), получим:
1) для нагнетательной магистрали
;
2) для сливной магистрали
;
3) для всасывающей магистрали
.
3. Тормозное управление
3.1
Определение усилия на педали тормоза
Усилие на тормозной педали определяется по формуле:
(3.1)
где ηн
– КПД привода, принимаем ;
iп
= 3 – передаточное число педального привода;
= 22 мм - диаметр главного цилиндра;
- давление в тормозной системе;
, (3.2)
где - радиус рабочего цилиндра.
Тормозные моменты соответственно на передней и задней оси определяются по формулам:
(3.3)
где Rz1,2
– нормальные реакции, действующие соответственно на передней и задней оси, Н;
φ
– коэффициент сцепления.
Величины нормальных реакций при торможении определяются по формулам:
(3.4)
где ma
– масса автомобиля, Н
;
a, b, hg
– координаты центра массы автомобиля, м
;
L
– база автомобиля, м
.
Таким образом, получаем:
(H);
(Н);
(Нм);
(Нм).
Для передних тормозных механизмов (дисковые тормозные механизмы) тормозной момент Мт
и коэффициент эффективности Кэ
определяются зависимостями:
(3.5)
(3.6)
где - коэффициент трения (расчетный =0,35 )
rср
= 0,105 м – средний радиус приложения силы Р к накладке.
Приводная сила на передних тормозных механизмах определяется из выражения:
, (3.7)
откуда:
(3.8)
(Н)
Для задних тормозных механизмов (барабанных с односторонним расположением опор и равными приводными силами ):
. (3.9)
где – приводная сила на задней оси;
rб
– радиус барабана, м
;
μ
– коэффициент трения;
h
– расстояние от рабочего цилиндра до опоры, м
;
a
– расстояние от опоры до линии действия реакции, м
;
- коэффициент касательных сил;
, (3.10)
где β
– угол обхвата колодки, рад.

Приводная сила на задних тормозных механизмах определяется из выражения:
, (3.11)
Откуда
. (3.12)
Таким образом, получаем
(Н)
Давление в тормозной системе передних и задних тормозных механизмов соответственно:
(МПа),
(МПа),
Давление в тормозной системе передних тормозных механизмов больше чем в задних тормозных механизмов, следовательно, принимаем 
Усилие на педали тормоза составит:
(Н)
Коэффициент эффективности тормозных сил задних тормозных механизмов рассчитывается по формуле:
. (3.13)

По формуле (3.13) вычисляем значения коэффициента эффективности торможения для различных значений коэффициента трения и по данным строим график зависимости . Расчетные значения Kэ
сводим в таблицу 3.1.
Таблица 3.1 – Значения коэффициента эффективности торможения для различных значений коэффициента трения
| μ |
0,1 |
0,2 |
0,3 |
0,4 |
0,5 |
0,6 |
| Кэ
|
0,2 |
0,42 |
0,66 |
0,95 |
1,33 |
1,875 |
Коэффициент эффективности тормозных сил передних тормозных механизмов 
Графическая зависимость коэффициентов эффективности тормозных механизмов от величины коэффициента трения представлена на рис. 1.

Рисунок 1 - График статической характеристики
3.2 Определение показателей износостойкости тормозных механизм
ов
Удельная нагрузка, приходящаяся на тормозные накладки, определяется по формуле:
; (3.14)
где – суммарная площадь тормозных накладок,  ,
 .
Для передних тормозных механизмов:

Для задних тормозных механизмов:

Удельная работа трения определяется по формуле:
(3.15)
где - скорость автомобиля, = 60 км/ч = 16,67 м/с;
 ;
 ;
Нагрев тормозного барабана (диска) за одно торможение определяется по формуле:
; (3.16)
где – масса, приходящаяся на тормозящее колесо, кг
;
Gб
– масса барабана (диска), кг
;
с
– удельная теплоемкость чугуна, .
С - для диска;
С - для барабана;
По формулам (3.14) и (3.15) строим графики зависимостей удельной работы трения и нагрева тормозного барабана (диска) в зависимости от начальной скорости торможения.
Таблица 3.2
, м/с |
,  |
,  |
, С |
, С |
| 10 |
14 |
10 |
0,09 |
0,05 |
| 20 |
57 |
40 |
0,36 |
0,18 |
| 30 |
129 |
90 |
0,80 |
0,41 |
| 40 |
229 |
160 |
1,43 |
0,73 |
| 50 |
358 |
249 |
2,23 |
1,15 |
| 60 |
516 |
359 |
3,22 |
1,65 |
| 70 |
701 |
489 |
4,38 |
2,24 |
| 80 |
916 |
638 |
5,72 |
2,93 |
| 90 |
1160 |
808 |
7,24 |
3,71 |
| 100 |
1432 |
998 |
8,94 |
4,58 |

Рисунок 2 – Зависимость удельной работы трения от начальной скорости торможения:

Рисунок 3 – Зависимость температуры нагрева тормозного барабана - (а) и диска – (б) от начальной скорости торможения.
3.3 Расчет тормозного привода
Проверочный расчет гидравлического привода следует производить при давлении, соответствующем аварийному торможению P0
=10МПа.
Усилие на тормозной педали определяется по формуле:
(3.17)
где ηн
– КПД привода, принимаем ;
iп
= 3 – передаточное число педального привода;
- диаметр главного тормозного цилиндра;
- давление в тормозной системе;

Общее силовое передаточное число привода определяется по формуле:
, (3.18)
где – сумма сил, приложенных к колодкам всех тормозных механизмов.
Силы, приложенные к колодкам тормозных механизмов, рассчитываются
по формуле:
; (3.19)

Таким образом,
.
Ход педали определяется по формуле:
(3.20)
где dрз
и dрп
– диаметры рабочих цилиндров задних и передних колес, мм;
δз
и δп
– перемещение поршней цилиндров задних и передних колес, мм;
η0
– коэффициент, учитывающий объемное расширение привода ;
S0
– свободный ход педали, принимаем 7 мм ;
A – параметр, учитывающий число тормозных механизмов, для двухосных автомобилей А=2
Принимаем:
=20,64мм;
=0,3мм;
=48мм;
=0,15мм;
=22мм;
;
=3;

3.4 График оптимального распределения тормозных сил по осям
При оптимальном соотношении тормозных сил на колесах передней и задней осей автомобиля тормозной путь – минимальный. Соотношение тормозных сил, близкое к оптимальному, обеспечивается регулятором.
Тормозные силы на осях определяются по формулам:
(3.21)
(3. 22)
По формулам (3.21), (3.22) строим графики зависимости тормозных сил на осях при различных значениях коэффициента сцепления. Результаты расчетов заносим в табл. 3.3
Таблица 3.3
 |
0,2 |
0,4 |
0,6 |
0,8 |
1 |
| Снаряженная масса |
 |
1264,45 |
2734,42 |
4409,9 |
6290,9 |
8377,42 |
 |
903,93 |
1602,33 |
2095,23 |
2382,6 |
2464,46 |
| Полная масса |
 |
1472,7 |
3181,4 |
5126,14 |
7306,88 |
9723,65 |
 |
1489,55 |
2743,1 |
3760,61 |
4542,12 |
5087,6 |
Для автомобиля Москвич-2140 значения расчетных параметров приведены в таблице 3.4
Таблица 3.4 - Значения расчетных параметров
Марка
автомобиля
|
Груженый автомобиль |
Автомобиль без груза |
| Вес в Н |
a, м |
b, м |
, м |
Вес в Н |
a, м |
b, м |
, м |
| Москвич-2140 |
14450 |
1,335 |
1,125 |
0,49 |
10450 |
1,156 |
1,334 |
0,59 |
Графики распределения тормозных сил приведены на рисунке 4.
, Н |
|
 , Н |
|

Рисунок 4 – Графики оптимального распределения тормозных сил.
4 Подвеска
4.1 Определение показателей плавности хода
Основными измерителями плавности хода (ГОСТ 37091) являются: для легковых автомобилей – среднеквадратичные значения виброускорений низкой и высокой частот;
для грузовых автомобилей – допустимая по уровню вибронагруженности автомобиля предельная скорость на неровной дороге.
Низкая частота колебаний автомобиля должна лежать в пределах:
- легковых автомобилей – 0,8 -1,2 Гц;
- грузовых автомобилей -1,2 -1,5 Гц.
Собственная низкая частота колебаний автомобиля определяется:
, (4.1)
где wz
– частота свободных колебаний, Гц
;
fст
– статический прогиб подвески, м
.
fст
= G/C
, (4.2)
где G
– статическая весовая нагрузка на подвеску данного моста, Н
;
C
– жёсткость подвески, Н/м
.
Жесткость передней и задней подвески соответственно, (Н/м),
(Н/м)
fст1
= 5600/46500 = 0,12 (м);
fст2
= 4850/42500 = 0,114 (м).
Подставив данные значения в формулу (4.1)) получим:

(4.3)


Конструктивно низкая частота колебаний определяется по формуле
(4.4)
где: - жесткость передней или задней подвески;
- величина подрессоренной массы.
Принимаем: 2 =46,5кН/м;
2 =42,5кН/м;
=820кН;
;
;
Высокая частота колебаний определяется по формуле:
, (4.5)
где: - жесткость шин;
- величина неподрессоренной массы автомобиля.
Принимаем: =320кН/м;
=360кН/м;
=112кН;
=120кН;


4.2 Расчет упругих элементов подвески
Схема сил, действующая на подвеску, представлена на рисунке 1

Зависимая подвеска Независимая двухрычажная подвеска
|
Рисунок 1 - Схема сил, действующих на подвеску
Нагрузка на упругий элемент определяется по формуле:
(4.6)
где: - нормальная реакция;
- нагрузка от массы колеса и моста.
Принимаем: =3797,5
=499,8
Подставив данные значения в формулу (4.6) получим:
Независимая двухрычажная подвеска (передняя).
Нагрузка на упругий элемент определяется по формуле:
(4.7)
где: - нагрузка от массы колеса и массы направляющего устройства.
Принимаем: =161,7Н
=0,364м
=0,18м
Подставив значения в формулу (4.7) получим:

Расчет металлического упругого элемента
В передней подвеске упругий элемент - пружина.
Напряжение кручения пружины определяем по формуле:
; (4.8)
где: - радиус витка;
- диаметр проволоки.
Принимаем: =1,2;
=0,05м;
=0,015м
Подставив данные значения в формулу (4.8) получим:

Прогиб определяется по формуле:
;(4.9)
где - число рабочих витков;
- модуль упругости материала.
Принимаем: =13;
.
Подставив данные значения в формулу (4.9) получим:

Для задней подвески упругим элементом являются симметричные рессоры.
Суммарный момент инерции поперечного сечения определяется по формуле:
(4.10)
где: b - ширина листа рессоры;
h - толщина листа рессоры;
n - количество листов в рессоре.
Принимаем: b=0,042м;h=0,0065м;n=6.
Подставив данные значения в формулу (4.10) получим:

Жесткость рессоры определяется по формуле:
;(4.11)
где: - коэффициент формы;
- модуль продольной упругости;
- длина коренного листа рессоры.
Принимаем: =1,35; =210 ГПа; =0,6м;
=0,3м
Подставив данные значения в формулу (4.11) получим:

Стрела прогиба определяется по формуле:
(4.12)
Подставив значения, получим:

Напряжения по статическому прогибу определяется по формуле:
(4.13)
где: - момент сопротивления к-го листа;
- момент инерции поперечного сечения к-го листа.
Момент сопротивления листа рессоры определяется по формуле:
(4.14)
Момент инерции поперечного сечения листа рессоры определяется по формуле:
(4.15)
Принимаем: b=0,042м;h=0,0065м.
Подставив данные значения в формулы (4.14) и (4.15) получим:


Подставив данные значения в формулу (4.13) получим:

Напряжения по нагрузке определяется по формуле:
(4.16)
Подставив значения, получим:

При передаче через рессору тягового или тормозного усилия в коренном листе возникают следующие напряжения:
При торможении:
(4.17)
При разгоне:
(4.18)
Подставив значения в формулы (4.17) и (4.18) получим:


Так же при передаче через рессору тягового или тормозного усилия и реактивного момента в корневом листе возникают дополнительные напряжения:
(4.19)
(4.20)
Подставив значения, получим:


Суммарное напряжение коренного листа определяем по формуле:
(4.21)
где 
Подставив значения, получим:

При передаче тягового усилия напряжение будет определятся по формуле:
(4.22)
Подставив значения, получим:

Нормальные реакции на колесах за вычетом нагрузки на колесо определяются по формуле:
(4.23)
где k – коэффициент перераспределения нагрузки.
Подставив значения, получим:

Тормозные силы определяются по формуле:
(4.24)
Подставив значения, получим:

Тормозной момент определяется по формуле:
(4.25)
Подставив значения, получим:

Силы от пружины определяются по формуле:
(4.26)
Подставив значения, получим:

Боковые силы и равны нулю.
Нормальные реакции на колесах определяются по формулам:
(4.27)
(4.28)
где: - высота центра тяжести; - ширина колеи.
Принимаем: =0,65м;
=1,27м;
Подставив значения, получим:
 

Боковые силы определяются по формуле:
(4.29)
(4.30)
Подставив значения, получим:


Силы от рессор определяются по формуле:
(4.31)
(4.32)
Подставив значения, получим:


Продольные силы равны нулю.
4.4 Расчет демпфирующих элементов
Направляющее устройство нагружается только вертикальными силами, значения которых удовлетворяют выражению:
(4.33)
Их величина должна быть увеличена в К раз.
К=1,75 - коэффициент динамичности.
Для гашения вертикальных и продольных угловых колебаний кузова, а также вертикальных колебаний колес, которые возникают под действием дорожных неровностей и неуравновешенности колес, применяют специальные устройства – амортизаторы. Наибольшее распространение получили телескопические амортизаторы двухстороннего действия с несимметричной характеристикой ( ko
> kс
) и разгрузочными клапанами.
Уменьшение сопротивления при ходе сжатия связано со стремлением ограничить силу, передающуюся через амортизатор кузову при наезде колеса на препятствие. Соотношение между коэффициентами сжатия и отбоя:

Наиболее полно требованиям, предъявляемых к подвески автомобиля, удовлетворяют гидравлические рычажные и телескопические амортизаторы.
Требования, предъявляемые к амортизаторам:
- увеличение затухания с ростом скорости колебаний, во избежание раскачивания кузова колес;
- малые затухания колебаний при движении автомобиля по неровностям малых размеров;
- минимальная нагрузка от амортизатора на кузов;
- стабильность действия при движении в различных условиях и при разной температуре воздуха.

Рисунок 2 – Рабочий процесс амортизатора
a - плавное сжатие; б - резкое сжатие; в - плавная отдача; г - резкая отдача; 1 - перепускной клапан сжатия; 2 - калиброванное отверстие; 3 - разгрузочный клапан сжатия; 4 - диск; 5 - пружина.

Рисунок 3 - Скоростная характеристика амортизатора
Наибольшее распространение имеют амортизаторы двустороннего действия с несимметричной характеристикой разгрузочного клапана - коэффициент сопротивления при сжатии меньше коэффициента отдачи, чтобы при наезде колеса на неровность и быстром сжатии амортизатора не передавались большие усилия на кузов.
Разгрузочные клапаны открываются, когда скорость колебания кузова значительно увеличивается; таким образом, нагрузки на кузов ограничиваются.
Давление жидкости в телескопическом амортизаторе в 4…5 раз меньше, чем в рычажном. Рабочий процесс телескопического амортизатора показан на рисунке 2
При плавном сжатии перепускной клапан 1 под давлением перепускает жидкость из нижнего в верхний объем, часть жидкости перетекает в компенсационную камеру и сжимает там воздух. Сила сопротивлению сжатия (где - площадь штока).
При резком сжатии давление возрастает и открывается разгрузочный клапан - 3, увеличение силы сопротивления замедляется.
При отдаче поршень перемещается вверх, клапан 1 закрывается, жидкость перетекает через калибровочное отверстие 4, растет давление жидкости над поршнем. Часть штока выводится из рабочего цилиндра, недостаток жидкости под поршнем пополняется из компенсационной камеры. Сила сопротивления при отдаче

При резкой отдаче давление жидкости преодолевает силу пружины 5 разгрузочного клапана отдачи, диски 4 освобождают проход жидкости.
Схема установки амортизатора определяется компоновочными соображениями; желательно располагать амортизатор возможно ближе к колесу, широко распространено расположение амортизатора внутри пружины подвески.
Заключение
В данном курсовом проекте был произведен анализ агрегатов систем автомобиля (сцепление, подвеска) и механизмов управления автомобилем (рулевое управление, тормозная система). Также был выполнен прочностной и кинематический расчет деталей механизмов автомобиля.
Напряжения среза и смятия шлицев ступицы ведомого диска находятся в заданных пределах.
Усилие на рулевом колесе составляет 145 Н и не выходит за пределы значения, при котором в конструкцию рулевого управления требуется включения усилителя. Также выяснено, что при расчете рулевого механизма и рулевого привода изгибные и контактные напряжения зубьев рулевого механизма, напряжения смятия и изгиба шарового пальца и напряжения среза не превышают допустимых значений.
Расчеты рулевого и тормозного управлений показали наличие запаса прочности в 20 - 30%. Это полностью отвечает действующему закону по обеспечению безопасности дорожного движения РФ.
При увеличении температуры тормозного механизма ухудшаются тормозные свойства автомобиля, что может привести к тяжелым последствиям. При расчете тормозных механизмов было установлено, что при торможении на небольших скоростях они не перегреваются.
Значения низкой частоты колебаний подрессоренных масс лежат в допустимых пределах; значения высокой частоты колебаний автомобиля находятся в допустимых пределах.
Список литературы
1 Автомобили: Метод. указания / Авт. – сост. А.М. Абрамов; НовГУ им. Ярослава Мудрого. — Великий Новгород, 2007. — с. 45
2 Вахламов В.К. Автомобили. Конструкция и элементы расчета. – М.: Изд. центр «Академия», 2006. - 480 с.
3 Осепчугов В.В., Фрумкин А.К. Автомобиль: Анализ конструкций, элементы расчета: Учебник для студентов ВУЗов по специальности «Автомобили и автомобильное хозяйство». – М.:Машиностроение, 1989. – 304 с.: ил.
Приложение
| Формат |
Зона |
Поз. |
ОБОЗНАЧЕНИЕ |
НАИМЕНОВАНИЕ |
Кол. |
Примечание |
| Документация общая |
| Вновь разработанная |
| А4 |
Задание на курсовой проект |
1 |
Альбом |
| А4 |
НУАТ 459323.001 ПЗ |
Пояснительная записка |
1 |
Альбом |
| Документация по сборочным
|
| единицам
|
| А2 |
НУАТ 454212.001 СБ |
Сцепление |
1 |
Альбом |
| А2 |
НУАТ 452964.001 СБ |
Подвеска задняя |
1 |
Альбом |
| А2 |
НУАТ 453463.001 СБ |
Механизм рулевой |
1 |
Альбом |
| А3 |
НУАТ 452483.001 СБ |
Задний тормозной механизм |
1 |
Альбом |
| Документация по деталям
|
| А4 |
НУАТ 721434.001 |
Стремянка рессоры |
1 |
Альбом |
| А4 |
НУАТ 722522.001 |
Наконечник распорной планки передний |
1 |
Альбом |
| А4 |
НУАТ 741547.001 |
Кронштейн педали сцепления |
1 |
Альбом |
| А4 |
НУАТ 715453.001 |
Серьга рессоры |
1 |
Альбом |
| А4 |
НУАТ 722532.001 |
Рычаг разжимной ручного тормоза |
1 |
Альбом |
| А4 |
НУАТ 722561.001 |
Ролик рулевого механизма |
1 |
Альбом |
| А4 |
НУАТ 722572.001 |
Червяк рулевого механизма |
1 |
Альбом |
| А4 |
НУАТ 711342.001 |
Ступица ведомого диска сцепления |
1 |
Альбом |
| НУАТ 459323.001 КП
|
| Изм. |
Лист |
№ документа |
Подпись |
Дата |
| Разработал |
Анцыгин С.М. |
Расчёт автомобиля
Москвич-2140
Ведомость курсового проекта
|
Лит.
|
Лист
|
Листов
|
| Проверил |
Абрамов А.М. |
к
|
1
|
1
|
| Т.контр. |
НовГУ-ОМЭ, гр.7061 |
| Н.контр. |
| Утвердил |
| Форма
|
Зона
|
Поз.
|
ОБОЗНАЧЕНИЕ
|
НАИМЕНОВАНИЕ
|
Кол.
|
Примечание
|
| Документация
|
| А2
|
НУАТ 453464.001 СБ
|
Сборочный чертеж
|
| Сборочные единицы
|
| 1
|
НУАТ 313120.001
|
Вал сошки
|
1
|
| 2
|
НУАТ 716433.001
|
Глобоидный червяк
|
1
|
| 3
|
НУАТ 751406.001
|
Картер рулевого механизма
|
1
|
| Детали
|
| 4
|
НУАТ 727254.001
|
Сошка
|
1
|
| 5
|
НУАТ 731260.001
|
Прокладка
|
1
|
| 6
|
НУАТ 741124.001
|
Крышка подшипника червяка
|
| нижняя
|
1
|
| 7
|
НУАТ 746596.001
|
Крышка картера рулевого
|
| механизма
|
1
|
| 8
|
НУАТ 755362.001
|
Пробка маслоналивного отверстия
|
1
|
Стандартные изделия
|
| 9
|
Болт М8-6gх20.58.40Х.016 ГОСТ 7808-70
|
4
|
| 10
|
Гайка М20х1,25-6Н.12.40Х.016 ГОСТ 5915-70
|
1
|
| 11
|
Шайба 20.65Г 029 ГОСТ 6402-70
|
1
|
| 12
|
Манжета 10-28х45-1/1 ГОСТ 8752-79
|
1
|
| НУАТ 453464.001
|
| Изм..
|
Лист
|
№ документа
|
Подпись
|
Дата
|
| Разраб.
|
Анцыгин С.М.
|
Механизм рулевой
Сборочный чертеж
|
Лит.
|
Лист
|
Листов
|
| Проверил
|
Абрамов А.М.
|
К
|
1
|
2
|
| НовГУ гр.7061
|
| Н.контр.
|
| Утвердил
|
| Формат
|
Зона
|
Поз.
|
ОБОЗНАЧЕНИЕ
|
НАИМЕНОВАНИЕ
|
Кол.
|
Примечание
|
| 13
|
Манжета 8-22х326-1/1 ГОСТ 8752-79
|
1
|
| 14
|
Подшипник верхний 205 ГОСТ 8338-75
|
1
|
| 15
|
Подшипник нижний 205 ГОСТ 8338-75
|
1
|
| НУАТ 453464.001
|
Лист |
| 2 |
| Изм |
Лист |
№ документа |
Подпись |
Дата |
| Формат |
Зона |
Поз. |
ОБОЗНАЧЕНИЕ |
НАИМЕНОВАНИЕ |
Кол. |
Примечание |
| Документация
|
| НУАТ 453466.001 СБ
|
Сборочный чертеж
|
1
|
| Сборочные единицы
|
| 1
|
НУАТ 746426.001
|
Колодка
|
2
|
| 2
|
НУАТ 723592.002
|
Тормозной цилиндр
|
1
|
| 3
|
НУАТ 724392.003
|
Тросик ручного тормоза
|
1
|
| 4
|
НУАТ 746524.004
|
Щит
|
1
|
| Детали
|
| 5
|
НУАТ 753513.005
|
Пружина
|
1
|
| 6
|
НУАТ 753516.006
|
Пружина
|
1
|
| 7
|
НУАТ 753553.007
|
Пружина стяжная колодок короткая
|
1
|
| 8
|
НУАТ 753554.008
|
Пружина стяжная колодок длинная
|
1
|
| 9
|
НУАТ 753570.009
|
Пружина
|
2
|
| 10
|
НУАТ 724474.010
|
Рычаг ручного тормоза
|
1
|
| 11
|
НУАТ 753543.011
|
Распорная планка
|
1
|
| Стандартные изделия
|
| 12
|
Гайка М22 Х 1.5 ГОСТ 5915 – 70
|
2
|
| НУАТ 452483.001 СБ
|
| Изм. |
Лист |
№ документа |
Подпись |
Дата |
| Разработал |
Анцыгин С.М, |
Тормозной механизм
задний
|
Лит.
|
Лист
|
Листов
|
| Проверил |
Абрамов А.М. |
1
|
| НовГУ, гр.7061
|
| Н.контр. |
| Утвердил |
| Форма
|
Зона
|
Поз.
|
ОБОЗНАЧЕНИЕ
|
НАИМЕНОВАНИЕ
|
Кол.
|
Примечание
|
| Документация
|
| А2
|
НУАТ 451618.001 СБ
|
Сборочный чертеж
|
1
|
| Сборочные единицы
|
| 1
|
НУАТ 716434.001
|
Маховик
|
1
|
| 2
|
НУАТ 748631.001
|
Корзина сцепления
|
1
|
| 3
|
НУАТ 716716.001
|
Картер сцепления
|
1
|
| 4
|
НУАТ 758533.001
|
Ведомый диск
|
1
|
| 5
|
НУАТ 713171.001
|
Подшипник выжимной
|
1
|
| Детали
|
| 6
|
НУАТ 754385.001
|
Коленчатый вал
|
1
|
| 7
|
НУАТ 761221.001
|
Первичный вал КПП
|
1
|
| Стандартные изделия
|
| 8
|
Болт М8х30.58 ГОСТ 7798-70
|
8
|
| 9
|
Подшипник 2023 ГОСТ 3478-79
|
1
|
| 10
|
Шпилька М12-6gх85.58
|
| ГОСТ 22042-76 |
6 |
| 11
|
Шайба 12 65Г 02 9 ГОСТ 6402-70
|
6
|
| 12
|
Гайка М12-6Н.5 ГОСТ 5927-70
|
6
|
| НУАТ 342573.001
|
| Изм..
|
Лист
|
№ документа
|
Подпись
|
Дата
|
| Разраб.
|
Анцыгин С.М.
|
Сцепление
Сборочный чертеж
|
Лит.
|
Лист
|
Листов
|
| Проверил
|
Абрамов А.М.
|
К
|
1
|
| НовГУ гр.7061
|
| Н.контр.
|
| Утвердил
|
|