Банк рефератов содержит более 364 тысяч рефератов, курсовых и дипломных работ, шпаргалок и докладов по различным дисциплинам: истории, психологии, экономике, менеджменту, философии, праву, экологии. А также изложения, сочинения по литературе, отчеты по практике, топики по английскому.
Реклама
Полнотекстовый поиск
Всего работ:
364139
Теги названий
Реклама
VisitTime.ru помогает быстро организовать онлайн-запись клиентов и держать расписание под контролем.
📅 Настройте услуги и длительность приёма, откройте свободные окна — и клиенты запишутся сами в пару кликов.
🕒 Вы избегаете накладок, меньше тратите времени на переписки и звонки, а автоматические напоминания повышают явку.
💡 Отличное решение для мастеров, студий и сервисных команд, которым важны порядок и стабильная загрузка.
Начать пользоваться сервисом



Разделы
Авиация и космонавтика (304)
Административное право (123)
Арбитражный процесс (23)
Архитектура (113)
Астрология (4)
Астрономия (4814)
Банковское дело (5227)
Безопасность жизнедеятельности (2616)
Биографии (3423)
Биология (4214)
Биология и химия (1518)
Биржевое дело (68)
Ботаника и сельское хоз-во (2836)
Бухгалтерский учет и аудит (8269)
Валютные отношения (50)
Ветеринария (50)
Военная кафедра (762)
ГДЗ (2)
География (5275)
Геодезия (30)
Геология (1222)
Геополитика (43)
Государство и право (20403)
Гражданское право и процесс (465)
Делопроизводство (19)
Деньги и кредит (108)
ЕГЭ (173)
Естествознание (96)
Журналистика (899)
ЗНО (54)
Зоология (34)
Издательское дело и полиграфия (476)
Инвестиции (106)
Иностранный язык (62791)
Информатика (3562)
Информатика, программирование (6444)
Исторические личности (2165)
История (21319)
История техники (766)
Кибернетика (64)
Коммуникации и связь (3145)
Компьютерные науки (60)
Косметология (17)
Краеведение и этнография (588)
Краткое содержание произведений (1000)
Криминалистика (106)
Криминология (48)
Криптология (3)
Кулинария (1167)
Культура и искусство (8485)
Культурология (537)
Литература : зарубежная (2044)
Литература и русский язык (11657)
Логика (532)
Логистика (21)
Маркетинг (7985)
Математика (3721)
Медицина, здоровье (10549)
Медицинские науки (88)
Международное публичное право (58)
Международное частное право (36)
Международные отношения (2257)
Менеджмент (12491)
Металлургия (91)
Москвоведение (797)
Музыка (1338)
Муниципальное право (24)
Налоги, налогообложение (214)
Наука и техника (1141)
Начертательная геометрия (3)
Оккультизм и уфология (8)
Остальные рефераты (21692)
Педагогика (7850)
Политология (3801)
Право (682)
Право, юриспруденция (2881)
Предпринимательство (475)
Прикладные науки (1)
Промышленность, производство (7100)
Психология (8692)
психология, педагогика (4121)
Радиоэлектроника (443)
Реклама (952)
Религия и мифология (2967)
Риторика (23)
Сексология (748)
Социология (4876)
Статистика (95)
Страхование (107)
Строительные науки (7)
Строительство (2004)
Схемотехника (15)
Таможенная система (663)
Теория государства и права (240)
Теория организации (39)
Теплотехника (25)
Технология (624)
Товароведение (16)
Транспорт (2652)
Трудовое право (136)
Туризм (90)
Уголовное право и процесс (406)
Управление (95)
Управленческие науки (24)
Физика (3462)
Физкультура и спорт (4482)
Философия (7216)
Финансовые науки (4592)
Финансы (5386)
Фотография (3)
Химия (2244)
Хозяйственное право (23)
Цифровые устройства (29)
Экологическое право (35)
Экология (4517)
Экономика (20644)
Экономико-математическое моделирование (666)
Экономическая география (119)
Экономическая теория (2573)
Этика (889)
Юриспруденция (288)
Языковедение (148)
Языкознание, филология (1140)

Реферат: Назначение и типы автомобильных двигателей

Название: Назначение и типы автомобильных двигателей
Раздел: Рефераты по транспорту
Тип: реферат Добавлен 17:56:15 29 января 2010 Похожие работы
Просмотров: 1335 Комментариев: 21 Оценило: 6 человек Средний балл: 4.8 Оценка: 5     Скачать

Министерство образования Российской Федерации

Санкт-Петербургский государственный университет

сервиса и экономики

Автотранспортные средства

Реферат

Тема: «Назначение и типы автомобильных двигателей»

Выполнил студент 3-ого курса

Специальность 100.101

Иванов В.И.

Санкт-Петербург 2010


Содержание

Введение

1. Основные типы двигателей

2. Основные определения и параметры двигателя

3. Рабочий процесс (цикл) четырехтактных двигателей

4. Порядок работы двигателя

5. Внешняя скоростная характеристика двигателя

Список использованной литературы


Введение

Двигатель автомобиля представляет собой совокупность механизмов и систем, преобразующих тепловую энергию сгорающего в его цилиндрах топлива в механическую. На современных автомобилях наибольшее распространение получили поршневые двигатели внутреннего сгорания, в которых расширяющиеся при сгорании топлива газы воздействуют на движущиеся в их цилиндрах поршни. Бензиновые двигатели работают на легком жидком топливе — бензине, который получают из нефти. Дизельные двигатели работают на тяжелом жидком топливе — дизельном, получаемом также из нефти. Из указанных двигателей наиболее мощными являются бензиновые, наиболее экономичными и экологичными — дизели, имеющие более высокий коэффициент полезного действия. Так, при равных условиях расход топлива у дизелей на 25 ...30% меньше, чем у бензиновых двигателей.

У двигателей с внешним смесеобразованием горючая смесь готовится вне цилиндров, в специальном приборе — карбюраторе (карбюраторные двигатели) или во впускном трубопроводе (двигатели с впрыском бензина) и поступает в цилиндры в готовом виде. У двигателей с внутренним смесеобразованием (дизели, двигатели с непосредственным впрыском бензина) приготовление горючей смеси производится непосредственно в цилиндрах путем впрыска в них топлива. В двигателях без наддува наполнение цилиндров осуществляется за счет вакуума, создаваемого в цилиндрах при движений поршней из верхнего крайнего положения в нижнее. В двигателях с наддувом горючая смесь поступает в цилиндры под давлением, которое создается компрессором. Принудительное воспламенение горючей смеси от электрической искры, возникающей в свечах зажигания, производится в бензиновых двигателях, а воспламенение от сжатия (самовоспламенение) — в дизелях.

Реклама

1. Основные типы двигателей

Применяемые на автомобилях двигатели подразделяются на типы по различным признакам (рис.1).

Рис.1. Основные типы автомобильных двигателей, классифицированных по различным признакам

У четырехтактных двигателей полный рабочий процесс (цикл) совершается за четыре такта (впуск, сжатие, рабочий ход, выпуск), которые последовательно повторяются при работе двигателей. Рядные двигатели имеют цилиндры, расположенные в один ряд вертикально или под углом 20...40° к вертикали. V-образные двигатели имеют два ряда цилиндров, расположенных под углами 60, 75° и чаще 90е. V-образный двигатель с углом 180° между рядами цилиндров называется оппозитным. Двух-, трех-, четырех- и пятицилиндровые двигатели выполняются обычно рядными, а шести-, восьми- и многоцилиндровые — V-образными. В двигателях с жидкостным охлаждением в качестве охлаждающего вещества используют антифризы (низкозамерзающие жидкости), температура замерзания которых -40 °С и ниже. В двигателях с воздушным охлаждением охлаждающим веществом является воздух. Большинство двигателей имеет жидкостное охлаждение, так как оно наиболее эффективное.

2. Основные определения и параметры двигателя

Рассмотрим основные параметры двигателя, связанные с его работой (рис. 2). Верхняя мертвая точка (ВМТ) — крайнее верхнее положение поршня. В этой точке поршень наиболее удален от оси коленчатого вала. Нижняя мертвая точка (НМТ) — крайнее нижнее положение поршня. Поршень наиболее приближен к оси коленчатого вала. В мертвых точках поршень меняет направление движения, и его скорость равна нулю. Ход поршня (S) — расстояние между мертвыми точками, проходимое поршнем в течение одного такта рабочего цикла двигателя. Каждому ходу поршня соответствует поворот коленчатого вала на угол 180° (пол-оборота). Такт — часть рабочего цикла двигателя, происходящего при движении поршня из одного крайнего положения в другое. Рабочий объем цилиндра (Vk) — объем, освобождаемый поршнем при его перемещении от ВМТ до НМТ. Объем камеры сгорания (Vc) — объем пространства над поршнем, находящимся в ВМТ. Полный объем цилиндра (Va) — объем пространства над поршнем, находящимся в НМТ:

va=vk+vc.

Рабочий объем (литраж) двигателя — сумма рабочих объемов всех цилиндров двигателя, выраженная в литрах (см3 ). Степень сжатия (s) — отношение полного объема цилиндра к объему камеры сгорания, т.е. s = Va/Vc

Реклама

Рис.2. Основные параметры двигателя

Степень сжатия показывает, во сколько раз сжимается смесь в цилиндре двигателя при ходе поршня из НМТ в ВМТ. При повышении степени сжатия увеличивается мощность двигателя и улучшается его экономичность. Однако повышение степени сжатия ограничено качеством применяемого топлива и увеличивает нагрузки на детали двигателя. Степень сжатия для бензиновых двигателей современных легковых автомобилей составляет 8 — 10, а для дизелей 15 — 22. При таких степенях сжатия в бензиновых двигателях не происходит самовоспламенение смеси, а в дизелях, наоборот, самовоспламенение смеси обеспечивается. Ход Sпоршня и диаметр Dцилиндра определяют размеры двигателя. Если отношение S/D < 1, то двигатель является короткоходным. Большинство двигателей легковых автомобилей короткоходные.

3. Рабочий процесс (цикл) четырехтактных двигателей

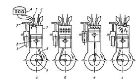
Рабочий процесс (цикл) четырехтактных двигателей состоит из тактов впуска, сжатия, рабочего хода и выпуска. Рабочий процесс происходит за четыре хода поршня или за два оборота коленчатого вала. Рассмотрим протекание рабочего цикла бензинового двигателя. При такте впуска (рис.3, а) поршень -/движется от ВМТ к НМТ. Выпускной клапан 5 закрыт. Под действием вакуума, создаваемого при движении поршня, в цилиндр 3 поступает горючая смесь (бензина и воздуха) через впускной клапан 7, открытый распределительным валом 6.

Рис. 2.3. Схема рабочего процесса четырехтактного бензинового двигателя: а — впуск; 6 — сжатие; в — рабочий ход; г — выпуск; / — коленчатый вал; 2 — шатун; 3 — цилиндр; 4 — поршень; 5 — выпускной клапан; 6 — распределительный вал; 7 — впускной клапан

Горючая смесь перемешивается с остаточными отработавшими газами, образуя при этом рабочую смесь. В конце такта впуска давление в цилиндре составляет 0,08... 0,09 МПа, а температура рабочей смеси – 80... 120 °С. Такт сжатия (рис.3, б) происходит при перемещении поршня от НМТ к ВМТ. Впускной и выпускной клапаны закрыты. Объем рабочей смеси уменьшается, а давление в цилиндре повышается и в конце такта сжатия составляет 0,9... 1,5 МПа. Повышение давления сопровождается увеличением температуры рабочей смеси до 450...500°С. При такте рабочего хода (рис.3, в) впускной и выпускной клапаны закрыты. Воспламененная в конце такта сжатия от свечи зажигания рабочая смесь быстро сгорает (в течение 0,001 ...0,002 с). Температура и давление образовавшихся газов в цилиндре возрастают соответственно до 2200...2500°С и 4...5,5 МПа. Газы давят на поршень, он движется от ВМТ до НМТ и совершает полезную работу, вращая через шатун 2 коленчатый вал 1. По мере перемещения поршня к НМТ и увеличения объема пространства над ним давление в цилиндре уменьшается и в конце такта составляет 0,35...0,45 МПа. Снижается и температура газов до 900..Л200 °С. Такт выпуска (рис. 3, г) происходит при движении поршня от НМТ к ВМТ. Впускной клапан закрыт. Отработавшие газы вытесняются поршнем из цилиндра через выпускной клапан, открытый распределительным валом. Давление и температура в цилиндре уменьшаются и в конце такта составляют 0,1 ...0,12 МПа и 700...800°С. Из рассмотренного рабочего процесса (цикла) следует, что полезная работа совершается только в течение одного такта — рабочего хода. Остальные три такта (впуск, сжатие, выпуск) являются вспомогательными, и на их осуществление затрачивается часть энергии, накопленной маховиком двигателя, который установлен на заднем конце коленчатого вала, при рабочем ходе. Рабочий процесс четырехтактного дизеля существенно отличается от рабочего цикла бензинового двигателя по смесеобразованию и воспламенению рабочей смеси. Основное различие рабочих циклов состоит в том, что в цилиндры дизеля при такте впуска поступает не горючая смесь, а воздух, и при такте сжатия в цилиндры впрыскивается мелкораспыленное топливо, которое самовоспламеняется под действием высокой температуры сжатого воздуха. Рассмотрим более подробно рабочий цикл дизеля. Такт впуска (рис.4, а) осуществляется при движении поршня 2 от ВМТ к НМТ. Выпускной клапан 6 закрыт. Вследствие образовавшегося вакуума в цилиндр 7 через воздушный фильтр 4 и открытый впускной клапан 5 поступает воздух из окружающей среды. В конце такта впуска давление в цилиндре составляет 0,08...0,09 МПа, а температура - 40...60°С.

Рис. 4. Схема рабочего процесса четырехтактного дизеля: а — впуск; б — сжатие; в — рабочий ход; г — выпуск; 1 — топливный насос; 2 —поршень; 3 — форсунка; 4 — воздушный фильтр; 5 — впускной клапан; 6 —выпускной клапан; 7 — цилиндр; 8 — шатун; 9 — коленчатый вал

При такте сжатия (рис. 4, б) поршень движется от НМТ до ВМТ. Впускной и выпускной клапаны закрыты. Поршень сжимает находящийся в цилиндре воздух, и его температура в конце такта сжатия достигает 550...700 °С при давлении 4...5 МПа. При такте рабочего хода (рис.4, в) поршень подходит к ВМТ, и в цилиндр двигателя из форсунки 3 под большим давлением впрыскивается распыленное дизельное топливо, подаваемое топливным насосом 1 высокого давления. Впрыснутое топливо перемешивается с нагретым воздухом, и образовавшаяся смесь самовоспламеняется. При этом резко возрастают у образовавшихся газов температура до 1800...2000°С и давление до 6...9 МПа. Под действием давления газов поршень перемещается от ВМТ до НМТ и совершает полезную работу, вращая через шатун 8 коленчатый вал 9. К концу рабочего хода давление газов становится 0,3-0,5 МПа, а температура — 700...900°С. Такт выпуска (рис. 4, г) происходит при движении поршня от НМТ к ВМТ. Впускной клапан закрыт. Через открытый выпускной клапан 6 поршень выталкивает из цилиндра отработавшие газы. К концу такта выпуска давление газов в цилиндре уменьшается до 0,11.-0,12 МПа, а температура — до 500...700 °С. После окончания такта выпуска при вращении коленчатого вала рабочий цикл двигателя повторяется в той же последовательности.

4. Порядок работы двигателя

Порядком работы двигателя называется последовательность чередования рабочих ходов по цилиндрам двигателя. Для равномерной и плавной работы двигателя рабочие ходы и другие одноименные такты должны чередоваться в определенной последовательности в его цилиндрах. При этом чередование должно происходить через равные углы поворота коленчатого вала двигателя, величина которых зависит от числа цилиндров двигателя. В четырехтактном двигателе рабочий процесс совершается за два оборота коленчатого вала, т.е. за поворот вала на 720°. Число рабочих ходов равно числу цилиндров двигателя. Их чередование для четырех-, шести- и восьмицилиндровых двигателей будет происходить соответственно через 180, 120 и 90° поворота коленчатого вала.

Порядок работы двигателя во многом зависит от типа двигателя и числа цилиндров. Так, например, у коленчатого вала рядного четырехцилиндрового двигателя, представленного на рис.5, а,




Рис. 5. Схема (а) и таблица (б) порядка работы четырехцилиндрового двигателя: 1, 2, 3, 4 — цилиндры двигателя

5. Внешняя скоростная характеристика двигателя

Внешней скоростной характеристикой двигателя называется зависимость эффективной мощности Neи крутящего момента Ме от частоты вращения коленчатого вала при полной подаче топлива. Эффективной называется мощность, развиваемая на коленчатом валу двигателя. Внешняя скоростная характеристика определяет возможности двигателя и характеризует его работу. По внешней скоростной характеристике определяют техническое состояние двигателя. Она позволяет сравнивать различные типы двигателей и судить о совершенстве новых двигателей.

На внешней скоростной характеристике (рис.6) выделяют следующие точки, определяющие характерные режимы работы двигателя:

Nmax – максимальная (номинальная) мощность;

nN– частота вращения коленчатого вала при максимальной мощности;

Мmax – максимальный крутящий момент;

nM – частота вращения коленчатого вала при максимальном крутящем моменте;

nmin– минимальная частота вращения коленчатого вала, при которой двигатель работает устойчиво при полной подаче топлива;

nmax – максимальная частота вращения.

Из характеристики видно, что двигатель развивает максимальный момент при меньшей частоте вращения, чем максимальная мощность.

Это необходимо для автоматического приспосабливания двигателя к возрастающему сопротивлению движения. Например, автомобиль двигается по горизонтальной дороге при максимальной мощности двигателя и начинает преодолевать подъем. Сопротивление дороги возрастает, скорость автомобиля и частота вращения коленчатого вала уменьшаются, а крутящий момент увеличивается, обеспечивая возрастание тяговой силы на ведущих колесах автомобиля. Чем больше увеличение крутящего момента при уменьшении частоты вращения, тем выше приспосабливаемость двигателя и тем меньше вероятность его остановки. Для бензиновых двигателей увеличение (запас) крутящего момента достигает 30 %, а у дизелей — 15 %.

В эксплуатации большую часть времени двигатели работают в диапазоне частот вращения nM —nN , при которых развиваются соответственно максимальные крутящий момент и эффективная мощность. Внешнюю скоростную характеристику двигателя строят по данным результатов его испытаний на специальном стенде. При испытаниях с двигателя снимают часть элементов систем охлаждения, питания и др. (вентилятор, радиатор, глушитель и др.), без которых обеспечивается его работа на стенде. Полученные при испытаниях мощность и крутящий момент приводят к нормальным условиям, соответствующим давлению окружающего воздуха 1 атм и температуре 15 °С. Эти мощность и момент называются стендовыми, и они указываются в технических характеристиках, инструкциях, каталогах, проспектах и т.п. В действительности мощность и момент двигателя, установленного на автомобиле, на 5... 10 % меньше, чем стендовые. Это связано с установкой на двигатель элементов, которые были сняты при испытаниях (насос гидроусилителя, компрессор и др.). Кроме того, давление и температура при работе двигателя на автомобиле отличаются от нормальных.

При проектировании нового двигателя внешнюю скоростную характеристику получают расчетным способом, используя для этого специальные формулы. Однако действительную внешнюю скоростную характеристику получают только после изготовления и испытания двигателя.


Список использованной литературы

1. Сарбаев В.И. Техническое обслуживание и ремонт автомобилей. − Ростов н/Д: «Феникс», 2004.

2. Вахламов В.К. Техника автомобильного транспорта. − М.: «Академия», 2004.

3. Барашков И.В. Бригадная организация технического обслуживания и ремонта автомобилей. – М.: Транспорт, 1988г.

Оценить/Добавить комментарий
Имя
Оценка
Комментарии:
Хватит париться. На сайте FAST-REFERAT.RU вам сделают любой реферат, курсовую или дипломную. Сам пользуюсь, и вам советую!
Никита03:45:15 03 ноября 2021
.
.03:45:10 03 ноября 2021
.
.03:45:09 03 ноября 2021
.
.03:45:08 03 ноября 2021
.
.03:45:07 03 ноября 2021

Смотреть все комментарии (21)
Работы, похожие на Реферат: Назначение и типы автомобильных двигателей

Назад
Меню
Главная
Рефераты
Благодарности
Опрос
Станете ли вы заказывать работу за деньги, если не найдете ее в Интернете?

Да, в любом случае.
Да, но только в случае крайней необходимости.
Возможно, в зависимости от цены.
Нет, напишу его сам.
Нет, забью.



Результаты(294402)
Комментарии (4230)
Copyright © 2005 - 2024 BestReferat.ru / реклама на сайте