Введение
В промышленном и гражданском строительстве возведение объектов любого назначения начинается с земляных работ, под которыми понимается совокупность процессов по разработке, перемещению и укладке грунта для получения земляного сооружения или вертикальной планировки площадки. Земляные работы относятся к наиболее тяжёлым и трудоёмким видам работ, поэтому они должны проектироваться и осуществляться с использованием принципов комплексной механизации и применением рациональной технологии и организации строительного производства.
Способы выполнения земляных работ и типы привлекаемых средств механизации определяются прежде всего грунтовыми, климатическими и сезонными факторами. При возведении зданий и сооружений на железнодорожном транспорте к этим факторам добавляются первопроходческий и рассредоточенный характер строительства, необходимость ведения работ в стеснённых условиях, отсутствие постоянных источников энергоснабжения, удалённость ремонтной базы, сложности, возникающие из–за перебазирования строительной техники и пр.
Разнообразие условий производства земляных работ, с одной стороны, и многочисленность возможных способов и средств для их выполнения с другой, требуют от проектировщика – технолога знаний и навыков по отысканию оптимальных решений в конкретных производственных условиях. Подготовка специалистов такого уровня базируется на изучении дисциплин организационно – технологического цикла и выполнении курсовых и дипломных проектов, нацеленных на качественную инженерную подготовку строительного производства.
1. Определение объёмов работ и распределение земляных масс
1.1Подготовка исходных данных для расчётов на ЭВМ
Из известных методов подсчёта объёмов земляных масс при вертикальной планировке площадок в курсовом проекте принимается метод квадратных призм. Этот метод получил широкое распространение, так как требует меньшего количества вычислительных операций и при спокойном рельефе местности обеспечивает достаточную для практических целей точность расчётов.
Для планировки площадок используется метод планировки с нулевым балансом. Она является наиболее экономичной, так как весь грунт, срезаемый в возвышенной части площадки, используется для подсыпки низменной её части.
Реклама
При методе квадратных призм средняя красная отметка планировки Y0
, обеспечивающая равенство объёмов выемки и насыпи, рассчитывается с точностью до 0,01 м на основании чёрных отметок по формуле
Y0
= (ΣX1
+ 2ΣX2
+ 3ΣX3
+ 4ΣX4
)/4n
где ΣX1
– сумма чёрных отметок вершин квадратов, к которым примыкает один угол квадрата; 2ΣX2
, 3ΣX3
, 4ΣX4
- суммы чёрных отметок вершин квадратов, к которым примыкает соответственно 2, 3 и 4 угла; n – число квадратов, на которые разбита площадка.
Y0
=(51,48+53,00+53,12+54,60+2(52,34+52,59+52,85+53,19+52,00+50,10+52,00+52,60+52,71+54,00+54,62+56,65+55,03+53,70)+4(54,50+53,96+53,32+52,57+50,97+53,46+55,16+56,37+57,28+55,40+53,51+52,53))=53,7135
1.2Подсчёт красных и рабочих отметок планировки
Красные (проектные) отметки планировки Yij
вершин квадратов при одностороннем уклоне определяются по формуле
Yij
= Y0
± il
где Y0
– средняя красная отметка, i – величина уклона площадки, l– расстояние от оси поворота плоскости планировки до вершины, отметка которой рассчитывается.
Рабочие отметки Zij
представляют собой разность между красными и чёрными отметками
Zij
= Yij
– Xij
Полученные рабочие отметки со знаком «плюс» соответствуют насыпи, а со знаком «минус» - выемке.
1.3 Нанесение нулевой линии.
Нулевая линия – это линия, разграничивающая выемку и насыпь на площадке. Она пройдёт через точки поверхности земли, рабочие отметки которых равны нулю. Так как нулевая линия представляет собой след от пересечения рельефа площадки наклонной плоскостью планировки, то она может пересекаться с горизонталями, но должна иметь общее с ними направление.
1.4 Определение объёмов работ по планировке площадки
Общие объемы земляных масс при вертикальной планировке площадки подсчитываются раздельно по выемке и насыпи путем суммирования частных объемов в пределах квадратов. При спокойном рельефе строительной площадки частные объемы V выемки и насыпи определяются по формуле многогранной призмы
V = FZср.
где F - площадь сечения призмы, м2
; Zср.
- средняя рабочая отметка вершин,м
Если квадрат не пересекается нулевой линией, то все четыре рабочих отметки его вершин имеют одинаковый знак и в его пределах будет только выемка или только насыпь. Массив грунта в таком квадрате представляет собой четырехгранную призму, объем которой
Реклама
V = a2
(Z1
+ Z2
+ Z3
+ Z4
)/4
где а – длина стороны квадрата, м; Z1
,Z2
, Z3
, Z4
– рабочие отметки его вершин, м.
Объём грунта в квадрате, пересекаемом нулевой линией, будет состоять из выемки и насыпи. При этом встречается два типа таких переходных(смешанных) квадратов:
а) квадраты, рассекаемые нулевой линией на две трапеции

б) квадраты, рассекаемые нулевой линией на треугольник и пятиугольник
Для первого типа переходного квадрата длины отрезков сторон, пересекаемых нулевой линией,
с = a Z1
/ (Z1
+ Z4
); d = a – c; e = a Z2
/(Z2
+ Z3
); f = a – e
Объём грунта в пределах трапеций:
V1
= a (c + e) (Z1
+Z2
)/ 8; V2
= a (d + f) (Z3
+ Z4
)/ 8
Для второго типа переходного квадрата длины отрезков сторон рассчитываются по формулам:
с = a Z1
/ (Z1
+ Z2
);
d = a Z1
/ (Z1
+ Z4
)
Объёмы грунта в пределах треугольника:
V1
= с dZ1
/ 6,
а в пределах пятиугольника
V1
= (a2
– cd / 2) (Z2
+ Z3
+Z4
) / 5
Кроме основных объёмов земляных работ подсчитываются дополнительные объёмы в откосах по контуру площадки. Если обе рабочие отметки квадрата, к которому примыкает откос, одного знака, то дополнительный объём грунта определяется по формуле трёхгранной призмы(рис.3)
V = ma (Z1
2
+ Z2
2
) / 4
где m – показатель крутизны откоса(для выемки m = 1,25, для насыпи m = 1,5); a – длина стороны квадрата, м; Z1
, Z2
– рабочие отметки, м.
В случае, если рабочие отметки разного знака, т.е. сторона пересекается нулевой линией, то в откосе будет и выемка и насыпь.
Объём земляных масс, представляющий собой трёхгранную пирамиду(рис.4), определится как:
V = mbZ1
2
/ 6,
где b– длина отрезка стороны квадрата, м, рассчитанная по формулам

После определения основных и дополнительных объёмов грунта составляется итоговая ведомость земляных масс.
Полученные по геометрическим очертаниям фигур частные объёмы называются геометрическими. Они отражают объём грунта по выемке в плотном (естественном) состоянии, а по насыпи – в состоянии остаточного разрыхления. Поэтому для определения баланса земляных масс на площадке объём насыпи приводится к твёрдому телу Vн
по формуле
Vн
= Vн.г.
/ (1 + ч /100)
где Vн.г.
– геометрический объём насыпи, м3
, ч – процент остаточного разрыхления.
1.5 Распределение земляных масс
Под распределением земляных масс понимается определение направлений, количества и расстояний перемещения грунта из квадратов выемки в квадраты насыпи. От этих факторов зависят объём грузовой работы и величина технико-экономических показателей производства планировочных работ.
В строительной практике наибольшее распространение получило логическое распределение земляных масс методом шахматного баланса по принципу «перемещение частных объёмов выемки в квадраты насыпи по кратчайшему расстоянию».
Заполнение ведомости начинается с занесения в заглавную колонку таблицы номеров квадратов выемки и соответствующих объёмов грунта в них. В заглавную строку таблицы записываются номера квадратов и объёмы насыпи в плотном теле. Разработку схемы перемещения грунта следует начинать со смешанных квадратов выемки. Установлено, что если в одном квадрате имеется и выемка, и насыпь, та рациональным является перемещение грунта в пределах этого квадрата.
Оставшиеся нераспределёнными объёмы выемки разносятся в свободные квадраты насыпи таким образом, чтобы расстояния перемещения грунта по возможности были минимальными. При этом необходимо следить за тем, чтобы суммарный объём доставляемого в соответствующий квадрат насыпи грунта не превышал его потребности.
Если на площадке итоговый объём выемки больше итогового объёма насыпи в плотном теле, то излишки грунта записываются в колонку «отвал», если наоборот, то недостающий для отсыпки всей насыпи объём грунта – в строку «резерв».
Так как излишки грунта в области выемки целесообразно разрабатывать вместе с котлованом одноковшовым экскаватором, требующим достаточно большой для заполнения ковша высоты забоя, то объём излишнего грунта следует оставлять в квадрате выемки с максимальными рабочими отметками.
Таблица 1
Ведомость шахматного баланса земляных масс
| Номера квадратов и объемы насыпей |
Итого выемок |
Отвал |
| 1 |
2 |
3 |
4 |
5 |
8 |
9 |
10 |
13 |
14 |
15 |
17 |
18 |
19 |
20 |
| 2784 |
720 |
575 |
1139 |
4121 |
59 |
7124 |
20561 |
478 |
12343 |
24564 |
198 |
4335 |
14304 |
17105 |
| Номера квадратов и объемы выемок |
1 |
1744 |
1744 |
1744 |
| 2 |
3072 |
720 |
1312 |
1040 |
3072 |
| 3 |
620 |
575 |
45 |
620 |
| 4 |
103 |
103 |
103 |
| 5 |
154 |
154 |
154 |
| 6 |
13924 |
1040 |
7124 |
5760 |
13924 |
| 7 |
14840 |
6637 |
8203 |
14840 |
| 8 |
3894 |
991 |
59 |
2844 |
3894 |
| 11 |
24445 |
2655 |
7124 |
362 |
11269 |
21410 |
3035 |
| 12 |
21390 |
7124 |
8463 |
5803 |
21390 |
| 13 |
5232 |
478 |
1296 |
3458 |
5232 |
| 16 |
14942 |
8977 |
2930 |
3035 |
14942 |
| 17 |
8042 |
198 |
7844 |
8042 |
| 18 |
1043 |
1043 |
1043 |
| итого насыпей |
2784 |
720 |
575 |
1139 |
4121 |
59 |
7124 |
20561 |
478 |
12343 |
24564 |
198 |
4335 |
14304 |
17105 |
110410 |
1.6 Определение средней дальности перемещения грунта
Средняя дальность перемещения земляных масс определяет выбор типа землеройно-транспортных машин, область эффективного использования которых устанавливается по рациональному расстоянию транспортирования грунта. Кроме того, этот параметр необходим при нахождении норм времени и расценок по сборникам ЕНиР и ЕРЕР.
Для указанных выше целей не требуется высокой точности подсчёта средней дальности перевозки земляных масс, однако при сравнении нескольких вариантов производства планировочных работ эта дальность рассчитывается с точностью до 1м.
В курсовом проекте при наличии ведомости шахматного баланса земляных масс средняя дальность возки грунта Lср.
может быть определена по формуле
L ср
= ΣV i
L i
/ ΣV i,
где Vi
– частный объём выемки, перемещаемый из i – го квадрата, м3
, Li
- расстояние, на которое перевозится данный объём, м.
Так как план распределения земляных масс по методу шахматного баланса не является оптимальным, то рассчитанная величина Lср
будет иметь погрешности.
L ср
= 33040002 / 110410 = 299,25 м
1.7 Расчёт объёмов работ при устройстве котлована
Размеры котлована в плане указаны на уровне его дна, а глубина – от плоскости планировки. Размеры выемки поверху, увеличенные за счёт уположения откосов, могут быть подсчитаны по формулам:
c = a + 2 mH;
d = b + 2 mH,
где с и d – соответственно ширина и длина котлована поверху, м; a и bто же по дну, м; H – глубина котлована, м; m – показатель крутизны откоса.
c = 50+2∙0,5∙3,9 = 53,9;
d = 80+2∙0,5∙3,9 = 83,9
Объём котлована с прямоугольным основанием и откосами со всех четырёх сторон, м3
,

Рис. 5. Котлован с пологими откосами и въездом
Vк
= H∙(a∙b+(a+c)∙(b+d)+c∙d)/6 = 3,9∙(50∙80+(50+53,9)∙ (80 +
83,9)+53,9∙83,9)/6 = 16608,42 м3
При устройстве выемки экскаватором, оборудованным прямой лопатой, скрепером или бульдозером количество разрабатываемого грунта увеличивается за счёт отрывки въезда, объём которого:
Vв
= (H2
/6)∙(3aв
+2∙m∙H∙((n-m)/n) ∙ (n-m)) = 488,7 м3
где H – наибольшая глубина въезда, равная глубине котлована, м; aв
– ширина въезда принимаемая равной 5 м; n – показатель крутизны продольного уклона дна въезда, равный 10.
Vв
/ Vк
= 488,7/16608,42=0,029 < 0,1 =>
можно применять экскаватор с прямой лопатой.
2 Проектирование работ по планировке площадки
2.1 Общие принципы проектирования земляных работ
Земляные работы в строительстве относятся к наиболее трудоемким, вследствие чего их выполнение должно проектироваться и осуществляться механизированным способом. Наиболее эффективной формой механизации является комплексная механизация, при которой все технологически связанные процессы как основные, так и вспомогательные выполняются комплектом машин, увязанных между собой по основным параметрам (производительность, грузоподъемность и т. п.).
Таким образом, сущность комплексной механизации строительных процессов характеризуется следующими признаками:
а) механизацией основных и вспомогательных операций;
б) увязкой всех используемых машин в комплекты по основным параметрам и расположению в механизированной цепи;
в) непрерывностью и равномерностью выполнения производственных процессов.
В каждом конкретном случае можно получить большое количество вариантов выполнения земляных работ. Многообразие возможных вариантов вызвано тем, что для производства одних и тех же процессов могут быть применены как различные типы машин, так и разные марки машин одного и того же типа. Кроме того, средства механизации могут иметь различную расстановку, схемы передвижения и способы выполнения строительных процессов.
Проектирование варианта механизации сводится к формированию такого комплекта машин, который обеспечит лучшие конечные результаты. Для отыскания рационального решения подбирается несколько вариантов производства земляных работ и путем их сравнительной оценки находится лучший из них.
Решающим этапом при проектировании комплекта средств механизации является выбор ведущей машины или звена однотипных машин. Ведущими называются средства механизации, которые выполняют основной процесс, определяющий всю технологию возведения земляного сооружения. В зависимости от типа ведущих машин для разработки грунта используются комплекты скреперные, бульдозерные, экскаваторные и т. п. Остальные машины комплекта называются вспомогательными или комплектующими.
Проектирование конкурентоспособных вариантов механизации земляных работ рекомендуется осуществлять в следующей последовательности:
а) расчленение работ на простые строительные процессы;
б) определение основного из них;
в) назначение на основной процесс ведущих, а на остальные процессы
- вспомогательных средств механизации путем анализа их технических возможностей и области рационального использования;
г) расчет производительности ведущей машины и их количества на основе данных об объемах работ и сроках их выполнения;
д) установление количества вспомогательных машин в каждом звене из условия, что их производительность будет не ниже производительности ведущего звена комплекта.
2.2 Состав процессов и исходные данные для проектирования вертикальной планировки площадки
Под планировочными работами следует понимать приведение площадки строительства к заданному проектом профилю с уклонами, откосами, водоотводными канавами и т.п. Работы по планировке сводятся к срезке возвышенности, перемещению грунта и укладке его в насыпь на пониженных участках.
Весь комплекс планировочных работ в общем случае может быть расчленен на следующие простые строительные процессы: снятие растительного слоя, рыхление грунта в области выемки, его разработку, транспортирование, выгрузку в насыпь, разравнивание, уплотнение и окончательную планировку. В указанном перечне общим является перерабатываемый материал - грунт, а способы и средства его обработки, как правило, различны. При этом разработка грунта относится к основному процессу, а остальное - к вспомогательным.
Исходными данными для проектирования производства планировочных работ являются:
· Объём грунта, доставляемый из выемки в насыпь V = 110410 м3
· Средняя дальность перемещения грунта на площадке Lср
= 299,25 м
· Директивный срок выполнения работ tд
= 28 дней
· Вид грунта и его влажность (жирная мягкая глина с примесью щебня свыше 10% по объёму с W = 17%)
· Максимальная рабочая отметка в области выемки Zв
max
= -3,166
Величина V0
определяется на основе полученного в подразделе 1.4 баланса земляных масс. Объём выемки превышает объём насыпи в плотном теле (Vв
>Vн
), то V0
=Vн
, а излишки грунта вывозятся за пределы строительной площадки.
2.3 Формирование комплектов машин для планировочных работ
2.3.1 Выбор ведущих машин
Вертикальная планировка строительных площадок чаще всего осуществляется землеройно-транспортными машинами: скреперами, бульдозерами и грейдерами. Выбор типа машины зависит от вида грунта и дальности его перемещения.
На основании подсчитанного ранее среднего расстояния перемещения грунта на площадке (Lср
= 299,25 м) наиболее оптимальным типом землеройно-транспортной машины является прицепный скрепер с вместимостью ковша 6-7 м3
.
Данным требованиям соответствуют типы скреперов, указанные в таблице 2.
Таблица 2
Технические характеристики и размерные показатели прицепных скреперов
| Наименование |
Ед. |
Д3-30 |
Д3-20В |
| показателя |
измер. |
| Вместимость ковша |
м3
|
3 |
7 |
| Управление |
- |
Гидравлическое |
Гидравлическое |
| Буксирующий трактор |
- |
Т-74 |
Т-130 |
| Ширина резания |
м |
1,9 |
2,58 |
| Глубина резания |
м |
0,1 |
0,2 |
| Толщина слоя отсыпки |
м |
0,3 |
0,5 |
| Габаритные |
| размеры: |
| длина |
м |
5,5 |
8,78 |
| ширина |
2,39 |
3,14 |
| высота |
2,41 |
2,56 |
| Мощность двигателя |
кВт |
59 |
118 |
| Масса без трактора |
т |
2,75 |
7,1 |
2.3.2 Определение сменной производительности ведущих средств механизации
Производительность (выработка) машины, т. е. количество продукции, выпускаемой или перерабатываемой за единицу времени, является важным показателем строительной техники. В технологических расчетах обычно используется три вида производительности: нормативная, эксплуатационная и расчетно-плановая.
Нормативная производительность средств механизации, м3
/смену
Пн
= 8 И / Нвр.м,
1. Для скрепера ДЗ-30 Пн
= 8∙100/5,789 = 138,19 м3
/смену
2. Для скрепера ДЗ-20В Пн
= 8∙100/3,693 = 216,63 м3
/смену
3. Для катка ДУ-31А Пн
= 8∙100/0,43 = 1860,47 м3
/смену
4. Для рыхлителя ДП-14 Пн
= 8∙100/0,13 = 6153,85 м3
/смену
5. Для катка ДУ-16В Пн
= 8∙100/0,27 = 2962,96 м3
/смену
6. Для рыхлителя ДП-18 Пн
= 8∙100/0,08 = 10000 м3
/смену
где И – измеритель объема, на который определена норма машинного времени, м3
; Нвр.м – норма машинного времени в _аш.-ч.
Для землеройно-транспортных машин Нвр.м рассчитывается на основании сборника ЕниР [5] в зависимости от дальности возки грунта. В частности, для скрепера норма машинного времени
Нвр.м = Н'вр.м + Нвр.м (Lср
– 100) /10,
1. Для скрепера ДЗ-30 Нвр.м = 2,8+0,15∙(299,25-100)/10 = 5,789 маш.-ч
2. Для скрепера ДЗ-20В Нвр.м = 1,7+0,1∙(299,25-100)/10 = 3,693 маш.-ч
где Н вр.м
и Н вр.м
– соответственно норма машинного времени на первые 100 м и каждые последующие 10 м возки грунта, маш.-ч; Lср- средняя дальность перемещения грунта на площадке, м.
Нормативная производительность отражает усредненные условия эксплуатации машин и содержит резервы для перевыполнения норм выработки при рациональной организации механизированных процессов. Проектирование земляных работ должно вестись с использованием прогрессивной технологии, эффективных машин и передовых приемов труда рабочих. Поэтому в расчетах следует пользоваться не нормативной, а расчетно-плановой производительностью Пр, отражающей конкретные условия производства. Она может быть определена по формуле
Пр
= (Пн
+ Пэ
) /2,
1. ДЗ-30 Пр
= (138,19+131,53)/2 = 134,86 м3
/смену
2. ДЗ- 20В Пр
= (216,63+345,09)/2 = 280,86 м3
/смену
где Пр
– расчётно-плановая производительность, м3
/смену; Пн
– нормативная производительность, м3
/смену; Пэ
– эксплуатационная производительность, которая для скрепера рассчитывается по формуле
Пэ
= 60 tсм
qkн
kв
/tц
kр,
1. ДЗ-30 Пэ
= 60∙8∙3∙0,9∙0,85/6,7∙1,25 = 131,53 м3
/смену
2. ДЗ- 20В Пэ
= 60∙8∙7∙1∙0,9/6,9∙1,27 = 345,09 м3
/смену
где tсм
- продолжительность смены, ч; q - геометрическая вместимость ковша, м3
; Кн
- коэффициент наполнения ковша; Кв
= 0,8-0,9 - коэффициент использования скрепера по времени; tц
- продолжительность рабочего цикла скрепера, мин; Кр
- коэффициент разрыхления грунта.
Продолжительность рабочего цикла скрепера складывается из затрат времени на заполнение ковша, перемещение груженого скрепера, разгрузку грунта в насыпи, возвращение в забой и дополнительные операции (повороты, переключения передач и т. п.). Следовательно,
Т ц
= L 1
/ v 1
+ L 2
/ v 2
+ L 3
/ v 3
+ L4
/v4
+ t д
,
1. Для ДЗ-30 Т ц
= 0,02111/3 + 0,27340/6 + 0,00474/5 + 0,29925/6 + 1/120=0,112 ч = 6,7 мин
2. Для ДЗ-20В Т ц
= 0,02136/3 + 0,27246/6 + 0,00543/5 + 0,29925/6 + 1/90 =0,115 ч = 6,9 мин
где L1
, L 2,
L 3,
L4
- длины участков соответственно заполнения ковша, транспортирования грунта, его разгрузки и порожнего хода скрепера, м; V1
, V2
, V3
, V4
- скорости движения скрепера на соответствующих участках, м/мин; tд
- время на выполнение дополнительных операций (обычно до 1 мин).
Длина участка заполнения ковша, м,
L1
= q Кн
Kn
/ b h Кр
Кнр
,
1. Для ДЗ-30 L1
= 3∙1,3∙0,9/1,9∙0,1∙1,25∙0,7 = 21,11 м
2. Для ДЗ-20В L1
= 7∙1,4∙1/2,58∙0,2∙1,27∙0,7 = 21,36 м
где b - ширина захвата ковша скрепера, м; h - глубина резания, м; Kn
= 1,2- 1,5 - коэффициент, отражающий потери грунта; Кнр
= 0,7 - коэффициент, учитывающий неравномерность толщины срезаемой стружки.
Длина участка разгрузки ковша, м,
L3
= q Кн
/ h1
b ,
1. Для ДЗ-30 L3
= 3∙0,9/0,3∙1,9 = 4,74 м
2. Для ДЗ-20В L3
= 7∙1/0,5∙2,58 = 5,43 м
где h1
- толщина отсыпаемого слоя, м, определяемая по техническим характеристикам скрепера.
Длина пути транспортирования грунта, м,
L2
= L c
р
- L1
– L3
,
1. Для ДЗ-30 L2
= 299,25-21,11-4,74 = 273,4 м
2. Для ДЗ-20В L2
= 299,25-21,36-5,43 = 272,46 м
где Lср
- средняя дальность перемещения грунта на площадке, м.
Длина пути порожнего скрепера, м,
L4
= Lср
.
L4
= 299,25 для любого типа скрепера
Перемещение скрепера при наборе грунта осуществляется на скорости 2,5-3,5 км / ч, а при его разгрузке - 4-8 км / ч. Скорости движения груженого и порожнего скрепера определяются уклоном площадки, видом и состоянием грунта и для прицепных скреперов составляют 6-8 км / ч.
2.3.3 Взаимоувязка машин в составе комплекта
Основной задачей при проектировании комплекта является обеспечение полной загрузки и оптимальных режимов работы каждого звена комплекта, которые зависят от номенклатуры, марок и количества машин каждой марки.
Для нормального взаимодействия средств механизации в составе комплекта в основу его формирования заложены следующие принципы:
а) комплект машин подбирается из условия выполнения работ в заданные сроки;
б) общее количество средств механизации и количество разных по типу машин должно быть минимальным;
в) в комплекте назначаются ведущая машина или машины, определяющие организацию работ и выработку комплекта, и вспомогательные средства механизации;
г) производительность каждого звена вспомогательных машин должна быть равной или чуть больше производительности ведущих машин.
Номенклатура средств механизации в комплекте зависит от состава строительных процессов, выполняемых при планировке площадки, и технологических возможностей каждой машины в отношении количества охватываемых процессов, т. е. их универсальности. После установления марок ведущих машин на основании сведений об областях использования средств механизации подбираются марки вспомогательных машин для производства тех процессов, которые не могут быть выполнены ведущими машинами.
При использовании в качестве ведущих машин скреперов, которые могут производить разработку, транспортирование, укладку и разравнивание грунта в местах отсыпки, подбираются средства механизации для срезки растительного слоя, рыхления грунта (если оно необходимо), его уплотнения в насыпи, а также окончательной планировки площадки.
Выбор вспомогательных машин следует производить с учетом следующих рекомендаций. Растительный слой до начала основных земляных работ должен быть снят и уложен во временные отвалы для последующего его использования при укреплении откосов площадки и ее благоустройстве. В зависимости от дальности перемещения грунта работы выполняются бульдозерами, реже - скреперами и грейдерами.
Плотные грунты (глины, тяжелые суглинки и т. п.) перед разработкой землеройно-транспортными машинами предварительно разрыхляются. Рыхление грунтов производится на толщину срезаемой стружки тракторными плугами или рыхлителями.
Доставляемый в насыпь грунт требует послойного разравнивания и искусственного уплотнения, так как плотность, достигаемая за счет движения средств механизации по насыпи и смачивания ее дождем, оказывается недостаточной для исключения деформации земляного сооружения.
Для окончательной планировки площадки целесообразно использовать землеройно-транспортную машину, принятую для срезки растительного слоя.
Количество средств механизации для планировки площадки рассчитывается из условия неразрывности работы машин комплекта в следующей последовательности.
1. Находится требуемая среднесменная интенсивность разработки грунта, м3
/ смену
J = V0
/tд
αв
J = 110410/28∙2 = 1971,61 м3
/ смену
где V0
– объём грунта, доставляемый из выемки в насыпь, м3
; tд
- директивный срок работ, дней; αв
– число сменработы ведущих машинв сутки
2. Рассчитывается количество ведущих машин в комплекте
Nв
= J/Пр
1. ДЗ-30 Nв
= 1971,61/ 134,86 = 14,6 ≈ 15 шт.
2. ДЗ-20В Nв
= 1971,61/280,86 = 7,02 ≈ 8 шт.
3. Определяется количество вспомогательных машин каждого типа, работающих совместно и одновременно с ведущими средствами механизации (рыхлители и катки)
Nвс
= Пр
Nв
αв
/ Пвс
αвс
1. Для катка ДУ-16В Nвс
= 134,86 ∙8∙2/2962,96∙2 = 0,36 ≈ 1 шт.
2. Для рыхлителя ДП-14 Nвс
= 134,86 ∙8∙2/6153,85∙1 = 0,70 ≈ 1 шт.
3. Для катка ДУ-31А Nвс
= 280,86 ∙8∙2/1860,47∙2 = 1,2 ≈ 1 шт.
4. Для рыхлителя ДП-18 Nвс
= 280,86 ∙8∙2/10000∙1 = 0,225 ≈ 1 шт.
где Пвс
- сменная производительность вспомогательной машины, м3
/смену; αвс
- число смен работы вспомогательных машин в сутки.
4. Устанавливается количество вспомогательных средств механизации, не работающих совместно с ведущими машинами комплекта (машины для срезки растительного слоя и окончательной планировки площадки).
Их число и сменность работы в течение суток назначаются исходя из объемов работ, производительности машин и планируемых сроков выполнения процессов.
Далее приводятся технические характеристики и размерные параметры всех машин комплекта и даётся его состав.
Таблица 3. Первый состав комплекта машин для планировки площадки
| Наименование процесса |
Тип машины |
Марка машины |
Мощность двигателя, кВт |
Кол-во машин, шт. |
Число смен работы в сутки |
| Срезка растительного слоя |
Бульдозер |
ДЗ-28 |
118 |
1 |
2 |
| Рыхление выемки |
Рыхлитель |
ДП-14 |
79 |
1 |
1 |
| Разработка и транс портирование грунта |
Скрепер
Трактор толкач
|
ДЗ-30
Т-74
|
59
59
|
15
4
|
2 |
| Уплотнение насыпи |
Каток |
ДУ-16В |
177 |
1 |
2 |
| Окончательная планировка площадки |
Бульдозер |
ДЗ-28 |
118 |
| 1 |
1 |
Таблица 4. Второй состав комплекта машин для планировки площадки
| Наименование процесса |
Тип машины |
Марка машины |
Мощность двигателя, кВт |
Кол-во машин, шт. |
Число смен работы в сутки |
| Срезка растительного слоя |
Бульдозер |
ДЗ-18 |
79 |
1 |
2 |
| Рыхление выемки |
Рыхлитель |
ДП-18 |
132 |
1 |
1 |
| Разработка и транс портирование грунта |
Скрепер
Трактор-толкач
|
ДЗ-20В
Т-130
|
118
118
|
6
2
|
2 |
| Уплотнение насыпи |
Каток |
ДУ-31А |
66 |
1 |
2 |
| Окончательная планировка площадки |
Бульдозер |
ДЗ-18 |
79 |
| 1 |
1 |
2.4. Оценка и сравнение вариантов планировочных работ
В основу методики отыскания оптимального варианта механизации положено сравнение технико-экономических показателей, отражающих эффективность работы сформированных комплектов машин.
Эффективность выбранных комплектов машин оценивается следующими показателями:
В основу методики отыскания оптимального варианта механизации положено сравнение технико-экономических показателей, отражающих эффективность работы сформированных комплектов машин.
Оценку и сравнение вариантов планировочных работ в курсовом проекте допускается выполнять по упрощенной методике.
Эффективность выбранных комплектов машин оценивается следующими показателями:
а) продолжительность работ, смен;
б) трудоемкость работ, чел-смен;
в) удельная энергоемкость работ, кВт/м3.
Продолжительность работ (t) может быть рассчитана как сумма продолжительности основного процесса по разработке грунта (to) и продолжительностей вспомогательных процессов (tвс), выполняемых до и после основного процесса, т.е.
t = to + å tвc .
Продолжительность основного процесса, смен
tо
= Vо
/ Пр
Nв
,
где Vo
- объем грунта, разрабатываемый звеном ведущих машин, м3
; Пр
расчетно-плановая производительность ведущей машины, м3
/ смену; Nb
- количество ведущих машин в комплекте.
При вертикальной планировке площадки до начала разработки грунта в выемке производится срезка растительного слоя, а после отсыпки насыпи - окончательное разравнивание грунта по всей площади.
Продолжительность вспомогательных процессов (tв
c
) определяется раздельно для каждого процесса, смен
tвс
= Fi
/ П н
i
Ni
где Fi
- соответственно площади срезаемого растительного слоя и окончательной планировки, м2
; Ni
- количество соответствующих вспомогательных машин; Пн
i
- нормативная производительность, м2
/ смену, которая равна
Пн
i
= 8∙1000 / Н
где Н - норма машинного времени по соответствующим вспомогательным процессам, маш-ч.
Трудоемкость работ (Т) по планировке площадки, чел-смен
T = åmi
ti
Ni
,
где mi
- количество рабочих, занятых управлением одной машиной i-го звена комплекта; ti
- продолжительность работы этого звена, смен; Ni
- количество машин в i-ом звене.
Удельная энергоемкость работ (Э), кВт /м3
Э = åWi
/ Пр
Nb
,
где Wi
- суммарная мощность двигателей i-го звена машин, кВт; Пр
-сменная производительность ведущей машины, м3
/ смену.
Для первого комплекта машин:
tо
= 110410/(134,86∙15) = 54,5≈55 смен
Срезка растительного слоя
Пн
i
=8∙1000/0,66=12121 м2
/ смену
tвс
=200000/12121∙1=16,5≈17 смен
Окончательная планировка
Пн
i
=8∙1000/0,24=33333 м2
/ смену
tвс
=200000/33333∙1=6 смен
t =103+17+6=126 смены
T =1∙17+1∙55+15∙55+4∙55+1∙55+1∙6= 1178 чел-смен
Э =1548/134,86∙15=0,77кВт /м3
Для второго комплекта машин
tо
= 110410/(280,86∙8) = 49,1≈50 смен
Срезка растительного слоя
Пн
i
=8∙1000/0,69=11594 м2
/ смену
tвс
=200000/11594∙1=17,25≈18смен
Окончательная планировка
Пн
i
=8∙1000/0,24=33333 м2
/ смену
tвс
=200000/33333∙1=6 смен
t =50+18+6=74 смены
T =1∙18+1∙50+8∙50+2∙50+1∙50+1∙6= 624 чел-смен
Э =1404/280,86∙8=0,62кВт /м3
Таблица 5.Варианты планировочных работ и их показатели
| Наименование и марка машин |
Количество машин в звене |
Количество рабочих, чел |
Мощность двигателя, кВт |
Продолжительность , смен |
Показатели |
t,
смен
|
Т, чел смен |
Э
кВт/ м3
|
| I вариант |
| Бульдозер ДЗ-28 |
1 |
1 |
118 |
17+ 6*)
|
126
|
1178
|
0,77
|
Рыхлитель ДП-18
|
1 |
1 |
132 |
55 |
| Скрепер ДЗ-30 с трактором Т-74 |
15 |
15 |
59 |
55 |
| Трактор-толкач Т-74 |
4 |
4 |
59 |
55 |
| Каток ДУ16-В с трактором МОАЗ-546П |
1 |
1 |
177 |
55 |
| II вариант |
| Бульдозер ДЗ-18 |
1 |
1 |
79 |
18+6*)
|
74 |
624 |
0,62 |
| Рыхлитель ДП-14 |
1 |
1 |
79 |
50 |
| Скрепер ДЗ-20В с трактором Т-130 |
8 |
8 |
118 |
50 |
| Каток ДУ-31А |
1 |
1 |
66 |
50 |
94 |
544 |
0,62 |
| Трактор-толкач Т-130 |
2 |
2 |
118 |
50 |
Сравнивая полученные показатели можно сделать вывод, что для окончательной доработки следует принять второй вариант, так как все показатели по нему ниже, чем по первому комплекту.
После нахождения лучшего варианта механизации вычерчивается схема взаимодействия машин в комплекте, которая является основой для проектирования организации планировочных работ.
     
 ыв
Рис. 6. Схема взаимодействия машин в комплекте: 1 - бульдозер ДЗ - 18; 2 - рыхлитель ДП - 14; 3 - скреперы ДЗ -20В; 4 - трактора-толкачи Т - 130; 5 - каток ДУ – 31А; 6 - бульдозер ДЗ - 18
2.5 Разработка технологии и организации работ по планировке площадки
Под технологией производства работ понимается совокупность методов выполнения строительных процессов по вертикальной планировке площадки. Эти методы характеризуются применяемыми средствами механизации, а также схемами их передвижения, переработки грунта и расположения проходок.
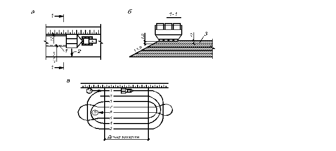
Если вертикальная планировка площадки производится скреперами, то в зависимости от взаимного расположения выемок и насыпей применяются разные траектории движения машин (рис. 3.2).
Эллиптическая схема наиболее проста и применима при отсыпке насыпи из одно- или двухсторонних выемок. Для равномерного износа ходовой части скрепера требуется периодическое изменение направления движения на обратное в течение рабочего дня.

Рис. 6. Схемы движения скрепера: а - эллиптическая; б - по восьмерке; 1 - выемка; 2 - насыпь; 3 - нулевая линия; 4 - срезка грунта; 5 - отсыпка грунта
Схема по восьмерке позволяет чередовать правые и левые повороты, что обеспечивает равномерный износ ходового оборудования. Она дает возможность в цикле производить дважды срезку грунта и его разгрузку при одновременном сокращении пути холостого пробега. Именно этот вариант и принимаем за основной.
Заполнение .ковша и перемещение груженого скрепера желательны при прямолинейном движении и под уклон 5-12°. В зависимости от вида грунта его резание может производиться по различным схемам (рис. 2.2).
Рис. 7. Схемы резания грунта скрепером:а - стружкой постоянной толщины; б -гребенчатым профилем; в - клиновидной стружкой; г - клевковым способом
Срезка грунта тонкой стружкой постоянной толщины осуществляется при любых связных грунтах малой и средней плотности; клиновидной стружкой - при связных грунтах повышенной плотности, разрабатываемых на горизонтальных или слегка наклонных участках; гребенчатым профилем - при наборе сухих суглинистых и глинистых грунтов; клевковым способом - при разработке сухих песчаных и супесчаных грунтов на горизонтальных и наклонных участках. За окончательный вариант примем срезку грунта гребенчатым профилем.
Для сокращения перемещений тракторов-толкачей расположение проходок должно быть таким, чтобы очередной скрепер начинал заполнять ковш там, где закончил загрузку предыдущий (рис. 8).

Рис. 8. Схемы расположения проходок скрепера: а - последовательная
При вертикальной планировке больших площадей, где возможны повороты катка, рекомендуется применять схему движения машины по замкнутому кругу (рис. 9).

Рис.9. Схема уплотнения насыпи катком: а - план; б - разрез; в - траектория движения катка; 1 - перекрытие полос; 2 - направление укатки; 3 - рыхлый слой грунта
Каждая последующая полоса уплотнения должна перекрывать соседнюю на 0,15-0,25 м. Закончив укатку всей площади захватки за один раз, приступают к уплотнению грунта на второй раз. Минимальный фронт работ при уплотнении катками должен быть не менее 100 м.
Основу организации земляных работ составляет разбивка выемки и насыпи на захватки, в пределах которых работает отдельное звено комплекта машин. Эти машины последовательно переходят с одной захватки на другую, выполняя весь комплекс процессов по устройству выемки и насыпи на площадке. Минимальное число захваток, используемых для производства земляных работ, определяется количеством одновременно работающих звеньев комплекта с добавлением резервных захваток, а минимальные размеры захватки - производительностью ведущего звена средств механизации в течение суток и необходимым фронтом работ, обеспечивающим эффективное использование машин.
3. Проектирование работ по устройству котлована
3.1. Состав процессов и исходные данные по разработке котлована
Земляные работы по устройству котлована включают следующие простые строительные процессы: разработку грунта с его подачей в транспортные средства или в отвал за бровку котлована, транспортирование грунта, его выгрузку из транспортных средств и зачистку дна котлована.
Неблагоприятные гидрогеологические, климатические и особые условия могут вызвать необходимость выполнения дополнительных процессов, в состав которых входят водоотлив или искусственное понижение уровня грунтовых вод, крепление стенок котлована, рыхление или оттаивание мерзлого грунта и др.
Основным процессом, по которому производится выбор ведущей машины комплекта и увязка выполнения остальных процессов, является разработка грунта.
Исходными данными для проектирования работ по устройству котлована являются:
1. Объем грунта, подлежащего разработке ведущей машиной (Vраз
=19732,12).
2. Вид и влажность грунта.(жирная глина(II))
3. Расстояние вывоза излишнего грунта (Lт
p
=6,4км).
4. Размеры котлована.(50х80м)
Объем грунта Vpa
з
складывается из объема котлована (Vк
) за вычетом величины недобора грунта (Vзач
), объема въезда (Vв
) и излишков грунта (Δ), оставшихся неразработанными в выемке при вертикальной планировке площадки (если они имеются),т.е.
Vpa
з
=Vk
+Vв
+ Δ - Vзач
.
Принимаем емкость ковша 0.65м3
Принимаем экскаватор ЭО-3323 c гидравлическим приводом и прямой лопатой.
Объем грунта, срезаемого при зачистке дна котлована, м3
Vзач
= abhн
,
где а и b – размеры котлована по дну, м; hн
- величина недобора грунта в основании, м,
а=50 м
b=80 м
hн
=0.1 м
Vзач
=50∙80∙0.1=400 м3
Vpa
з
=16608,42+488,7+3035-400=19732,12 (м3
)
3.2.Выбор ведущей машины
Отыскание эффективных способов выполнения процессов и неразрывно связанного с ними рационального комплекта машин производится исходя из объемов работ, глубины отрываемого котлована, расстояния вывоза грунта и гидрогеологических условий на площадке.
В жилищном строительстве наибольшее распространение для разработки котлованов получили одноковшовые экскаваторы с вместимостью ковша от 0,15 до 1,0 м3
. В зависимости от размеров котлована, уровня грунтовых вод и влажности грунта одноковшовые экскаваторы оборудуются различным сменным оборудованием: прямой лопатой, обратной лопатой или ковшом драглайна.
При выборе рабочего оборудования следует учитывать, что производительность экскаватора с прямой лопатой больше, чем с ковшом драглайна или с обратной лопатой аналогичной вместимости. Прямая лопата срезает грунт выше уровня стоянки и чаще всего применяется для разработки грунта естественной влажности с погрузкой его в транспортные средства. При уровне грунтовых вод выше отметки дна котлована прямая лопата может работать при водоотливе или искусственном понижении уровня воды.
Зная вместимость ковша экскаватора, можно установить марку ведущей машины для устройства котлована. При выборе марки предпочтение следует отдавать машинам, выпускаемым в настоящее время промышленностью и имеющим лучшие технические характеристики.
Изложенные выше рекомендации не исключают возможности применения в качестве ведущей машины других средств механизации, которые в конкретных условиях могут оказаться более эффективными. Для отрывки неглубоких котлованов значительной протяженности успешно применяются бульдозеры и скреперы, если расстояние перемещения грунта не превышает рациональной дальности возки для этих машин. При разработке котлованов в грунтах I - III групп с погрузкой в транспортные средства или в отвал можно использовать одноковшовые погрузчики грузоподъемностью от 2 до 10 т. После отыскания марки ведущей машины приводятся ее технические характеристики и рабочие параметры .
Таблица 6 – Технические характеристики и параметры экскаватора ЭО 3323
| Наименование показателя |
Единицы измерения |
ЭО-3323 гидравлическим приводом |
| Вместимость ковша |
м3
|
0,63 |
| Наибольший радиус резания |
м |
6,8 |
| Радиус выгрузки |
м |
5,4 |
| Наибольшая высота резания |
м |
7,66 |
| Наибольшая высота выгрузки |
м |
4,2 |
| Длина стрелы |
м |
- |
| Длина рукояти |
м |
- |
| Мощность двигателя |
кВт |
55 |
| Масса |
т |
13,6 |
3.3 Подбор вспомогательных машин
При использовании в качестве ведущей машины одноковшового экскаватора остаются немеханизированными транспортирование грунта и зачистка дна котлована.
Перевозка грунта может осуществляться тракторным, автомобильным или рельсовым транспортом. Решающее влияние на выбор способа транспортирования оказывает дальность возки грунта. Рекомендуемая длина пробега составляет:
а) для тракторов с прицепами - 0,25 - 1,0 км ;
б) для автосамосвалов - 0,5 - 5,0 км ;
в) для рельсового транспорта - 2,0 - 10,0 км.
Количество транспортных средств, потребных для отвозки разрабатываемого грунта, рассчитывается из условия бесперебойной работы землеройной машины и транспорта по формуле
N = tm
р
/ tn
,
где tmp
- продолжительность цикла работы транспортной единицы, мин; tn
- продолжительность погрузки транспорта экскаватором, мин.
Продолжительность рабочего цикла транспорта
tmp
= tp
+ tn
+ 2 Lтр
/ vp
,
где tp
- продолжительность разгрузки транспортной единицы, мин; Lтр
-расстояние транспортирования грунта, м; vp
- расчетная скорость движения транспорта, м / мин.
При использовании автосамосвалов tp
= 1,5 мин. Величина vp
может приниматься: при работе в черте города - 20 км / ч, а при работе вне города - 25 - 30 км / ч.
Продолжительность погрузки транспортного средства
tn
= nК
/ n кn
,
где n- число экскаваторных циклов в одну мин (прил. 4); кn
= 0,92-0,97 коэффициент, учитывающий потери времени на передвижку экскаватора по забою; nк
- количество ковшей грунта, погружаемых экскаватором в транспортную единицу (целое число).
Величина nк
может быть определена по формуле
nк
=Q /gVэк
,
где Q- грузоподъемность самосвала, т; g - плотность разрабатываемого грунта, т / м3
(прил. 1); Vэк
- объем грунта в ковше экскаватора
Загрузка транспортных средств проверяется путем расчета процента использования их по грузоподъемности, Кг
, %:
Кг
= 100 Ртр
/ Q,
где Ртр
- масса загружаемого грунта в кузов транспорта, т,
Ртр
= Vэк
nк
g .
Перегруз транспортных средств не должен превышать 5 %, а недогруз - 10 %. При нарушении этого условия изменяется количество загружаемых в кузов самосвала ковшей грунта или принимается другая марка транспортного средства.
Для грубой зачистки дна котлована механизированным способом может использоваться бульдозер, который перемещает грунт к экскаватору или удаляет его сам (при небольшой глубине котлована, наличии въезда и малых расстояниях перемещения). В небольших котлованах без въезда планировка дна производится вручную.
После подбора вспомогательных машин выписываются их технические характеристики и приводится состав комплекта средств механизации для отрывки котлована с указанием номенклатуры машин, их марок и количества.
N = 30,12/3,02=9,97=10 (шт.)
tmp
= 1,5+3,02+2*6400*60/(30*1000)=30,12=31 (мин)
tn
= 7/2,44*0,95=3,02 (мин.)
nк
= 7/(1,75*0,55)=7,27=7 (ковшей)
Ртр
= 1,75*0,55*7=6,74 (т)
Кг
= 96,25%
Таблица 7 – Технические характеристики и параметры автомобиля-самосвала КамАЗ-55102
| Наименование показателя |
Единицы измерения |
КамАЗ-55102 |
| Грузоподъёмность |
т |
7,0 |
| Объём кузова |
м3
|
7,9 |
| Масса автомобиля |
м |
5,4 |
Габаритные размеры:
Длина
Ширина
Высота
|
м |
7,57
2,5
2,9
|
| Направление разгрузки |
- |
На боковые стороны |
| Максимальная скорость |
Км/ч |
80 |
| Мощность двигателя |
кВт |
154 |
| Расход топлива при скорости 60 км/ч |
л/100 км |
35 |
Таблица 2.1 – Технические характеристики и размерные параметры катков
| Наименование показателя |
Единицы измерения |
ДУ-16В |
ДУ-31А |
| Тип катка |
- |
Полуприцепной на пневмошинах секционные |
Самоходный на пневмошине |
| Буксирующий трактор |
- |
МОАЗ-546П |
- |
| Ширина уплотняемой полосы |
м |
2,6 |
1,9 |
| Толщина уплотняемого слоя |
м |
0,35 |
0,35 |
| Число проходов по одному месту |
шт
|
6-8
|
2-6
|
Габаритные размеры:
Длина
Ширина
Высота
|
м
|
9,67
3,23
3,05
|
5,3
1,93
3,15
|
| Мощность двигателя |
кВт |
177 |
66 |
| Масса катка |
т |
35,9 |
16 |
Таблица 2.2 – Технические характеристики и размерные параметры рыхлителей
| Наименование показателя |
Ед. измер. |
ДП-18 |
ДП-14 |
| Базовый трактор |
Т-180 |
Т-100 |
| Число рыхлительных зубьев |
шт. |
5 |
3 |
| Ширина полосы разрыхления |
м |
1,9 |
1,48 |
| Глубина рыхления |
м |
0,4 |
0,4 |
Габаритные размеры:
длина
ширина
высота
|
м |
-
-
-
|
6,36
3,97
3,04
|
| Мощность двигателя |
кВт |
132 |
79 |
| Скорость движения |
м/с |
1-3,4 |
1-3,4 |
| Общая масса |
т |
- |
16,1 |
Таблица 2.3.– Технические характеристики и размерные параметры бульдозера
| Наименование показателя |
Ед. изм. |
ДЗ-28 |
ДЗ-18 |
| Отвал |
поворотный |
поворотный |
| Базовый трактор |
Т-130 |
Т-100 |
| Длина отвала |
м |
3,94 |
3,94 |
| Высота отвала |
м |
0,82 |
0,82 |
| Мощность двигателя |
кВт |
118 |
79 |
| Масса бульдозерного оборудования |
т |
1,9 |
1,9 |
| Масса с трактором |
т |
14,9 |
13,9 |
3.4. Проектирование экскаваторных работ
Разработка грунта одноковшовыми экскаваторами производится проходками, состоящими из последовательных забоев.

Рис.11. – Рабочие параметры и профили забоя экскаваторов с прямой лопатой и канатным управлением:Rp
= 6,8м - радиус резания; Rв
=5,4м - радиус выгрузки; Н=7,66м – высота резания; Нк
- глубина резания; Нв
=4,2м - высота выгрузки
Экскаваторным забоем называется пространство, ограниченное радиусом действия рабочего оборудования машины, а проходкой -траншея, образуемая при последовательной срезке грунта и периодическом перемещении экскаватора вдоль выемки. Экскаваторный забой включает место расположения землеройной машины, часть разрабатываемого с данной стоянки массива грунта и площадку для размещения транспортного средства (при погрузке грунта в транспорт) или отвала (при разработке грунта навымет). Профиль забоя зависит от основных рабочих параметров экскаватора (рис.11).

Рис.12. - Проходка экскаватора, оборудованного прямой лопатой: боковая
При большой ширине выемки рекомендуется использовать по возможности боковые проходки, которые позволяют значительно уменьшить угол поворота экскаватора и облегчить работу транспортных средств (рис.12)
Требуется запроектировать разработку котлована экскаватором ЭО –3323, оборудованным прямой лопатой.
Размеры котлована: ширина поверху с = 53,9 м, по дну а = 50 м, глубина Нк
= 3,9 м.
По справочной литературе определяем основные размерные параметры экскаватора ЭО – 3323
1. Наибольший радиус резания R = 6,8 м.
2. Радиус резания на уровне стоянки Rct
= 4,5 м.
3. Наибольшая высота копания Н = 7,66 м.
Затем проверяем условие, выраженное формулой
с / R = 53,9 / 0,9 × 6,8 = 8,81 > 3,5.
Следовательно котлован необходимо разрабатывать несколькими проходками: первая проходка - лобовая, последующие - боковые.
Рассчитываем ширину лобовой и боковой проходок на уровне стоянки экскаватора по формулам
В ст.л
= 2 × Rct
Bст.б
= 1,7 × Rc
т
.
Вст.л
= 2 × 0,9 × 4,5 = 8,1 м
Вст.б
= 1,7 × 0,9 × 4,5 = 6,89 м.
Часть ширины котлована понизу, приходящаяся на долю боковых проходок, составляет
а - Вст
.л
= 50 - 8,1 = 41,9 м .
Находится количество боковых проходок
Nб
= (а - Вст.л
) / Вст.б
= 41,9 : 6,89 = 6,08
Принимаем 6 полных боковых проходки и неполная лобовая, ширина которой понизу
Вст.л
= а - Nб
× Вст.б
= 50 - 7 × 6,89 = 8,66 м
Так как глубина котлована, равная 3,9 м, не превышает наибольшей высоты копания (Н = 7,66 м), то котлован отрывается в один ярус.
После определения типа проходок и их размеров проектируется технологическая схема экскаваторных работ. Для этого на плане котлована показывается положение осей движения экскаватора и транспортных средств, производится расстановка машин в забое и отыскивается средний угол поворота экскаватора.
Места стоянок транспортных средств выбираются так, чтобы можно было получить наименьший угол поворота. Для нахождения среднего угла поворота на плане забоя отмечается центр тяжести объема грунта, разрабатываемого с одной стоянки, и центр кузова транспортной единицы. Искомым будет угол между линиями, соединяющими найденные центры с осью вращения экскаватора (рис. 9).
Проектирование организации работ по отрывке котлована должно вестись с обязательным соблюдением правил техники безопасности. Подачу транспорта под погрузку при боковом забое следует осуществлять навстречу перемещению экскаватора. Не допускается перенос ковша над кабиной автомашины, не защищенной козырьком. Место остановки автосамосвала под погрузку должно фиксироваться на местности вешкой, местоположение которой отмечается на схеме забоя.
Для отвода воды каждая проходка должна иметь встречный продольный уклон не менее 0,003 в сторону начала разработки. При невозможности обеспечения продольного уклона дну придается поперечный уклон, равный 0,02-0,05, в сторону соседней ранее разработанной проходки.
4. Организация труда рабочих
4.1. Составление ведомости трудоёмкости работ
Целью составления производственной калькуляции является определение трудоемкости и машиноемкости, а также размера заработной платы рабочих как по отдельным процессам, так и по земляным работам в целом. Основанием для разработки калькуляции служат объемы работ по каждому процессу, способы их выполнения и нормы ЕНиР.
Трудоемкость работ по каждому процессу рассчитываем по формуле, чел-ч
T = Hвp ×V × K
где Hвp - норма времени, чел-ч; V – объем работ в измерителях ЕНиР;
K - поправочный коэффициент или произведение коэффициентов, отражающих условия производства.
В конце ведомости определяем общие трудозатраты по планировке площадки и устройству котлована, а также по всему комплексу земляных работ.
4.2 Построение графика производства земляных работ
В основу составления графика работ по планировке площадки и отрывке котлована должны быть положены принципы:
а) поточное выполнение работ в строгой технологической последовательности;
б) максимальное совмещение во времени отдельных процессов;
в) не менее, чем двухсменная работа ведущих машин комплектов и выполнение ими норм выработки на 100-130 %;
г) строгое соблюдение правил охраны труда.
Форма графика производства работ по планировке площадки приведена в табл. 9
Левая текстовая часть графика заполняется на основе ведомости трудоемкости работ. При этом в столбце “Состав бригады” показывается общее количество рабочих, занятых управлением всеми машинами соответствующего звена комплекта в обе смены.
Заполнению графической части предшествует определение срока работ по каждому процессу.
Продолжительность работы равна, дни
t = T / Np
αK1
где Т - трудоемкость процесса, чел - смены; Np
- количество рабочих в одну смену; α- число смен работы в течение суток; K1
= 1,1-1,3 - коэффициент перевыполнения норм
Полученные продолжительности работ округляются до целого числа, и производится взаимоувязка строительных процессов во времени в соответствии с технологической последовательностью их выполнения.
При этом работы, осуществляемые одновременно (разработка грунта скреперами и использование толкачей, отрывка котлована экскаватором и транспортирование грунта самосвалами), показываются на графике параллельными линиями толщиной не менее 2 мм, а остальные процессы - со сдвижкой не менее, чем на один день с целью соблюдения требований техники безопасности.
Над линиями графика проставляется продолжительность работ в днях с учетом простоев машин из-за отсутствия необходимого фронта работ.
Продолжительность работы равна, дни
t1
= 17,25/ 1× 1 × 1,3 = 13,27 = 14 дн
t2
= 15,37 / 1× 1 × 1,3 = 11,82 = 12 дн
t3
= 440,74 / 6× 2 × 1,3 = 28,25 = 29 дн
t4
= 146,60 / 2× 2 × 1,3 = 28,19 = 29 дн
t5
= 51,56 / 2× 1 × 1,3 = 19,83 = 20 дн
t6
= 6 / 1× 1 × 1,3 = 4,6 = 5 дн
t7
= 38,18 / 1× 2 × 1,3 = 14,68 = 15 дн
t8
= 420,03/11 × 2× 1,3 = 14,68 = 15 дн
t9
= 0,12/1 × 1 ×1,3 = 0,09 = 1 дн
Полученные продолжительности работ округляем до целого числа, и производим взаимоувязку строительных процессов во времени в соответствии с технологической последовательностью их выполнения. При этом работы, осуществляемые одновременно (разработка грунта скреперами и использование толкачей, отрывка котлована экскаватором и транспортирование грунта самосвалами), показываются на графике параллельными линиями толщиной не менее 2 мм, а остальные процессы - со сдвижкой не менее, чем на один день с целью соблюдения требований техники безопасности.
Над линиями графика проставляем продолжительность работ в днях с учетом простоев машин из-за отсутствия необходимого фронта работ. Простои вспомогательных машин скреперного комплекта возникают из-за того, что рыхлитель не может разрыхлять следующий слой до тех пор, пока скрепер не снимет предыдущий разрыхленный слой грунта. Аналогичным образом могут возникать перерывы в работе катка, который не сможет завершить работу раньше, чем будет закончена отсыпка последнего слоя насыпи скреперами.
4.3 Определение состава комплексной бригады рабочих
В целях улучшения организации труда и более полного использования машин земляные работы следует выполнять укрупненными комплексными бригадами. Установление состава такой бригады сводится к определению профессии, квалификации (разряда) и количества рабочих каждого разряда.
Численный состав специализированного звена, занятого управлением отдельным звеном машин, рассчитываем по формуле
Nс.з.
= m Nα, (30)
где m - количество рабочих, управляющих одной машиной; N - количество машин в звене; α - число смен работы в течение суток.
Полученный качественный и количественный состав звеньев и бригады сводим в табл. 10.
Таблица 10 – Состав комплексной бригады рабочих
| Наименование процесса |
Профессия рабочих |
Разряд |
Численный состав звена |
Количество машин |
Число смен в сутки |
Состав специализированного звена |
| 1. Планировка площадки |
| Срезка растительного слоя и окончательная планировка площадки |
Машинист |
6 |
1 |
1 |
2(1) |
2(1) |
| Рыхление грунта в выемке |
Машинист |
6 |
1 |
1 |
1 |
1 |
Разработка, транспортирование
и отсыпка грунта
|
Тракторист |
6 |
1 |
6 |
2 |
12 |
| Обслуживание тракторов-толкачей |
Тракторист |
6 |
1 |
2 |
2 |
4 |
| Уплотнение насыпи |
Тракторист |
6 |
1 |
2 |
1 |
2 |
| Всего рабочих, обслуживающих скреперный комплект |
21 |
| 2. Разработка котлована |
| Отрывка дна котлована |
Машинист |
6 |
1 |
1 |
2 |
2 |
| Перемещение грунта атомобилями |
Водитель |
3 |
1 |
11 |
2 |
22 |
| Зачистка дна котлована с помощью бульдозера |
Машинист |
6 |
1 |
1 |
1 |
1 |
| Всего рабочих, обслуживающих экскаваторный комплект |
25 |
| Общий численный состав комплексной бригады |
46 |
4.4 Разработка мероприятий по технике безопасности
1. При выполнении земляных и других работ, связанных с размещением рабочих мест в выемках и траншеях, необходимо предусматривать мероприятия по предупреждению воздействия на работников следующих опасных и вредных производственных факторов, связанных с характером работы:
- обрушающиеся горные породы (грунты)
- падающие предметы (куски породы)
- движущиеся машины и их рабочие органы, а также передвигаемые ими предметы
- расположение рабочего места вблизи перепада по высоте 1,3 м и более
- повышенное напряжение в электрической цепи, замыкание которой может произойти через тело человека
- химические опасные и вредные производственные факторы.
2. При размещении рабочих мест в выемках их размеры, принимаемые в проекте, должны обеспечивать размещение конструкций, оборудования, оснастки, а также проходы на рабочих местах и к рабочим местам шириной в свету 0,6 м, а на рабочих местах – также необходимое пространство в зоне работ.
3. Для прохода людей через выемки должны быть устроены переходные мостики в соответствии с требованиями СНиП 13-03.
4. Перед допуском работников в выемки глубиной более 1,3 м ответственным лицом должно быть проверено состояние откосов.
5. При разработке выемок в грунте одноковшовым экскаватором высота забоя должна определяться ППР с таким расчетом, чтобы в процессе работы не образовались “козырьки” из грунта.
6. При работе экскаватора не разрешается производить другие работы со стороны забоя и находиться работникам в радиусе действия экскаватора плюс 5 м.
7. При разработке, транспортировании, разгрузке, планировке и уплотнении грунта двумя или более самоходными или прицепными машинами (скеперами, катками, бульдозерами), идущими одна за другой, расстояние между ними должно быть не менее 10 м.
8. Запрещается разработка грунта бульдозерами и скреперами при движении на подъем или под уклон, с углом наклона более указанного в паспорте машины.
9. Строительные машины, транспортные средства, производственное оборудование и т. д. должны соответствовать требованиям государственных стандартов по безопасности труда, а вновь приобретаемые – как правило, иметь сертификат на соответствие требованиям безопасности труда.
10. Машины, транспортные средства, производственное оборудование и другие средства механизации должны использоваться по назначению и применяться в условиях, установленных заводом – изготовителем.
5. Расчёт технико-экономических показателей
Для оценки качества принятых проектных решений существует система технико-экономических показателей. В курсовом проекте рассчитываем следующие показатели:
- общую трудоемкость работ;
- трудоемкость разработки 100 м3
грунта;
- выработку одного рабочего за смену;
- продолжительность работ.
Расчет показателей ведется раздельно по скреперному и экскаваторному комплектам. Кроме того, для оценки принятых решений определяем два вида показателей: нормативные и проектные.
1. Общая нормативная трудоемкость работ (Тн
) в чел-сменах устанавливается по калькуляции (табл. 8), а плановая трудоемкость (Тn
) рассчитывается по формуле, чел-смен
Tn=∑m t N α + ∑ mp tp α,
Скреперный комплект
Tn = ( 1×14×1×1 ) + (1×12×1×1) + (1×29×6×2) + (1×29×2×2) + (1×20×2×1) + ( 1×5×1×1)= 520 (чел-смен)
Тн
= 5420,17 (чел-ч) =678 чел-смен
Экскаваторный комплект
Tn =(1×15×1×2) + (1×15×11×2) + (1×1×1×1) = 361 (чел-смен)
Тн
= 3666,66 (чел-ч) =459 чел-смен
где m - число рабочих, управляющих одной машиной в данном звене комплекта; t - продолжительность работы этого звена по графику, дни; N - количество машин в звене, шт; mр - число рабочих, занятых выполнением немеханизированного процесса; tp - продолжительность этого процесса по графику, дни; α – число смен работ в сутки.
2. Трудоемкость разработки 100 м3
профильного объема грунта, чел смен 100 м3
Нормативная: Тен = 100 Тн / Vпроф;
Проектная: Теn = 100 Тn / Vпроф ,
где Vпроф - профильный объем разрабатываемого грунта, м3
.
Профильным объемом или кубатурой называется общий объем выемок в плотном теле и насыпей в состоянии остаточного разрыхления.
Для скреперного комплекта
V проф = Vo (2 + ч / 100)
V проф = 95929 × ( 2 + 7/100 ) = 198573,03 м3
где Vo - объем грунта, разрабатываемого и перемещаемого скреперным комплектом, м3
, ч - коэффициент остаточного разрыхления.
Для экскаваторного комплекта
Vnpoф = Vк + Vв + ∆
Vnpoф = 16608,42+411,74+1349= 18369,16 м3
где Vк - объем котлована, м3
; Vb - объем въезда, м3
; ∆ - объем излишков грунта в области выемки, разрабатываемый экскаватором, м3
.
Таким образом трудоёмкость разработки будет определяться:
Нормативная
Тен = 100 Тн / Vпроф
Скреперный комплект
Тен = 100 × 678 / 198573,03 = 0,34 (чел-смен / 100 м3
)
Экскаваторный комплект
Тен = 100 × 459 / 18369,16 = 2,50 (чел-смен / 100 м3
)
Проектная: Теn = 100 Тn / Vпроф ,
Скреперный комплект
Теn = 100 × 520 / 198573,03 = 0,26 (чел-смен / 100 м3
)
Экскаваторный комплект
Теn = 100 × 361 / 18369,16 = 1,97 (чел-смен / 100 м3
)
3. Выработка одного рабочего за смену, м3
/ чел–смен:
Нормативная
Вн = Vпроф / Тн
Скреперный комплект
Вн = 198573,03 / 678 = 292,88 (м3
/чел-смен)
Экскаваторный комплект
Вн = 18369,16 / 459 = 40,02 (м3
/чел-смен)
Проектная
Bn = Vnpoф / Tn
Скреперный комплект
Bn = 198573,03/ 520 = 381,87 (м3
/чел-смен)
Экскаваторный комплект:
Bn = 18369,16 / 361 = 50,88 (м3
/чел-смен)
4. Продолжительность работ в днях.
Данный показатель определяется по всему комплексу земляных работ. За нормативную продолжительность (tн) принимается директивный срок работ, а плановая продолжительность (tn) устанавливается по графику производства земляных работ.
Рассчитанные в записке технико-экономические показатели сводятся в таблицу и выносятся на чертежный лист.
Список литературы:
1. Янковский Ф.И. Проектирование работ по вертикальной планировке площадок и возведению земляных сооружений. Учебное пособие. – Хабаровск., 2003.
2. ЕНиР. Сборник Е2. Земляные работы. Вып. 1. Механизированные и ручные земляные работы. – М., 1989.
3. Земляные работы: Справочник строителя / Под ред. А.К. Рейша. 2-е изд., перераб. и доп. – М., 1984.
4. Беляков Ю.И. Земляные работы / Ю.И. Беляков, А.Л. Левинзон, В.А. Галимуллин. – М., 1990.
5. Методические указания по разработке типовых технологических карт в строительстве. – М., 1987.
6. Руководство по разработке типовых технологических карт в строительстве / ЦНИИОМТП Госстроя СССР. – М., 1976.
7. Руководство по производству земляных работ одноковшовыми экскаваторами / ЦНИИОМТП Госстроя СССР. – М., 1976.
8. Руководство по производству земляных работ скреперами / ЦНИИОМТП Госстроя СССР. – М., 1976.
9. СниП III – 4-80. Техника безопасности в строительстве. – М.,1992.
|