| Аннотация
Коротовская А.М. Реконструкция участка обработки осадков Очистных сооружений канализации г. Челябинска - Челябинск: ЮУрГУ, АС, 2008, 112, 17ил. Библиография литературы – 37 наименований, 10 листов чертежей ф. А1.
В данном дипломном проекте представлен вариант реконструкции участка обработки осадков, образующихся на очистных сооружениях канализации города Челябинска. Реконструкция проводится с целью уменьшения количества возникающего осадка, и, следовательно, с целью уменьшения нагрузки на окружающую среду.
В пояснительной записке содержится технологический раздел, литературный обзор по возможным направлениям реконструкции обработки осадков, расчет предлагаемой технологической схемы, основные принципы обеспечения безопасности жизнедеятельности при эксплуатации применяемого оборудования.
Предлагаемые технологические решения основаны на материалах, полученных при прохождении преддипломной практики.
Содержание
Введение
1. Литературный обзор по ОСК г. Челябинска
1.1 История развития очистных сооружений канализации г. Челябинска
1.2 Общая характеристика площадки очистных сооружений
1.3 Существующие объекты станции очистки сточных вод
1.3.1 Краткая характеристика объектов станции очистки сточных вод
1.3.1.1 Приемная камера
1.3.1.2 Решетки
1.3.1.3 Песколовки
1.3.1.4 Песковые площадки
1.3.1.5 Камера Вентури
1.3.1.6 Блоки технологических емкостей
1.3.1.6.1 Преаэраторы
1.3.1.6.2 Первичные отстойники
1.3.1.6.3 Распредканал перед аэротенками
1.3.1.6.4 Аэротенки
1.3.1.6.5 Распредканал перед вторичными отстойниками
1.3.1.6.6 Вторичный отстойник
1.3.1.6.7 Контактный канал
1.3.1.7 Метантенки
1.3.1.8 Минерализатор
1.3.1.9 Иловые площадки
1.3.1.10 Прочие технологические объекты
2. Литературный обзор по методам обработки осадков сточных вод
2.1 Теоретические основы и характеристики осадков
2.2 Методы обработки осадков сточных вод, применяемые сооружения
2.2.1 Уплотнение осадка
2.2.2 Стабилизация осадка
2.2.2.1 Анаэробная стабилизация
2.2.2.2 Аэробная стабилизация
2.2.3 Кондиционирование осдков
2.2.4 Обезвоживание осадков
2.2.4.1 Механическое обезвоживание
2.2.4.2 Термическая обработка осадков сточных вод
2.2.4.3 Сжигание осадков сточных вод
Реклама
2.2.5 Утилизация осадков бытовых сточных вод
3. Выбор и обоснование технологической схемы обработки осадков
3.1 Сгущение сырого осадка и избыточного ила
3.2 Сбраживание (стабилизация) смешанного, сгущённого ила
3.3 Обезвоживание сброженного осадка
3.4 Обеззараживание обезвоженного осадка
3.5 Утилизация биогаза, образующегося в процессе сбраживания осадка
4. Расчетная часть
4.1 Расчет количества образующегося осадка
4.1.1 Сырой осадок
4.1.2 Избыточный активный ил
4.1.3 Химический ил
4.2 Расчет оборудования для обработки осадков
4.2.1 Расчет гравитационных сгустителей для обработки сырого осадка
4.2.2 Механическое сгущение избыточного активного ила и химического ила
4.2.3 Расчет метантенков
4.2.3.1 Расчет метантенков при мезофильном сбраживании
4.2.3.2 Расчет метантенков при термофильном сбраживании
4.2.4 Механическое обезвоживание осадков
4.2.4.1 Расчет сооружений промывки осадков после сбраживания
4.2.4.2 Расчет реагентного хозяйства
4.2.4.3 Расчет камерного фильтр-пресса
4.2.4 Обеззараживание осадков сточных вод
5. Технико-экономическая часть
5.1 Определение капиталовложений
5.2 Годовые эксплуатационные затраты
5.2.1 Расчет затрат на реагенты
5.2.2 Определение затрат на электроэнергию
5.2.3 Расходы на заработную плату и отчисления на социальные нужды
5.2.4 Затраты на текущий ремонт
5.3 Расчет приведенных затрат
6. Безопасность жизнедеятельности
6.1 Анализ опасных и вредных факторов, возникающих при строительстве и эксплуатации сооружений обработки осадков
6.2 Производственная санитария
6.2.1 Микроклимат производственных помещений
6.2.2 Вредные вещества
6.2.3 Вентиляция и очистка воздуха производственных помещений
6.2.4 Производственное освещение
6.2.5 Шум и вибрация
6.2.6 Электробезопасность
6.3 Техника безопасности при монтажных работах
6.4 Требования безопасности при эксплуатации сооружений по обработке осадка сточных вод
6.5 Пожарная безопасность
Заключение
Список используемых источников
Введение
Решение инженерных задач, направленных на улучшение экологической обстановки многих регионов страны и охрану водоемов от загрязнений требует постоянного совершенствования методов очистки сточных вод. Наиболее сложной и дорогостоящей технологией в работе очистных комплексов по очистке сточных вод города является обработка и утилизация осадков.
Рост городов и их благоустройство, развитие промышленных предприятий повышает водопотребление, водоотведение и требует, в частности, увеличения мощности существующих очистных сооружений, повышения степени очистки сточных вод. Все это приводит к постоянному увеличению массы осадков, выделяемых при очистке сточных вод [1].
Реклама
МУП ПОВВ "Водоканал" города Челябинска готовится к технологическому и техническому развитию.
Существующая станция очистки стоков была построена в несколько этапов, последний из которых, в конце прошлого столетия, для очистки городских коммунальных и промышленных стоков. Номинальная производительность станции составляла 530000 м3
/сут стоков. Большая часть стоков коммунального происхождения, доля промышленных стоков составляет 30%. В настоящей системе очистка стоков производится в два этапа. Сначала стоки проходят через решётки, песколовки и первичные отстойники, в качестве второго этапа осуществляется биологическая очистка с активным илом. После биологической очистки вода сбрасывается в реку Миасс. Осадки, образующиеся в процессе очистки стоков, размещаются на иловых площадках, расположенных на территории станции.
Существующие объекты для очистки стоков с технической и технологической точки зрения в разной степени устарели. Качество очищенных стоков не соответствует требованиям, настоящая технология обработки осадков, занимающая большую площадь и образованием неприятных запахов, не соответствует сегодняшним требованиям. Если станция впредь не будет технически развиваться, работоспособность станции будет в опасности и размещение осадков оказывает вредное влияние на окружающую среду.
В ходе реконструкции станции очистки стоков, решение ниже перечисленных главных задач раньше или позже представляется неизбежным:
1. Увеличение гидравлической производительности очистных сооружений до 600000 м3
/день.
2. Увеличение производительности решёток и реконструкция решёток.
3. Расширение и реконструкция песколовки недостаточной производительности.
4. Техническое, технологическое усовершенствование блоков очистки, комбинированных с предварительными отстойниками.
5. Решение вопросов доочистки и обеззараживания очищенных стоков.
6. Ликвидация существующей системы обработки ила и строительство комплексной системы обработки ила, с размещением обезвоженного ила для складирования.
7. Резкое снижение запахов, исходящих от настоящей станции очистки.
8. Строительство новой, современной системы контроля и управления.
Вышеперечисленные задачи должны решаться таким образом, чтобы можно было обеспечить очерёдность реконструкции и развития станции, и чтобы во время реконструкции работали объекты, не затронутые реконструкцией. Схемы обработки сырого и избыточного ила, образующегося в процессе очистки стоков, в настоящей практике станции очистки стоков решены частично. Существующие методы обработки ила несовременные и в техническом плане устаревшие, поэтому система обработки осадков подлежит полному обновлению, то есть является предметом данного проектного задания.
1 Литературный обзор по ОСК г. Челябинска
1.1 История развития очистных сооружений канализации г. Челябинска
Канализационное хозяйство города Челябинска начинает устраиваться с 1932 года. Оно производила сбор, транспортировку сточных вод и позволяла сбрасывать их в реку Миасс без какой-либо биологической очистки. В поселке Сосновка со строительством новых очистных сооружений водопровода на 18000.м3
. в сутки и угрозой нарушения санитарного состояния в городе и реке Миасс, для удаления сбрасываемых стоков за черту города, пускается в эксплуатацию коллектор канализации диаметром 1200 мм с улицы Труда в район улицы Советской до Лакокрасочного завода, коллектор был кирпичной кладки. Бурное развитие промышленности в Челябинске, массовое строительство жилья подвигнуло к созданию более совершенных систем канализации. 13 сентября 1958 года были построены и переданы в эксплуатацию очистные сооружения бытовой канализации механической очистки сточных вод производительностью 40000. м3
/сут.
Строительство сооружений первой очереди производственной мощностью на 320000 м3
сточных вод в сутки было начато в 1974 году (1 и 2 блоки) и окончено в 1976 году. Также были введены в эксплуатацию канализационные коллекторы общей протяженностью 43,2 км с диаметром труб от 300 до 1420 мм.
В 1976 году введены в действие очистные сооружения блочного типа с полной биологической очисткой на 320000 м3
/сут.
Состав сооружений первой очереди: приемная камера, песколовки, преаэраторы, первичные отстойники, аэротенки, вторичные отстойники, илоуплотнители, водоизмерительные устройства, насосные станции, метантенки, иловые площадки.
В начале восьмидесятых годов продолжается развитие канализационного хозяйства города, строится вторая очередь развития ОСК с полной биологической очисткой воды, введены в действие 2 блока (3 и 4) очистки мощностью по
160000 м3
в сутки каждый. Общая мощность ОСК к концу 80-х годов достигла 600000 м3
в сутки. Начинается строительство третьей очереди развития канализации - 5 блок для достижения мощности до 760000 м3
в сутки.
Нынешние очистные сооружения канализации - это сложный организм, одно из основных и важных структурных подразделений ПОВВ.
1.2. Общая характеристика площадки очистных сооружений
Канализационные очистные сооружения располагаются на северной окраине города. Общая площадь очистных составляет 130,4105 га.
В геоморфологическом отношении территория приурочена к надпойменной террасе левого берега реки Миасс, открытой к востоку. Рельеф территории относительно ровный, общий уклон местности восточный.
Для большей части площадки характерны подземные воды типа грунтовых, ненапорные, питающиеся атмосферными осадками.
Трассы самотечных и напорных коллекторов канализации города Челябинска расположены в двух участках: в Северо-восточном и Северо-западном района города. Северо-восточный участок находится частично в Центральном и Тракторозаводском районах города. Северо-западный участок трассы берет свое начало в районе плодовоовощной станции, проходит западнее Северо-западного района города Челябинска и заканчивается на очистных сооружениях.
Расположение объектов станции показано на рисунках 1и 2.

Рисунок 1 – Географическое расположение объектов ОСК г.Челябинска

Рисунок 2 – Расположение объектов ОСК г. Челябинска
1.3 Существующие объекты станции очистки сточных вод
Очистные сооружения канализации предназначены для полной биологической очистки бытовых сточных вод города.
Значительная часть объектов и строений станции очистки стоков, построенной между 1974 и 1986, отражает уровень техники и технологии своего времени, за прошедшие 20 – 30 лет только незначительная часть машин и оборудования была обновлена.
Большая часть стоков коммунального происхождения, доля промышленных стоков составляет 30%. Источниками промышленных стоков являются пивоваренный завод, птицефабрика, завод красок и металлургическая промышленность, выпускающая стоки с низким содержанием органических веществ. Стоки металлургического производства могут также содержать ядовитые тяжелые металлы. Качество поступающих сточных вод показано в таблице 1.
Номинальная производительность станции составляет 530000 м3
/сут.
(3 блока производительностью 160000 м3
/сут каждый, и один блок производительностью 120000 м3
/сут. Производительность четвертого блока ниже, так как часть объектов этого блока применяется для минерализации образующегося избыточного ила.
Таблица 1 - Качество поступающих и очищенных сточных вод г. Челябинска
| № п/п
|
Показатели качества воды
|
Место отбора пробы сточных вод
|
Допустимая фактическая конц-ция загрязняющих веществ на сбросе с ОСК, мг/л
|
ПДК для рыбохозяйственного водопользова
ния, мг/л
|
| Перед первич
ными отстойниками
|
После первич
ных отстойников
|
После вторич
ного отстойника
|
| 1
|
рН
|
7,6
|
7,6
|
7,6
|
|
|
| 2
|
Взвешенные в-ва, мг/л
|
166,7
|
66,7
|
9,44
|
12
|
11,25
|
| 3
|
NH4
(N), мг/л
|
18,3
|
18,3
|
1,9
|
3,0
|
0,4
|
| 4
|
NO2
, мг/л
|
|
|
0,128
|
0,5
|
0,066
|
| 5
|
NO3,
мг/л
|
|
|
7,7
|
53
|
40,04
|
| 6
|
БПКполн
, мг/л
|
166,7
|
123,3
|
7,0
|
8,0
|
3,0
|
| 7
|
ХПК, мг/л
|
333,3
|
223,3
|
35
|
|
|
| 8
|
Fe, мг/л
|
1,58
|
|
0,065
|
0,25
|
0,1
|
| 9
|
PO4
, мг/л
|
2,5
|
2,17
|
1,36
|
2,5
|
0,2
|
| 10
|
Cu, мг/л
|
0,023
|
|
0,005
|
0,01
|
0,001
|
| 11
|
Zn, мг/л
|
0,21
|
|
0,06
|
0,15
|
0,01
|
| 12
|
СПАВ, мг/л
|
1,54
|
|
0,14
|
0,15
|
0,15
|
| 13
|
Фенолы, мг/л
|
0,013
|
|
0,002
|
0,002
|
0,001
|
| 14
|
SO4
, мг/л
|
59
|
|
56
|
90
|
90
|
| 15
|
Cr, мг/л
|
0,048
|
|
0,0015
|
0,015
|
0,015
|
| 16
|
Al, мг/л
|
1,16
|
|
0,11
|
0,1
|
0,04
|
В настоящее время производительность станции в основном составляет около 500000 м3
/сут.
Очистка производится по двухступенчатой схеме - механическая и биологическая очистка.
Механическая очистка – освобождение сточной воды от мусора, минеральных нерастворимых веществ, крупных частиц органики.
Биологическая очистка – очистка сточных вод от растворимой и мелкодисперсной органики под воздействием аэробных микроорганизмов. При этом соединения азота аммонийного (мочевина) переходят в соединения нитратов, для природы менее опасные – процесс нитрификации. Процесс денитрификации – разрушение нитратов с выдувание атомарного азота в воздух. После биологической очистки вода сбрасывается в реку Миасс.
Основные процессы технологии очистки стоков и обработки осадков отражены на рисунке 3. Очищенные стоки не обеззараживаются.
Осадки, образующиеся в процессе очистки стоков, размещаются на иловых площадках, расположенных на территории станции.
В состав очистных сооружений входят:
- приемная камера;
- здание решеток;
- песколовки;
- камеры "Вентури" № 1 и № 2;
- блоки емкостей - 4 штуки;
- вспомогательные цеха и сооружения.
Существующие объекты станции очистки стоков сведены в таблицу 2. Таблица также содержит характерные размеры основных технологических объектов.
 
Рисунок 3 – Принципиальная схема очистки сточных вод на ОСК г. Челябинска
Таблица 2 – Перечень и данные существующих объектов
| № п/п
|
Сооружение
|
Кол-во
|
Габаритные размеры
|
S пов-сти, м2
|
V сооруж., м3
|
| Длина, м
|
Ширина, м
|
Глубина, м
|
| 1
|
Приемная камера
|
1
|
48 (30+18)
|
3
|
|
144
|
|
| 2
|
Каналы для решеток
|
5 (4 раб., 1 рез)
|
|
2
|
1,9 (затопленная часть решетки)
|
|
|
| 3
|
Песколовки
|
5 (4 раб., 1 рез)
|
20
|
6
|
|
120
|
|
| 4
|
Песковые площадки
|
3
|
30
|
30
|
|
900
|
|
| 5
|
Преаэраторы
|
По кол-ву первичных отстойников
|
36
|
6
|
4,2
|
106,5
|
447,3
|
| 6
|
Первичные отстойники
|
15 (8 раб., 7 рез.)
|
27
|
36
|
4,2
|
972
|
3693,6
|
| 7
|
Распредканал аэротенков
|
4
|
144
|
1,5
|
4,5
|
216
|
972
|
| 8
|
Аэротенки
|
15
|
87
|
36 (9×4)
|
4,5
|
3132
|
14094
|
| 9
|
Лоток подачи СВ
|
15
|
|
0,8
|
1,2
|
|
|
| 10
|
Лоток активного ила
|
4
|
144
|
1,1
|
1,2
|
|
|
| 11
|
Распредканал перед вторичными отст-ми
|
15
|
144
|
1,5
|
4,5
|
216
|
972
|
| 12
|
Вторичные отстойники
|
15
|
30
|
36 (9×4)
|
4,2
|
1080
|
4536
|
| 13
|
Контактный канал
|
4
|
150
|
1,5
|
4,5
|
225
|
1012,5
|
| 14
|
Метантенки
|
4 (раб. 3)
|
D = 16
|
|
11,5
|
|
1800
|
| 15
|
Минерали
затор
|
Аэротенк
|
1
|
87
|
36 (9×4)
|
4,5
|
3132
|
14094
|
| отстойник
|
1
|
30
|
36 (9×4)
|
4,2
|
1080
|
4536
|
| 16
|
Иловые площадки
|
180
|
100
|
15
|
1
|
1500
|
1500
|
С очистных сооружений предусмотрено 6 аварийных выпусков:
- аварийный выпуск № 1 - из приемной камеры;
- аварийный выпуск № 2 - после песколовок;
- аварийные выпуски №№ 3, 4, 5, 6 - на блоках емкостей №№ 1, 2, 3, 4 соответственно из распредканалов после первичных отстойников с северной стороны.
Коэффициент неравномерности поступления сточных вод составляет 1,44.
1.3.1 Краткая характеристика объектов станции очистки сточных вод
1.3.1.1 Приемная камера
Приемная камера (рис.4), представляющая собой заглубленную железобетонную емкость, предназначена для приема, смешивания и усреднения сточных вод, поступающих на очистные сооружения со всех насосных станций города по 18 напорным коллекторам.
В торце приемной камеры имеется аварийный перелив. Через него вода может поступать непосредственно в водоприемник – реку Миасс.
1.3.1.2 Решетки
Вода из приемной камеры через пять каналов поступает в здание решеток на четыре ступенчатые решетки (рис. 5) и одну традиционную плоскую решетку. Каждая решетка установлена в отдельном канале, начинающийся от приемной камеры и оканчивающийся песколовной секцией.
Решетки предназначены для удаления из канализационных и промышленных сточных вод грубодисперсных механических примесей. Минимальный размер задерживаемых частиц определяется величиной прозоров между фильтрующими полосами.
Решетки представляют собой процеживатели, на которых задерживаются крупные загрязнения, находящиеся в составе сточных вод. В 1974 году были установлены решетки типа МГ– 67 с прозорами 16 мм, с 1986г. установлены решетки собственной конструкции с
прозорами 10 мм, как и МГ оснащенные механизированными граблями для снятия отбросов. Каждая решетка укомплектовывалась контейнером для сбора мусора. В 2000 – 2002 г.г. были установлены ступенчатые решетки РС – 1900 (фирмы "Риотек" г. Санкт–Петербург) с прозорами 6 мм. Номинальная производительность решеток по данным производителя составляет 5900 м3
/ч. Мусор, задерживаемый на ступенчатых решетках попадает на ленточный транспортер, затем обезвоживается через гидравлический пресс-транспортер (пресс-толкатель) и попадает в контейнер для мусора. Вывоз мусора осуществляется на городскую свалку.
1.3.1.3 Песколовки
Вода, очищенная от крупной взвеси на решетках, самотеком поступает в горизонтальную песколовку, в которой происходит задержание минеральных быстрооседающих загрязнений, содержащихся в сточной воде (песка и других минеральных нерастворимых загрязнений гидравлической крупностью 0,25 мм и более). Для каждой решетки имеется своя секция песколовки, общее количество неаэрируемых секций – 5 штук. Нормативная скорость движения воды в песколовках составляет 0,15-0,30 м/с, время пребывания сточной воды в сооружении – 1-5 мин.
Песок, оседающий на дне секции песколовки, удаляется скребками в осадочные приямки, расположенные в начале сооружений. Песок из приямков удаляется гидроэлеватором и передается на три последовательно соединенные песковые площадки. Вода из песколовок через перелив поступает в сборный канал, из которого выполнены 5 отводов: 4 - на блоки емкостей, 1 – аварийный.
1.3.1.4 Песковые площадки
Песковые площадки – это земельные площадки, разбитые на карты с ограждающими валами высотой 1 – 2 м., предназначенные для обезвоживания песка и минеральных частиц, задерживаемых в песколовках, подсушивание его для последующей утилизации. Движение пульпы из песколовок осуществляется последовательно через 3 песковые площадки (каскадного типа). Оборудованы шахтными водосборами для отвода
отстоявшейся воды. Дренируемая вода через насосную станцию песковых площадок подается на песколовку № 5. Подсушенный песок из песковых площадок удаляется экскаватором на рельеф с последующим вывозом на городскую свалку.
1.3.1.5 Камера Вентури
Камеры Вентури предназначены для учета расходов сточной воды на блоки технологических емкостей.
Трубы Вентури относятся к классу расходомеров, измеряющих расход методом переменного перепада давления в сужающем устройстве. Под сужающим первичным прибором понимается приспособление, установленное в трубопроводе и создающее в нем при протекании жидкости искусственный перепад давления (труба Вентури). В трубе Вентури диаметр трубопроводов DN 2000 мм сужается до диаметра DN 1200 мм.
Сточные воды от распределительных камер поступают дальше в преаэратор по трубопроводам DN 1200 – 1400 мм.
1.3.1.6 Блоки технологических емкостей
Основная очистка стоков, прошедших очистку на решетках и песколовках, производится в четырёх параллельно работающих блоках очистки, где каждый блок содержит четыре линии очистки.
Все четыре блока практически одинаковой конструкции и применяется в них одинаковая технология. Самую большую разницу между ними оказывает год постройки. Два средних блока (№1 и №2) были построены раньше, справа по течению находится блок №3, на левой стороне расположен блок №4, (в одной секции которого проводится минерализация избыточного ила).
Блок технологических емкостей включает в себя следующие сооружения (рис. 6): преаэраторы, первичные отстойники, респредканал перед аэротенками (сборный канал после первичных отстойников), аэротенки, распредканал перед вторичными отстойниками (сборный канал после аэротенков), вторичные отстойники, контактный канал.
1.3.1.6.1 Преаэраторы
Преаэраторы трехкоридорные, совмещены с первичными отстойниками на блоках емкостей. Их назначением является предварительная аэрация для улучшения эффективности отстаивания в первичном отстойнике.
Режим работы преаэратора является постоянным при работающем первичном отстойнике. Подача воздуха производится через дырчатые трубы.
3.1.6.2 Первичные отстойники
Стоки из преаэраторов поступают в первичные отстойники, через проёмы в перегородке. Предназначены первичные отстойники для осветления сточных вод, прошедших сооружения грубой очистки (решетки, песколовки). Нормативная скорость движения воды 0,005 – 0,006 м/с. Время пребывания в сооружении 1,5 – 2 часа.
Сырой осадок, осевший в первичных отстойниках, двумя скребками перемещается в приямки отстойников, количество приямков одного отстойника 8 штук (по два приямка в каждом коридоре). Осадок из приямков выгружается эрлифтами в бак сырого осадка, откуда насосами сырого осадка перекачивается в метантенки или на иловые площадки для высушивания.
1.3.1.6.3 Распредканал перед аэротенками
Вода из первичных отстойников поступает в распределительный канал, проходящий по всей длине блока очистки (длина 144 м, ширина 1,5 м, глубина
4,5 м), для сбора и усреднения осветленных сточных вод перед биологической очисткой. Затем сточные воды распределяются по аэротенкам блока емкостей.
1.3.1.6.4 Аэротенки
Предварительно отстоянная вода через распределительный канал поступает в аэротенки (рис. 7). Аэротенки-смесители предназначены для биологической очистки сточных вод. Представляют собой резервуары, в которых очищаемая сточная вода и активный ил перемешиваются и насыщаются воздухом. Для нормального обеспечения процесса биологического окисления в аэротенк непрерывно подается воздух через систему аэрации и возвратный активный ил из вторичного отстойника. Подача возвратного ила в регенератор осуществляется из илового лотка через 2 шибера. Аэротенки 4-х коридорные с 25% регенерацией.
Подача осветленной сточной воды рассредоточена, осуществляется по центральному лотку сточной жидкости через шибера.
Регулирование процесса очистки сточной жидкости осуществляется путем поддержания дозы активного ила и растворенного кислорода, на основании данных лабораторных анализов.
Рисунок 4– Блок технологических емкостей
1.3.1.6.5 Распредканал перед вторичными отстойниками
Предназначен для сбора и усреднение водно-иловой смеси после аэротенков, распределения ее по вторичным отстойникам.
1.3.1.6.6 Вторичный отстойник
Вторичные отстойники горизонтального типа предназначены для осветления сточных вод, прошедших биологическую очистку, то есть для отделения очищенной воды от активного ила. Скорость движения воды – 0,005 – 0,006 м/с. Время пребывания в сооружении 1,5 – 2 ч.
Активный ил возвращается в аэротенк системой скребков, приямков и эрлифтов, расположенных по обе стороны отстойника. Избыточный активный ил отводится из илового лотка системой насосов на аэробную стабилизацию в минерализатор. Очищенная вода отводится через контактный канал системой коллекторов Ду 1250 и Ду 1750 в реку Миасс.
1.3.1.6.7 Контактный канал
Вода из вторичных отстойников поступает в контактный канал, проходящий через весь блок очистки стоков, для усреднения.
Очищенная вода из контактного канала поступает через параллельно прилегающие трубопроводы в коллекторную камеру, затем далее в реку Миасс.
1.3.1.7 Метантенки
Четыре метантенка (рис. 8) каждый с полезным объемом 1800 м3
служат для анаэробного сбраживания осадка из первичных отстойников при термофильном режиме. Под воздействием анаэробных микроорганизмов происходит дегельминтизация и минерализация осадка.
Метантенки представляют собой цилиндрический железобетонный резервуар с коническим днищем и герметическим перекрытием, в верхней части которого имеется колпак для сбора газа.
Периодичность загрузки метантенков – 2 раза в сутки. Подогрев осадка осуществляется острым паром (из котельной СП ОСК). Пар подается непосредственно в метантенк при поступлении и перемешивании осадка. Выгрузка сброженного осадка производится на иловые площадки одновременно с загрузкой сырого осадка в метантенки в объеме, соответствующем объему загружаемого осадка.
1.3.1.8 Минерализатор
Избыточный активный ил, возникающий в процессе биологической очистки, перед размещением на иловых площадках подвергается аэробной стабилизации (минерализации) с целью уменьшения биомассы и повышения водоотдачи осадка.
Минерализатор представляет собой аэротенк с постоянной подачей воздуха без поступления питательных веществ для активного ила. Осадок, стабилизированный в аэробных условиях, гораздо легче обезвоживается, чем анаэробно сброженный.
1.3.1.9 Иловые площадки
Иловые площадки предназначены для подсушивание сброженного осадка после обработки в метантенках и сырого осадка после первичных отстойников до влажности 70 – 80% для возможности его дальнейшего гуртования, погрузки и транспортировки на полигон ТБО.
Иловые площадки состоят из спланированных участков земли (карт), окруженных со всех сторон земляными валками. Выполнены на естественном основании с дренажем.
Осадок наливается на карты периодически слоями. Осадок, подсушенный до влажности 70 - 80% вывозится на городскую свалку. Сброженный и сырой осадок подается на иловые площадки по напорным трубопроводам. Дренажные воды отводятся через насосную станцию в голову сооружений.
1.3.1.10 Прочие технологические объекты
Вспомогательные цеха предназначены для обеспечения надежности и непрерывности технологического процесса, а именно:
- котельная - подачи пара на метантенки, теплоснабжения и горячего водоснабжения промплощадки СП ОСК;
- воздуходувная станция - подачи сжатого воздуха на блоки емкостей;
- электроцех – бесперебойного электроснабжения сооружений и промплощадки в целом;
- ремонтно-механическая служба - проведения ремонтов на ОСК;
- гараж – обеспечения транспортом для вывоза осадков и других нужд предприятия;
- лаборатория – обеспечения технологического контроля за работой станции, контроль стоков предприятий города, воды реки Миасс до и после сброса очищенных вод ОСК в водоем.
2. Литературный обзор по методам обработки осадков сточных вод
2.1 Теоретические основы и характеристики осадков
Сточные воды, поступающие на предприятия по их очистке, содержат весьма разнообразные по составу загрязнения минерального (песок, глинистые частицы, масла, кислоты, щелочи, соли и т. п.), органического (бытовые отходы, фекалии, растительные масла, нефтепродукты, волос, волокна растений и т. п.) и бактериального (микроорганизмы, дрожжевые и плесневые грибы, водоросли и т.п.) происхождения в виде растворов, коллоидов, плавающих и взвешенных веществ [2].
Осадки сточных вод— суспензии, выделяемые из сточных вод в процессе их механической и биологической очистки. В зависимости от типа сооружений, применяемых для очистки городских сточных вод и обработки осадков, последние можно подразделять на следующие виды: грубые примеси (отбросы), задерживаемые решетками; тяжелые примеси (песок), задерживаемые песколовками; плавающие примеси (жировые вещества), всплывающие в отстойниках; сырой осадок — суспензия, включающая в основном оседающие взвешенные вещества, которые задерживаются первичными отстойниками; активный ил, задерживаемый во вторичных отстойниках, — комплекс микроорганизмов коллоидного типа с адсорбированными и частично окисленными загрязнениями, извлеченными из сточных вод в процессе биологической очистки; осадок, анаэробно сброженный в осветлителях-перегнивателях, двухъярусных отстойниках и метантенках (анаэробному сбраживанию может подвергаться осадок, содержащий органические вещества, либо его смесь с избыточным активным илом); аэробно стабилизированный активный ил или его смесь с осадком из первичных отстойников в сооружениях типа аэротенков; сгущенный или уплотненный активный ил или осадок в сгустителях или уплотнителях; осадок обезвоженный на механических аппаратах; осадок, подсушенный на иловых площадках; осадок, термически высушенный в различных сушилках.
Состав и свойства осадков, в первую очередь, зависят от вида и состава исходной сточной воды и технологии ее очистки [3].
Общий объем осадков, как правило, не превышает 1% объема обрабатываемых стоков, при этом на долю активного ила приходится 60 – 70 % образующихся осадков.
Осадок из первичных отстойников крайне неоднороден по фракционному составу:
содержание в нем частиц крупностью более 7—10 мм составляет 5—20%, крупностью 1 - 7 мм – 9 – 33 %, крупностью менее 1 мм – 50 – 88 % массы сухого вещества. Осадок имеет влажность 92 - 96%, слабокислую реакцию среды, в значительной степени насыщен микроорганизмами (в том числе патогенными), содержит яйца гельминтов.
Активный ил по фракционному составу значительно однороднее осадка первичных отстойников; около 98% (по массе) частиц ила имеют размер менее
1 мм. Влажность активного ила в зависимости от принятой схемы обработки составляет 96 - 99,5 %. Хлопья ила, состоящие из большого числа многослойно расположенных микробиальных клеток, заключенных в слизь, обладают очень развитой удельной площадью поверхности, составляющей около 100 м2
на 1 г сухого вещества. Так же как осадок, ил может быть заражен яйцами гельминтов [4].
Твердая фаза осадков городских сточных вод состоит из органических и минеральных веществ. Органическая, или беззольная, часть в осадке из первичных отстойников составляет 65 – 75 % массы сухого вещества, в иле — 70 – 75 %. Соответственно зольность осадка колеблется от 25 до 35 %, ила — от 25 до 30%.
Основными компонентами беззольной части осадка и ила являются белково-, жиро-, углеводоподобные вещества, в сумме составляющие 80 – 85 %. Остальные 15 – 20% приходятся на долю лигнино-гумусового комплекса соединений. Количественные соотношения отдельных компонентов в осадке и иле различны. Если в беззольном веществе осадка преобладают жироподобные вещества и углеводы, то в активном иле значительную часть органического вещества составляют белки.
Осадки сточных вод содержат ценные удобрительные вещества (азот, фосфор, калий, микроэлементы) и могут быть использованы в качестве удобрения.
Исследования, проведенные АКХ, показали, что активный ил может быть использован в качестве кормовой добавки к рациону сельскохозяйственных животных. Питательная ценность активного ила обусловлена высоким содержанием белка и витаминов. Ил городских очистных станций содержит почти все витамины группы В и особенно много витамина В12
[5].
Вода в осадках может быть в свободном и связанном состоянии. Свободная вода (60 - 65 %) может быть легко удалена из осадка. Коллоидно-связанная влага обволакивает твердые частицы гидратной оболочкой и препятствует их соединению в крупные агрегаты. Некоторое количество этой влаги удаляется из осадка после коагуляции в процессе фильтрования.
На способность осадков отдавать воду влияет ряд факторов: влажность, степень дисперсности частиц твердой фазы, структура осадка и его химический состав.
Обобщающим показателем, характеризующим способность осадков к водоотдаче (фильтруемость осадка), является удельное сопротивление фильтрации — сопротивление, оказываемое потоку фильтрата, равномерным слоем осадка, масса которого на единице площади фильтра равна единице. Чем выше удельное сопротивление, тем труднее отдает воду осадок. Активный ил имеет значительно большее сопротивление фильтрации, чем сырой осадок. Связано это с тем, что в иле много коллоидных веществ и основную массу составляют очень мелкие частицы. Удельное сопротивление фильтрации служит исходной величиной при выборе метода обезвоживания осадка.
Коагулянты с положительно заряженными ионам и нейтрализуют отрицательный заряд частиц осадка. После этого отдельные твердые частицы освобождаются от гидратной оболочки и соединяются вместе в хлопья. Разрушить гидратную оболочку можно кратковременной термической обработкой. Освобожденная вода легче отфильтровывается. Полное удаление влаги достигается в процессе высокотемпературной сушки [6].
2.2 Методы обработки осадков сточных вод, применяемые сооружения
Основная задача обработки осадков сточных вод заключается в получении конечного продукта, свойства которого обеспечивают возможность его утилизации в интересах народного хозяйства либо сводят к минимуму ущерб, наносимый окружающей среде. Технологические схемы, применяемые для реализации этой задачи, отличаются большим многообразием.
Технологические процессы обработки осадков сточных вод на всех очистных станциях механической, физико-химической и биологической очистки можно разделить на следующие основные стадии: уплотнение (сгущение), стабилизация органической части, кондиционирование, обезвоживание, термическая обработка, утилизация ценных продуктов или ликвидация осадков (схема 2) [3].

Рисунок 5 – Стадии и методы обработки осадка сточных вод
2.2.1 Уплотнение осадков
Уплотнение осадков связано с удалением свободной влаги и является необходимой стадией всех технологических схем обработки осадков. При уплотнении в среднем удаляется 60 % влаги и масса осадка сокращается в 2,5 раза.
Для уплотнения используют гравитационный, фильтрационный, центробежный и вибрационный способы. Гравитационный способ уплотнения является наиболее распространенным. Он основан на оседании частиц дисперсной фазы. В качестве илоуплотнителей используют вертикальные или радиальные отстойники.
Уплотнение активного ила, в отличие от уплотнения сырого осадка, сопровождается изменением свойств ила. Активный ил как коллоидная система обладает высокой структурообразующей способностью, вследствие чего его уплотнение приводят к переходу части свободной воды в связанное состояние, а увеличение содержания связанной воды в иле приводит к ухудшению водоотдачи.
Применяя специальные методы обработки, например обработку химическими реагентами, можно добиться перевода части связанной воды в свободное состояние. Однако значительную часть связанной воды можно удалить лишь в процессе испарения.
2.2.2 Стабилизация осадка
Большое содержание органических веществ обусловливает способность осадков быстро загнивать, а высокая бактериальная зараженность, наличие в них яиц гельминтов создают опасность распространения инфекций. Поэтому основной задачей обработки осадков является их обезвреживание: получение безопасного в санитарном отношении продукта [5].
2.2.2.1 Анаэробная стабилизация
Основным методом обезвреживания осадков городских сточных вод является анаэробное сбраживание. Брожение называется метановым, так как в результате распада органических веществ осадков в качестве одного из основных продуктов образуется метан.
В основе биохимического процесса метанового брожения лежит способность сообществ микроорганизмов в ходе своей жизнедеятельности окислять органические вещества осадков сточных вод.
Промышленное метановое брожение осуществляется широким спектром бактериальных культур. Теоретически рассматривают брожение осадков, состоящее из двух фаз: кислой и щелочной.
В первой фазе кислого или водородного брожения сложные органические вещества осадка и ила под действием внеклеточных бактериальных ферментов сначала гидролизуются до более простых: белки — до пептидов и аминокислот, жиры - до глицерина и жирных кислот, углеводы — до простых сахаров. Дальнейшие превращения этих веществ в клетках бактерий приводят к образованию конечных продуктов первой фазы, главным образом органических кислот. Более 90 % образующихся кислот составляют масляная, пропионовая и уксусная. Образуются и другие относительно простые органические вещества (альдегиды, спирты) и неорганические (аммиак, сероводород, диоксид углерода, водород).
Кислую фазу брожения осуществляют обычные сапрофиты: факультативные анаэробы типа молочнокислых, пропионовокислых бактерий и строгие (облигатные) анаэробы типа маслянокислых, ацетонобутиловых, целлюлозных бактерий. Большинство видов бактерий, ответственных за первую фазу брожения, относится к спорообразующим формам. Во второй фазе щелочного или метанового брожения из конечных продуктов первой фазы образуются метан и угольная кислота в результате жизнедеятельности метанообразующих бактерий — неспороносных облигатных анаэробов, очень чувствительных к условиям окружающей среды.
Метан образуется в результате восстановления СО2
или метильной группы уксусной кислоты:

где АН2
- органическое вещество, служащее для метанообразующих бактерий донором водорода; обычно это жирные кислоты (кроме уксусной) и спирты (кроме метилового).
Многие виды метанообразующих бактерий окисляют молекулярный водород, образующийся в кислой фазе Тогда реакция метанообразования имеет вид:

Микроорганизмы, использующие уксусную кислоту и метиловый спирт, осуществляют реакции:


Все перечисленные реакции являются источниками энергии для метанообразующих бактерий, и каждая из них представляет собой серию последовательных ферментативных превращений исходного вещества. В настоящее время установлено, что в процессе метанообразования принимает участие витамин В12
, которому приписывают основную роль в переносе водорода в энергетических окислительно-восстановительных реакциях у метанообразующих бактерий.
Считается, что скорости превращения веществ в кислой и метановой фазах одинаковы, поэтому при устойчивом процессе брожения не происходят накопления кислот — продуктов первой фазы.
Процесс сбраживания характеризуется составом и объемом выделяющегося газа, качеством иловой воды, химическим составом сброженного осадка.
Образующийся газ состоит в основном из метана и диоксида углерода. При нормальном (щелочном) брожения водород как продукт первой фазы может оставаться в газе в объеме не более 1 - 2%, так как используется метанообразующими бактериями в окислительно-восстановительных реакциях энергетического обмена.
Выделившийся при распаде белка сероводород Н2
S практически не попадает в газ, так как в присутствии аммиака легко связывается с имеющимися ионами железа в коллоидный сульфид железа.
Конечный продукт аммонификации белковых веществ — аммиак — связывается с углекислотой в карбонаты и гидрокарбонаты, которые обусловливают высокую щелочность иловой воды.
В зависимости от химического состава осадков при сбраживании выделяется от 5 до 15 м3
газа на 1 м3
осадка.
Скорость процесса брожения зависят от температуры. Так, при температуре осадка 25 - 27°С процесс длится 25 - 30 дней; при 10°С продолжительность его увеличивается до 4 месяцев и более. Для ускорения сбраживания и уменьшения объема необходимых для этого сооружений применяют искусственный подогрев осадка до температуры 30 -35°С или 50 - 55°С.
Для нормально протекающего процесса метанового брожения характерны слабощелочная реакция среды (рН ≤ 7,б), высокая щелочность иловой воды (65—90 мг-экв/л) и низкое содержание жирных кислот (до 5 - 12 мг-экв/л). Концентрация аммонийного азота в иловой воде достигает 500 - 800 мг/л.
Нарушение процесса может быть результатом перегрузки сооружения, изменения температурного режима, поступления с осадком токсичных веществ и т. д. Нарушение проявляется в накопления жирных кислот, снижении щелочности иловой воды, падении рН. Резко уменьшается объем образующегося газа, увеличивается содержание в газе угольной кислоты и водорода — продуктов кислой фазы брожения.
Кислотообразующие бактерии, ответственные за первую фазу брожения, более выносливы ко всякого рода неблагоприятным условиям, в том числе и к перегрузкам. Осадки, поступающие на сбраживание, в значительной степени обсеменены ими. Быстро размножаясь, кислотообразующие бактерии увеличивают ассимиляционную способность бактериальной массы и таким образом приспосабливаются к возросшим нагрузкам. Скорость первой фазы при этом возрастает, в среде появляется большое количество жирных кислот.
Метановые бактерии размножаются очень медленно. Время генерации для некоторых видов составляет несколько дней, поэтому они не в состоянии быстро увеличивать численность культуры, а содержание их в сыром осадке незначительно. Как только нейтрализующая способность бродящей массы (запас щелочности) оказывается исчерпанной, рН резко снижается, что приводит к гибели метанообразующих бактерий.
Большое значение для нормального сбраживания осадка имеет состав сточных вод, в частности наличие в них таких веществ, которые угнетают или парализуют жизнедеятельность микроорганизмов, осуществляющих процесс сбраживания осадка. Поэтому вопрос о возможности совместной очистки производственных я бытовых сточных вод следует разрешать в каждом отдельном случае в зависимости от их характера и физико-химического состава.
При смешивании бытовых сточных вод с производственными необходимо, чтобы смесь сточных вод имела рН=7 - 8 и температуру не ниже 6°С и не выше
30°С. Содержание ядовитых или вредных веществ не должно превышать предельно допустимой концентрации для микроорганизмов, развивающихся в анаэробных условиях. Например, при содержания меди в осадке более 0,5% сухого вещества ила происходит замедление биохимических реакций второй фазы процесса сбраживания и ускорение реакций кислой фазы. При дозе гидроарсенита натрия 0,037% к массе беззольного вещества свежего осадка замедляется процесс распада органического вещества.
Для обработки и сбраживания сырого осадка применяют три вида сооружений: 1) септики (септиктенки); 2) двухъярусные отстойники; 3) метантенки.
В септиках одновременно происходит осветление воды и перегнивание выпавшего из нее осадка. Септики в настоящее время применяют на станциях небольшой пропускной способности.
В двухъярусных отстойниках отстойная часть отделена от гнилостной (септической) камеры, расположенной в нижней части. Развитием конструкции двухъярусного отстойника является осветлитель-перегниватель.
Для обработки осадка в настоящее время наиболее широко используют метантенки, служащие только для сбраживания осадка при искусственном подогреве и перемешивании.
Сброженный осадок имеет высокую влажность (95 - 98%), что затрудняет применение его в сельском хозяйстве для удобрения (из-за трудности перемещения обычными транспортными средствами без устройства напорных разводящих сетей). Влажность является основным фактором, определяющим объем осадка. Поэтому основной задачей обработки осадка является уменьшение его объема за счет отделения воды и получение транспортабельного продукта.
2.2.2.2 Аэробная стабилизация
Для обработки небольших объемов осадков (главным образом активного ила) применяют метод аэробной стабилизации, осуществляемый в сооружениях типа аэротенков.
Аэробная стабилизация осадков сточных вод — процесс окисления эндогенных и экзогенных органических субстратов в аэробных условиях. В отличие от анаэробного сбраживания аэробная стабилизация протекает в одну стадию:

с последующим окислением NH3
до NО2
.
Аэробной стабилизации может подвергаться неуплотненный и уплотненный избыточный активный ил и его смесь с осадком первичных отстойников. При стабилизации только активного ила процесс можно рассматривать как завершающую ступень очистки сточных вод, когда при минимуме растворенных питательных веществ происходит самоокисление клеточного вещества микроорганизмов. В этом случае продолжительность стабилизации ила связана с его возрастом. Чем больше возраст ила, тем короче период стабилизации. При стабилизации смеси ила с осадком происходит выделение ферментов, катализирующих окисление экзогенных субстратов осадка. Степень распада органического вещества в продолжительность процесса зависят от соотношения количеств сырого осадка и активного ила, концентрации органических веществ, интенсивности аэрации, температуры и прочего. Процесс аэробной стабилизации обычно происходит в психрофильно-мезофильной зоне жизнедеятельности микроорганизмов при температуре от 10 до 42ºС и затухает при температуре менее 8°С. Степень распада органических веществ изменяется в среднем от 10 до 50 %, при этом жиры распадаются на 65-75%, белки на 20—30%, а углеводы практически не распадаются. В процессе аэробной стабилизации при мезофильных температурах наблюдается снижение содержания кишечной палочки и других патогенных бактерий и вирусов на 70 - 90%, однако при этом яйца гельминтов не погибают.
Продолжительность процесса – 2 - 5 суток для неуплотненного ила, 6 - 7 суток для смеси неуплотненного ила и осадка из первичных отстойников и 8 - 12 суток для смеси уплотненного ила и осадка. Удельный расход воздуха следует принимать 1 - 2 м3
/ч на 1 м3
объема стабилизатора при интенсивности аэрации не менее 6 м3
/(м2
ч).
Аэробная стабилизация осадков проводится обычно в сооружениях типа аэротенков глубиной 3 - 5 м. Использование других емкостей, построенных на станциях аэрации, например переоборудованных отстойников, уплотнителей в неиспользуемых метантенков, может привести к ухудшению эффективности процесса в увеличению расхода электроэнергии.
Отстаивание и уплотнение аэробно стабилизированного осадка следует производить в течение 1,5 - 5 ч в отдельно стоящих илоуплотнителях или в специально выделенной зоне внутри стабилизатора. Влажность уплотненного осадка 96,5—98,5%. Иловая вода должна направляться в аэротенки.
2.2.3 Кондиционирование осадков
Осадки, образующиеся на очистных сооружениях населенных мест, характеризуются весьма низкими показателями водоотдачи, что затрудняет применение интенсивных процессов для их обезвоживания. Для улучшения водоотдачи необходимо изменить структуру осадка таким образом, чтобы в результате укрупнения твердых частиц произошло уменьшение поверхности раздела дисперсной фазы и дисперсионной среды и, следовательно, понизилась поверхностная энергия связи воды с твердыми частицами. Изменение структуры осадков приводит к количественному перераспределению форм связи влаги в сторону увеличения содержания свободной воды за счет уменьшения доли связанной. Такое изменение структуры осадков позволяет добиваться более глубокого и быстрого их обезвоживания. Процессы подготовки осадков к обезвоживанию называют кондиционированием.
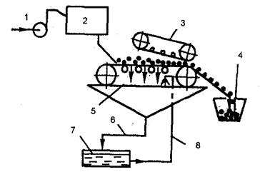
Методы кондиционирования подразделяются на реагентные и безреагентные. Первой стадией подготовки осадка к обезвоживанию является его промывка (рисунок 6). Промывка применяется только для сброженных осадков. В результате промывки из сброженного осадка удаляются коллоидные частицы и мелкая взвесь. Для осадков, сброженных в разных режимах, параметры промывки различаются. Промывку производят очищенной сточной водой.

Рисунок 6- Схема кондиционирования сброженного осадка промывкой и уплотнением
1 – метантенк; 2 – насосная станция; 3 – промывная камера; 4 – уплотнитель; 5 – уплотненный осадок на механическое обезвоживание; 6 – подача сжатого воздуха; 7 – подача промывной воды; 8 – подача фильтрата; 9 – выпуск иловой воды
Количество промывной воды следует принимать, м3
/м3
:
- для сброженного сырого осадка - 1-1,5;
- для сброженной в мезофильных условиях смеси сырого осадка и избыточного активного ила - 2-3;
- то же в термофильных условиях - 3-4.
Продолжительность промывки следует принимать 15 - 20 минут, число резервуаров для промывки осадка не менее двух.
Для исключения разделения осадка необходимо предусмотреть перемешивание воздухом, количество его определяется из расчета 0,5 м3
/мЗ
смеси промывного осадка и воды. Затем эта смесь направляется в уплотнители, где в течение 12 - 24 часов происходит уплотнение осадка. Иловая (сливная) вода направляется в голову очистных сооружений.
Реагентные методы предполагают использование для обработки осадков неорганических реагентов (хлорное железо, сернокислое железо, известь) или органических высокомолекулярных соединений (полиэлектролитов). И те, и другие приводят к снижению удельного сопротивления фильтрации в результате агрегации коллоидных и мелких нерастворенных частиц.
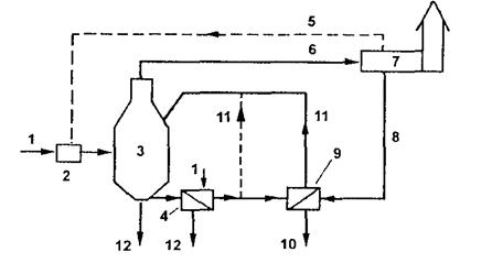
Несмотря на то, что промывка является эффективным приемом снижения удельного сопротивления сброженных осадков, для коагуляции промытого осадка требуются все же значительные дозы минеральных реагентов. На рисунке 7 приведена схема подготовки осадка перед механическим обезвоживанием. Из уплотнителя промытый осадок влажностью 94 - 96% удаляется при помощи насосов. Перед подачей на вакуум-фильтр или фильтр-пресс осадок подвергается кондиционированию. В качестве реагентов обычно применяют хлорное железо или сернокислое окисное железо и известь в виде 10%-ного раствора. Средняя доза железа составляет 4 — 6% массы сухого вещества осадка, а извести — 10 — 15 %. Частицы осадка объединяются хлопьями гидроксида железа в крупные агрегаты. В результате такой обработки удельное сопротивление осадка значительно снижается и осадок легче отдает воду. Реагенты вводятся непосредственно перед подачей осадка на механическое обезвоживание.
Безреагентное кондиционирование осуществляется методами тепловой обработки и замораживания-оттаивания.

Рисунок 7 - Схема подготовки осадка перед механическим обезвоживанием
1 – метантенк; 2 – дробилка; 3 – подача воды; 4 – подача сжатого воздуха; 5 промывка осадка; 6 – уплотнитель; 7 – плунжерные насосы; 8 – резервуар уплотненного осадка; 9 – подача коагулянта; 10 – отделения коагулирования; 11 – винтовые (шнековые) насосы;
12 – фильтр-пресс; 13 – транспортер обезвоженного осадка; 14ь- смеситель коагулянта с осадком; 15 – отвод фильтрата
Сущность метода тепловой обработки осадков состоит в прогревании осадка в реакторе в течение определенного времени при температуре 140 - 200ºС.
В процессе тепловой обработки происходит распад органических веществ, в основном белков, их растворение и переход твердой фазы осадков в жидкую. При этом изменяется структура осадков, их зольность и частично химический состав, достигаются улучшение водоотдачи и обезвреживание осадков. При тепловой обработке удельное сопротивление осадков снижается до значений, позволяющих обезвоживать осадки на вакуум-фильтрах и фильтр-прессах без обработки химическими реагентами. Тепловой обработке могут подвергаться как сброженные, так и сырые осадки.
Одним из достоинств метода тепловой обработки является полная стерильность обработанного осадка. При обезвоживании такого осадка на вакуум-фильтре образуется кек влажностью 55-70%. К недостаткам метода относятся сложность конструкции реактора, большие энергетические затраты и высокая концентрация органических веществ в фильтрате, которые необходимо направлять на биологическую очистку. При тепловой обработке выделяются дурно пахнущие газы, требующие предварительной очистки перед выбросом их в атмосферу.
Замораживание и последующее оттаивание осадков сопровождается изменением их структуры, при этом связанная влага частично переходит в свободную, и это приводит к улучшению водоотводящих свойств осадков. Такие осадки можно подвергать механическому обезвоживанию без коагулирования химическими реагентами.
Искусственное замораживание осадков проводится в холодильных установках непосредственного контакта в барабанных или панельных льдогенераторах. Непременным условием, обеспечивающим снижение стоимости процесса за счет уменьшения расхода электроэнергии, является рекуперация теплоты фазовых переходов, обеспечивающая оттаивание осадка за счет теплоты, выделяемой при замораживании. Для искусственного замораживания 1 м3
осадка расходуется около 50 кВт электроэнергии.
После оттаивания осадок обезвоживается на вакуум-фильтрах или на иловых площадках с естественным основанием и дренажом. На вакуум-фильтрах достигается производительность 50-60 кг/(м2
ч) по сухому веществу, а влажность кека составляет 70-80%. Нагрузка на иловые площадки принимается 5 м3
/(м2
год).
Естественное намораживание осадка лучше всего производить на иловых площадках каскадного типа на естественном основании с дренажом и поверхностным удалением талой воды. При этом объем осадка уменьшается в 5 - 7 раз.
2.2.4 Обезвоживание осадков
Наиболее простым способом обезвоживании является подсушивание осадка на иловых площадках, где его влажность может быть уменьшена до 75—80%. При этом осадок уменьшается в объеме и по массе в 4— 5 раз, теряет текучесть и может легко транспортироваться к месту его использования. Однако способ подсушивания требует больших земельных участков, и, кроме того, влажность подсушенного осадка остается все еще слишком высокой.
В последние годы все более широкое применение находят механические и термические способы удаления влаги. При этом обезвоживанию могут подвергаться как сырые осадки (с последующим обеззараживанием), так и осадки после биохимической обработки. Выбор той или иной схемы обработки осадков диктуется местными условиями и производится с учетом физико-химических свойств осадков, санитарно-эпидемиологических и технико-экономических расчетов.
2.2.4.1 Механическое обезвоживание
Для механического обезвоживания осадков наибольшее применение нашли вакуум-фильтры. Различают обычные барабанные, барабанные со сходящим полотном, дисковые и ленточные вакуум-фильтры.
Барабанный вакуум-фильтр – вращающийся горизонтально расположенный барабан, частично погруженный в корыто с осадком.
Барабан имеет две боковые стенки: внутреннюю сплошную и наружную перфорированную, обтянутую фильтровальной тканью. Пространство между стенками разделено на 16 - 32 секции, не сообщающиеся между собой. Каждая секция имеет отводящий коллектор, входящий в торце в цапфу, к которой прижата неподвижная распределительная головка. В зоне фильтрования осадок фильтруется под действием вакуума. Затем осадок просушивается атмосферным воздухом. Фильтрат и воздух отводятся в общую вакуумную линию. В зоне съема осадка в секции подается сжатый воздух, способствующий отделению обезвоженного осадка от фильтровальной ткани. Осадок снимается с барабана ножом. В зоне регенерации ткань продувается сжатым воздухом или паром. Для улучшения фильтрующей способности ткани через 8 - 24 часа работы фильтр регенерируют - промывают ингибированной кислотой или растворами ПАВ.
Для нормальной работы вакуум-фильтров необходимо вспомогательное оборудование: вакуум-насосы, воздуходувки, ресиверы, центробежные насосы и устройства, обеспечивающие постоянное питание вакуум-фильтра.
Недостатками вакуум-фильтров являются сложность управления, низкая надежность, невозможность использования органических флокулянтов для кондиционирования осадка, громоздкость и загрязненность рабочей среды.
В последнее время фильтр-прессы находят довольно широкое распространение для обезвоживания осадков сточных вод. Их применяют для обработки сжимаемых аморфных осадков. По сравнению с вакуум-фильтрами, при прочих равных условиях после обработки на фильтр-прессах получаются осадки с меньшей влажностью. Фильтр-прессы применяют в тех случаях, когда осадок направляют после обезвоживания на сушку или сжигание или когда необходимо получить осадки для дальнейшей утилизации с минимальной влажностью.
Различают рамные, камерные, мембранно-камерные, ленточные, барабанные и винтовые (шнековые) фильтр-прессы.
Рамный фильтр-пресс имеет набор вертикально расположенных чередующихся плит и рам. Между поверхностями плит и рам проложена фильтровальная ткань. Сначала собирают комплект рам и плит, загружают камеры осадком и отжимают его. Затем рамы и плиты поочередно отодвигают и обезвоженный осадок сбрасывают в бункер. Рамные фильтр-прессы имеют низкую пропускную способность. Кроме того, выгрузка осадка из фильтра обычно производится вручную. В настоящее время эти фильтры практически не применяются.
Фильтр-прессы ФПАКМ (фильтр-пресс автоматизированный камерный модернизированный) находят довольно широкое распространение. Они выпускаются промышленностью серийно и имеют площадь поверхности фильтрования 2,5—50 м2
.
Фильтр состоит из нескольких фильтровальных плит и фильтрующей ткани, протянутой между ними с помощью направляющих роликов. Поддерживающие плиты связаны между собой вертикальными опорами, воспринимающими нагрузку от давления внутри фильтровальных плит. В натянутом состоянии ткань поддерживается с помощью гидравлических устройств.
Каждая фильтровальная плита (рисунок 8) состоит из верхней и нижней частей. Нижняя часть перекрыта перфорированным листом, под которым находится камера приема фильтрата. На перфорированном листе находится фильтровальная ткань. Верхняя часть представляет собой раму, которая при сжатии плит образует камеру, куда подается осадок. В верхней части расположена эластичная водонепроницаемая диафрагма.
В камеру по коллектору подаются осадок и воздух. По каналам фильтрат и воздух отводятся в коллектор. Затем осадок отжимается диафрагмой, для чего в полость нагнетается вода под давлением. После этого раздвигаются плиты, передвигается фильтровальная ткань и кек снимается с нее ножами, ткань промывается и очищается в камере регенерации ткани.

Рисунок 8 - Схема фильтр-пресса ФПАКМ
1 – упорная плита; 2 – фильтрующая плита; 3 – нажимная плита; 4 – механизм зажима; 5 – стяжка; 6 – опорная плита; 7 – камера регенерации ткани; 8 – механизм передвижения ткани; 9 – фильтрующая ткань

Рисунок 9 – Схема горизонтального ленточного фильтр-пресса
1 – подача осадка; 2 – камера смешения; 3 – прижимная лента; 4 – емкость для обезвоженного осадка; 5 – фильтрующая лента; 6 – труба ля отвода фильтрата и промывной воды; 7 – сборник фильтрата; 8 – трубопровод для подачи промывной воды
Применяются также ленточные фильтр-прессы. Они относительно просты и по конструкции, и в эксплуатации. Принципиальная схема горизонтального пресса показана на рисунке 9. Пресс имеет нижнюю горизонтальную фильтрующую ленту и верхнюю прижимную ленту. Фильтрование и отжим осуществляются в пространстве между этими лентами. Обезвоженный осадок срезается ножом и сбрасывается в конвейер. Фильтрующая лента промывается водой, подаваемой по трубопроводу 8. Фильтрат и промывная вода отводятся по трубопроводу 6.
Центрифугирование осадков находит все большее распространение. Достоинствами этого метода являются простота, экономичность и управляемость процессом. После обработки на центрифугах получают осадки низкой влажности.
В осадительных центрифугах твердые частицы, имеющие плотность большую, чем плотность жидкой фазы, под действием центробежной силы отлагаются на внутренней поверхности сплошного ротора и удаляются шнеком, а жидкая фаза в виде кольцевого слоя располагается вблизи оси вращения ротора и непрерывно выводится из центрифуги. Принципиальное устройство центрифуги показано на рисунке 10.

Рисунок 10 - Схема устройства центрифуги: 1 — труба подачи осадка; 2 — отверстие для слива фугата; З — сливная труба; 4 отверстие для поступления осадка в полость ротора; 5 — труба сброса обезвоженного осадка; б — ротор центрифуги; 7— шнек; 8— выгрузочные окна
Получаемый в результате механического обезвоживания осадок содержит еще 75 - 85% воды, составляющей таким образом около 3/4 его массы.
2.2.4.2 Термическая обработка осадков сточных вод
Термическая сушка предназначена для обеззараживания и уменьшения массы осадков сточных вод, предварительно обезвоженных на вакуум-фильтрах, центрифугах или фильтр-прессах. Этот прием упрощает задачу удаления осадков с территорий очистных станций и их дальнейшей утилизации.
Осадок после термической сушки представляет собой незагнивающий, свободный от гельминтов и патогенных микроорганизмов, внешне сухой (влажностью 10-50%) сыпучий материал.
Известны различные способы термической сушки: конвективный, радиационно-конвективный, кондуктивный, сублимационный в электромагнитном поле. Наиболее распространен конвективный способ сушки, при котором необходимая для испарения влаги тепловая энергия непосредственно передается высушиваемому материалу теплоносителем — сушильным агентом. В качестве сушильного агента могут использоваться топочные газы, перегретый пар или горячий воздух.
Сушилки конвективного типа можно разделить на две группы:
I - при продувке сушильного агента через слой материала частицы его остаются неподвижными — барабанные, ленточные, щелевые и др.;
II - частицы материала перемещаются и перемешиваются потоком сушильного агента — сушилки со взвешенным (псевдоожиженным) слоем (кипящим, фонтанирующим, вихревым) и пневмосушилки.
Любая сушильная установка состоит из сушильного аппарата и вспомогательного оборудования — топки с системой топливоподачи, питателя, циклона, скруббера, тягодутьевых устройств, конвейеров и бункеров, контрольно-измерительных приборов и автоматики.
Термическая сушка осадка позволяет снизить его влажность до 20 - 35%, что значительно облегчает условия перевозки и хранения. Высушенный осадок можно в расфасованном виде доставлять к месту его использования.
Капитальные затраты этого метода достаточно высоки, вследствие чего применение термической сушки оправдано лишь при условии эффективного использования высушенного осадка.
2.2.4.3 Сжигание осадков сточных вод
Для полной ликвидации органических компонентов осадков их сжигают. Метод сжигания применим в тех случаях, когда невозможна или экономически нецелесообразна утилизация осадка. Препятствием к использованию осадка как удобрения может быть наличие в нем токсичных веществ и некоторых других примесей, поступающих в городскую канализацию с производственными сточными водами.
В последние годы метод сжигания находят все большее применение для ликвидация производственных шламов ряда предприятий химической, нефтеперерабатывающей, угольной отраслей промышленности и осадков городских очистных станций.
При сжигании происходит полное окисление органических веществ осадков и образование стерильного остатка — золы, которая может быть использована в качестве присадочного материала при подготовке осадка к обезвоживанию. Это позволяет снизить расход химических реагентов.
Проектирование новых и реконструкцию существующих комплексов для обработки осадков на очистных станциях и установках рекомендуется выполнять применительно к унифицированным производительностям очистных установок и станций, а также к местным условиям и требованиям, к степени обработки и утилизации осадка [4].
2.2.5 Утилизация осадков бытовых сточных вод
Осадки, выделяемые при очистке сточных вод городов и населенных мест с малой долей неочищенных производственных стоков, по химическому составу относятся к ценным органо-минеральным смесям.
Возможно использование осадков станций аэрации в качестве удобрения непосредственно после процессов их обработки. Кроме этого осадки являются сырьем для получения многих видов продукции промышленного производства. В настоящее время существует много технологических процессов получения из осадков бытовых и близких к ним по составу сточных вод важных продуктов и энергетических ресурсов.
Осадки городских сточных вод целесообразно использовать главным образом, в сельском хозяйстве в качестве азотно-фосфорных удобрений, содержащих необходимые для развития растений микроэлементы и органические соединения. Попадая в почву, осадок минерализуется, при этом биогенные и другие элементы переходят в доступные для растений соединения.
3. Выбор и обоснование технологической схемы обработки осадков
По сегодняшний день в осадке, который получается после обработки коммунальных сточных вод, самыми опасными факторами являются:
- запахи, сопровождаемые биологической нестабильностью;
- присутствие человеческих патогенов;
- присутствие токсичных веществ (тяжелых металлов);
- присутствие ксенобиотков (хлорированные углеводы, пестициды и т.д.);
- присутствие веществ, способствующих размножению насекомых, червей и грызунов.
В процессе очистки стоков и обработки ила, по возможности только такие химикаты следует применять, которые легко доступны в регионе и дешёвые.
В ходе обработки осадков стабилизация должна достигаться анаэробным сбраживанием. Возникающий биогаз необходимо утилизировать.
При обработке ила необходимо действовать таким образом, чтобы количество возникающего и вывозимого осадка было чем меньше, концентрация выше, и чтобы не испарялись из осадков неприятные запахи.
Объекты, издающие неприятные запахи, необходимо накрыть и вытянутый загрязнённый воздух очистить в биофильтрах.
Задачей способов обработки (технологической схемы) является такая трансформация осадка, чтобы в меньшей мере нагружать окружающую среду не угрожать здоровью людей, и не влиять отрицательно на воду, почву и растительность.
Можно отметить, что задача снижения содержания вредных веществ в осадке имеет два направления:
- снижение вредных, способных к аккумуляции, веществ в осадке путём строгого ограничения их содержания в сточной воды (данное ограничение, в настоящее время, распространяется только на тяжёлые металлы, а ксенобиотические органические загрязнители почти бесконтрольно могут попадать в сточную воду и оттуда в осадок).
- обработка осадка таким способом, чтобы содержание вредных веществ в обработанном осадке было меньше чем в исходном, сыром осадке.
Дальнейшее естественное требование, чтобы все это было недорого, не загрязнялась окружающая среда, оборудование работало надежно.
С технико-технологической точки зрения обработки осадка выбирается тот метод, который в данной среде предоставляет лучшее решение проблемы размещения осадка.
Рассматриваются три варианта размещения осадка:
- сельскохозяйственное использование, где критической точкой является наличие вредных веществ;
- складирование, где обеспечение необходимой площади является весьма трудной задачей;
- сжигание, для которого необходимо дорогостоящее оборудование, возникает проблема очистки дымовых газов, размещение золы, считающейся опасным отходом.
Обработка, предшествующая складированию, служит для того, чтобы осадок:
- занимал наименьшую площадь;
- на занимаемой территории не вызывал эпидемические и экологические проблемы.
Обработка осадка, предшествующая складированию обычно включает:
- уплотнение образующихся осадков;
- анаэробная стабилизация уплотненного осадка;
- обезвоживание стабилизированного ила; [7]
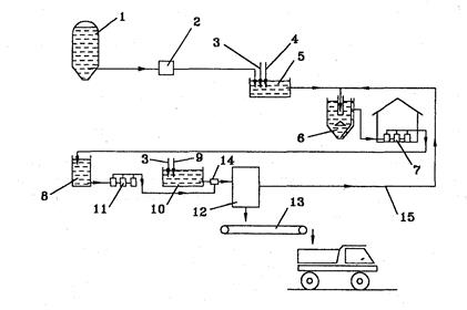
Предлагаемая система обработки осадков показана на рисунке 15.
3.1 Сгущение сырого осадка и избыточного ила
Любая схема технологи обработки осадка начинается с его сгущения.
В различных технологиях обработки осадка, сгущение имеет экономический характер. Значительное снижение количества ила (до 15 – 30 %) позволяет снизить размеры технологического оборудования и объектов обработки осадков, одновременно снизив инвестиционные расходы.
Сгущение должно проводиться быстро, чтобы предотвратить процессы гниения. Попадание в атмосферу запахов может снижаться дозировкой щелочных реагентов (например, гидрата извести).
Для сгущения осадка используются гравитационные сгустители и механические сгустители, работающие по разным принципам. Сегодняшняя практика обработки избыточного ила однозначно отдаёт предпочтение механическому сгущению:
- смешивание сырого и избыточного активного ила в предварительных отстойниках (производство смешанного ила) часто сопровождается всплытием ила, ухудшающим эффективность обработки.
- в процессе гравитационного сгущения ила, в сгустителе ил часто занимает одновременно верхние и нижние слои и препятствует отбору водной фазы.
- в случае гравитационного сгущения смешанного осадка и ила концентрация недостаточно высокая и поэтому значительно увеличивается гидравлическая нагрузка на метантенки.
Избыточный ил труднее поддаётся сгущению и склонен к всплытию. На практике имеются хорошо зарекомендовавшее себя оборудование разных принципов действия, которое решает проблему раздельного сгущения избыточного ила.

Рисунок 11 – Предлагаемая схема обработки осадков
Декантировочные центрифуги непрерывного действия с горизонтальной осью, применяемые для обезвоживания ила, пригодны и для сгущения ила. Однако опыт последнего времени показывает, что их применение сопровождается высоким расходом электроэнергии и высокими инвестиционными расходами.
Более выгодными инвестиционными и эксплуатационными характеристиками обладает оборудование, работающее по принципу фильтрации. Механические сгустители могут иметь разное конструктивное исполнение:
- Барабанные сгустители, в которых поверхность вращающегося барабана является фильтрующей поверхностью.
- Ленточные системы, похожие на ленточные фильтр-прессы, используемые для обезвоживания, но имеющие значительно более простую механическую конструкцию.
В качестве фильтрующей поверхности в обеих системах используется полимерная ткань, схожая с фильтром ленточных фильтр-прессов. Барабанные машины часто оснащаются металлическим фильтрами, похожими на вращающиеся барабанные тонкие решётки.
Пористость фильтрующей поверхности должна составлять 0,2 – 0,5 мм. Из этого следует, что хлопья ила должны быть крупнее прозора фильтра. Поэтому сгущение ила возможно только после предварительной дозировки полиэлектролита.
В основном пористость фильтрующей поверхности определяет гидравлическую нагрузку и нагрузку по сухому веществу. Чем пористее фильтр, тем больше на него нагрузка. Однако увеличение водопропускной способности фильтров (увеличение отверстий или увеличение прозора) ограничено, потому что чем грубее поверхность, тем больше твёрдой массы илостного характера проходит через неё.
Гидравлическая нагрузка и нагрузка по сухому веществу данного сгустителя находятся в обратной зависимости. Чем ниже концентрация исходного ила, тем меньше нагружаемость сгустителя по сухому веществу.
Количество дозировки полиэлектролита перед сгущением ила зависит от показателей осаждаемости и обезвоживаемости ила. На практике очистных сооружений при благоприятных условиях потребность полиэлектролита составляет около 4-5 г/кг, а в случае плохо осаждаемого ила это значение может достичь 10 г/кг.
Сгустители фильтрующего типа должны регулярно промываться водой под напором. Для промывки используется вода без содержания взвешенных веществ (вода
после сгустителя, очищенная сточная вода, водопроводная вода).
Механическое сгущение сырого осадка считается нецелесообразным по следующим причинам:
- сырой ил без добавления полиэлектролита эффективно сгущается в традиционных гравитационных сгустителях. Содержание сухого вещества в иле составляет 4 - 6%, таким образом, ил соответствует условиям сбраживания.
- трудно и дорого предотвращать возникновение неприятного запаха в процессе механического сгущения.
- повышенное содержание жира в иле приводит к более частому засорению поверхности фильтра.
С учётом всего этого выбираем механическое сгущение избыточного ила с предварительным полиэлектролитным кондиционированием. Аппарат для сгущения барабанного типа.
Для сгущения отдельно полученного сырого осадка предлагаем использовать традиционный гравитационный сгуститель с тангенциальным протоком. Для избежания распространения запахов объект предлагается накрыть. Удаляемый воздух нужно откачивать и чистить в биофильтре [8].
3.2 Сбраживание (стабилизация) смешанного, сгущённого ила
Ил, возникающий в процессе очистки сточных вод, может быть стабилизированный или нестабилизированный. Данное свойство зависит от септичности ила (присутствие различных микроорганизмов) и содержания в нём органических веществ, являющихся питательной средой для микроорганизмов. Ил является тем менее стабильным, чем больше в нём содержание биологически разлагаемых веществ, то есть раньше начинается процесс сбраживания, сопровождаемый неприятными запахами.
Стабилизация осадков это не что иное, как ограничение возможности протекания вредных микробиологических процессов, вызывающих неприятные запахи (в значительной части процессов это означает уменьшение количества ила). Стабилизация достигается двумя принципиальными решениями:
- эффективным удалением содержания биологически разлагаемой органики в осадке;
- уничтожением микроорганизмов (обеззараживание).
В многоступенчатом процессе обработки осадка, направленного на снижение его количества и негативного воздействия, два способа стабилизации не всегда могут быть разделены. Так называемые термофильные методы биологической стабилизации одновременно решают обе задачи, тогда как остальные методы (сбраживание при мезофильной температуре, сушка и т.д) могут решить только одну из этих задач.
Стабилизации ила главным образом основана на удалении разложении органических веществ, то есть на уничтожении органики, служащей пищей для микроорганизмов. Существует два главных направления:
Снижение количества биологически разлагаемой части органики ила чаще всего проводится после сгущения.
На больших очистных сооружениях сточных вод традиционным методом стабилизации сырого и избыточного ила является сбраживание. В этом случае биологически разлагаемую органическую часть ила анаэробные микроорганизмы перерабатывают в биогаз. В результате процесса стабилизации ила коммунальных сточных вод 50% исходного количества органики разлагается, с образованием биогаза, содержащего 65% метана, около 33 - 34% С02
, немного азота, сероводорода, водорода. Из 1 кг разложенной органики образуется около 700 - 900 л биогаза [9].
Сбраживание может происходить в двух температурных интервалах. В традиционных системах температура мезофильного сбраживания 30 - 38°С. При такой температуре сбраживание выполняет только функцию стабилизации, потому что за 15 - 25 дней нахождения ила при такой температуре соотношение гибели патогенных микроорганизмов и яиц составляет пропорцию 1:2.
С точки зрения эффективности уничтожения патогенов, термофильный метод сбраживания (при температуре 50 - 60°С) является более совершенным. При такой температуре процесс сбраживания протекает быстрее (необходимое время нахождения ила всего 8 - 10 дней), чем при мезофильной температуре, при этом патогенные микроорганизмы практически полностью погибают.
Стабилизация ила сбраживанием имеет следующие традиционные преимущества:
- значительный объём метантенка сглаживает все количественные и качественные колебания поступающего осадка;
- обезвоживаемость стабилизованного ила значительно лучше, чем необработанного;
- использование биогаза в газовом двигателе значительно может снизить расход электроэнергии очистных сооружений;
- в результате сбраживания значительно сокращается количество обезвоживаемого и в последствии складируемого осадка;
- в связи с закрытостью метантенка легко справиться с неприятным запахом, который образуется при обработке осадка (при дальнейшей обработке ила запахи будут возникать также в минимальном размере).
Образующийся на очистных сооружениях смешанный осадок с точки зрения сбраживания относится к хорошо сбраживаемому.
Эффективность процесса анаэробного сбраживания оценивается по степени распада органического вещества, количеству и составу образующегося биогаза, которые, в свою очередь, определяются химическим составом осадка, а также такими основными технологическими параметрами процесса, как доза загрузки метантенка, температура, концентрация загружаемого осадка. Кроме того, существенную роль играют такие факторы, как режим загрузки и выгрузки осадка, система его перемешивания и другое
В органическом веществе основную часть (до 80%) составляют жиры, белки и углеводы. Именно за счет их распада образуется все количество выделяющегося биогаза, в том числе 60—65% за счет распада жиров, остальные 40—35% приходятся примерно поровну на долю углеводов я белков. Отсюда следует, что при сбраживании осадков первичных отстойников, содержащих больше жиров, образуется больше газа, чем при сбраживании активного ила, в котором больше белков, даже при очень длительной продолжительности пребывания осадка в метантенке указанные компоненты органического вещества распадаются не полностью. Имеется максимальный предел сбраживания и, следовательно, максимальный выход газа
Пределы распада не зависят от температуры, но скорости распада каждого компонента с повышением температуры возрастают.
Процесс брожения необходимо осуществлять при выбранном оптимальном температурном режиме, даже кратковременное нарушение которого, особенно в сторону снижения температуры, приводит к торможению стадии метаногенеза, накоплению кислот за счет активной работы более устойчивых гидролитических организмов, нарушению трофических связей и процесса в целом.
Температурный режим сбраживания тесно связан со временем пребывания осадка в метантенке или суточной дозой загрузки метантенка по объему (%), а также количеством органического вещества загружаемого 1 осадка на единицу рабочего объема метантенка (кг/м3
). Если максимальный распад органического вещества, как указывалось выше, зависит только от его химического состава, то с уменьшением продолжительности сбраживания, т.е. с повышением дозы загрузки, распад органического вещества и выход газа снижаются при всех температурных режимах. В зоне термофильных температур это снижение происходит медленнее, чем в зоне мезофильных температур. Отсюда следует, чем выше доза загрузки, тем выше преимущества температурного процесса по степени распада и выходу газа [10].
В связи с этим термофильный режим сбраживания, в основном применяемый в нашей стране, имеет преимущества перед мезофильным, так как. позволяет уменьшить объемы метантенков, кроме того, обеспечивает глубокое обеззараживание осадков не только от поточной микрофлоры, но и от гельминтов. Однако, недостатком термофильного сбраживания является низкая водоотдающая способность сброженного осадка, что требует его промывки при последующем механическом обезвоживании. В свою очередь, мезофильный режим сбраживания не обеспечивает обеззараживания осадка, требует больших объемов метантенков, но позволяет получить сброженный осадок, лучше поддающийся последующему обезвоживанию.
С экономической точки зрения самым значительным недостатком термофильного технологического способа является потребность в тепловой энергии, которая по сравнению с мезофильным способом приблизительно в два раза больше. Эту тепловую энергию нужно будет выплачивать в качестве эксплуатационных расходов ежедневно.
Значительным недостатком термофильного решения является также и то, что для этого решения требуется более сложное технологическое оборудование, которое по этой причине представляет собой более существенный эксплуатационный риск, а также
означает более существенную чувствительность термофильных микробиологических процессов. Это является существенной проблемой особенно по той причине, что в настоящее время в сточных водах и в иле еще могут присутствовать токсичные металлы и другие химикаты.
С учетом вышеуказанных аргументов за и против в рамках данной модернизации, считаем, что более выгодным является применение мезофильного процесса сбраживания.
Перемешивание содержимого метантенка необходимо проводить с целью обеспечения эффективного использования всего объема метантенка, исключения образования мертвых зон, предотвращения расслоения осадка, отложения песка и образования корки, выравнивания температурного поля. Кроме того перемешивание должно обладать способностью выравнивания концентраций метаболитов, образующихся в процессе брожения и являющихся промежуточными субстратами для микроорганизмов или ингибиторами их жизнедеятельности, а также поддержанию необходимого контакта между ферментами и субстратами, разными группами бактерий. Вместе с тем, как было упомянуто выше, существует некоторый предел интенсивности перемешивания, превышение которого может привести к механическому отрыву отдельных групп бактерий друг от друга, а также от частиц потребляемого ими субстрата.
При плохом перемешивании снижается эффективный объем метантенка, сокращается время пребывания в нем осадка, а, следовательно, рас ход органического вещества и выход биогаза.
Метантенки могут работать в периодическом, непрерывном и полунепрерывном режимах. При загрузке один раз в сутки скорость распада органического вещества и выход биогаза значительно меняется в период между загрузками. После загрузки выход газа в 2 раза превышает выход газа перед следующей загрузкой. Это свидетельствует о существенном изменении скорости биохимического распада за счет неравномерной подачи субстрата клеткам бактерии. Непрерывная загрузка и выгрузка метантенка снимает эту неравномерность. При непрерывной подаче предварительно подогретого сырого осадка, его хорошем смещении с массой бродящего осадка обеспечиваются равномерный тепловой режим сооружения, равномерное поступление питательных субстратов и возможность работы с повышенными дозами загрузки. Наконец, перевод метантенков на непрерывный режим загрузки делает возможным автоматизацию и механизацию процесса, обеспечивает уменьшение эксплуатационных затрат, равномерность газовыделения в однородность выгружаемого осадка.
Вместе с тем, как показывает теория непрерывных процессов, при имеющейся загрузке одноступенчатого термофильного метантенка, работающего в режиме смесителя, следует ожидать присутствие в выгружаемом осадке хотя бы незначительной части несброженного, следовательно, необеззараженного осадка.
На процесс брожения оказывают ингибирующее действие некоторые органические и неорганические вещества, которые могут содержаться в осадках в значительных концентрациях. К нм в первую очередь относятся тяжелые металлы, сульфиды, СПАВ.
Эксплуатация метантенков требует организации четкого и постоянного контроля за основными показателями процесса брожения. К этим показателям относятся:
• выход и состав биогаза, в котором обычно содержится 60—65% метана, 32—35% диоксида углерода а также некоторые количества водорода, сероводорода, азота и др.;
• степень распада органического вещества;
• содержание летучих жирных кислот, аммонийного азота и щелочность вловой жидкости;
• влажность я зольность загружаемого сброженного осадка;
• рН
С точки зрения режима подачи осадков наиболее рациональной является эксплуатация метантенков по прямоточной схеме, при которой загрузка и выгрузка осадков происходит одновременно и непрерывно (или с минимальными перерывами). Такой режим создает благоприятные температурные условия в метантенке, так как исключается охлаждение бродящей массы вследствие залповых поступлений более холодных сырого осадка и избыточного ила. Кроме того, такой режим обеспечивает равномерность газовыделения в течение суток.
В различных конструкциях метантенков подача осадка на сбраживание может осуществляться либо через общую для всех метантенков загрузочную камеру, либо насосом непосредственно в каждый метантенк. В том в другом случае должна быть обеспечена равномерность распределения нагрузки между отдельными сооружениями и возможность ее регулирования.
Осадок подают в верхнюю зону метантенка, а выгружают из самой нижней точки
днища. Максимальное удаление друг от друга трубопроводов подачи и выгрузки предотвращает попадание несброженного осадка в выгружаемую массу. Кроме того, при постоянной выгрузке сброженной массы из нижней части удается замедлить процесс накопления песка, который вместе с осадком из первичных отстойников попадает в метантенк.
В метантенках тепло расходуется непосредственно на подогрев загружаемого осадка до необходимой расчетной температуры, на возмещение потерь тепла, уходящего через стенки, днище и перекрытие метантенка, на возмещение потерь тепла, уносимого с отводимым из метантенка газом.
В отечественной практике подогрев осадка наиболее часто осуществляют острым паром. Пар низкого давления с температурой 110-112ºС подается во всасывающую трубу насоса при подаче и перемешивании осадка или непосредственно в метантенк через паровой инжектор. Инжекторы устанавливаются в каждом метантенке. Забирая в качестве рабочей жидкости осадок из метантенка и подавая смесь его с паром снова в метантенк, паровой инжектор обеспечивает и подогрев осадка в частичное перемешивание бродящей массы.
За рубежом получили распространение спиральные теплообменники типа "осадок-осадок" и " вода - осадок ".
Обобщенная принципиальная схема подогрева осадка для анаэробного сбраживания представлена на рисунке 12.
Установка на линии выпуска сброженного осадка рекуперативного теплообменника типа "осадок-осадок" обеспечивает использование теплоты сброженного осадка для частичного подогрева осадка, подаваемого в метантенк, что сокращает расход энергии котельной установки на сбраживание осадков. Применение на второй ступени подогрева теплообменника типа "вода-осадок" обеспечивает дополнительный нагрев осадка. На рисунке 13 представлен вариант схемы подогрева осадка, в котором нагрев осадка совмещен с гидравлическим перемешиванием бродящей массы. Содержимое метантенка перемешивается насосом, обеспечивая, как минимум, трехкратный оборот осадка за 20 ч. Установленный на нагнетательной линии насоса теплообменник типа "вода-осадок" обеспечивает подогрев осадка и компенсирует все теплопотери метантенка (для мезофильного процесса). Подогрев осадка полностью автоматизирован и управляется датчиком температуры, установленным на всасывающем патрубке циркуляционного насоса.

Рисунок 12 – Принципиальная схема подогрева осадка для анаэробного сбраживания: 1 – загрузка осадка; 2 – паровой инжектор; 3 – метантенк; 4 – теплообменник "осадок-осадок"; 5 – пар; 6 – биогаз; 7 – котельная; 8 – горячая вода; 9 – теплообменник "вода-осадок"; 10 – охлажденная вода; 11 – подогретый осадок; 12 – сброженный осадок

Рисунок 13 – Схема подогрева циркулируемого осадка
1 – загрузка осадка; 2 – метантенк; 3 – циркуляционный насос; 4 – теплообменник "вода-осадок"; 5 – сброженный циркулируемый осадок; 6 – горячая вода; 7 – охлажденная вода
Перемешивание бродящей массы обеспечивает ее однородность во всем объеме метантенка. При загрузке холодного осадка в верхнюю зону метантенка, он как более холодный устремляется вниз. Одновременно пузырьки выделяющегося газа поднимаются вверх. В результате происходит перемешивание бродящей массы в вертикальном направлении. Если метантенк оборудован инжектором, его работа приводит к перемешиванию осадка в горизонтальной плоскости. Однако эти процессы, сопровождающие процесс сбраживания, не могут обеспечить полного перемешивания содержимого метантенка.
Специальные системы перемешивания используют для этой цели циркуляционные насосы, пропеллерные мешалки или перемешивание с помощью газа.
Для сбора газа на горловине метантенка устанавливают газовые колпаки. Для транспортирования газа прокладывается специальная газовая сеть из стальных труб с усиленной противокоррозионной изоляцией.
В процессе сбраживания осадков выделение газа неравномерно. для поддержания постоянного давления в газовой сети на тупиковых концах ее устанавливают аккумулирующие газгольдеры. Мокрый газгольдер состоит из резервуара, заполненного водой, и колокола, перемещающегося на роликах по вертикальным направляющим. Вес колокола уравновешивается противодавлением газа. Благодаря этому при изменении объема газа под колоколом давление в газгольдере и газовой сети остается постоянным. При невозможности сбора газа метантенков, предусматривают его сжигание, используя специальное устройство – газовую свечу.
Сброженный осадок, выходящий из башен метантенков приблизительно с той же скоростью, с которой он поступает в них, должен отводиться в так называемые дегазаторы, представляющие собой буферные емкости, в которых одновременно с буферным хранением ила происходит процесс дегазации ила. Этот процесс имеет несколько положительных сторон:
- отведение сброженного осадка может выполняться независимо от процесса обезвоживания осадка;
- благодаря удалению биогаза, содержащегося в иле, обеспечивается защита оборудования системы обезвоживания от вредного воздействия биогаза;
- благодаря уменьшению температуры в процессе дегазации улучшается способность обезвоживания ила [12].
3.3 Обезвоживание сброженного осадка.
Обезвоживание осадков является решающим процессом его обработки. Основной задачей обезвоживания осадка является эффективное уменьшение объема осадка. С этим повышается экономичность размещения или дальнейшей обработки осадков.
По сложившейся практике последних 20 – 25 лет уплотненный свежий ил или осадок, отобранный из метантенков, после уплотнения, гомогенизации и дегазации обезвоживается на:
- непрерывно работающей горизонтальной центрифуге:
- ленточном фильтр-прессе
- камерном фильтр-прессе
Разнообразие таких машин на рынке широкое, сегодня много заводов мира производят оборудование пригодное для этих целей.
Несмотря на большое разнообразие таких машин, одним из самых сложных вопросов технической концепции данного проекта является определение типа оборудования для обезвоживания.
Главным критерием выбора является не технические или экономические особенности машин обезвоживания, а возможности размещения обезвоженного осадка, т.е. главным критерием можно считать консистенцию ила. В результате обезвоживания необходимо получить такой ил, который имеет твердую, не грязевидную консистенцию. Дальнейшим условием является, чтобы осадок не содержал человеческих патогенных микроорганизмов.
Выполнение перечисленных требований обеспечивается в основном дозировкой гашеной извести, гидрата извести или негашеной извести. Негашеная известь, используемая в качестве коагулянта, улучшает обезвоживаемость осадка, увеличивает значение рН и этим самым уничтожает человеческие патогенные микроорганизмы, увеличивая содержание сухого вещества обезвоженного осадка.
Дозировка извести проводится в один ли два этапа. Одноэтапная технология означает, что известь в виде известкового молока подается непосредственно в обезвоживаемый осадок и обезвоживание проводится после этого. По этой технологии могут работать только камерные фильтр-прессы.
Другие две технологии обезвоживания подобный результат могут обеспечить только в два этапа. При работе с двухэтапной технологией, на первом этапе производится кондиционирование реагентами, затем полученный обезвоженный ил перемешивается с негашеной известью.
Центрифуга и ленточный фильтр-пресс имеют приблизительно одинаковую производительность. Оба оборудования работают в непрерывном режиме и надежно выполняют задачи обезвоживания осадка. Выбор между ними зависит от инвестиционных и эксплуатационных расходов, надежности, долговечности, удобства эксплуатации и доступности сервиса [9].
В большинстве случаев решение определяется с учетом местных условий. Возможное затягивание реконструкции или строительства песколовок и значительная потребность центрифуг в регулярном сервисном обслуживании, практически исключает ее использование.
В отличие от центрифуги, ленточный фильтр-пресс выглядит технически более сложным, однако расходует значительно меньше электроэнергии. Главной проблемой можно считать регулярную замену ленты (в каждые 1 – 2 года, в зависимости от интенсивности эксплуатации). Ленточные фильтр-прессы не чувствительны к песку. К отрицательным сторонам относятся: большое количество деталей, острые частицы осадка могут прорезать ленту, не закрытые поверхности, из-за чего сложнее обеспечить чистоту воздуха машинного отделения обезвоживания ила.
Помимо вышеупомянутых двух главных групп оборудования, меньший, но устойчивый сегмент рынка занимают фильтр-прессы с камерами, работающими под давлением. Главное их преимущество заключается в том, что с применением кондиционирующих средств соли железа (III) и извести (а в случае сброженного осадка также и полиэлектролита), при давлении 10 - 16 бар можно достичь 30 - 50%-ое содержание сухих веществ в обезвоженном иле. Трудоемкость периодической операции уменьшается за счет применения механизированного удаления кека. Из-за значительных инвестиционных расходов и относительной сложности эксплуатации системы такое оборудование эксплуатируется только на крупных очистных сооружениях или при предъявлении специальных требований. С учетом челябинских условий, преимущества этого метода могут быть значительными.
Большая разница находится между камерным фильрт-прессом и ленточным фильтр-прессом. Мощный камерный фильтр-пресс является надежным, не слишком дорогим и простым оборудованием. К недостаткам можно отнести циклический режим работы и инвестиционные расходы, превышающие затраты на оборудование других систем.
В качестве вывода можно заключить, что преимущества применения камерного фильтр-пресса проявляются в основном не на стадии очистки стоков. А при дальнейшей обработке и депонировании. В таком случае выбор в основном аргументируется тем, что снижается количество вывозимого осадка и значительно проще размещать осадок на иловой площадке обработанной неорганическим кондиционером [11].
3.4 Обеззараживание обезвоженного осадка
Самым важным вопросом размещения и утилизации осадков, образующихся на очистных сооружениях, является присутствие человеческих или животных патогенных микроорганизмов. Санитарно-эпидемиологические службы во всем мире отрицательно оценивают такое свойство осадков, поэтому обеззараживание его является важным решением проектировщиков и инвесторов, на которое влияют также и требования и возможности на месте работ.
Удаление патогенных микроорганизмов может проводиться несколькими методами:
1. Методы, основанные на термообработке.
Делятся на три вида по выбору источника энергии для нагревания осадка:
- тепловая энергия, обеспечиваемая традиционными источниками энергии (включая биогаз, образующийся при сбраживании в метантенках);
- тепловая энергия, образующаяся в процессе аэробного биологического разложения (аэробное компостирование в твердой или в жидкой фазе);
- тепловая энергия, образующаяся в процессе прочих химических реакций.
2. Химические способы, или обеззараживание облучением.
Менее распространены в практике обработки осадков, по причине высоких расходов и опасности.
Способы обеззараживания осадков теплом весьма разнообразны:
- различными, прямыми и косвенными способами сушки осадков;
- сжиганием осадка
Сушка и сжигание вместе с обеззраживанием имеет разные специфические преимущества и недостатки. В обоих случаях уменьшается объём осадка, с этим могут снижаться и расходы на его размещение. Облегчается сельскохозяйственное размещение высушенного осадка.
Среди недостатков можно перечислить высокие расходы и сложность систем для сжигания. Решающим фактором является то, что в пепле после сжигания концентрация тяжёлых металлов будет всегда больше, чем в иле. Поэтому зола будет относиться к опасным отходам.
Тепловая стерилизация осадка перед обезвоживанием в некоторых случаях может давать значительные преимущества. Суть процесса заключается в том, что в сгущённом осадке, разогретом до 140°С, под действием температуры погибают все живые существа. Белки денатурируются при высокой температуре, поэтому обезвоживаемость осадка будет значительно лучше, чем после кондиционирования полиэлектролитом. После такой обработки, в зависимости от системы обезвоживания можно получить осадок с содержанием сухих веществ 40 - 50%. Значительным недостатком процесса является, что под действием высокой температуры значительная часть органики переходит в раствор и этим нагружает систему очистки сточных вод.
Главным источником тепла различных способов компостирования является тепловая энергия, полученная путём аэробного биологического окисления органических веществ осадка.
В международной практике распространен способ компостирования, применяемый в сельском хозяйстве. Преимущества данного способа проявляются только при наличии определённых качественных параметров осадка. В нашем случае содержание тяжёлых металлов в осадке относительно высокое, поэтому преимущества вышеописанного способа не могут быть использованы.
Другой способ обеззараживания осадка, не требующий дорогого оборудования, специальных знаний и значительных инвестиций, это перемешивание обезвоженного ила с негашеной известью (СаО). Известь вступает в реакцию с остаточным содержанием воды и всегда присутствующим углекислым газом. При этом высвобождается значительное количество тепловой энергии химического происхождения.
Важным является то, что ил, смешанный с СаО, относительно быстро затвердевает и превращается в такой материал, по которому можно ходить, что облегчает его складирование.
В экзотермической реакции между водой и СаО высвобождается энергия 273 ккал/кг СаО. Если известь вступает в реакцию с С02
, возникает теплота 773 ккал/кг СаО. В результате химических реакций настолько повышается температура смеси ила и извести, что погибают патогенные микроорганизмы, присутствующие в осадке. Второе влияние тепловой энергии, что в результате испарения снижается влажность смеси.
Важно с точки зрения обеззараживания, что под действием извести увеличивается рН смеси и это также способствует гибели микроорганизмов.
Потребность процесса в СаО зависит от:
- содержания СаО в материале, использованного в качестве источника СаО. (В процессе могут быть использованы материалы, содержащие СаО, являющиеся в других местах отходом производства);
- химической характеристики органических и неорганических составляющих обработанного осадка;
- содержания влаги и вязкости обработанного осадка.
- возможности перемешивания осадка и материала, содержащего СаО.
При перемешивании СаО со сброженным обезвоженным осадком относительно большое количество аммиака может попасть в окружающую среду. Поэтому нужно обеспечить вытяжку для системы перемешивания, а аммиак нужно удалить из воздуха [5].
3.5 Утилизация биогаза, образующегося в процессе сбраживания осадка
Ожидаемая теплотворная способность биогаза, возникающего в процессе сбраживания осадка, составляет 6,2 - 6,4 кВтч/Нм3
. Эту энергию биогаза, скапливающуюся в значительных количествах, следует использовать, во-первых, для разогрева обрабатываемого осадка, а во-вторых, для восполнения тепловых потерь метантенков. Остающаяся после этого энергия может быть свободно использована. С самым лучшим коэффициентом полезного действия биогаз используется в газовом двигателе. В этом случае из сожженного биогаза вырабатывается электроэнергия (35 - 39%) и тепловая энергия для отопления (максимум А - 50%). Потери в случае утилизации биогаза в газовом двигателе в лучшем случае составляют около 15%.
С точки зрения безопасности, наряду с утилизацией биогаза в газовом двигателе следует предусмотреть возможность сжигания биогаза в газовом факеле и в котельной [7].
4. Расчетная часть
4.1 Расчет количества образующегося осадка
4.1.1 Сырой осадок
Количество сырого осадка первичных отстойников определяется по формуле (1) [3]:
, т/сут (1)
где С – начальная концентрация взвешенных веществ;
Э – эффект задержания взвешенных веществ в первичных отстойниках в долях единицы (обычно принимают 0,5 – 0,6);
К – коэффициент, учитывающий увеличение объема осадка за счет крупных фракций взвеси, не улавливаемых при отборе проб для анализа, принимают равным 1,1 – 1,2;
Q – приток сточных вод на очистную станцию, м3
/сут.
т/сут
Объем осадка в сутки влажностью 97% по формуле (2) составит:
, м3
/сут (2)
где Wос
– влажность сырого осадка;
ρос
– плотность сырого осадка, которую для упрощения принимают равной 1
м3
/сут
4.1.2 Избыточный активный ил
Количество избыточного активного ила по сухому веществу определяется по формуле (3):
, м3
/сут (3)
где Пр – прирост активного ила, м3
/сут;
а – вынос взвешенных веществ из вторичных отстойников, мг/л;
Q – расход сточных вод, м3
/сут;
Прирост активного ила составит:
, мг/л (4)
где В – количество взвешенных веществ в сточной воде, поступающей в аэротенк, мг/л;
Lа – БПКполн
поступающих в аэротенк сточных вод, мг/л
мг/л
Тогда количество избыточного активного ила по весу во вторичных отстойниках по формуле (3) составит:
т/сут
Количество избыточного активного ила по объему составит:
, м3
/сут (6)
где g - объемный вес активного ила, 1,001.
Wизб.ос
– влажность активного ила, равная 99,4%;
м3
/сут
4.1.3 Химический ил
В случае последующей очистки воды, уже очищенной биологически, в связи с добавлением соли железа (III) образуется также осадок гидроокиси – фосфата железа. Предполагаемое суточное количество химического ила составляет 10 т/сут.
В случае предполагаемого среднего содержания сухого вещества 2% объем ила, отбираемого из систем флотации, аналогично по формуле (6) составит:
м3
/сут
4.2 Расчет оборудования для обработки осадков
4.2.1 Расчет гравитационных сгустителей для обработки сырого осадка
Сырой осадок, образующийся в первичных отстойниках, перекачивается насосом для сгущения в гравитационные сгустители.
Полезная площадь радиального илоуплотнителя определяется по формуле (7) [13]:
, м2
(7)
где qmax
– часовой приток сырого осадка, кг/ч;
q0
– нагрузка по сухому веществу осадка, принимаем равной 2,5 кг/ч·м2
по таблице 57 [6].
м2
Диаметр илоуплотнителя по формуле (8):
, м (8)
м
Сгущение ила осуществляется с помощью вращающегося по кругу так называемого скребкового механизма с центральным приводом. Внутренний диаметр сгустителя составляет 22 м, а полезная глубина вдоль стены составляет 3,5 м. Рекомендуемый уклон дна составляет 10%. Сгущенный ил откачивается из зумпфа, находящегося в центре сгустителя, а осадок, поступающий на сгущение подается в распределитель, находящийся в центральной части сгустителя.
Объем уплотненного сырого осадка составит по формуле (9):
, м3
/сут (9)
где Vос
– объем сырого осадка, м3
/сут;
Wос
– влажность осадка, поступающего на уплотнение, %;
- влажность уплотненного осадка, %
м3
/сут
Максимальное количество жидкости, отделяемой в процессе уплотнения по формуле (10), м3
/сут:
, м3
/сут (10)
м3
/сут
4.2.2 Механическое сгущение избыточного активного ила и химического ила
Механическое сгущение избыточного активного ила и химического ила с добавлением полиэлектролита выполняется в барабанном сгустителе с небольшим расходом электрической энергии.
Общий расход смеси избыточного и химического ила:
, м3
/сут (11)
м3
/сут
Перед подачей на сгустительное оборудование химический ил и минерализованный активный ил следует перемешать. Для этого принимаем 3 резервуара для усреднения концентрации осадков объемом по 3000 м3
каждый.
Резервуар для усреднения концентрации осадков представляет собой закрытое инженерное сооружение цилиндрической формы диаметром 18 м и высотой 3 м, оборудованное смесителями.
Средняя влажность смеси составляет:
, % (12)
%
Перед поступлением в механический сгуститель, осадок кондиционируется полиэлектролитом. Удельная потребность в полиэлектролите для сгущения 7 г/кг. Тогда суточный расход полиэлектролита составит:
0,007 – 1
m - 58000
кг/сут
С целью обеспечения этого количества целесообразно предусмотреть установку двух блоков для растворения полиэлектролита производительностью
12 кг/ч.
Раствор полиэлектролита готовится в два этапа. На первом этапе готовится раствор с концентрацией 5 кг/м3
(этот раствор может быть приготовлен только из чистой водопроводной воды), а затем соответствующая концентрация раствора устанавливается путем разбавления концентрированного раствора водой технического качества (очищенная сточная вода). Разбавленный раствор может храниться на протяжении не более 24 часов. Важным правилом приготовления раствора полиэлектролита является то, что порошок полиэлектролита может всыпаться в воду только при интенсивном турбулентном смешивании (в противоположном случае могут образоваться комки).
Принимаем 6 сгустителей типа БС-4 производительностью 30¸60 м3
/ч с мощностью привода 1,50 кВт. Габаритные размеры: 2835 × 2050 × 1820 (мм).
Расход уплотненного осадка при его влажности 95% аналогично формуле (9):
м3
/сут
Максимальное количество жидкости, отделяемой в процессе уплотнения, определяем аналогично формуле (10):
м3
/сут
4.2.3 Расчет метантенков
Расчет метантенков заключается в вычислении количества образующихся на станции осадков, выборе режима сбраживания, определении требуемого объема сооружений и степени распада беззольного вещества осадков.
Количество сухого вещества осадка из первичных отстойников составляет Qсух
= 72 т/сут. Количество сухого активного ила и химического ила – 58 т/сут.
Расход сырого осадка и смеси избыточного активного ила и химического ила соответственно: Wупл
= 1440 м3
/сут, qизб
= 1189 м3
/сут.
Количество беззольного вещества осадка вычисляют по формуле (13) [14]:
, т/сут (13)
где Вг
– гидроскопическая влажность сырого осадка, равная 5 %;
Зос
– зольность осадка, равная 30 %
т/сут
Количество беззольного активного ила вычисляют по аналогичной формуле (14):
, т/сут (14)
где - гидроскопическая влажность избыточного ила, составляет 5 %;
Зил
– зольность активного ила, 25%
т/сут
Общий расход осадков:
по сухому веществу:
, т/сут (15)
т/сут
по беззольному веществу:
, т/сут (16)
т/сут
по объему смеси фактической влажности:
, м3
/сут (17)
м3
/сут
Средние величины влажности и зольности смеси находят по формулам (18), (19) соответственно:
, % (18)
%
, % (19)
%
Рассмотрим два варианта сбраживания осадка: при мезофильном режиме и при термофильном. Выбор между мезофильным и термофильным сбраживанием будет сделан после технико-экономической оценки.
4.2.3.1 Расчет метантенка при мезофильном сбраживании
Температура сбраживания при мезофильном режиме составляет 33ºС.
Суточная доза загружаемой в метантенк смеси при влажности 95%
Dmt
= 8 % (табл. 59 [11]).
Расчетный объем метантенков определяется по формуле (20) [15]:
, м3
(20)
м3
Принимаем 6 метантенков D = 18 м с полезным объемом 6000 м3
, высота верхнего конуса НВ.К
= 3,15 м, высота цилиндрической части НЦ
= 18 м.
По формуле (21) определяем фактическую дозу загрузки:
, % (21)
%
Распад беззольного вещества по формуле (22):
(22)
где а – предел сбраживания беззольного вещества загружаемого осадка, % (при отсутствии данных о химическом составе осадков принимаются: для сырого осадка 53%, для избыточного активного ила 44%.);
n – коэффициент, зависящий от влажности осадка и режима сбраживания (0,72 по табл. 61 [16]);
Dmt
– доза суточной загрузки метантенков, %
Для смеси сырого осадка и избыточного активного ила предел сбраживания определяется по формуле (23):
, (23)

Тогда по формуле (22):
%
Выход газа из метантенков
Принимаем равным 1 г на 1 г распавшегося беззольного вещества осадка. Плотность газа ρ = 1 кг/м3
.
Удельный выход газа по формуле (24) составит:
, м3
/кг (24)
м3
/кг
Суммарный выход газа определяется по формуле (25):
, м3
/сут (25)
м3
/сут
Съем газа с одного метантенка в сутки по формуле (26):
, м3
/сут (26)
м3
/сут.
Для хранения газа предусмотрены газгольдеры, вместимость которых принимается равной 2 – 4хчасовому выходу газа. Принимаем 2,5-часовой выход газа:
, м3
(27)
м3
Принимаем 2 гахгольдера по типовому проекту 707-2-6 емкостью 3000 м3
и диаметром 21050 мм
Определение размеров горловины
Площадь живого сечения горловины по формуле (28):
, м2
(28)
где Qг
– пропускная способность 1 м2
горловины в м3
/сут; принимаем равным
700 м3
/сут на м2
м2
.
По формуле (29) определяем диаметр горловины:
, м (29)
м
Теплотехнический расчет
а) Расход тепла на обогрев свежего осадка определяется по формуле (30):
, ккал/сут (30)
где К – коэффициент, учитывающий потери тепла через стенки, днище и перекрытие метантенков, при емкости Vмт
более 1100 м3
К = 0,10;
Ст
– теплоемкость осадка, 4,19 кДж/(кг × К);
tсб
– температура в метантенке, равная 33ºС;
tвх
– температура поступающего осадка, 13 ºС
ккал/сут
б) Компенсация теплопотерь всего объема (за вычетом добавки свежего осадка), принимается охлаждение за сутки на 1 ºС:
, ккал/сут (31)
ккал/сут
в) Общее потребное количество тепла:
, ккал/сут (32)
ккал/сут
г) Требуемая расчетная теплопроизводительность с учетом КПД котельной установки определяется по формуле (33):
, ккал/сут (33)
где η – КПД котельной установки, принимается равным 0,7 – 0,8
ккал/сут
д) По формуле (34) расчетное потребное количество пара при теплоотдаче 1 кг пара 550 ккал составит:
, т/сут (34)
т/сут
е) Количество тепла, выделяемого при сжигании газа при теплопроводной способности газа 5000 ккал/м3
:
, ккал/сут (35)
ккал/сут
< Gрасч
, 17,8 · 107
< 34,4 · 107
кал/сут
Количество тепла, получаемого при сжигании газа, образующегося в метантенках, недостаточно для поддержания мезофильного процесса в них.
В процессе сбраживания происходит распад беззольных веществ, приводящий к уменьшению массы сухого вещества и увеличению влажности осадка, причем суммарный объем смеси после сбраживания практически не меняется.
Масса беззольного вещества рассчитывается как:
, т/сут (36)
т/сут
Масса сухого вещества в сброженной смеси определяется как:
, т/сут (37)
Разность Мсух
– Мбез
представляет собой зольную часть, не изменившуюся в процессе сбраживания.
т/сут
Влажность сброженной смеси по формуле (38):
, % (38)
%
Зольность сброженной смеси по фрмуле (49) будет равна:
, % (49)
где - гидроскопичность сброженной смеси, равная 6 %
%
4.2.3.2 Расчет метантенка при термофильном сбраживании
Сбраживание происходит при температуре 50 - 55ºС.
Суточная доза загружаемой в метантенк смеси при влажности 95 % Dmt
= 17 % (табл. 59 [11]).
Расчетный объем метантенков по формуле (21):
м3
Принимаем 3 метантенка D = 18 м с полезным объемом 6000 м3
, высота верхнего конуса НВ.К
= 3,15 м, высота цилиндрической части НЦ
= 18 м [17].
Фактическая доза загрузки:
%
Распад беззольного вещества по формуле 23, где n – коэффициент, зависящий от влажности осадка и режима сбраживания (0,31 по табл. 61 [11]):
%
Выход газа из метантенков
Принимаем равным 1 г на 1 г распавшегося беззольного вещества осадка. Плотность газа ρ = 1 кг/м3
.
По формуле (25) удельный выход газа составит:
м3
/кг
Суммарный выход газа определяется по формуле (26):
м3
/сут
Съем газа с одного метантенка в сутки:
м3
/сут.
Для хранения газа предусмотрены газгольдеры, вместимость которых принимается равной 2 – 4хчасовому выходу газа. Принимаем 2,5-часовой выход газа:
м3
Принимаем 2 гахгольдера по типовому проекту 707-2-6 емкостью 3000 м3
и диаметром 21050 мм
Определение размеров горловины
Площадь живого сечения горловины по формуле (29):
м2
.
Диаметр горловины п формуле (30):
м
Теплотехнический расчет
а) Расход тепла на обогрев свежего осадка:
, ккал/сут (50)
где К – коэффициент, учитывающий потери тепла через стенки, днище и перекрытие метантенков, при емкости Vмт
более 1100 м3
К = 0,10;
Ст
– теплоемкость осадка, 4,19 кДж/(кг × К);
tсб
– температура в метантенке, равная 33ºС;
tвх
– температура поступающего осадка, 13 ºС
ккал/сут
б) по формуле (32) компенсация теплопотерь всего объема (за вычетом добавки свежего осадка), принимается охлаждение за сутки на 1 ºС:
ккал/сут
в) Общее потребное количество тепла:
ккал/сут
г) Требуемая расчетная теплопроизводительность с учетом КПД котельной установки по формуле 34:
ккал/сут
д) Расчетное потребное количество пара при теплоотдаче 1 кг пара 550 ккал:
т/сут
е) Количество тепла, выделяемого при сжигании газа при теплопроводной способности газа 5000 ккал/м3
:
ккал/сут
< Gрасч
, 19,6 · 107
< 62,55 · 107
кал/сут
Количество тепла, получаемого при сжигании газа, образующегося в метантенках, недостаточно для поддержания термофильного процесса в них.
Масса беззольного вещества рассчитывается по формуле 37:
т/сут
Масса сухого вещества в сброженной смеси определяется по формуле 38
т/сут
Влажность сброженной смеси по формуле (39):
%
Зольность сброженной смеси по формуле (40) будет равна:
%
Объем осадка, выходящего из метантенка, равен объему, подающегося на метантенк. При удалении осадка в нем еще содержится значительное количество биогаза. Перед обезвоживанием биогаз следует удалить. Для этого предусматривается два бассейна-дегазатора.
Инженерные сооружения дегазации представляют собой железобетонные бассейны такой же формы и таких же размеров, как и гравитационные сгустители первичного осадка. Диаметр бассейнов 22 м, высота дегазатора 3,5 м, а полезный объем каждого из бассейнов составляет 1538 м3
.
Бассейны дегазации одновременно являются и бассейнами буферного хранения осадка в случае выхода из строя оборудования для обезвоживания или перебоя на очистной станции [18].
4.2.4 Механическое обезвоживание осадков
Осадки городских сточных вод, подлежащие механическому обезвоживанию, должны подвергаться предварительной обработке — уплотнению, промывке (для сброженного осадка).
Перед обезвоживанием сброженного осадка на вакуум-фильтрах или фильтр-прессах следует предусматривать его промывку очищенной сточной водой.
4.2.4.1 Расчет сооружений промывки осадков после сбраживания
Количество промывной воды следует принимать, м³/м3
: для сброженной в мезофильных условиях смеси сырого осадка и избыточного активного ила - n=2 – 3, при термофильном режиме n = 3 – 4. Продолжительность промывки Tпр
= 15-20 мин.
Суточный объём смеси осадка и промывной воды определяем по формуле (51) [6]:
. (51)
м³.
Объём промывных резервуаров по формуле (52):
, (52)
м³.
Принимаем 2 резервуара с рабочим объемом каждого 150 м³.
Перемешивание смеси осадка и промывной воды производится сжатым воздухом из расчета 0,5 м3
на 1 м3
смеси.
Расход воздуха для перемешивания:
м³/ч.
Промывные резервуары размещаются, как правило, в специальном помещении — камере промывки. Здесь же могут быть резервуар для иловой воды и насосы для ее перекачки.
Уплотнение смеси промытого осадка и воды осуществляется в радиальных или вертикальных отстойниках-уплотнителях, рассчитанных на 12—18-часовое пребывание в них смеси. Принимаем уплотнители радиального типа с продолжительностью уплотнения 15 ч. Число уплотнителей — не менее 2.
Рабочий объем уплотнителей определяем по формуле (53):
, (53)
м³.
Объем иловой части уплотнителей рассчитывается на хранение осадка влажностью 94—96 % в течение 2 сут:
м³.
Общий объем уплотнителей:
м³.
В качестве уплотнителей промытого осадка принимаем 2 первичных отстойника диаметром 30 м с объёмом каждого 3500 м³.
Расход промытого и уплотнённого осадка влажностью 94% :
м³/сут.
Расход сливной воды, отводимой из уплотнителей осадка, определим по формуле (54):
, (54)
м³/сут.
4.2.4.2 Расчет реагентного хозяйства
В качестве реагентов при коагулировании осадков городских сточных вод следуеи принять хлорное железо или сернокислое окисное железо и известь в виде 10%-ных растворов.
Количество реагентов следует определять в расчете по FeCl3
и СаО.
Доза FeCl3
от веса сухого вещества – 4%;
Доза СаО от веса сухого вещества – 11% (п.6.373 [11]).
Суточный расход FeCl3
по активному продукту:
т/сут
30%-ый раствор FeCl3
хранится в наружных резервуарах, в которых имеется запас на 20 суток, он равен:
м3
На 1 сутки 10%-ого раствора FeCl3
требуется:
м3
Суточный расход извести по активной части:
т/сут
На 1 сутки 10%-ого раствора извести требуется:
м3
Принимаем 4 расходных бака объемом 40 м3
, общий объем баков составляет
160 м3
[19].
4.2.4.3 Расчет камерного фильт-пресса
Рабочая площадь вакуум-фильтра определяется по формуле (55):
, (55)
где - расход смеси, поступающей на обезвоживание, м3
/сут;
- влажность обезвоженного осадка,%;
q — пропускная способность фильтр - пресса, кг/(м2
ч);
Т- продолжительность работы фильтр — пресса за сутки, ч.
м².
Принимаем 4 рабочих и 2 резервных камерных фильтр-пресса марки
ФПА В300 с площадью поверхности 300 м².
Расход кека влажностью 60% составляет:
м³/сут.
Расход образующегося фильтрата:
м³/сут.
4.2.4 Обеззараживание осадков сточных вод
После механического обезвоживания ил представляет собой грязеобразный (пастообразный) материал, в котором, несмотря на предварительное сбраживание в мезофильных условиях, остается значительное количество патогенных микроорганизмов и гельминтов. Попадая в благоприятные условия, яйца гельминтов проходят инвазионную стадию развития и становятся способными заражать людей и животных.
Для химического обеззараживания осадков применяем известь.
В процессе гашения 1 грамм-моля окиси кальция, содержащейся в извести, выделяется 65 кДж тепла.
Необходимое количество тепла, кДж, для нагревания осадка негашеной известью можно определить из выражения (56):
, кДж (56)
где Мос
и Ми
– масса осадка и извести соответственно, кг;
Си
– удельная теплоемкость извести, равная 0,92 кДж/(кг-град);
ΔТ – разность температур исходной и необходимой для обеззараживания осадка, ºС
Удельная теплоемкость осадка Сос
определяется по формуле (57):
, (57)
где 1,8 – теплоемкость сухого осадка влажностью 5 – 10%, кДж/(кг · град);
Рос
– влажность осадка, доли единицы.
кДж/(кг · град)
Массу негашеной извести, необходимую для нагрева осадка на ΔТ, ºС, определяют по формуле (58):
, кг (58)
где а – активность извести, доли единицы
кг/сут
Тогда по формуле 56 вычислим:
кДж/сут
Для обеззараживания можно использовать не только чистый СаО, но также и другой побочный промышленный продукт с большим содержанием СаО. Естественно, в этом случае в зависимости от содержания СаО в используемом материале потребуется больше его количество.
Прогретый осадок, смешанный с известью, поступает на площадки, откуда по истечении определенного времени осадок вывозится на территорию отвала с помощью специальных машин для складирования [4].
5. Технико-экономическая часть
Выбор схемы обработки осадка и типа конструкций целесообразно производить на основе технико-экономического расчета с целью наиболее выгодного проектного варианта. Экономический эффект определяют путем сравнения капитальных вложений К (единовременные затраты), к которым относятся затраты на основные фонды (здания, сооружения и оборудование), и годовых эксплуатационных затрат ЭЗ (текущие затраты).
Критерием сравнительной экономической эффективности капиталовложений является минимум приведенных затрат. Наиболее выгодной является схема с меньшей суммой приведенных затрат.
Приведенные затраты определяются по формуле:
, (56)
где ЭЗ – годовые эксплуатационные затраты;
К – капитальные вложения;
Е – нормативный коэффициент капиталовложений, равный 0,16;
n – срок службы оборудования, 20 лет;
t – период приведения, равный разности между годом, в котором осуществляются затраты, и годом, к которому они приводятся.
Исходными данными для определения стоимости оборудования являются перечень установленного оборудования, а также цены на оборудование, принимаемые по прейскурантам. При расчете оборудования учитывают только основное оборудование. Стоимость остального неучтенного оборудования (электродвигателей, контрольно-измерительных приборов и т.п.) можно оценивать в долях от основного оборудования.
Величину эксплуатационных затрат определяют суммированием расходов по каждому элементу затрат, вычисленную прямым расчетом по следующим основным статьям: материалы (реагенты-растворители и др.), заработная плата, электроэнергия и тепловая энергия, амортизационные отчисления, текущий ремонт, цеховые и прочие расходы [20].
Предложенная технология обработки осадков состоит из трех этапов:
1. уплотнение образующихся илов;
2. анаэробная стабилизация уплотненного ила
3. обезвоживание стабилизированного ила.
Экономическому сравнению подвергаются два варианта обработки осадков на стадии анаэробного сбраживания: при мезофильном режиме и при термофильном режиме.
5.1 Определение капиталовложений
В капитальные затраты на строительство участка обработки осадка ОСК
г. Челябинска входят: стоимость основного оборудования производственного назначения, подготовка территории строительства, затраты на монтаж оборудования, затраты на монтаж трубопроводов, расходы на транспортировку, страхование и таможенные расходы.
Стоимость основного оборудования производственного назначения представлена в таблице 3.
Таблица 3 - Инвестиционные объекты по оборудованию
| Наименование сооружения
|
Количество сооружений
|
Стоимость сооружения, млн. руб
|
Сметная стоимость сооружений, млн. руб
|
| Гравитационный сгуститель
|
4
|
1,500
|
3,000
|
| Барабанный сгуститель
|
6
|
2,750
|
16,500
|
| Метантенк
|
При мезофильном сбраживании
|
6
|
1,140
|
6,840
|
| При термофильном сбраживании
|
4
|
1,140
|
4,560
|
| Газгольдер
|
2
|
4,810
|
9,620
|
| Дегазатор
|
2
|
1,500
|
3,000
|
| Биофильтр
|
1
|
1,300
|
1,300
|
| Камерный фильтр-пресс
|
6
|
5,000
|
30,000
|
| Итого:
|
По первому варианту
|
70,260
|
| По второму варианту
|
67,980
|
Расчет сводного сметного расчета строительства систем обработки осадка приводится в таблице 4.
Таблица 4 - Сводная смета расчета строительства систем обработки осадка
| Пункт статьи
|
Статьи затрат
|
Сумма, млн. руб
|
| 1 вариант
|
2 вариант
|
| 1
|
стоимость основного оборудования производственного назначения
|
70,260
|
67,980
|
| 2
|
подготовка территории строительства (5% от п.1)
|
3,513
|
3,399
|
| 3
|
затраты на монтаж оборудования
|
14,052
|
13,596
|
| 4
|
затраты на монтаж трубопроводов (30% от п. 1)
|
21,078
|
20,394
|
| 5
|
расходы на транспортировку, страхование и таможенные расходы (10% от п. 1).
|
7,026
|
6,798
|
| Итого:
|
115,9
|
112,167
|
5.2 Годовые эксплуатационные затраты
5.2.1 Расчет затрат на реагенты
И в первом и во втором вариантах обработки осадка используются следующие реагенты: полиэлектролит, хлорид железа (III) и известь.
В качестве реагента при механическом обезвоживании применяем полиэлектролит ВПК-402.
Годовой расход полиэлектролита составит: 0,406 · 365 = 148,19 т/год
Стоимость 1 т полиэлектролита 55800 руб [21].
Годовая стоимость реагента составит: 148,19 · 55800 = 8269002 р/год
Перед механическим обезвоживанием на камерных фильтр-прессах производится кондиционирование хлоридом железа и известью.
Годовой расход FeCl3
: 3,66 · 365 = 1335,9 т/год
Стоимость 1 т FeCl3
– 33000 руб [22].
Тогда годовая стоимость реагента составит: 1335,9 · 33000 = 44000000 руб/год
Годовой расход СаО составит: (10,1 + 10,7) · 365 = 7592 т/сут. Годовая стоимость извести: 7592 · 23000 = 180000000 т/сут
Общая стоимость химических реагентов:
8269002 + 44000000 + 180000000 = 232269002 руб/ год
5.2.2 Определение затрат на электроэнергию
Расчет стоимости электроэнергии по проектируемым системам обработки осадка производится на основе действующих тарифов на электроэнергию.
Расход электроэнергии, потребляемой электродвигателями оборудований определяют по их мощности и часов работы в течение года:
, (57)
где Рн
– потребленная электроэнергия, кВт-ч
Т – продолжительность работы оборудования в течение года, ч.
Потребленная электроэнергия определяется по формуле (58):
, (58)
где Ру
– установленная мощность оборудования, кВт-ч;
К – коэффициент мощности оборудования, в среднем принимается 0,85
Затраты на электроэнергию определяются как произведение тарифа за 1 кВт-ч отпущенной электроэнергии (1,30 руб) на годовой расход электроэнергии.
Расчет годового расхода электроэнергии на годовой расход по первому варианту обработки осадков приведен в таблице 5.
Таблица 5 – Результаты расчета годовых затрат на электроэнергию по первому варианту
| Наименова-ние оборудова-ния
|
Количество оборудова-ния
|
Мощность единицы Ру
, кВт-ч
|
Потреблен-ная мощность, кВт-ч
Рн
= Ру
·Кс
|
Продолжительность работы
|
Продолжительность работы в год
|
Годовой расход электроэнергии А, кВт-ч/год
|
| Гравитационный сгуститель
|
4
|
0,75
|
0,64
|
24
|
8760
|
22425,6
|
| Барабанный сгуститель
|
6
|
2,98
|
2,53
|
24
|
8760
|
132976,8
|
| Метантенк (мезофиль
ное сбражива-ние)
|
6
|
4,7
|
4,0
|
24
|
8760
|
210240
|
| Биофильтр
|
1
|
0,27
|
0,23
|
24
|
8760
|
2014,8
|
| Камерный фильтр-пресс
|
6
|
3,00
|
2,55
|
12
|
4380
|
67014
|
| Итого:
|
434671,2
|
| Годовые затраты на электроэнергию:
|
565072,56
|
Расчет годового расхода электроэнергии на годовой расход по второму варианту обработки осадков приведен в таблице 6.
Таблица 6 – Результаты расчета годовых затрат на электроэнергию по второму варианту
| Наименова-ние оборудова-ния
|
Количество оборудова-ния
|
Мощность единицы Ру
, кВт-ч
|
Потреблен-ная мощность, кВт-ч Рн
= Ру
·Кс
|
Продолжи-тельность работы
|
Продолжи-тельность работы в год
|
Годовой расход электроэнергии А, кВт-ч/год
|
| Гравитационный сгуститель
|
4
|
0,75
|
0,64
|
24
|
8760
|
22425,6
|
| Барабанный сгуститель
|
6
|
2,98
|
2,53
|
24
|
8760
|
132976,8
|
| Метантенк (термо-фильное сбражива-ние)
|
4
|
2,4
|
2,04
|
24
|
8760
|
71481,6
|
| Биофильтр
|
1
|
0,27
|
0,23
|
24
|
8760
|
2014,8
|
| Камерный фильтр-пресс
|
6
|
3,00
|
2,55
|
12
|
4380
|
67014
|
| Итого:
|
295912,8
|
| Годовые затраты на электроэнергию:
|
384686,6
|
5.2.3 Расходы на заработную плату и отчисления на социальные нужды
Расходы на заработную плату определяются путем умножения численности обслуживающего персонала, сгруппированной по трем категориям работающих (рабочие, инженеры-специалисты, младший обслуживающий персонал), на показатель среднегодовой заработной платы, рассчитанной на одного работающего соответствующей категории.
Годовой фонд заработной платы работников предприятия определяется по формуле (59):
, (59)
где С1
– начисленная заработная плата на 1 работника, руб;
n – количество работников;
12 – число месяцев в году
От начисленного годового фонда заработной платы принимаются отчисления на социальные нужды в размере 26% [24].
Расчет заработной платы работников предприятия по первому варианту выполнен в таблице 7.
Таблица 7 – Результаты расчетов заработной платы работников по первому варианту обработки осадков
| Должность
|
Численность
|
Зар.плата на 1 чел. в год, руб
|
Фонд заработной платы, руб
|
| ИТР
|
33
|
180000
|
5940000
|
| Рабочие
|
241
|
114000
|
27474000
|
| МОП
|
12
|
78000
|
936000
|
| Итого:
|
34350000
|
| Социальные отчисления от фонда заработной платы:
|
8931000
|
Расчет заработной платы работников предприятия по второму варианту выполнен в таблице 8.
Таблица 8 – Результаты расчетов заработной платы работников по второму варианту обработки осадков
| Должность
|
Численность
|
Зар.плата на 1 чел. в год, руб
|
Фонд заработной платы, руб
|
| ИТР
|
45
|
180000
|
8100000
|
| Рабочие
|
286
|
114000
|
32604000
|
| МОП
|
12
|
78000
|
936000
|
| Итого:
|
41640000
|
| Социальные отчисления от фонда заработной платы:
|
10826400
|
5.2 4 Затраты на текущий ремонт
Отчисления на текущий ремонт берутся в размере 0,6% стоимости сооружений и оборудования [20].
Для первого варианта отчисления на ремонт будут равны:
млн. руб
Для второго варианта отчисления на ремонт будут равны:
млн. руб
Результаты по расчетам годовых эксплуатационных расходов обобщены в таблице 9.
Таблица 9 - Смета эксплуатационных расходов
| Статьи затрат
|
Годовые затраты, млн. руб.
|
| Первый вариант
|
Второй вариант
|
| Затраты на реагенты
|
232,269
|
232,269
|
| Затраты на электроэнергию
|
384,6866
|
473,969
|
| Заработная плата производственных рабочих
|
34,350
|
41,640
|
| Социальные отчисления
|
8,931
|
10,826
|
| Затраты на текущий ремонт
|
0,420
|
0,410
|
| Итого:
|
660,656
|
759,114
|
5.3 Расчет приведенных затрат
По формуле (56) определим приведенные затраты для каждого варианта обработки осадков.
Для упрощения расчетов обозначим: . Результаты расчетов приведенных затрат по первому варианту приведены в таблице 10.
Таблица 10 – Результаты расчетов приведенных затрат по первому варианту обработки осадков
| t
|
В
|
ЭЗ · Вi
|
t
|
В
|
ЭЗ · Вi
|
| 1
|
0,86
|
568,16
|
11
|
0,19
|
125,52
|
| 2
|
0,74
|
488,88
|
12
|
0,16
|
105,70
|
| 3
|
0,64
|
422,81
|
13
|
0,14
|
92,49
|
| 4
|
0,55
|
363,36
|
14
|
0,12
|
79,27
|
| 5
|
0,47
|
310,50
|
15
|
0,11
|
72,67
|
| 6
|
0,41
|
270,86
|
16
|
0,09
|
59,45
|
| 7
|
0,35
|
231,22
|
17
|
0,08
|
52,85
|
| 8
|
0,31
|
204,80
|
18
|
0,07
|
46,24
|
| 9
|
0,26
|
171,77
|
19
|
0,06
|
39,63
|
| 10
|
0,23
|
151,95
|
20
|
0,05
|
33,03
|
| :
|
3891,26
|
| ПЗ:
|
4007,16
|
Для второго варианта обработки осадков обобщенные результаты расчета представлены в таблице 11.
Таблица 11 – Результаты расчетов приведенных затрат по второму варианту обработки осадков
| t
|
В
|
ЭЗ · Вi
|
t
|
В
|
ЭЗ · Вi
|
| 1
|
0,86
|
652,83
|
11
|
0,19
|
144,23
|
| 2
|
0,74
|
561,73
|
12
|
0,16
|
121,45
|
| 3
|
0,64
|
485,83
|
13
|
0,14
|
106,27
|
| 4
|
0,55
|
417,51
|
14
|
0,12
|
91,09
|
| 5
|
0,47
|
356,78
|
15
|
0,11
|
83,50
|
| 6
|
0,41
|
311,23
|
16
|
0,09
|
68,32
|
| 7
|
0,35
|
265,68
|
17
|
0,08
|
60,72
|
| 8
|
0,31
|
235,32
|
18
|
0,07
|
53,13
|
| 9
|
0,26
|
197,36
|
19
|
0,06
|
45,54
|
| 10
|
0,23
|
174,59
|
20
|
0,05
|
37,95
|
| :
|
4471,18
|
| ПЗ:
|
4583,347
|
Сравнительная характеристика приведенных затрат двух вариантов обработки осадков представлена в таблице 12.
Таблица 12 - Сравнительная характеристика приведенных затрат двух вариантов обработки осадков представлена в таблице
| |
Капитальные затраты, млн. руб.
|
Эксплуатационные затраты, млн. руб.
|
Приведенные затраты, млн. руб.
|
| Первый вариант
|
115,900
|
660,656
|
4007,16
|
| Второй вариант
|
112,167
|
759,114
|
4583,34
|
Минимальные приведенные затраты обеспечивает первый вариант обработки осадков. Годовой экономический эффект в пользу первого варианта составляет:
, (60)
млн. руб.
6. Безопасность жизнедеятельности
Безопасность жизнедеятельности человека в производственной среде связана с оценкой опасности технических систем и применяемой технологией.
В данном проекте уделено внимание анализу опасных и вредных факторов, воздействующих на человека в процессе работы и производства строительно-монтажных работ. Определены мероприятия по технике безопасности, опасным и вредным факторам.
6.1 Анализ опасных и вредных факторов, возникающих при строительстве и эксплуатации сооружений обработки осадков
При эксплуатации сооружений по обработке осадков сточных вод канализации, разработке новых технологических процессов и видов оборудования должны быть предусмотрены меры, исключающие или уменьшающие до допустимых пределов возможное воздействие на работников следующих опасных и вредных производственных факторов:а) физические факторы:- движущиеся машины и механизмы (при обслуживании насосных станций, при строительстве и эксплуатации сооружений по обработке осадков и т.п.);- подвижные части производственного оборудования (при обслуживании сооружений по обработке осадка);- падающие с высоты предметы, разрушающиеся конструкции;- повышенная загазованность воздуха рабочей зоны (возможная утечка газов из баллонов, цистерн);- повышенная или пониженная температура воздуха рабочей зоны (при обслуживании сооружений обработки осадка);- повышенная влажность воздуха рабочей зоны (при обслуживании насосных станций, сооружений механической и биологической очистки сточных вод, при охлаждении оборотной воды);- повышенная или пониженная подвижность воздуха рабочей зоны (при обслуживании сооружении механической и биологической очистки сточных вод и обработки осадка);- повышенное значение напряжения в электрической цепи, замыкание которой может произойти через тело человека (при обслуживании насосных станций, сооружений механической и биологической очистки сточных вод и обработки осадка);- повышенный уровень шума на рабочем месте (при обслуживании насосных станций);- повышенная вибрационная нагрузка на работника (при обслуживании насосных станций);- отсутствие или недостаток естественного света;- недостаточная освещенность рабочей зоны;б) химические факторы:- органические вещества, выделяющиеся при обработке осадков, образующие неприятные запахи, проникающие в организм человека через органы дыхания, желудочно-кишечный тракт, кожные покровы и слизистые оболочки;в) биологические факторы:- патогенные микроорганизмы и продукты их жизнедеятельности (при обслуживании насосных станций, сооружений механической и биологической очистки сточных вод и обработки осадка). 6.2 Производственная санитария
6.2.1 Микроклимат производственных помещений
Микроклимат производственных помещений - метеорологические условия внутренней среды этих помещений, которые определяются действующими на организм человека сочетаниями температуры, влажности, скорости движения воздуха и теплового облучения.
Показателями, характеризующими микроклимат в производственных помещениях, являются:
а) температура воздуха;
б) температура поверхностей;
в) относительная влажность воздуха;
г) скорость движения воздуха;
д) интенсивность теплового облучения.
Показатели микроклимата должны обеспечивать сохранение теплового баланса человека с окружающей средой и поддержание оптимального или допустимого теплового состояния организма.
Оптимальные микроклиматические условия установлены по критериям оптимального теплового и функционального состояния человека. Они обеспечивают общее и локальное ощущение теплового комфорта в течение 8-часовой рабочей смены при минимальном напряжении механизмов терморегуляции, не вызывают отклонений в состоянии здоровья, создают предпосылки для высокого уровня работоспособности и являются предпочтительными на рабочих местах.
Допустимые микроклиматические условия установлены по критериям допустимого теплового и функционального состояния человека на период 8-часовой рабочей смены. Они не вызывают повреждений или нарушений состояния здоровья, но могут приводить к возникновению общих и локальных ощущений теплового дискомфорта, напряжению механизмов терморегуляции, ухудшению самочувствия и понижению работоспособности.
Допустимые величины показателей микроклимата устанавливаются в случаях, когда по технологическим требованиям, техническим и экономически обоснованным причинам не могут быть обеспечены оптимальные величины (таблица 10).
Оптимальные температуры для проведения работ на открытом воздухе – выше нуля. При скорости ветра 15 м/с и более не допускается выполнять монтажные работы. При неблагоприятных природных условиях: грозе, тумане, снегопаде, исключающих видимость фронта работы, проведение строительных работ не рекомендуется.
Температура измеряется термометром, влажность – психрометром, скорость движения воздуха – анемометром [27].
Таблица 13 - Оптимальные и допустимые температуры, относительной влажности и скорости движения воздуха в рабочей зоне производственных помещений
| Период года
|
Категория работ
|
Температура, 0
С
|
Относительная влажность, %
|
Скорость движения, м/с
|
| оптимальная
|
допустимая
|
оптималь-ная
|
допусти-мая, не более
|
оптимальная, не более
|
допус.,
не более
|
| холодный
|
легкая – Iа
|
22-24
|
18-25
|
40-60
|
75
|
0,1
|
0,1
|
| легкая – Iб
|
21-23
|
17-24
|
40-60
|
75
|
0,1
|
0,2
|
| средней тяжести – IIа
|
18-20
|
15-23
|
40-60
|
75
|
0,2
|
0,3
|
| средней тяжести – IIб
|
17-19
|
13-21
|
40-60
|
75
|
0,2
|
0,4
|
| тяжелая III
|
16-18
|
12-19
|
40-60
|
75
|
0,3
|
0,5
|
| теплый
|
легкая – Iа
|
23-25
|
20-28
|
40-60
|
55
|
0,1
|
0,1-0,2
|
| легкая – Iб
|
22-24
|
19-28
|
40-60
|
60
|
0,2
|
0,1-0,3
|
| средней тяжести – IIа
|
21-23
|
17-27
|
40-60
|
65
|
0,3
|
0,2-0,4
|
| средней тяжести – IIб
|
20-23
|
15-27
|
40-60
|
70
|
0,3
|
0,2-0,5
|
| тяжелая III
|
18-20
|
13-26
|
40-60
|
75
|
0,4
|
0,2-0,6
|
Обеспечение оптимальных условий микроклимата:
Согласно [28] предлагаются следующие мероприятия:
- в холодный период года следует применять средства защиты рабочих мест от радиационного охлаждения, от стеклянных поверхностей оконных проемов;
- в теплый период года следует применять средства защиты рабочих мест от попадания прямых солнечных лучей;
- в холодный период года при работе на открытом воздухе обеспечение рабочих теплой одеждой.
Согласно [29] необходимы следующие мероприятия:
- исключение контакта рабочих с вредными веществами (автоматизация производства);
- общеобменная вентиляция помещений;
- обработка, мокрая уборка стен, полов;
- применение спецодежды.
6.2.2 Вредные вещества
Атмосферный воздух, попадая в производственные помещения, может изменять свой состав, загрязняясь примесями вредных веществ: газов, паров, пыли, образующихся в процессе производства. Попадая в организм человека при дыхании, а также через кожу или пищевод, такие вещества могут оказать вредное воздействие. Ухудшение здоровья человека, причиной которого является низкое качество воздуха помещений, может проявиться появлением большого набора острых и хронических симптомов и в форме множества специфических заболеваний.
Вредным называется вещество, которое при контакте с организмом человека в случае нарушения требований безопасности может вызвать производственные травмы, профессиональные заболевания или другие отклонения в состоянии здоровья, обнаруживаемые современными методами как в процессе контакта с ним, так и в отдаленные сроки жизни настоящего и последующих поколений [30].
Многие производственные процессы сопровождаются пылевым фактором. Во вдыхаемом человеком воздухе могут содержаться частицы пыли размером до 20 мкм. В верхних отделах дыхательных путей задерживаются частицы размером 10...20 мкм. В альвеолах легких в основном задерживаются частицы размером до 5 мкм.
Причины выделения пыли могут быть самыми разнообразными. Так, пыль образуется при механической обработке хрупких металлов, шлифовке, полировке, упаковке и расфасовке. Эти виды пылеобразования являются первичными. В условиях производства может возникнуть и вторичное пылеобразование, например, при проветривании, уборке помещений, движении людей.
Пыль - это дисперсная фаза твердых веществ, образующаяся при их дроблении, измельчении, а также при конденсации в воздухе паров металлов и неметаллов. Пыли, взвешенные в воздухе, образуют аэрозоли, скопление осевшей пыли - аэрогели.
Вредное воздействие пыли на организм человека зависит от количества вдыхаемой пыли, степени ее дисперсности, от формы частиц пыли, от ее химического состава и растворимости [30].
6.2.3 Вентиляция и очистка воздуха производственных помещений
Воздухообмен в помещениях, создаваемый вентиляцией, снижает концентрацию токсичных веществ до предельно допустимых, ассимилирует тепло, влагу и поддерживает в рабочей зоне чистый воздух заданных температур и влажности.
Вентиляция предусматривается во всех производственных и вспомогательных помещениях. Минимальное количество наружного воздуха, подаваемого системами вентиляции в помещение, в котором возможно естественное проветривание, должно быть не менее 30 м/ч на одного работающего при объеме помещения менее 20 mj
на человека и не менее 20 м/ч при объеме помещения 20 mj
и более. В помещениях, в которых невозможно естественное проветривание, минимальное количество наружного воздуха, подаваемого вентиляцией, увеличивается до 60-120 м3
/ч в зависимости от кратности воздухообмена и рециркуляции воздуха.
6.2.4 Производственное освещение
Рабочее освещение обязательно во всех помещениях и на освещаемых территориях для обеспечения нормальной работы, прохода и движения транспорта.
Естественное и искусственное освещение нормируется по СНиП 23-05-95 "Естественное и искусственное освещение".
Уровень освещенности на рабочем месте должен соответствовать характеру выполняемой зрительной работы. Распределение яркости должно быть равномерным на рабочей поверхности и в пределах окружающего пространства. Величина освещенности должна быть постоянной во времени (отсутствие пульсации, которые также вызывают утомление зрения). Направленность светового потока должна быть оптимальной, чтобы обеспечить рассмотрение внутренних деталей, оценить рельефность. Также должна быть обеспечена непрерывность освещения на рабочем месте.
Общее равномерное освещение площадок и участков должно быть не менее 20 лк, за исключением автодорог. Для охраны строительных площадок освещение должно быть около 0,5 лк, аварийное – 3 лк, эвакуационное внутри здания – 0,5 лк, вне здания – 0,2 лк.
6.2.5 Шум и вибрация
Под шумом как гигиеническим фактором принято подразумевать совокупность слышимых звуков, неблагоприятно воздействующих на организм человека, мешающих его работе и отдыху. Ультразвук и инфразвук - это также совокупность звуков, но не слышимых человеком, однако оказывающих неблагоприятное энергетическое воздействие на человека.
В таблице 11 приведены допустимые уровни звука для широкополосного постоянного шума [27].
Таблица 14 - Допустимые уровни звука для широкополосного постоянного шума
| Рабочие места
|
Уровни звукового давления, дБ, в октавных полосах с частотой, Гц
|
Уровни звука и эквивалентные уровни звука, дБА
|
| 63
|
125
|
250
|
500
|
1000
|
2000
|
4000
|
8000
|
| Помещения управления, рабочие комнаты
|
19
|
40
|
68
|
63
|
55
|
52
|
50
|
49
|
60
|
Согласно [31], средства коллективной защиты от шума бывают следующими:
- звукоизоляция ограждающих конструкций;
- рациональное размещение оборудования и рабочих мест;
- создание шумозащищенных зон в местах нахождения человека;
- оснащение шумных машин (насосов) средствами дистанционного управления;
- использование рациональных режимов труда и отдыха работников;
- применение малошумных машин.
Воздействие вибрации нормируется по ГОСТ 12.1.012-96 "Вибрационная безопасность. Общие требования".
Вибрация представляет собой механическое колебательное движение, простейшим видом которого является гармоническое (синусоидальное) колебание.
В производственных условиях часто имеет место сочетание локальной и общей вибрации.
Смешанное воздействие с преобладанием местной вибрации возникает при работе ряда ручных машин, когда передача колебаний по телу осуществляется не только через верхние, но и через нижние конечности, грудь, спину и другие части тела в зависимости от рабочей позы и конструкции инструмента.
Нормируемые параметры указываются для определенного диапазона частот:
- для локальной вибрации в виде октавных полос со среднегеометрическими частотами: 8; 16; 31,5; 63; 125; 250; 500; 1000 Гц;
- для общей вибрации в виде октавных или 1/3 октавных полос со среднегеометрическими частотами: 0,8; 1; 1,25; 1,6; 2,0; 2,5; 3,15; 4,0; 5,0; 6,3; 8,0; 10,0; 12,5; 16,0; 20,0; 25,0; 31,5; 40,0; 50,0; 63,0; 80,0 Гц.
Вибробезопасность труда на предприятиях должна обеспечиваться:
- соблюдением правил и условий эксплуатации машин и ведения технологических процессов;
- исключение контакта работающих с вибрирующими поверхностями за пределами рабочего места или зоны, введением ограждений, предупреждающих знаков, использование предупреждающих надписей, окраски, сигнализации и т.п.;
- улучшение условий труда;
- введение и соблюдение режимов труда и отдыха, в наибольшей мере снижающих неблагоприятное воздействие вибрации на человека;
- применение средств индивидуальной защиты.
При проектировании технологических процессов и производственных зданий и сооружений, согласно [35], должны быть:
- выбраны машины с минимальной вибрацией;
- разработаны схемы размещения машин с учетом создания минимальных уровней вибрации на рабочих местах;
- выбраны строительные решения оснований и перекрытий, обеспечивающих выполнения требований вибрационной безопасности.
6.2.6 Электробезопасность
Напряжения прикосновения и токи нормируются [33]. Электротравма возникает при работе под напряжением, одно- и двухфазном прикосновении человека к неизолированным частям оборудования, нахождение человека в зоне растекания тока замыкания на землю, разряде атмосферного электричества.
Напряжения прикосновения и токи, протекающие через тело человека при нормальном (неаварийном) режиме электроустановки, не должно превышать значений, указанных в таблице 12.
Таблица 15 - Напряжения прикосновения и токи
| Род тока
|
U, В не более
|
J, мА не более
|
| Переменный, 50 Гц
Переменный, 400 Гц
Постоянный
|
2,0
3,0
8,0
|
0,3
0,4
1,0
|
Предельно допустимые уровни напряжений прикосновения при аварийном режнме производственных электроустановок с частотой тока 50 Гц, напряжением выше 1000 В, с глухим заземлением нейтрали не должны превышать значений, указанных в таблице 13.
Таблица 16 - Предельно допустимые уровни напряжений прикосновения при аварийном режиме
| Продолжительность воздействия, t, с
|
Предельно допустимый уровень напряжения прикосновения И, В
|
| до 0,1
|
500
|
| 0,2
|
400
|
| 0,5
|
200
|
| 0,7
|
130
|
| 1,0
|
100
|
| свыше 1,0 до 5,0
|
65
|
Силу электрического тока можно измерить амперметром, напряжение - вольтметром.
Согласно [34] для защиты от случайного прикосновения к токоведущим частям необходимо:
- безопасное расположение токоведущих частей;
- изоляция токоведущих частей;
- защитное отключение;
- предупредительные знаки.
Защита от поражения электрическим током при прикосновении к металлическим токоведущим частям:
- защитное заземление;
- зануление;
- изоляция нетоковедущих частей;
- средства индивидуальной защиты (перчатки, электроизолируемые инструменты).
6.3 Техника безопасности при монтажных работах
При монтажных работах следует соблюдать технику безопасности согласно [35]:
- на участке (захватке), где ведутся монтажные работы, не допускается выполнение других работ и нахождение посторонних лиц;
- очистку подлежащих монтажу элементов конструкций от грязи и наледи следует производить до их подъема;
- где допускается прибытие людей на элементах конструкции и оборудования во время их подъема или перемещения;
- во время перерыва в работе не допускается оставлять поднятые элементы конструкции и оборудования на весу;
- для перехода монтажников с одной конструкции на другую следует применять инвентарные лестницы, переходные мостики и трапы, имеющие ограждения;
- до выполнения монтажных работ необходимо установить порядок обмена условными сигналами между лицом, руководящим монтажом и машинистом;
- при перемещении конструкции и оборудования расстояние между ними и выступающими частями смонтированного оборудования должно быть по горизонтали не менее 1,0 м, по вертикали – 0,5 м.
6.4 Требовании безопасности при эксплуатации сооружений по обработке осадка сточных вод
Устройство и оборудование сооружений по обработке осадков сточных вод должно удовлетворять требованиям строительных норм и правил.
Электротехническое оборудование, обслуживающее помещения метантенков, должно иметь резервное электропитание, чтобы обеспечить постоянную работу вентиляторов с необходимой кратностью воздухообмена.
Не допускается нахождение работников и проведение каких-либо работ в помещениях метантенков при неработающей вентиляции.
В обслуживающих помещениях метантенков электрическое освещение, электродвигатели, пусковые и токопитающие устройства и аппаратура должны выполняться во взрывозащищенном исполнении в соответствии с классом взрывоопасной зоны. Электрические устройства и электрооборудование должны быть заземлены.
В помещениях метантенков необходимо иметь:
а) комплект противопожарного инвентаря;
б) диэлектрические перчатки и ковры у щитов управления электроагрегатами;
в) газоанализаторы или газосигнализаторы;
г) средства индивидуальной защиты;
д) взрывобезопасные аккумуляторные фонари;
е) аптечку первой доврачебной помощи.
В особо опасных местах должны быть вывешены знаки безопасности.
Отвод газа от метантенков, устройство и эксплуатация газгольдеров и газовой сети метантенков должны проводиться в соответствии с требованиями правил безопасности в газовом хозяйстве и правил устройства и безопасной эксплуатации сосудов, работающих под давлением.
Порядок производства работ на площадке метантенков определяется инструкцией, разрабатываемой в соответствии с требованиями нормативных правовых актов, которая должна быть утверждена руководителем организации.
Трубопроводы коммуникаций метантенков окрашивают в цвета согласно соответствующим государственным стандартам.
Надписи с указанием условных обозначений окраски вывешивают на видном месте. В помещениях, где обнаружена утечка газа, должны быть приняты срочные меры по устранению загазованности.
При проведении ремонтных работ в загазованной среде помещений применяют слесарные инструменты, изготовленные из цветного металла, исключающего возможность искрообразования.
Рабочая часть инструментов из черного металла должна обильно смазываться солидолом или другой смазкой. Применение в загазованной среде электрических инструментов, дающих искрение, запрещается. Полы в зоне работ выстилают резиновыми коврами.
Сварочные или другие работы, связанные с применением открытого огня, проводятся на метантенках и в обслуживающих их помещениях с соблюдением особых мер предосторожности с учетом требований правил безопасности в газовом хозяйстве. На проведение указанных работ выдают наряд-допуск. Выполнять работы допускается при действующей вентиляции и постоянном контроле состава воздушной среды в помещениях.
При загазованности помещения входить туда можно только в противогазах.
Отогревать замерзшие участки газопроводов следует горячей водой, паром или горячим песком.
Запрещается отогревать замерзший конденсат в газопроводах паяльными лампами или использовать для этой цели электропрогрев.
Работы в метантенках, связанные со спуском в них работников, производятся только по наряду-допуску. Бригада должна состоять не менее чем из трех работников. В метантенки работник должен спускаться, надев предохранительный пояс со страховочным канатом или спасательной веревкой.
Каждый участвующий в работах должен иметь подготовленный к работе шланговый или кислородно-изолирующий противогаз.
Применение фильтрующих противогазов не допускается.
При работе в кислородно-изолирующем противогазе необходимо следить за остаточным давлением кислорода в баллоне противогаза, обеспечивающим возвращение работника в незагазованную зону. Время работы в кислородно-изолирующем противогазе
следует записывать в паспорт противогаза.
Воздухозаборные патрубки шланговых противогазов должны располагаться с наветренной стороны и закрепляться. При отсутствии принудительной подачи воздуха вентилятором длина шланга не должна превышать 12 м.
При производстве работ в метантенке необходимо отключить его от газовой сети, установив заглушки. Воздушная среда в метантенке должна быть проверена на отсутствие пожаро-взрывоопасной концентрации газов.
В подкупольном пространстве метантенка разрешается работать не более 15 минут, затем следует сделать перерыв продолжительностью не менее 30 минут.
Подсушенный осадок с иловых площадок следует удалять механизированным путем. Дороги для механизированной уборки, погрузки и транспортирования осадка на иловых площадках устраивают со съездами на карты для автотранспорта и средств механизации. Дороги, мостики, переходы, подходы к колодцам должны регулярно очищаться и своевременно ремонтироваться.
Работники, обслуживающие технологическое оборудование по механическому обезвоживанию и термической обработке осадков, должны пройти специальное обучение и инструктаж по безопасным методам ведения работ.
Помещение, где размещается оборудование для механического обезвоживания и термической обработки осадков, должно быть снабжено подъемно-транспортным оборудованием.
При хранении, приготовлении и дозировании реагентов для обработки осадков (хлорное железо, гашеная известь, флокулянты) должны соблюдаться требования безопасности труда [36].
6.5 Пожарная безопасность
По степени пожарной опасности насосная станция относится к категории "Д", степень огнестойкости здания II согласно [37]. Степень огнестойкости II – здание с несущими конструкциями из бетона с применением листовых и плиточных негорючих материалов, в покрытиях зданий допускается применять незащищенные конструкции.
Согласно требованиям ППБ-01-93 на каждом объекте приказом (инструкцией) по организации должен быть установлен соответствующий их пожарной опасности противопожарный режим:- определены и оборудованы места для курения;- определены места и допустимое количество единовременно находящихся в помещениях исходных и вспомогательных материалов;- установлен порядок уборки горючих отходов, пыли, хранения промасленной спецодежды;- определен порядок обесточивания электрооборудования в случае пожара и по окончании рабочего дня;- регламентированы: порядок проведения временных огневых и других пожароопасных работ; порядок осмотра и закрытия помещений после окончания работы; действия работников при обнаружении пожара;- определен порядок и сроки прохождения противопожарного инструктажа и занятий по пожарно-техническому минимуму, а также назначены ответственные за их проведение.На каждом объекте должна быть обеспечена безопасность людей при пожаре, а также на основании требований ППБ-01-93 разработаны инструкции о мерах пожарной безопасности применительно к условиям промышленных объектов организации.Помещения, здания и сооружения необходимо обеспечивать первичными средствами пожаротушения. Противопожарная защита должна достигаться:
- применением средств пожаротушения и соответствующих видов техники;
- применением автоматических установок пожарной сигнализации и пожаротушения;
- устройством противопожарных преград;
- применением средств противодымной защиты (дымовых люков);
- в зданиях и сооружениях необходимо предусмотреть технические средства (лестничные клетки, противопожарные стены, наружные пожарные лестницы, аварийные люки и т.д.), имеющие устойчивость при пожаре и огнестойкость конструкций не менее времени, необходимого для спасения людей при пожаре и расчетного времени пожара.
К категории "Д" относятся производства, не связанные с обработкой несгораемых веществ и материалов в холодном состоянии.
Заключение
В настоящее время принято считать очистку воды законченной, если одновременно с ней решены вопросы обработки и экологически безопасного размещения осадков. Количество осадков постоянно растет, и сегодня они являются основными загрязнителями окружающей природной среды. Отсюда следует высокая значимость разработки технологий по переработке осадков.
Рассматривая задачи по обработке осадков на станции очистки стоков города Челябинска, можно заключить, что технология обработки осадков находится в критическом состоянии, требующем немедленных действий. Существующие объекты обработки ила представляют собой неприемлемый уровень по технологии, технике и защите окружающей среды.
В данном дипломном проекте представлен вариант реконструкции обработки осадков очистных сооружений канализации города Челябинска.
При выборе технологической схемы обработки образующихся осадков были учтены следующие требования: в связи с биологической нестабильностью осадков не должно возникать неприятных запахов, осадок не должен содержать опасных веществ для человека и живых организмов, по возможности не способствовал размножению насекомых, червей, грызунов, внешний вид осадков не должен вызывать отвращение. Дальнейшее естественное требование, чтобы все это было недорого, не загрязнялась окружающая среда, оборудование работало надежно.
Все вышеперечисленные экологические, технологические, технические и экономические принципы в большинстве задач обработки ила находятся в неразрешимом противоречии друг с другом. Вместе они редко бывают правильными. Приоритет руководящего принципа перед другими зависит от данной среды. С технико-технологической точки зрения обработки осадка был выбран тот метод, который в данной среде представляет лучшее решение проблемы размещения осадка. Экономические требования важны, но нельзя допустить, чтобы они стали главными.
Система комплексной обработки ила состоит трех основных этапов: уплотнение образующихся илов, анаэробная стабилизация уплотненного ила и обезвоживание стабилизированного ила.
Обезвоженный ил вывозится на площадки депонирования. Складирование ила на площадке облегчается смешиванием с известью с целью уничтожения человеческих патогенных микроорганизмов. Эта операция может проводится во время, либо после обезвоживания. Ил, смешанный с известью относительно быстро затвердевает и превращается в такой материал, по которому можно ходить. Использование осадка в сельском хозяйстве невозможно из-за значительного содержания тяжелых металлов.
В проекте были рассмотрены два варианта сбраживания осадков: мезофильное и термофильное сбраживание. На основании технико-экономической оценки двух вариантов обработки осадков, выбор был сделан в сторону мезофильного сбраживания. Так как с экономической точки зрения самым значительным недостатком термофильного способа является потребность в тепловой энергии, которая по сравнению с мезофильным способом приблизительно в два раза больше. Эту тепловую энергию нужно будет выплачивать ежедневно в качестве эксплуатационных расходов.
В разделе "Безопасность жизнедеятельности" были проанализированы опасные и вредные факторы и предложены мероприятия по безопасности при эксплуатации сооружений обработки осадков.
Список используемых источников
1. Пудовкин В.А. Очистка сточных вод: Учебное пособие. – Челябинск: ЧГТУ, 1995. – 58 с
2. Яковлев С.В., Ласков Ю.М. Канализация: (Водоотведение и очистка сточных вод): Учебник для техникумов – 7-е изд., перераб. и доп. – М.: Стройиздат, 1987. – 319 с.: ил.
3. Проектировние очистных сооружений канализации. Колобанов С.К., Ершов А.В., Кигель М.Е., Киев, "Будивельник", 1977, 224 с
4. Водоотводящие системы промышленных предприятий: Учеб. для вузов/ С.В. Яковлев, Я.А. Карелин, Ю.М. Ласков, Ю.В. Воронов; Под ред. С.В. Яковлева. – М.: Стройиздат, 1990. – 511 с.: ил.
5. Воронов Ю.В., Яковлев С.В. Водоотведение и очистка сточных вод/ Учебник для вузов: - М.: Изд-во Ассоциации строительных вузов, 2006. – 704 с.
6. Алексеев В.И., Винокурова Т.Е., Пугачев Е.А. Проектирование сооружений переработки и утилизации осадков сточных вод с использованием элементов компьютерных информационных технологий: Учебное пособие. – М.: Издательство АСВ, 2003. – 176 с.
7. Ф.И. Хакимов, А.С. Керженцев, С.М. Севостьянов. Рекомендации по утилизации илов городских очистных сооружений, М.: ГоскомЭкология России, 1999. – 52 с.
8. Обработка и удаления осадков сточных вод В 2-х т. Пер. с англ. Т.А. Карюхиной, И.Н. Чурбановой, И.Х. Заена – М.: Стройиздат, 1997. – 236 с.
9. Инженерная защита окружающей среды: Учебное пособие / Под ред. О.Г. Воробьева. – СПб.: Изд. "Лань", 2002. – 288с.
10. Туровский И.С. Обработка осадков сточных вод. – 3-е изд. М.: Стройиздат, 1985. – 256 с.
11. Николадзе Г.И.Коммунальное водоснабжение и канализация: Учеб. для техникумов – М.: Стройиздат, 1983. – 423 с.
12. Яковлев С.В., Волков Л.С., Воронов Ю.В., Волков В.Л. Обработка и утилизация осадков производственных сточных вод. – М.: Химия, 1999. – 448
13. Очистка сточных вод (примеры расчетов) / М.П. Лапицкая, Л.И. Зуева, Н.М. Балаескул и др. — М.: Высш. Школа, 1983 — 255 с.
14. Василенко А.А. Водоотведение. Курсовое проектирование. – К.: Выща шк. Головное изд., 1988. – 256 с.; 76 табл. – 32 ил. – Библиогр.: 34 назв.
15. Очистка сточных вод (примеры расчетов): [Учеб. пособие для вузов по спец. "Водоснабжение и канализация"/ М.П. Лапицкая, Л.И. Зуева, Н.М. Балаескул, Л.В. Кулешова]. – Мн.: Высшая школа, 1983. – 255 с.: ил.
16. СНиП 2.04.03-85. Канализация. Наружные сети и сооружения/ Госстрой СССР. – М.: ЦИТП Госстроя СССР, 2000. – 112 с.
17. Справочник проектировщика. Канализация населенных мест и промышленных предприятий. Под. Ред. В.Н. Самохина. – М.: Стройиздат, 1981. – 639 с.
18. Примеры расчетов канализационных сооружений: Учеб. Пособие для вузов / Ю.М. Ласков, Ю В. Воронов, В.И. Калицун. — 2-е изд., перераб. и доп. — М.: Стройиздат, 1987. — 255с.
19. Кожинов В.Ф. Очистка питьевой и технической воды (примеры и расчеты) М., Стройиздат 1971 – 303 с.
20. Горячкин П.В. Составление смет в строительстве на основе сметно-нормативной базы 2001 года (Практическое пособие). – Москва, Санкт-Петербург, 2003. – 560 с.
21. http://www.ecology.com.ua/teknofangi.home
22. www.astrey-plus.r/catologue
23. ГЭСН п 81-04-2001 Сооружения водоснабжения и канализации.
24. МДС 81-36.2004 Указания по применению Федеральных единичных расценок на строительные работы.
25. http://stroialfa.narod.ru/bp6
26. http://www.evrokomplekt.ru
27. Безопасность жизнедеятельности: Учебное пособие с элементами самостоятельной работы студентов/ С.И. Боровик, Л.М. Киселева, И.С. Окраинская и др./ Под ред. А.И. Сидорова. – Челябинск: Изд-во ЮУрГУ, 2004. – Ч. I. – 200 с.
28. ГОСТ 12.0.005-84 ССБТ. Метрологическое обеспечение в области безопасности труда.
29. ГОСТ 12.4.0011-87 ССБТ. Средства защиты работающих. Общие требования и классификация.
30. ГОСТ 12.1.007-76 (1999) ССБТ. Вредные вещества. Классификация и общие требования безопасности.
31. ГОСТ 12.1.029-80 ССБТ. Средства и методы защиты от шума.
32. ГОСТ 12.1.012-90 ССБТ. Вибрационная безопасность. Общие требования
33. ГОСТ 12.1.038-82 ССБТ. Электробезопасность. Предельно допустимые уровни напряжений прикосновений и токов.
33. ГОСТ 12.1.029-80 ССБТ. Средства и методы защиты от шума.
34. ГОСТ 12.1.019-19 ССБТ. Электробезопасность. Общие требования и номенклатура видов защиты.
35 СНиП Ш-4-80 "Техника безопасности в строительстве" М.: Стройиздат 1995 – 96 с.
36. Постановление Минтруда РФ от 16 августа 2002 г. № 61 "Об утвержении Межотраслевых правил по охране труда при эксплуатации водопроводно-канализационного хозяйства"
37. ГОСТ 12.1.004-91 ССБТ "Пожарная безопасность. Общие требования"
|