Днепропетровский национальный университет железнодорожного транспорта им. ак. В.Лазаряна
Кафедра АТС
КУРСОВОЙ ПРОЕКТ
По дисциплине: «Системы интервального регулирования движения поездов».
На тему: «Оборудование участка железной дороги перегонными устройствами автоматики и телемеханики».
Выполнил студент гр. 5АТЗ-2 ------------- Чаплыгин А.А.
Учебный шифр 404-к
Проверил -------------------------------------ст. преп. Дуб В.Ю.
г. Днепропетровск
2007 г
1. ЗАДАНИЕНА КУРСОВОЙ ПРОЕКТ
ТЕМА: ” Оборудование участка железной дороги перегонными устройствами автоматики и телемеханики ”
Для заданного двухпутного участка железной дороги,расположенного вне пригородной зоны , с преимущественно грузовым движением поездов,разработать проект(на примере межстанционного перегона и промежуточной станции):
1.автоблокировки и АЛСН;
2.автоматических огорождающих устройств на переезде;
3.устройств автоматического диспетчерского контроля на перегоне и станции с учетом контроля состояния основных узлов АБ и переездной сигнализации;
В проекте предусмотреть:
А) кодирование маршрутов приема и отправления по главным и боковым (безостановочный пропуск поездов) путям промежуточной станции;
Б) увязку устройств АБ и АЛСН перегона с ЭЦ заданной станции;
В) расчет мощности перегонных сигнальных и переездных установок;
2. Исходные данные
Род тяги электротяга переменного тока
Пункты питания ВВЛ АБ
(основные и резервные) тяговые подстанции
ЛЭП продольного
электроснабжения ДПР-27кВ (на опорах контактной сети)
Ординаты мест установки путевых светофоров
| Условное название станции огорождающей перегон |
Нечетное направление |
Четное направление |
| Номер светофора |
Ординаты светофоров
Км+м
|
Номер светофора |
Ординаты светофоров
Км+м
|
| «А» |
Входные Н, НД |
116+365 |
---- |
---- |
| 1 |
117+400 |
6 |
117+400 |
| 3 |
119+400 |
4 |
119+400 |
| 5 |
121+900 |
2 |
121+450 |
| «Б» |
---- |
---- |
Входные Ч, ЧД |
122+900 |
Характеристика переезда
Ордината переезда, км+м ----------------------------------------------- 117+800
Категория переезда по:
-интенсивности движения ----------------------------------------------------- 3
-условиям обслуживания -------------------------------------- неохраняемый
Ширина переезда ----------------------------------------------------- 6м
Максимальная скорость приближения
поездов к переезду в направлениях:
-четном -------------------------------------------------- 110км/ч
-нечетном -------------------------------------------------- 110км/ч
Ширина междупутья на перегоне ------------------------------------- 4100мм
На станции:
Марки крестовин стрелочных переводов:
-на главных путях -------------------------------------------------------------- 1/11
-на боковых путях -------------------------------------------------------------- 1/9
3. Введение
Забиваем Сайты В ТОП КУВАЛДОЙ - Уникальные возможности от SeoHammer
Каждая ссылка анализируется по трем пакетам оценки: SEO, Трафик и SMM.
SeoHammer делает продвижение сайта прозрачным и простым занятием.
Ссылки, вечные ссылки, статьи, упоминания, пресс-релизы - используйте по максимуму потенциал SeoHammer для продвижения вашего сайта.
Что умеет делать SeoHammer
— Продвижение в один клик, интеллектуальный подбор запросов, покупка самых лучших ссылок с высокой степенью качества у лучших бирж ссылок.
— Регулярная проверка качества ссылок по более чем 100 показателям и ежедневный пересчет показателей качества проекта.
— Все известные форматы ссылок: арендные ссылки, вечные ссылки, публикации (упоминания, мнения, отзывы, статьи, пресс-релизы).
— SeoHammer покажет, где рост или падение, а также запросы, на которые нужно обратить внимание.
SeoHammer еще предоставляет технологию Буст, она ускоряет продвижение в десятки раз,
а первые результаты появляются уже в течение первых 7 дней.
Зарегистрироваться и Начать продвижение
Непрерывный рост объема перевозок на железных дорогах сопровождается повышением скорости, веса и интенсивности движения поездов. В связи с этим особое значение приобретает комплексная автоматизация и механизация процессов перевозок, применение новых устройств автоматики, телемеханики и связи .
Мощным средством увеличения пропускной способности железнодорожной линии, повышения безопасности движения поездов является автоблокировка в комплексе с автоматической локомотивной сигнализацией и диспетчерским контролем автоблокировки позволяет организовать движение поездов попутного следования с малыми интервалами и значительно увеличить пропускную способность. За счет сокращения потерь времени при обгоне поездов на станциях при автоблокировке возрастает участковая скорость движения. Кроме того,
Автоблокировка повышает производительность труда эксплутационного штата работников, сокращает эксплутационные расходы и обеспечивает высокую безопасность движения поездов.
Значительная часть действующей аппаратуры АБ,ЭЦ,ДЦ отличается громоздкостью, ресурсоемкостью и трудоемкостью в эксплуатации. Поэтому принята концепция развития средств железнодорожной автоматики и телемеханики, которая позволяет не только оздоровить техническую базу хозяйства, но и поднять ее на новый качественный уровень, обеспечивающий безопасность движения поездов при улучшении экономических показателей отрасли в целом. Программы обновления предлагают следующее:
1. Создание на базе средств железнодорожной автоматики необходимой инфраструктуры для обеспечения централизации управления перевозочным процессом;
2. Переход на новую элементную базу, обеспечивающую качественное изменение показателей хозяйства в сторону снижения материало-, энерго- и трудоемкости;
3. Повсеместное внедрение средств контроля и диагностики для перехода на прогрессивные ремонтно-восстановительные методы обслуживания аппаратуры;
4. Приведение технической оснащенности каждой линии в соответствие с ее категорийностью и требуемыми объемами перевозок.
Особое внимание уделяется сроку службы электромагнитных реле. В настоящее время проводится работа по продлению ресурса этих приборов в зависимости от числа срабатываний, стабильности электрических параметров, магнитных свойств сердечника.
Кроме этого, срок действия систем продлевается благодаря замене части релейного оборудования (кодовых реле) с низким ресурсом электронными устройствами
4. Выбор и характеристика систем электропитания АБ и переездной сигнализации
Сервис онлайн-записи на собственном Telegram-боте
Попробуйте сервис онлайн-записи VisitTime на основе вашего собственного Telegram-бота:
— Разгрузит мастера, специалиста или компанию;
— Позволит гибко управлять расписанием и загрузкой;
— Разошлет оповещения о новых услугах или акциях;
— Позволит принять оплату на карту/кошелек/счет;
— Позволит записываться на групповые и персональные посещения;
— Поможет получить от клиента отзывы о визите к вам;
— Включает в себя сервис чаевых.
Для новых пользователей первый месяц бесплатно.
Зарегистрироваться в сервисе
Устройства АБ и переездной сигнализации по надежности обеспечения электроэнергией относятся к электроприемникам 1 категории и должны запитываться от двух независимых источников.
По условиям курсового проекта электроснабжение АБ на участке с электротягой переменного тока осуществляется от тяговых подстанций. Таким образом, можно сказать, что электроснабжение данного участка дороги относится к надежному. Основным источником питания служит ВВЛ АБ-10кВ. При надежном электроснабжении, характерном для электрифицированных участков ж.д., проектируется безбатарейная система питания. На этих участках в качестве резервного источника используется, как правило, линия продольного электроснабжения. При электротяге переменного тока такими линиями являются системы ДПР (два провода-рельс) 27кВ. Провода этих линий прокладываются на опорах контактной сети и поэтому ВВЛ АБ сооружаются одно-цепными.
В качестве линейных трансформаторов применяются понижающие трансформаторы типа ОМ. Рельсовые цепи, двигатель кодового трансмиттера, лампы светофора и дешифраторная ячейка питаются переменным током.
От перегрузок и коротких замыканий приборы защищаются автоматическими выключателями АВМ и плавкими предохранителями на 20 А. Приборы рельсовой цепи защищаются от воздействий коротких замыканий в контактной сети и грозовых разрядов установкой разрядников типа РВН-250, РКВН-250 на питающем и релейном концах. Земляные клеммы разрядников соединяют с корпусом шкафа, а последний – со средней точкой дроссель трансформатора.
Резервное питание устройств автоблокировки.
При электротяге переменного тока применяется система ДПР. Такая линия является надежным источником резервного питания устройств автоблокировки при прекращении подачи энергии от высоковольтно-сигнальной линии. Питание к этой линии поступает от тяговых подстанций.
Нормально устройства автоблокировки питаются через фронтовые контакты аварийного реле от основного линейного трансформатора, включенного в высоковольтную линию. При перерыве подачи напряжения в эту линию устройства автоблокировки питаются от резервного трансформатора.
Электропитание переездной сигнализации.
Устройства переездной сигнализации питаются по схеме питания автоблокировки, но независимо от числа питающих фидеров применяются местные элементы питания (аккумуляторные батареи) для повышения надежности. Такой режим питания относится к участкам, оборудованным автоблокировкой или диспетчерской централизацией.
Фидер основного питания подается от трансформатора типа ОМ, подключенного к высоковольтной линии автоблокировки, в релейный шкаф переездной сигнализации ПС. Резервное питание подается в тот же шкаф от системы ДПР. Электропитание переездных сигналов дополнено аккумуляторной батареей, размещенной в бетонном шкафу.
5. Выбор системы автоблокировки и АЛСН
По заданию курсового проекта путевое развитие перегона – двухпутное. На перегоне будем применять двухпутную, двухстороннюю автоблокировку, т.к. возможен капитальный ремонт одного из путей.
На данном участке преобладающее движение грузового транспорта, а следовательно скорость движения несколько ниже, чем при движении пассажирского транспорта. Поэтому на участке применяем трехзначная сигнализация.
По способу организации связи между светофорами – применяем беспроводную (кодовою) связь.
Так как, на участке электрическая тяга переменного тока то рельсовые цепи на перегоне питаются переменным током частотой 25 Гц.
Итак, применяем двухпутную, двухсторонюю автоблокировку переменного тока (25 Гц) с числовым кодом. Данный выбор объясняется тем, что такая система автоблокировки позволяет работать при электротяге переменного тока, при двухпутном движении и посылать коды в рельсовую цепь на частоте сигнального тока 25 Гц, что не окажет сильного влияния на сигнальный ток со стороны обратного тягового тока.
Кодовые сигналы вырабатываются кодовыми трансмиттерами типа КПТШ и передаются в цепь контактами трансмиттерного реле воспринимаются путевыми приемниками и приемными катушками локомотива.
Для организации движения поездов в неправильном направлении на перегоне во время работ с закрытием одного из путей перегона в схеме двухпутной кодовой автоблокировки с двусторонним движением имеется реле направления Н, которое, при переходе на неправильное направление движения включает реле ПН, которое своими контактами отключает цепи разрешающих огней светофоров и цепи кодирования кодами Ж и З для правильного направления движения и замыкает цепь кодирования всех блок-участков кодом КЖ в сторону правильного направления движения. При приеме и дешифрации кодов КЖ на каждой сигнальной установке возбуждаются реле Ж, Ж1 и Ж2, чем контролируется свободность всех блок-участков.
Цепи кодирования для неправильного направления движения включаются фронтовым контактом реле ПН. Полное замыкание этих цепей происходит с момента вступления поезда на блок-участок и замыкания фронтового контакта реле ОИ. Это реле включено по схеме обратного повторителя через тыловые контакты реле И и Ж1. Выбор значности кодов происходит с помощью известительного реле ИП и его повторителя ИП1. Движение поездов по неправильному направлению осуществляется по показаниям локомотивных светофоров.
6. Выбор автоматических ограждающих устройств на переезде
Так как переезд по условиям курсового проекта является неохраняемым, то заградительная сигнализация не устанавливается.
При техническом ремонте на одном из путей в неправильном направлении используется принцип движения, как и при полуавтоматической блокировке. Более подробно это показано в описании схем перегонных и переездных сигнальных установок.
Так как по заданию переезд является третьей категории (пересечение с автомобильными дорогами, не подходящими под характеристики переездов I и II категорий, если интенсивность движения по переезду при удовлетворительной видимости превышает 10000 поездо-экипажей в сутки, а при неудовлетворительной (плохой) – 1000 поездо-экипажей в сутки), то он оборудуется системами автоматической переездной светофорной сигнализации без автоматического шлагбаума.
7. Путевой план перегона
Путевой план перегона является основным документом проекта автоматической блокировки. Он разрабатывается на основе выбранной системы автоблокировки и представляет собой немасштабный чертеж (см. рис 1.)
На путевом плане перегона указанны пути в двухниточном изображении. Применяем перегонные светофоры (линзовые) и тут же указываем их номера и ординаты установки (согласно исходным данным);
Показываем переезд с его ординатами и указанием мест подачи сигналов извещения о приближении к ним поездов
Рельсовые цепи с указанием их длины, типа кодового путевого трансмиттера (КПТШ-515 или КПТШ-715), мест размещения изолирующих стыков, обозначением релейных (Р) и питающих (Т) концов, расстановкой путевых дроссель-трансформаторов (ДТ) .
Так же указываем :релейные шкафы с указанием типа сигнальной установки;
высоковольтные линии автоблокировки и ЛЭП резервного электроснабжения с учетом сторонности их расположения, указанием мест и типов линейных трансформаторов; сигнальные провода магистрального кабеля связи; кабельная сеть сигнальных установок с указанием длины и жильности кабеля; кабельные ящики с указанием их типов.
В проекте участка используются следующие типы сигнальных установок:
- ОМ – одиночная предвходная сигнальная установка с дополнительным сигнальным показанием – желтым мигающим огнем, устанавливается на сигнальных точках 1 и 2, которые являются предвходными светофорами;
- ОП1 – одиночная сигнальная установка перед переездом со схемой извещения к нему за один участок приближения, устанавливается на сигнальной точке 3;
- ОП2 – одиночная сигнальная установка перед переездом, извещение на который подается за два участка приближения, устанавливается на сигнальной точке 6 .
- О - одиночная сигнальная установка, устанавливается на сигнальной точке 4, 5 .
В связи с тем, что на современном этапе проектирования применяется магистральный кабель, то прокладка линии связи осуществляется магистральным кабелем.
8. Путевой план переезда
На чертеже путевого плана переезда (см. рис. 1.)по заданию курсового проекта показано:
1. Железнодорожные пути в двухниточном изображении с указанием ширины междупутья;
2. Переезд, его ордината и ширина проезжей части;
3. Релейные шкафы с указанием типа переездной установки и схемы шкафа;
4. Изолирующие стыки и путевые приборы рельсовой цепи;
5. Переездные светофоры с указанием их удаления от крайнего рельса;
6. Высоковольтные линии основного и резервного электроснабжения с указанием типов устанавливаемых силовых трансформаторов;
7. Батарейные шкафы с установленными в них аккумуляторами;
8. Сигнально-линейные цепи, организуемые по магистральному кабелю связи, с указанием назначения поводов, необходимых их резервов или отпаев для ввода в релейный шкаф переезда;
9. Кабельная сеть переезда, включая длину и жильность кабелей, тип кабельных ящиков.
По исходным данным и расчетам, приведенным в п.9., следуют сведения, необходимые для построения путевого плана переезда.
Скорости движения поездов при приближении к переезду:
- в четном направлении 110 км/ч;
- в нечетном направлении 110 км/ч.
Длина участка приближения:
- в четном направлении 1391 м;
- в нечетном направлении 1391 м.
Время задержки на закрытие переезда:
- в четном направлении 0,45с;
- в нечетном направлении 6,78с.
Переезд оборудуется автоматической светофорной сигнализацией без автоматического шлагбаума, и извещение в нечетном направлении движения осуществляется за один участок приближения, а в четном – за два.
Т.к. переезд расположен между проходными светофорами с извещением о приближении поезда за один и за два участка приближения, то устанавливается шкаф типа ПС. А так как на переезде применяется автоматическая светофорная заградительная сигнализация, то второй шкаф имеет тип 2С.
Расчет числа аккумуляторов в батарейном шкафу
Так как питание с батарейного шкафа подается на два переездных светофора, будем производить расчеты следующим образом.
При новом строительстве на переездных светофорах применяется по две лампы красного огня, итого – четыре лампы включенных параллельно к источнику 12В. Т.к. один аккумулятор выдает напряжение 2,2 В, то необходимо для резервного питания переездной сигнализации 6 аккумуляторов.
9. Расчет длин участков приближения и времени задержки закрытия переезда
Расчетная длина участка приближения к переезду и задержка времени определяются следующим образом.
Расчетная длина участка приближения к переезду , м, определяется по формуле:
, (1)
где: - максимальная скорость движения поездов на участке местонахождения переезда, км/ч;
- время извещения о приближении поезда к переезду, с.
При автоматической светофорной сигнализации с автошлагбаумами, время извещения должно быть не менее 40 с и рассчитывается по следующей формуле:
, (2)
где: - время прохода автомобиля через переезд, с;
- время срабатывания приборов извещения и включения переездной сигнализации (составляет 4 с);
- гарантийное время (принимается равным 10 с).
Время, необходимое для проследования автомашины через переезд, определяется по формуле:
, (3)
где: – длина переезда м;
- расчетная длина автомашины (автопоезда), м (принимается равной 24 м);
- расстояние от места остановки автомашины до светофора, при котором обеспечивается видимость показания светофора (равно 5 м);
- расчетная скорость движения автомобиля через переезд (в соответствии с правилами дорожного движения составляет 5 км/ч).
Длина переезда , м, на двухпутном участке составляет:
, (4)
где: – расстояние от крайнего рельса до наиболее удаленного переездного светофора, м;
- ширина рельсовой колеи, м (по ПТЭ составляет 1520 мм);
- ширина междупутья (4.1 м)
- габарит от крайнего рельса, необходимый для безопасной остановки автомашины после проследования переезда, м (составляет 2,5 м).
Длина переезда в нашем случае равна:
ln
=6,5+ 1,52+4,1+2,5=14,62м.
Время необходимое для проследования автомашины через переезд равно:
Vм=5 км/ч = 1,4 м/с
=(14,62+24+5)/1,4=31,16 с.
Время извещения равно:
=31,16+4+10=45,16 с.
Расчетная длина участка приближения к переезду в четном и нечетном направлениях = равна:
=0,28*110*45,16=1391 м.
Фактическая длина участка приближения к переезду в нечетном направлении равна 1600 м.
Для компенсации излишней длины участка приближения предусматривается задержка закрытия переезда. Время задержки определяется разностью фактического и расчетного времени извещения:
. (5)
В нечетном направлении время задержки равно
tзн
=(1600-1391)/0,28*80= 6,78с.
Фактическая длина участка приближения к переезду в четном направлении равна 1405 м (извещение за два блок-участка от Вх Н).
В нечетном направлении время задержки равно
tзч
=(1405-1391)/0,28*110=0,45 с.
10. Электрические схемы перегонных сигнальных установок
На участках с электротягой на постоянном и переменном токе нельзя применять импульсные рельсовые цепи постоянного тока, так как в рельсовой цепи, кроме сигнального тока, будет протекать тяговый ток, который может создавать мешающие и опасные влияния на аппаратуру рельсовой цепи. Для защиты от мешающих влияний тягового тока необходимо, чтобы вид сигнального тока отличался от вида тягового тока. В устройствах автоблокировки для участков с электротягой на переменном токе применяют рельсовые цепи частотой 25 Гц. Чтобы исключить влияние тягового тока, путевые реле включают через защитные фильтры, которые пропускают сигнальный ток и подавляют тяговый ток и его гармоники.
Кроме мешающих влияний, нужно учитывать и опасные влияния тягового тока. Так, например, при повреждении фильтра путевое реле может возбудиться от тягового тока при занятой рельсовой цепи, чем создается опасная ситуация. Чтобы исключить опасные влияния тягового тока, следует применять рельсовые цепи не с непрерывным, а с импульсным питанием. Если путевое реле работает в импульсном режиме, то это означает, что тяговый ток не оказывает опасное влияние; если оно получает непрерывное питание, то это является признаком опасного влияния тягового тока.
На участках с электротягой переменного и постоянного тока используют автоблокировку в комплексе с автоматической локомотивной сигнализацией АЛС. При применении устройств АЛС необходимо передавать сигнальные показания путевых светофоров на локомотив. Наиболее удобно и экономично это сделать, если рельсовую цепь использовать не только для контроля состояния блок-участка, но и как канал связи для устройств автоблокировки и АЛС. По этому каналу можно передавать различные сигнальные приказы для работы автоблокировки без применения линейных проводов. Наиболее просто, оказалось, использовать рельсовые цепи не с импульсным, а с кодовым питанием. Для кодирования был выбран числовой код, основным признаком которого является число импульсов, передаваемых в кодовом цикле.
С использованием этого кода была разработана и широко применена комплексная система числовой кодовой автоблокировки и АЛСН. Числовая кодовая автоблокировка построена с использованием числовых кодовых сигналов 3, Ж и КЖ.
На каждой сигнальной установке применены дешифраторы типа ДА, блоки которых показаны в раскрытом виде и увязаны с кодирующими цепями (рис. 2). В эти цепи включены трансмиттеры КПТШ-5 и КПТШ-7 и трансмиттерные реле Т. На выходах блока БС-ДА дешифратора включены сигнальные реле Ж и 3, управляющие огнями светофора и формирующие цепи кодирования. Показано также включение сигнального реле Ж1, которое является повторителем реле Ж и счетчика 1. С помощью реле Ж1 ускоряется включение кодов АЛС в рельсовую цепь с момента занятия ее поездом.
Трансмиттерное реле Т включено в цепи кодирования так, что при посылке кода 3 оно работает непосредственно через контакт 3 (КПТШ), а при посылке кодов Ж и КЖ оно включается через контакт Ж или КЖ (КПТШ) и контакт реле ПТ блока БИ-ДА как повторитель этого реле.
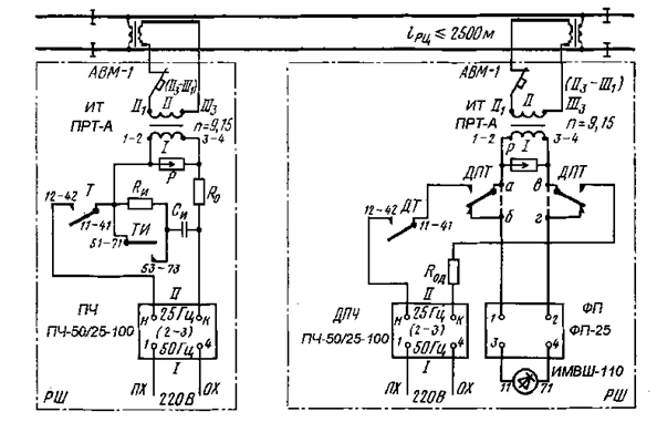
Рельсовые цепи автоблокировки получают питание переменным током частотой 25 или 50 Гц в зависимости от рода тяги на участке. При автономной тяге и электротяге на постоянном токе применяют рельсовые цепи 50 Гц, при электротяге переменного тока — 25 Гц. На приведенной схеме показаны рельсовые цепи 25 Гц. Питание рельсовой цепи 25 Гц осуществляется от преобразователя частоты ПЧ через изолирующий путевой трансформатор П (ПРТ-А).
Защита контакта реле Т от искрообразования выполнена с помощью контура R-C. Импульсное путевое реле И (ИМВШ-110) включено в рельсовую цепь через изолирующий трансформатор Р (ПРТ-Д) и путевой фильтр Ф (ПФ-25).
Работа цепей автоблокировки применительно к сигнальным установкам 3 и 5 при движении поезда по участку протекает следующим образом. В случае нахождения поезда на блок-участке ЗП у светофора 3 прекращается прием кода из рельсовой цепи, не работают реле И и дешифратор. Выключаются сигнальные реле Ж и 3, через тыловой контакт реле Ж последовательно с огневым реле О включается лампа красного огня и на светофоре 3 загорается красный огонь. Образуется цепь кодирования кодом КЖ рельсовой цепи 5П:

При замыкании контакта КЖ (КПТ) в первый момент срабатывает реле ПТ и, замыкая фронтовой контакт, включает реле Т. Через фронтовой контакт реле Т
в рельсовую цепь 5П подается код КЖ, у которого длительность импульса составляет 0,23 с, а длинного интервала — 0,57 с.
У сигнальной установки светофора 5 от каждого импульса кода КЖ срабатывает реле И и, замыкая фронтовой контакт, включает цепи блока дешифратора:


По цепи 1 включается питание реле-счетчика 1, который имеет замедление на притяжение равное 0,15 с. На время этого замедления по цепи 2 проходит заряд конденсатора С1. До момента срабатывания реле Ж цепь 2 проходит через тыловые контакты реле Ж и ПТ, а после срабатывания реле Ж — через фронтовой контакт Ж и тыловой контакт реле Т смежной рельсовой цепи.
Путем последовательного соединения фронтового контакта реле И и тылового контакта реле Т в цепях 1 и 2 проверяется асинхронное прохождение импульсов тока в смежных рельсовых цепях, что необходимо для контроля отсутствия короткого замыкания изолирующих стыков. По цепи 3 срабатывает реле В с контролем отсутствия импульса тока в смежной рельсовой цепи, что проверяется тыловым контактом реле ПТ, и присутствия импульса тока в собственной рельсовой цепи; что проверяется фронтовым контактом реле И. По окончании замедления счетчик 1 притягивает якорь и самоблокируется. Своим тыловым контактом он размыкает цепь 2 заряда конденсатора С1, а фронтовым контактом замыкает цепь 4, по которой конденсатор С1 разряжается на обмотку реле Ж и конденсатор С2. Реле Ж, притягивая якорь, фронтовым контактом включает лампу желтого огня и на светофоре 5 загорается желтый огонь. Вторым фронтовым контактом реле Ж последовательно с лампой красного огня включается высокоомная обмотка огневого реле О, которое контролирует целость нити лампы красного огня в холодном состоянии.
С момента прекращения импульса кода КЖ в длинном интервале (0,57 с) реле И отпускает якорь и выключает счетчик 1 и реле В. Выдержав замедление 0,3 с, эти реле отпускают свои якоря. Реле Ж продолжает получать питание за счет разряда конденсатора С2 и удерживает якорь притянутым.
При поступлении следующих импульсов кода КЖ работа цепей дешифратора повторяется. Происходит срабатывание счетчика 1 и периодический подзаряд конденсаторов С1 и С2. Реле Ж за счет разряда конденсаторов С1 и С2 получает непрерывное питание и на все время приема кода КЖ удерживает якорь притянутым. На светофоре 5 продолжает гореть желтый огонь.
Емкость конденсатора С2 подобрана так, чтобы обеспечить у реле Ж по возможности минимальное замедление на отпускание, достаточное для удержания якоря в длинном интервале и не создающее большой задержки на закрытие светофора с момента занятия рельсовой цепи поездом. Время замедления на отпускание реле Ж при номинальных значениях емкостей С1 и С2 и напряжения питания составляет 1,8—2,2 с.
В схеме предусмотрен перенос красного огня на позади стоящий светофор в случае перегорания лампы красного огня. Если на светофоре 3 перегорает лампа красного огня, то фронтовым контактом реле О размыкается цепь кодирования КЖ, в которую включено реле Т. Реле Т перестает работать, кодирование рельсовой цепи 5П прекращается и на светофоре 5 загорается красный огонь. Перегорание ламп разрешающих огней в приведенной схеме не контролируется.
При горении на светофоре 5 желтого огня замыкается цепь кодирования кодом Ж рельсовой цепи 7П:

Реле Т, работая в режиме кода Ж и переключая свой контакт в цепи трансформатора П, передает два импульса в каждом кодовом цикле в рельсовую цепь 7П. Длительность импульсов кода равна 0,35 и 0,6 с, длинного интервала — 0,79 с, короткого интервала — 0,12 с.
В случае свободности блок-участка ЗП и при поступлении из рельсовой цепи ЗП кода Ж на сигнальной установке светофора 3 в режиме этого кода работает реле И и замыкает следующие цепи дешифратора:

По цепи 1 с замедлением на притяжение 0,15 с срабатывает счетчик 1; по цепи 2 проходит заряд емкости С1; в цепи 2 тыловым контактом реле Т проверяется асинхронное прохождение импульсов тока в смежной рельсовой цепи П; по цепи 3 срабатывает реле В с контролем отсутствия импульсов тока в смежной рельсовой цепи 5П, что проверяется тыловым контактом реле ПТ, и контролируется поступление кодового импульса из собственной рельсовой цепи ЗП фронтовым контактом реле И. Притягивая якорь, реле-счетчик 1 самоблокируется, отключает. цепь 2 и включает цепь 4, по которой конденсатор С1 разряжается на реле Ж и заряжает конденсатор С2.
В малом кодовом интервале реле И отпускает якорь, реле-счетчик 1 и реле В, обладая большим замедлением, чем время интервала (0,12 с), удерживают якори притянутыми. Создается цепь 5 для возбуждения интервального реле-счетчика 1А ( цепь а).
До момента включения на светофоре 3 зеленого огня цепь 5 проходит через тыловой контакт реле 3. После возбуждения этого реле цепь 5 проходит через тыловой контакт реле И собственной рельсовой цепи и фронтовой контакт реле Т смежной рельсовой цепи. Путем такого включения контактов проверяется наличие кодового импульса в смежной рельсовой цепи при отсутствии кодового импульса в собственной рельсовой цепи, т. е. асинхронное прохождение кодовых импульсов в смежных рельсовых цепях, что необходимо для контроля короткого замыкания изолирующих стыков.

От второго импульса кода Ж притягивает якорь реле И и замыкает цепь 6 для возбуждения реле 3 и заряда конденсатора СЗ ( цепь б).
При возбужденном состоянии реле Ж и 3 через их фронтовые контакты на светофоре 3 включается зеленый огонь.По окончании приема двух импульсов кода Ж в длинном интервале кодового цикла с замедлением 0,3 с отпускают якоря реле-счетчик 1 и реле В. Реле В выключает реле-счетчик 1А, который с замедлением 0,25 с также отпускает якорь по окончании длинного интервала. При включенных реле-счетчиках 1 и 1А реле Ж получает питание от конденсатора С1, а после выключения этих счетчиков — от конденсатора С2.
Реле 3 возбуждается только при поступлении кода, имеющего не менее двух импульсов в кодовом цикле, что проверяется возбуждением двух реле-счетчиков 1 и 1А. Срабатыванием реле-счетчика 1 фиксируется поступление первого импульса в кодовом цикле, а срабатыванием реле-счетчиках 1А — короткого интервала между импульсами. Вторичным срабатыванием реле И при возбужденных счетчиках 1 и 1А фиксируется поступление второго импульса в кодовом цикле.
При приеме кода с одним импульсом в кодовом цикле (код КЖ) цепь срабатывания реле 3 не замыкается, так как при поступлении первого импульса срабатывает реле-счетчик 1, в длинном интервале срабатывает реле-счетчик 1А, реле И вторично не срабатывает и цепь реле 3 остается разомкнутой фронтовым контактом реле И. В длинном интервале реле-счетчики 1 и 1А отпускают свои якори, поэтому к моменту срабатывания реле И от кодового импульса следующего кодового цикла цепь реле 3 продолжает оставаться разомкнутой.
На все время приема кода Ж у светофора 3 реле 3 возбуждено по цепи, проходящей через фронтовые контакты реле-счетчиков 1 , 1А и реле И, или при выключенных счетчиках за счет разряда конденсатора СЗ. Таким образом, на все время поступления кодовых импульсов кода Ж реле Ж и 3 находятся в возбужденном состоянии и на светофоре 3 горит зеленый огонь.
На время горения на светофоре 3 зеленого огня замыкается цепь кодирования кодом 3 рельсовой цепи 5П:
Реле Т работает в режиме кода 3 и посылает этот код в рельсовую цепь 5П. Код 3 состоит из трех кодовых импульсов в кодовом цикле (0,35 с — первый импульс, 0,22 с — второй, 0,22 с — третий). Кодовые импульсы разделены двумя короткими интервалами длительностью 0,12 с каждый; длинный интервал между циклами составляет 0,57 с.
При приеме кода 3 из рельсовой цепи 5П в сигнальной установке светофора 5 в режиме кода 3 работает реле И и своим контактом включает дешифратор.
Дешифратор ДА построен таким образом, что не различает коды Ж и 3, поэтому при приеме кода 3 дешифратор работает так же, как и при приеме кода Ж. От первого импульса кода 3 по кратковременной цепи заряжается конденсатор С1, затем срабатывают реле-счетчик 1 и реле В, С этого момента конденсатор С1 начинает разряжаться на реле Ж и конденсатор С2, В первом коротком интервале возбуждается реле-счетчик 1А. От второго импульса кода возбуждается реле 3 и заряжается конденсатор СЗ. Во втором коротком интервале реле-счетчики не изменяют свое состояние. В третьем импульсе" повторяется заряд конденсатора СЗ и подается питание на реле 3 непосредственно от источника питания. Таким образом, при трехзначной сигнализации код 3 равноценен коду Ж. Через фронтовые контакты реле 3 и Ж на светофоре 5 включается лампа зеленого огня. Одновременно вклчается цепь кодирования рельсовой цепи 7П кодом 3.
Работа автоблокировки при установленном правильной направлении движения.
Состояние цепей, приведенных на схеме(Рис 3), соответствует одностороннему движению поездов в правильном направлении и нахождению поезда на участке ЗП. На сигнальной установке 3 прекратилось поступление кодов, не работает реле И и дешифратор.
Выключаются реле 3, Ж, Ж1, Ж2 и ЖЗ. Через тыловой контакт реле Ж2 образуется цепь включения лампы красного огня на светофоре 3 по основной нити накала с контролем горения лампы огневым реле О. При выключенном

реле Ж2 цепь тока накала красной лампы проходит через нижнюю низкоомную обмотку реле О, что обеспечивает горение лампы. Цепь тока дополнительной нити накаливания лампы проходит через верхнюю высокоомную обмотку реле ОД, чем контролируется целость нити лампы в холодном состоянии.
После включения красного огня на светофоре 3 образуется цепь кодирования кодом КЖ рельсовой цепи 5П:
В режиме кода КЖ работает реле ЛТ в блоке БИ и трансмиттерное реле Т. Переключая свой контакт в цепи трансформатора П, реле Т передает код КЖ в рельсовую цепь 5П.
В случае перегорания основной и дополнительной нитей накаливания лампы красного огня выключаются реле О и ОД. Контактами этих реле размыкается цепь кодирования, что приводит к переносу красного огня на позади стоящий светофор.
При приеме кода КЖ на сигнальной установке 5 в режиме этого кода работает реле И. Импульсная работа реле И расшифровывается дешифратором, и через его выход 42 (БС) срабатывает реле Ж. Через выход . 71 (БС) и фронтовой контакт реле Ж срабатывает реле Ж/, после чего срабатывают повторители реле Ж2 и ЖЗ. По цепи, проходящей через фронтовой контакт реле Ж2 тыловой контакт реле 3, на светофоре 5 включается лампа желтого огня. После включения желтого огня на светофоре 5 образуется цепь кодирования кодом Ж рельсовой цепи 7П:
В режиме кода Ж работает реле ПТ в блоке БИ и трансмиттерное реле Т. Переключая свой контакт в цепи трансформатора П, реле Т передает код Ж в рельсовую цепь 7П. В случае перегорания лампы желтого огня светофора 5 кодирование рельсовой цепи 7/7 не изменяется. В нее поступает код Ж—светофор погасший.
При приеме кода Ж на сигнальной установке 7 в режиме этого кода работает реле И. Импульсная работа реле И расшифровывается дешифратором. Через образовавшиеся выходы дешифратора срабатывают сигнальные реле: через выход 42 (БС) — реле Ж; через выход 71 (БС) — реле Ж1; через выход 41 (БС) — реле З. После этого срабатывают реле-повторители Ж2 и ЖЗ, По цепи, проходящей через фронтовые контакты реле 3 и Ж2, на светофоре 7 включается лампа зеленого огня. После включения зеленого огня на светофоре 7 образуется цепь кодирования кодом 3 рельсовой цепи 9П:
В случае перегорания лампы зеленого огня светофор 7 остается погасшим. Кодирование рельсовой цепи 9П кодом 3 не изменяется, и на позади стоящем светофоре продолжает гореть зеленый огонь.

Кодовая РЦ переменного тока 25 Гц для перегонов.
Работа автоблокировки при переходе на двустороннее движение.
Для перехода на двустороннее движение каждая сигнальная установка имеет дополнительные реле Н, ПН, ДТ, ПДТ, ОИ, ИП и ИП1, а также настроечные перемычки .
Переключают схемы на правильное и неправильное направление движения с помощью двухпроводной схемы изменения направления, в линейную цепь которой включены реле Н. Правильное направление движения устанавливают путем возбуждения реле Н током прямой полярности. При этом реле ПН остаются выключенными и действуют те же цепи, что и при одностороннем правильном направлении движения. Переход на неправильное направление движения осуществляют путем возбуждения реле Н током обратной полярности. Реле Н переключает поляризованный якорь и включает реле ПН. Тыловыми контактами реле ПН отключает цепи разрешающих огней светофоров и цепи кодирования кодами Ж и 3 для правильного направления движения, фронтовым контактом оно замыкает цепь кодирования всех блок-участков кодом КЖ в сторону правильного движения.
Реле ПН включает цепи известительных реле ИП. При свободном состоянии блок-участков каждая рельсовая цепь кодируется кодом КЖ, так как реле Т включено через контакт КЖ (КПТШ). Путем дешифрирования кода КЖ на всех сигнальных установках возбуждены реле Ж, Ж1 и Ж2, чем контролируется свободность рельсовых цепей. С момента вступления поезда, идущего в неправильном направлении, на участок 3П у светофора 3 прекращается прием кода КЖ. Выключаются цепи дешифратора и обесточиваются реле Ж, Ж/ и Ж2. Через тыловые контакты реле Я и Ж возбуждается реле 0И, которое включает цепи кодирования в неправильном направлении движения. Значность кода в зависимости от числа свободных блок-участков, начиная от светофора 3, выбирает реле ИП.
При свободном состоянии не менее двух блок-участков реле ИП возбуждено током прямой полярности. Через нормальный контакт поляризованного якоря реле ИП замыкается цепь кодирования, проходящая через контакт 3 (КПТШ). Реле ДТ и ПДТ, работая в режиме кода 3, передают этот код в рельсовую цепь ЗП,
При свободном состоянии одного блок-участка реле ИП возбуждено током обратной полярности. Через переведенный контакт поляризованного якоря реле ИП замыкается цепь кодирования, проходящая через контакт Ж (КПТШ). Реле ДТ и ПДТ, работая в режиме кода Ж, передают этот код в рельсовую цепь ЗП.
При занятом состоянии блок-участка 5П прекращается кодирование кодом КЖ У светофора 5. Выключаются реле Ж, Ж1 и Ж2. Контактами реле Ж2 размыкается цепь И-ОИ и выключается реле ИП у светофора 3. Тыловым контактом реле ИП замыкается цепь кодирования, проходящая через контакт КЖ (КПТШ). Реле ДТ и ПДТ, работая в режиме кода КЖ, передают этот код в рельсовую цепь ЗП.
В случае выхода поезда на занятый блок-участок прием кодов на локомотиве прекращается и на ЛС загорается красный огонь.
Выключение кодирования происходит после полного освобождения рельсовой цепи. При освобождении, например, рельсовой цепи 5П сначала в рельсовую цепь одновременно с обоих концов поступают коды КЖ, Однако за счет чередования типов трансмиттеров КПТ на сигнальных установках трансмиттерное реле Т у светофора 3 и реле ДТ у светофора 5 работают асинхронно. У светофора 5 в интервале кода КЖ, посылаемого с релейного конца, периодически возбуждается от кода КЖ, посылаемого считающего конца, реле И. По истечении 2—3 с через дешифрирующие цепи включаются реле Ж, Ж1 и Ж2 и выключается реле ОИ, Последнее, отпуская якорь, выключает цепи кодирования, в которые включены реле ДТ и ПДТ. Кодирование с релейного конца прекращается. Кодирование кодом КЖ с питающего конца продолжается, чем контролируется свободное состояние рельсовой цепи.
Работа генератора ГКШ на сигнальных установках и передаваемые им на станцию контрольные коды.
На каждой сигнальной установке двухпутной трехзначной автоблокировки переменного тока генератор ГКШ подключают к линии ДСН Управляют работой ГКШ в сигнальных установках автоблокировки (см. рис. 4) контакты реле: О и ОД — контролируют целость и перегорание основной и дополнительной нитей накала лампы красного огня; А и А1 - контролируют отсутствие соответственно основного и резервного питания переменным током; ДСН - контролируют неисправности цепи двойного снижения напряжения; Ж1 и ОИ — контролируют неисправности работы дешифратора.
При свободном состоянии блок- участка и отсутствии неисправностей фронтовыми контактами перечисленных контрольных реле образуется перемычка между выводами 53-61. Генератор ГКШ посылает в линию непрерывный контрольный код. При приеме этого кода на станции выключается контрольная лампочка на табло дежурного.
Если блок-участок занят, реле Ж1 обесточено, реле ОИ возбуждено. Цепь питания ГКШ размыкается, контрольный код в линию не подается. На табло дежурного горит непрерывным светом контрольная лампочка.
В случае неисправности схемы дешифрации реле Ж1 не возбуждается, реле ОИ работает как обратный повторитель реле И в режиме кодов КЖ, Ж и 3, поступающих из рельсовой цепи по мере удаления поезда от данной сигнальной установки. В линию посылаются контрольные коды, соответствующие обратным кодам АЛС. По горению контрольной лампочки на табло дежурный определяет характер повреждения.
При освобождении блок-участка реле И и ОИ работают в импульсном режиме. Генератор выдает контрольный код, соответствующий режиму работы реле ОИ. По истечении 3— 4 с после начала импульсной работы реле И и ОИ возбуждается реле Ж1 и фронтовым контактом замыкает цепь непрерывного питания генератора. В линию начинает поступать непрерывный контрольный код свободности блок-участка.
Если перегорает основная или дополнительная нить лампы красного огня, то тыловыми контактами реле О (ОД) замыкаются перемычки между выводами 53-31 и 43-41.В линию посылается контрольный код, состоящий из импульсов длительностью 0,3 с и интервалов 1 с. Неисправность лампы красного огня контролируется как при свободном, так и при занятом блок-участке.
При отсутствии основного питания обесточивается реле At
тыловым контактом которого замыкается перемычка между выводами 53-31 ГКШ. В линию посылается контрольный код, состоящий из импульсов и интервалов длительностью 1 с. Отсутствие резервного питания фиксируется выключением реле А1, через тыловые контакты которого замыкаются перемычки между выводами 53-31 и 43-42. В линию посылается контрольный код, состоящий из импульсов длительностью 1 с и интервалов 0,3 с. В случае неисправности цепи двойного снижения напряжения обесточивается реле ДСН. Его тыловыми контактами замыкаются перемычки между выводами 53-31 и 43-41. В линию посылается такой же контрольный код, как и при перегорании нити лампы красного огня: импульс 0,3 с, интервал 1 с. Цепь ДСН контролируется при свободном и занятом состояниях блок-участка.

Рис 4.Схема включения генератора ГКШ
Особенности схем сигнальных Ж, З, ЗС, трансмиттерного Т и огневых реле О, РО на предвходной сигнальной установке.
Предвходной светофор имеет дополнительное показание в виде желтого мигающего огня, управление этим сигналом осуществляется по цепи ЗС-ОЗС, в которую включено реле ЗС. На станции в эту цепь включено известительное реле приближения Н2ИП, служащее для контроля второго участка приближения. По цепи извещения И1-ОИ1, в которую включен известитель приближения НИП, контролируется приближение поезда.
В схему огней включено дополнительное огневое реле РО типа АОШ2-180/0,45, контролирующее горение желтого или зеленого огня. Применение этого реле, а также реле КМ позволяет в случае прекращения мигания или повреждения лампы светофора подать в рельсовую цепь код Ж, свидетельствующий о горении желтого огня, менее разрешающего, чем желтый или зеленый мигающие огни.
Реле О проверяет исправность лампы красного огня. При этом последовательно с не горящей лампой включается высокоомная обмотка реле, а с горящей – низкоомная.
Контактами реле Ж и З осуществляется выбор огней на светофоре. Если оба реле Ж и З находятся под током, то на светофоре будет гореть зеленый огонь, если под током будет только одно реле Ж, то гореть будет желтый огонь, и если оба реле обесточены, то гореть будет красный огонь.
- При горении на светофоре Н красного огня в рельсовую цепь, со стороны станции посылается код КЖ. У предвходного светофора в режиме этого кода работает реле И; через дешифратор последовательно возбуждаются реле Ж, Ж1, Ж2 и Ж3. На светофоре 1 через фронтовой контакт реле Ж2 и тыловой контакт ЗС включается лампа желтого огня.
- При горении на светофоре Н двух желтых огней в рельсовую цепь со станции посылается код Ж. У светофора 1 через дешифратор возбуждаются реле Ж, Ж1, Ж2, Ж3 и З. Фронтовыми контактами реле Ж1 и З замыкается цепь мигающего реле М. Реле М работает с частотой около 40 периодов в минуту. Для получения замедления на отпускание якоря реле М одна из его обмоток шунтируется собственным контактом. Благодаря этому через конденсаторный дешифратор включается реле КМ, которое и контролирует мигание. Реле М, переключая контакт в цепи ламп светофора, включает последовательно или низкоомную обмотку реле РО, и лампа загорается, или высокоомную обмотку реле РО, и лампа гаснет.
- При горении на светофоре Н зеленого огня в рельсовую цепь посылается код З, а у светофора 1 через дешифратор возбуждаются реле Ж, Ж1, Ж2 и Ж3. Фронтовыми контактами реле Ж2 и ЗС загорается лампа зеленого огня.
Кодовые сигналы вырабатываются кодовыми трансмиттерами типа КПТШ. Подача кодов в рельсовую цепь осуществляется контактом трансмиттерного реле Т, являющегося повторителем контактов трансмиттера.

11 . Электрические схемы переездной сигнализации
Для образования участка приближения рельсовую цепь блок-участка, на котором расположен переезд, делают разрезной с местом разреза у переезда. В месте разреза рельсовой цепи предусматривается трансляция кодов, как при правильном, так и при неправильном направлении движения. Особенностью кодовой рельсовой цепи является то, что ее релейный конец размещают на входном конце блок-участка, а питающий — на выходном. При таком размещении на переезде отсутствует путевое реле, фиксирующее освобождение переезда. Чтобы контролировать освобождение переезда, на сигнальной установке, находящейся перед переездом, с момента ее проследования поездом автоматически переключаются релейный и питающий концы рельсовой цепи. После этого осуществляется подача кода КЖ вслед удаляющемуся поезду. После освобождения рельсовой цепи участка приближения код КЖ воспринимается на переезде релейной аппаратурой и переезд открывается.
Для извещения о приближении поезда к переезду за два участка приближения применяют отдельную двухпроводную цепь, в которую включают известительное реле. Информацию о состоянии переездной установки на станцию передают устройства диспетчерского контроля.
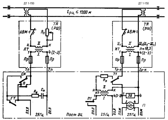
Схема управления переездной сигнализацией для нечетного пути двухпутного перегона показана на рис. 5
В пределах блок-участка, на котором расположен переезд, образованы две рельсовые цепи: 5П с питающим концом НП на переезде и 5Па с релейным концом HP на переезде.
Если переезд расположен относительно светофора 5 на расстоянии, равном расчетной длине участка приближения, то закрытие переезда происходит за один участок приближения при вступлении поезда на рельсовую цепь 5П. Реле НИП на переезде, включенное в цепь извещения И 1-ОИ1, в этом случае выключается фронтовыми контактами реле Ж2 сигнальной установки 5. Отпуская нейтральный якорь, реле НИП выключает реле НИП1, после чего выключается реле НВ, В и переезд закрывается.
Если расстояние от переезда до светофора 5 меньше расчетной длины участка приближения, то переезд закрывается за два участка приближения при вступлении поезда на рельсовую цепь 7П. В этом случае реле НИП по цепи извещения получает питание через контакты реле ИП1 и реле Ж2 светофора 5. В цепь реле НИШ включены контакты нейтрального и поляризованного якорей реле НИП. Выключение реле НИП1 производится контактом поляризованного якоря реле НИП. Состояние цепи полной схемы соответствует установленному правильному направлению движения по нечетному пути перегона, отсутствию поезда на участке приближения и открытому состоянию переезда. Для работы кодовой автоблокировки разрезная рельсовая цепь участка 5П кодируется от светофора 3. Код соответствует сигнальному показанию светофора 3. На переезде от кодовых импульсов работает реле НИ, его работу повторяет реле-повторитель НТ, Переключая свой контакт, реле НТ приводит в возбужденное состояние путевое реле НП, которое проверяет свободное состояние участка 5Па. Через фронтовой контакт реле НП возбуждается его повторитель реле НПТ. Фронтовыми контактами реле НПТ замыкается цепь кодирования рельсовой цепи 5П. Работая в кодовом режиме и переключая свой контакт в цепи трансформатора П, реле НТ транслирует кодовые импульсы в рельсовую цепь 5П. При приеме кодов у светофора 5 работает реле И, после дешифрации кода возбуждаются сигнальные реле Ж, Ж1 и Ж2, контролирующие свободность участка 5П. Порядок закрытия переезда за один участок приближения следующий. При вступлении поезда на участок 5П прекращается прием кодов у светофора 5 и выключаются реле Ж, Ж1 и Ж2. Контактами реле Ж2 выключается реле НИП на переезде. Отпуская якорь, реле НИП выключает свой повторитель реле ПНИП и одновременно размыкает цепи питания реле НИП1 и НКТ. Реле НИП1 выключает реле НВ, которое, отпуская якорь, закрывает переезд.
При выключении реле ПНИП производятся следующие переключения цепей: включается цепь реле НИ1, которое начинает работать как повторитель реле НИ; выключается реле НП из цепи проверки импульсной работы реле НТ и подключается к цепи конденсаторного дешифратора для проверки импульсной работы реле НИ1. При правильной работе реле НИ1 реле НП и НПТ остаются в возбужденном состоянии, чем контролируется свободность участка 5Па.
Порядок закрытия переезда за два участка приближения следующий. От вступления поезда на второй участок приближения 7П у светофора 5 выключаются реле ИП и ИП1. Последнее, отпуская якорь, меняет полярность тока возбуждения реле НИП на переезде в цепи И1-ОИ1. Переключая контакт поляризованного якоря, реле НИП выключает реле НИП1 и НКТ, после чего в том же порядке, как и при извещении за один участок приближения, выключается реле НВ и происходит закрытие переезда.
Так же как в схеме управления переездной сигнализацией при двухпутной автоблокировке постоянного тока, в данной схеме с помощью реле НИП1 и НКТ выполнена защита от ложного открытия переезда при потере шунта под поездом, движущимся по участку приближения.
Переезд открывается после проследования поездом участка 5П в следующем порядке. На переезде размещен питающий конец рельсовой цепи 5П, а путевого реле, которое могло бы фиксировать освобождение участкаприближения и своевременно открывать переезд, нет. Поэтому контроль освобождения участка приближения перед переездом осуществляется путем кодирования рельсовой цепи 5П вслед движущемуся поезду с ее релейного конца. Кодирование вслед поезду начинается с момента вступления поезда на участок приближения 5П. У светофора 5 через тыловые контакты реле И и Ж1 включается реле OИ, которое замыкает следующие цепи кодирования:
Работая в режиме кода КЖ, реле ПДТ к ДТ посылают этот код в рельсовую цепь 5П вслед уходящему поезду,
С момента выхода головы поезда на рельсовую цепь 5Па на переезде прекращается импульсная работа реле НИ, НИ1 и НТ. Выключаются реле НП к НПТ, которые отключают цепи трансляции кодов в рельсовую цепь 5П. Тыловыми контактами реле НПТ в рельсовую цепь 5П включается реле НДИ, Сразу после освобождения рельсовой цепи 5П реле НДИ начинает работать в режиме кода КЖ, поступающего от светофора 5. Через контакт реле НДИ работает реле НДИ1. Через конденсаторный дешифратор возбуждается реле НДП, фиксируя освобождение переезда. Через фронтовой контакт реле НДП замыкается цепь термоэлемента НКТ, а после его нагрева с установленной выдержкой времени — цепи последовательного срабатывания реле НКТ и НИП1. Фронтовым контактом реле НИП1 включается реле НВ, которое открывает переезд. В течение всего времени движения поезда по участку 5Па рельсовая цепь 5П кодируется кодом КЖ от светофора 5.
После полного освобождения участка 5Па от светофора 3 в рельсовую цепь этого участка подается код КЖ. От этого кода на переезде работают реле НИ и НИ1. При импульсной работе этих реле через конденсаторный дешифратор срабатывает реле НП, а вслед за ним реле НПТ Последнее, притягивая якорь, переключает релейный конец рельсовой цепи 5П на питающий. Тыловыми контактами реле НПТ отключает от рельсовой цепи реле ИДИ, а фронтовыми подключает источник питания. Одновременно фронтовым контактом реле НПТ включается цепь реле НТ, которое работает как повторитель реле НИ в режиме кода КЖ. Переключая контакт в цепи трансформатора П, реле НТ транслирует код КЖ в рельсовую цепь 5П. Некоторое время с обоих концов рельсовой цепи 5П поступают коды КЖ, вырабатываемые трансмиттерами КПТ разных типов. В интервале кода КЖ, подаваемого с релейного конца, от кода КЖ, подаваемого с питающего конца, у светофора 5 работает реле И. Через дешифратор возбуждаются реле Ж, Ж1 и Ж2. Реле Ж1, размыкая тыловой контакт, выключает реле ОИ. Последнее размыкает цепи кодирования у светофора 5 и с релейного конца рельсовой цепи 5П прекращается трансляция кодов. Из рельсовой цепи 5Па продолжается кодирование рельсовой цепи 5П с ее питающего конца. Фронтовыми контактами реле Ж2 замыкается цепь извещения, на переезде возбуждаются реле НИП и ПНИП и все цепи управления переездной сигнализацией возвращаются в исходное состояние.
В схеме предусмотрена защита от возможного кратковременного закрытия переезда при полном освобождении блок-участка 5Па. При этом на переезде возобновляется работа реле НИ и НИ1. Возбуждаются реле НП и НПТ. Затем прекращается импульсная работа реле ИДИ, НДИ1 и выключается реле НДП. Чтобы не произошло закрытия переезда, реле НДП не должно отпустить якорь раньше, чем сработает реле НИП и замкнет контакты нейтрального и поляризованного якорей в цепи питания реле НИП1. Для этого нужно, чтобы время на отпускание якоря реле НДП было больше, чем интервал времени с момента прекращения импульсной работы реле НДИ1 до момента срабатывания реле НИП. Если это условие не будет выполнено, то переезд кратковременно закроется, а затем после выдержки времени термоэлемента вновь откроется. Чтобы увеличить время замедления на отпускание якоря реле НДП, в цепи конденсаторного дешифратора контакты реле ИДИ1 включены так, что конденсатор емкостью 1200 мкФ получает заряд при импульсе кода в рельсовой цепи, а в интервале разряжается на реле НДП и конденсатор емкостью 500 мкФ. В цепи конденсаторного дешифратора, к которому подключено реле НП, контакты реле НИ1 включены обратно, что обеспечивает минимальное замедление на отпускание якоря этого реле. Для переключения на неправильное направление движения настраивают цепи схемы изменения направления движения, в которые включены реле направления Н. Путем возбуждения этих реле током обратной полярности устанавливают неправильное направление движения по перегону. При переключении поляризованных якорей реле Н на каждой сигнальной установке перегона срабатывают реле ПН, которые осуществляют все необходимые переключения в цепях кодирования рельсовых цепей. На сигнальной установке 3 замыкается цепь кодирования кодом КЖ:
 |
Постоянно работая в режиме кода КЖ, реле Т подает этот код в рельсовую цепь 5Па. На переезде от импульсов кода работают реле НИ и НИ1. По цепям конденсаторного дешифратора возбуждается реле НП и вслед за ним реле НПТ. После этого в режиме кода КЖ начинает работать реле НТ, которое передает этот код в рельсовую цепь 5П. У светофора 5 в режиме кода КЖ работает реле И. По цепям дешифратора возбуждаются реле Ж, Ж1 и Ж2. Фронтовыми контактами реле Ж2 замыкается цепь извещения И1-ОИ1, по которой на переезде возбуждается реле НИП и вслед за ним реле НИП1, НКТ и НВ — переезд открыт.
При вступлении поезда на рельсовую цепь 5Па переездная сигнализация автоматически не включается. На переезде выключаются реле НИ и НТ. Прекращается трансляция кода КЖ в рельсовую цепь 5П. У светофора 5 прекращается импульсная работа реле И, отчего выключаются реле Ж, Ж1 и Ж2. Через тыловые контакты реле И и Ж1 включается реле ОИ, которое замыкает цепь кодирования рельсовой цепи 5П с ее релейного конца. Значность кода выбирается контактами реле ИП в зависимости от числа свободных блок-участков. Если свободно не менее двух блок-участков, то у светофора 5 замыкается цепь кодирования кодом 3:
 |
Работая в режиме кода 3, реле ДТ передает этот код в рельсовую цепь 5П. На переезде код 3 принимает реле ИДИ и включает свой повторитель реле НДТ, который транслирует этот код в рельсовую цепь 5Па. При импульсной работе реле ИДИ и его повторителя НДИ1 через конденсаторный дешифратор возбуждается реле НДП, которое замыкает свой фронтовой контакт в цепи реле НИП1. У светофора 5 после выдержки времени на замедление отпускает якорь реле Ж2 и фронтовыми контактами выключает на переезде реле НИП. Последнее отпускает нейтральный якорь и фронтовым контактом размыкает цепь питания реле НИП1, Однако это реле остается включенным через ранее замкнувшийся контакт реле ИДП и не отпускает свой якорь.
С момента вступления поезда на рельсовую цепь 5П прекращается импульсная работа реле НДИ и последовательно выключаются реле ИДИ1, НДП, НИП1,НКТ и НВ, чем создается, кроме цепи ручного, еще и цепь автоматического закрытия переезда.
После полного освобождения поездом участка 5Па на переезде от кода КЖ восстанавливается импульсная работа реле НИ и НИ1. Включаются реле НП и НПТ, после этого в режиме кода КЖ начинает работать реле НТ и транслировать этот код в рельсовую цепь 5П вслед удаляющемуся поезду. С момента .полного освобождения рельсовой цепи 5П с обоих ее концов асинхронно подаются коды КЖ, вырабатываемые трансмиттерами разных типов. В интервале кода КЖ, посылаемого с релейного конца, от кода КЖ, посылаемого с питающего конца, у светофора 5 работает реле И и через 2—3 с через дешифратор включаются реле Ж, Ж1 и Ж2. Тыловым контактом реле Ж1 выключается реле ОИ. Последнее, отпуская якорь, размыкает цепи кодирования рельсовой цепи 5П с ее релейного конца. Кодирование с питающего конца рельсовой цепи 5П продолжается. Фронтовыми контактами реле Ж2 замыкается цепь извещения, по которой возбуждается реле . НИП на переезде. Притягивая якорь, реле НИП включает, реле НИП1, после чего срабатывают реле НВ и В, которые открывают переезд.
Схема светофорной сигнализации (рис 6). Огни переездных светофоров и звонки включают включающее реле В и его повторитель реле ПВ. Мигающая сигнализация переездных светофоров создается с помощью датчика импульсов ДИМ 1-1 (работающего в постоянном режиме) и комплекта мигающих реле М, КМ, КМК и ПКМ.
При отсутствии поезда на участке приближения реле В, ПВ, ПВ1(повторитель реле ПВ)находятся под током ,переезд открыт .

Исправность сигнальных ламп переездных светофоров контролируют огневые реле АО1,АО2,БО1,БО2,АБО,ББО. Каждое огневое реле поверяет исправность лампы как в холодном состоянии так и при горении. если переезд открыт и исправны лампы переездных светофоров, то огневые реле получают питание по двум обмоткам соединенным последовательно. Работая в постоянном режиме датчик импульсов ДИ мигающий полюс на обмотку реле МБО через фронтовые контакты реле ПВ1, КМК. МБО работая в импульсном режиме ставит под ток реле КМ с помощью конденсаторного дешифратора. Притягивая свой якорь КМ через фронтовой контакт реле ПВ ставит под ток реле КМК.
С момента вступления поезда на участок приближения последовательно выключаются реле НВ (ЧВ), В, ПВ. Через тыловой контакт ПВ1 подключается мигающий полюс к обмотке реле М1, которое работая в импульсном режиме своим тыловым контактом включает свой обратный повторитель реле М2. Обесточиваясь реле ПВ, создает цепь питания реле ПКМ через свой тыловой контакт и фронтовой КМ. ПКМ притягивая якорь, переключает цепь питания реле КМК, которое пока удерживало якорь за счет замедления на отпадание. Цепь питания реле МБО переходит на другую – через контакт импульсно работающего реле М2. Через тыловые контакты реле ПВ,ПВ1, фронтовые ПКМ и импульсно работающие М1,М2 создаются цепи питания ламп переездной сигнализации (в импульсе через низкоомную обмотку огневого реле ,а в интервале через обе обмотки соединенные последовательно).
При свободном переезде на светофорах переездной сигнализации горит белый мигающий огонь, контролирующий целостность всех ламп на переезде, работу комплекта мигания, свободность переезда, наличие основного питания, и состояние аккумуляторной батареи
Работа устройств переездной сигнализации при коротком замыкании изолирующих стыков на переезде в свободном состоянии перегона.
Для защиты от этого явления применяется два реле ЧИ и ЧДИ для четного направления и НИ и НДИ для нечетного направления, которые включены по взаимоисключающей схеме. Каждое из этих реле может работать только от своего трансмиттера, что и обеспечивается включением трансмиттеров разного типа (КПТШ-515 и КПТШ-715).
Включение ГКШ на переезде
Схема включения ГКШ на переезде представлена на рис 7
В цепь питания ГКШ на переездной установке двухпутного перегона (рис. 9.7, а) включены контакты огневых реле АО и БО, контролирующих исправность светофорных ламп, реле двойного снижения напряжения ДСН, реле контроля неисправности комплекта мигающих устройств КМК, реле фиксации занятости участка приближения ПВ, аварийных реле А и А1(контроль основного и резервного питания переменным током), реле РК контроля неисправности конденсаторного блока.
При свободном участке приближения, открытом переезде и исправном состоянии всех контролируемых объектов замкнута перемычка между выводами 53-61, В линию поступает непрерывный частотный контрольный код. На табло дежурного лампочка не горит.
При занятии участка приближения .обесточивается реле ПВ и фронтовым контактом размыкает цепь питания генератора. Контрольный код в линию не поступает. Контрольная лампочка на табло дежурного горит непрерывным светом.

Рис 7 . схема включения ГКШ на переезде
В случае перегорания любой из ламп переездного светофора или обесточивания реле ДСН тыловыми контактами одного из реле АО, БО или ДСН1 замыкаются перемычки между выводами 53-31, 43-41 и 42-41. В линию посылается контрольный код, состоящий из импульсов и интервалов длительностью 0,3 с. Контроль перегорания ламп и обесточивания реле ДСН осуществляется независимо от состояния участка приближения.
Исправность работы комплекта мигающих реле М и КМ проверяет реле КМК. При исправной работе реле М и КМ реле КМК постоянно возбуждено. В случае нахождения поезда на участке приближения и неисправности комплекта мигания (например, реле М не работает в импульсном режиме) обесточивается реле КМ. Фронтовым контактом реле КМ выключается реле КМ К и не возбуждается до устранения повреждения. Путем включения тылового контакта реле КМК в цепь питания маятникового трансмиттера обеспечивается автоматическое возбуждение реле КМ К после устранения повреждения, когда на участке приближения нет поезда. При обесточенном состоянии реле КМК в линию подается контрольный код, содержащий импульсы длительностью 0,3 с и интервалы 1 с.
При выключении основного или резервного питания обесточиваются реле А и А1. Тыловыми контактами этих реле создается перемычка между выводами 53-31. В линию посылается контрольный код с импульсами и интервалами длительностью 1 с.
Если из-за неисправности конденсаторного блока не возбуждается реле И после проследования поезда по переезду, то реле ПК по мере удаления поезда от переезда работает как повторитель реле И в режиме кодов КЖ, Ж и 3. Генератор посылает, в линию контрольные коды, соответствующие кодам АЛС. По режиму горения контрольной лампочки на табло дежурный определяет характер повреждения.
12. Расчет мощности сигнальных и переездных установок
В связи с тем, что применены кодовые рельсовые цепи 25 Гц и переездная светофорная сигнализация, я использую следующие данные:
Таблица 12.1 – Постоянные и технологические нагрузки на линейный трансформатор от оборудования кодовой автоблокировки переменного тока 25 Гц.
| Наименование нагрузок |
Потребляемая мощность |
| Р, вт |
Q, вар |
S, ВА |
Дешифратор автоблокировки типа ДА с учетом подогрева
Кодовый трансмиттер типа КПТШ
Светофорная лампа
Генератор диспетчерского контроля типа ГКШ
Блок питания типа БПШ
Аварийные реле типа АСШ2-220
Потери в трансформаторе типа СОБС-2А
Обогрев шкафа с учетом потерь в трансформаторе
типа СОБС-2А
Освещение шкафа и переносная лампа
Электропаяльник
|
31,7
22,0
15,0
2,0
22,0
7,0
6,6
53,7
90,0
90,0
|
14,8
-
-
-
10,0
-
6,3
6,0
-
-
|
35,0
22,0
15,0
2,0
24,2
7,0
9,1
54,0
90,0
90,0
|
Таблица 12.2 – Постоянные и технологические нагрузки на переездные установки на участках с кодовой автоблокировкой.
| Наименование нагрузок |
Максимальная длительная мощность |
| Р, вт |
Q, вар |
| 1. Автоматическая переездная сигнализация |
Лампы переездных светофоров
Аварийное реле типа АСШ2-12
Потери в трансформаторе типа СОБС-2А
Аварийное реле типа АСШ2-220
РТА в совокупности с потерями в трансформаторе типа ПОБС-2А
Сигнальный выпрямитель ВАК-13Б
Блок питания типа БПШ
Освещение двух релейных шкафов и переносная лампа
Электропаяльник
|
30,0
10,5
10,3
7,0
262,0
8,0
7,2
165,0
90,0
|
-
-
6,3
-
51,3
18,0
9,0
-
-
|
Таблица 12.3 – Расчетная мощность кодовых рельсовых цепей 25 Гц, потребляемая от ПЧ-50/25.
| Длина рельсовой цепи, м |
Мощность занятой кодовой РЦ при кодировании с |
| питающего конца |
релейного конца |
| P, Вт |
Q, вар |
S, ВА |
P, Вт |
Q, вар |
S, ВА |
До 500
501-1000
1001-1500
1501-2000
2001-2250
2251-2500
|
6
14
29
59
83
116
|
0,5
1
2
4
6
8
|
6
14
29
59
83
116
|
5
12
26
53
75
106
|
0,5
1
2
4
6
9
|
5
12
26
53
76
106
|
Таблица 12.4 – Расчетная мощность нагрузки ПЧ-50/25 на линейный трансформатор 50 Гц.
Нагрузка РЦ 25 Гц
на ПЧ –50/25
|
Нагрузка ПЧ на линейный трансформатор 50 Гц |
| P, Вт |
Q, вар |
S, ВА |
0 (холостой ход)
20
40
60
80
100
120
|
40
65
85
110
130
160
185
|
175
176
177
180
200
220
245
|
160
190
200
210
240
270
306
|
Максимальную активную и реактивную составляющие мощности нагрузок сигнальной  или переездной установок определяю по формулам:


где: - активная и реактивная составляющие мощности i – го потребителя постоянных и технологических нагрузок релейных шкафов;
– число постоянных и технологических нагрузок установки;
- активная и реактивная составляющие мощности ПЧ на сигнальной (переездной) установке, потребляемой от линейного трансформатора;
- количество расчетных РЦ на установке;
- коэффициент усреднения мощности кодовой рельсовой цепи ( = 0,58)
Полную мощность нагрузок сигнальной (переездной) установки определяю по формуле:

При передаче электроэнергии от линейного трансформатора к оборудованию сигнальной (переездной) установки активные потери в кабеле определяю по формуле:

Полная мощность нагрузки линейного трансформатора составляет:

По полученному значению определяю мощность линейного трансформатора. Если полученное значение мощности больше мощности трансформатора, то определяю коэффициент перегрузки по формуле:

При расчете мощностей постоянных и технологических нагрузок в релейных шкафах руководствуюсь следующими предпосылками:
- на одиночных сигнальных установках стоящих в створе паяльник и освещение одновременно в обоих шкафах не включаются;
- на сигнальных и переездных установках, при включении в релейном шкафу освещения, обогрев шкафа выключается;
- на переездных (с двумя шкафами) установках учитываю одновременное освещение обоих шкафов с включением одной переносной лампы и одного электропаяльника.
Тогда с учетом выше изложенного для сигнальных точек 1,6 получаем:
Pрцmax1,6
= 300Вт,
Qрцmax1,6
=706 вар,
Pnm1
=160 Вт, Qnm1
=37.1 вар, = 0,58,
Pnm6
=286,3 Вт, Qnm6
=31.1 вар,
Pnm1,6
= Pnm1
+ Pnm6
=286,3+160=446,3 Вт,
Qnm1,6
= Qnm1
+Qnm6
=37.1+31.1=68,2 вар,
Pc(1,6)
=446,3+300*0.58=620,3 (Вт),
Qc(1,6)
=68,2+706*0.58=477,68 (вар),
Sc(1,6)
= 620,3 2
+477,682
=782.911 (ВА),
DPk
=620,3 *0.03=18,61 (Вт)
Sом(1,6)
= (620,3+18,61 ) 2
+477,682
= 797.737 (ВА),
Т.к. по расчетам Sом(1
,6
)
=0.797кВт, то для питания сигнальных установок 1,6 выбираю трансформатор со стандартным значением мощности 1,25 кВт.
Для сигнальных точек 3,4 получаем:
Pрцmax3,4
= 535Вт,
Qрцmax3,4
=805 вар,
Pnm3
=160 Вт, Qnm3
=37.1 вар, = 0,58,
Pnm4
=286,3 Вт, Qnm4
=31.1 вар,
Pnm3,4
= Pnm3
+ Pnm4
=286,3+160=446,3 Вт,
Qnm3,4
= Qnm3
+Qnm4
=37.1+31.1=68,2 вар,
Pc(3,4)
=446,3+535*0.58=756,6 (Вт),
Qc(3,4)
=68,2+805*0.58=535,1 (вар),
Sc(3,4)
= 756,6 2
+535,12
=926,7 (ВА),
DPk
=756,6 *0.03=22,7 (Вт)
Sом(3,4)
= (756,6+22,7 ) 2
+535,12
= 945,325 (ВА),
Т.к. по расчетам Sом(3,4)
=0,945кВт, то для питания сигнальных установок 3,4 выбираю трансформатор со стандартным значением мощности 1,25 кВт.
Для 2-й сигнальной установки получаем Pрцmax2
=245 Вт,
Qрцmax2
=397 вар,
Pnm2
=286,3 Вт, Qnm2
=37.1 вар, = 0,58,
Pc(2)
=286,3+245*0.58=428,4(Вт),
Qc(2)
=37.1+397*0.58=267,36(вар),
Sc(2)
= 428,42
+267,362
= 504,9(ВА),
DPk
=428,4*0.03=12,85(Вт)
Sом(2)
=515,9(ВА),
Т.к. 0.516кВт не превышает значение 0.63кВт, для питания сигнальной установки 2 выбираю трансформатор со стандартным значением мощности 0,63 кВт.
Для 5-й сигнальной установки получаем Pрцmax5
=250 Вт,
Qрцmax5
=421 вар,
Pnm5
=286,3 Вт, Qnm5
=37.1 вар, = 0,58,
Pc(5)
=286,3+250*0.58=431,3 (Вт),
Qc(5)
=37.1+421*0.58=281,28(вар),
Sc(5)
= 431,32
+281,282
=514,915(ВА),
DPk
=431,3*0.03=12,939(Вт)
Sом(5)
=525,8 (ВА),
Т.к. 0.526кВт не превышает значение 0.63кВт, для питания сигнальной установки 5 выбираю трансформатор со стандартным значением мощности 0,63 кВт.
Расчет питающей установки переезда
Pnmпер
=590 Вт, Qnmпер
=84.6 вар,
Pрцmax
=150 Вт Qрцmax
=255 вар,
Рпер = Pnmпер
+ Pрцmax
=740 Вт
Qпер = Qnmпер
+ Qрцmax
=339,6
Sc(пер)
= 7402
+339,62
= 814,2(ВА),
DPk
=740*0.03=22,2(Вт),
Sом(ПЕР)
=834,43(ВА),
Т.к. Sом(ПЕР)
=0.834кВт, для питания переезда выбираю трансформатор со стандартным значением мощности 1,25 кВт.
13. Схемы рельсовых цепей на промежуточной станции
Схема станции представлена на рисунке 8а.
На станциях с электротягой переменного тока проектируют и строят непрерывные рельсовые цепи переменного тока частотой 25 Гц с фазочувствительными путевыми реле типа ДСШ-13. Основной схемой станционных рельсовых цепей является схема двухниточной рельсовой цепи с двумя дроссель-трансформаторами и двусторонним наложением кодовых сигналов АЛС. На питающем и релейном концах установлены дроссельтрансформаторы типа ДТ-1-150 и трансформаторы типа ПРТ-А. Трансформатор ИТ на релейном конце согласовывает сопротивления аппаратуры и рельсовой линии, а путевой трансформатор ПТ на питающем конце питает рельсовую цепь. На релейном конце параллельно путевому элементу реле П типа ДСШ-13 включен защитный блок ЗБ типа ЗБ-ДСШ представляющий собой последовательный контур, настроенный на частоту тягового тока 50 Гц, т.е. фактически этот блок выполняет роль заграждающего фильтра путевого приемника П от помех тягового тока частотой 50 Гц.
На рисунке 8 показана неразветвленная рельсовая цепь, кодируемая кодами АЛСН как с питающего, так и с релейного концов, т.к. данная рельсовая цепь устанавливается на главных путях, где предусмотрен безостановочный пропуск поездов. А именно для путей – ЧДП, НП, НДП, ЧП, IП и IIП.

Рис.8 Неразветвленная рельсовая цепь частотой 25 Гц с двумя дроссель-трансформаторами и наложением сигналов АЛС частотой 50 Гц для участков НДП, НП, ЧДП, ЧП и путей IП и IIП.
На рисунке 9 показана неразветвленная рельсовая цепь, которая кодами АЛСН не кодируется потому, что она устанавливается на боковых путях 3П, 4П, 5П и 6П, 2/18П где безостановочный пропуск поездов не предусмотрен.

Рис. 9.
Неразветвленная рельсовая цепь частотой 25Гц без наложения сигналов АЛСН частотой 25Гц для участков 5П, 3П,6П,4П,2/18П
На рисунке 10 показана разветвленная рельсовая цепь для участка 2-6СП, 3-9СП,1-13СП. Данная цепь кодируется кодами АЛСН как с питающего, так и с релейного концов, потому что она устанавливается на главных путях. Следует сказать, что на съездах путевые реле не устанавливаются.
На рисунке 11 показана разветвленная рельсовая цепь для участка 16СП. Данная цепь кодируется кодами АЛСН как с питающего, так и с релейного концов, потому что она устанавливается на главных путях. Следует сказать, что на съездах путевые реле не устанавливаются.
На рисунке 12 показана разветвленная рельсовая цепь для участка 18-20СП,14-22СП. Кодами АЛСН оборудуются только главные пути, на боковых путях устанавливаются только путевые реле потому, что по ним не предусмотрен безостановочный пропуск поездов.

Рис.10.Разветвленная рельсовая цепь переменного тока частотой 25 Гц с наложением кодовых сигналов АЛС частотой 50 Гц для участка 2-6СП, 3-9СП,1-13СП.

Рис.11 Разветвленная рельсовая цепь с одним путевым реле и наложением кодовых сигналов АЛСН по главному пути, для участка 16СП,12СП.

Рис.12. Разветвленная рельсовая цепь с двумя путевыми реле, без наложения кодовых сигналов АЛСН, для участка 18-20СП,14-22СП.

Рис.13. Разветвленная рельсовая цепь с двумя релейными концами
без наложения кодирования для стрелочных секций:15СП,11СП.

Рис.14 Схема рельсовой цепи 4-10СП.
На рисунке 13 показана разветвленная рельсовая цепь с двумя релейными концами без наложения кодирования для стрелочных секций:15СП,11СП.
На рисунке 14 показана схема рельсовой цепи 4-10СП.
Фазирование источников питания
Схема фазирования показана на рис.15.
Особенностью питающих устройств станционных фазочувствительных РЦ переменного тока 25 Гц является использование разных преобразователей частоты для питания МЭ путевых реле и путевых и кодовых трансформаторов РЦ.
Все преобразователи частоты установленные на посту ЭЦ должны быть подключены к одной и той же фазе переменного тока 50 Гц.
В станционных фазочувствительных РЦ при электротяге переменного тока нормальная работа путевых реле обеспечивается за счет отставания выходного напряжения 25 Гц преобразователя ПП от выходного напряжения преобразователя ПМ на угол 90º, для чего преобразователи включаются в сеть переменного тока 50 Гц противофазно (рисунок 17). При таком включении преобразователей ПМ и ПП, генерируемые ими напряжения 25 Гц будут иметь фазный угол 90º или 270º, который контролируется фазочувствительными реле ПФ и, ОФ, ПЭ которых, соединены согласованно, подключены к преобразователю ПП, а МЭ, соединенные противофазно – к преобразователю ПМ. Если выходное напряжение преобразователя ПП будет отставать от напряжения преобразователя ПМ на угол 90º, то сработает реле ПФ и фронтовыми контактами замкнет цепь питания путевых и кодовых трансформаторов РЦ. Если же угол будет равен 270º, то сработает реле ОФ и фронтовыми контактами замкнет цепь питания путевых и кодовых трансформаторов РЦ от сдвинутого на 180º напряжения ПП, т.е. фазовый угол будет 90º.

Рис.15.Схема включения питающих устройств фазочувствительных рельсовых цепей 25Гц с реле ДСШ-13.
14. Схемы кодирования станционных путей и стрелочных участков
Схемы кодирования рельсовых цепей в маршруте приема четного направления показана на рисунке 16, а в маршруте четного отправления – на рисунке 17.

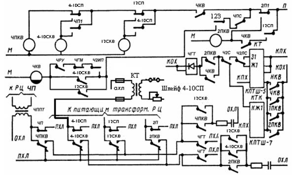
Рис.16. Схема кодирования р.ц. в маршруте приема на IIП.
На станции устройства АЛСН устанавливаются с целью повышения безопасности движения поездов. Это достигается тем, что машинист локомотива благодаря системе АЛСН может видеть состояние впереди стоящего светофора. Кроме того, система АЛСН позволяет исключить проезд поездом светофора с запрещающим показанием.

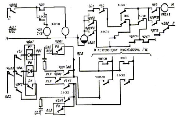
Рис.17 Схема кодирования р.ц. в маршруте отправления со 2-го пути.
В схеме кодирования маршрута приема применяются следующие реле:
ЧПКВ - служит для включения кодирования с питающего конца рельсовой линии участка НП в маршруте приема;
4-10СКВ и 12СКВ – служат для включения кодирования с питающего конца рельсовой линии стрелочных секций 4-10СП и 12СП, соответственно, в маршруте приема;
ЧКВ- групповое кодово-включающее реле для включения кодов АЛС в маршруте приема;
ЧГТ- трансмиттерное реле, непосредственно передающее коды в РЦ;
ЧРУ- трансмиттерное реле, непосредственно передающее коды в РЦ;
ЧГМ- контролирует маршрут приема на главный путь;
Ч1ИП- определяет занятие первого участка приближения к станции;
12З – проверяет замыкание последней секции маршрута приема;
ЧПС- проверяет, выключен ли пригласительный сигнал на входном светофоре;
2П1 – контролирует свободность главного пути IIП.
В схеме кодирования маршрута отправления применяются реле:
ЧОКВ- кодововключающее реле маршрута отправления,
ЧОИ1 импульсное реле, с помощью которого транслируются коды из участка удаления в стрелочные участки станции;
3-9СКВ, ЧДПСКВ- секционные и путевые кодововключающие реле, при вступлении поезда на секции 3-9СП, ЧДПСП.
9МК, 1/3МК, 5/7МК-контрольные реле минусового положения стрелок, участвующих в маршруте отправления со 2-го пути.
ЧДПЗ- реле контролирующее замыкание последней секции в маршруте отправления,
Ч2ПС- проверяет, выключен ли пригласительный сигнал на выходном светофоре;
Ч2С- проверяет открытое состояние выходного светофора;
Ч2УУ- проверяет свободность первого участка удаления;
2П1- контролирует занятость пути отправления IIП,
15.Увязка АБ с устройствами ЭЦ
Схема увязки автоблокировки с устройствами ЭЦ приведена на рис.18
В комплекс схем увязки автоблокировки с устройствами ЭЦ станции входят:
1. Средства контроля состояния блок-участков удаления и приближения к станции, включая индикацию их у ДСП;
2. Кодирование предвходной рельсовой цепи с поста ЭЦ;
3. Увязка сигнальных показаний предвходного светофора с входным;
4. Схема смены направления и кодирования рельсовой цепи участка удаления при следовании поезда по неправильному пути.
Контроль состояния блок-участков удаления необходим для выбора показаний выходного светофора при отправлении поезда, трансляции в стрелочные участки главного пути кодов АЛСН и включения на аппарате управления ДСП контрольных лампочек. Для расшифровки кодов РЦ участка удаления используются блоки БС и БК дешифратора ДА, устанавливаемые на посту ЭЦ.
Контроль участков приближения к станции производится для включения лампочек индикации на пульте управления ДСП и схемы кодово-
включающих реле. Это реализуется комплектом известительных реле, устанавливаемых на посту ЭЦ.
Увязка показаний предвходного и входного светофоров производится при помощи передаваемых по РЦ кодовых сигналов и организации линейной цепи ЗС, ОЗС.
Кодирование перегонной РЦ участка приближения от станционного источника питания производится с целью защиты станционной непрерывной РЦ от влияния граничащей с ней перегонной РЦ при коротком замыкании изолирующих стыков. Достигается это за счет соблюдения чередования мгновенных полярностей напряжений на изолирующих стыках. Защита станционной РЦ от перегонной участка удаления осуществляется за счет установки на станционной РЦ питающего трансформатора. Перегонные рельсовые цепи от непрерывного питания станционных цепей в этих случаях защищаются кодовым характером своего питания.
Для кодирования РЦ участка приближения и удаления на посту ЭЦ устанавливаются отдельные трансмиттеры и трансмиттерные реле.
Состояние цепей схемы соответствует установленному правильному направлению движения по пути 1П. При горении на светофоре Н красного огня рельсовая цепь 1ПП со стороны станции кодируется кодом КЖ- У предвходного светофора 1 в режиме это-
го кода работают реле И через дешифратор последовательно возбуждаются сигнальные реле Ж, Ж1, Ж2 и ЖЗ. На светофоре 1 через фронтовой контакт реле Ж2 и тыловой ЗСI включается лампа желтого огня последовательно с огневым реле РО. С момента включения желтого огня замыкается цепь кодирования кодом Ж рельсовой цепи ЗП
В случае перегорания лампы желтого огня в рельсовую цепь ЗП продолжает поступать код Ж..
При установке маршрута приема на боковой путь по обычным стрелкам на входном светофоре включаются два желтых огня, из них верхний может быть мигающий. Линейная цепь ЗС-ОЗС разомкнута фронтовыми контактами маршрутного реле НГМ1 и у светофора 1 реле ЗС находится в обесточенном состоянии. От входного светофора Н а рельсовую цепь 1ПП подается код Ж. В режиме этого кода у светофора 1 работают реле И через дешифратор возбуждаются реле Ж, Ж/, Ж2, ЖЗ и 3. Фронтовыми контактами реле Ж2 и 3 замыкается цепь мигающего реле М. В качестве датчиков импульсов использован контакт Ж трансмиттера КПТ, Реле М, включенное через этот контакт, работает в импульсном режиме с частотой около 40 периодов в минуту. Для получения замедления на отпускание якоря реле М одна из его обмоток шунтируется собственным контактом. Реле М удерживает якорь притянутым в малых интервалах кода Ж и отпускает только в больших интервалах этого кода. В течение одного кодового цикла реле М удерживает якорь в притянутом положении в течение 1 с, а в отпавшем положении — 0,5 с. Импульсный режим работы реле М контролируется постоянным возбуждением реле КМ, включенного по схеме конденсаторного дешифратора. Реле М, переключая контакт в цепи лампы светофора, включает последовательно с ней или обмотку
сопротивлением 0,45 Ом реле РО, и лампа загорается, или обмотку сопротивлением (180 ± 0,45) Ом — лампа гаснет.
С момента включения на светофоре 1 желтого мигающего огня рельсовая цепь ЗП кодируется кодом 3
При установке маршрута приема на главный путь По линейной цепи ЗС-ОЗС, замкнутой фронтовыми контактами реле Н1ИП, НРУ и НГМ1 током прямой полярности, возбуждается реле ЗС и вслед за ним реле ЗС1. В рельсовую цепь 1ПП подается код Ж (3), от которого у светофора 1 работает реле И. Через дешифратор возбуждаются реле Ж, Ж1, Ж2 и ЖЗ. Цепи мигающих реле выключены контактом поляризованного якоря реле ЗС. Фронтовыми контактами реле Ж2 и ЗС1 последовательно с реле РО на светофоре 1 включается лампа зеленого огня. Также образуется цепь кодирования кодом 3 рельсовой цепи ЗП.


Рис.18 Схема увязки трехзначной автоблокировки переменного тока с двусторонним движением поездов со станционными устройствами
Приближение поезда к станции контролируют реле НИП, Н1ИП и Н2ИП. При вступлении поезда на второй участок приближения ЗП у светофора 3 (на схеме не показан) выключаются сигнальные реле Ж/, Ж2 и ЖЗ. Фронтовыми контактами реле ЖЗ выключается цепь известительного реле ИП у светофора 1. Выключается повторитель реле ИП реле ИП1. Отпуская якорь, это реле меняет полярность тока с прямой на обратную в цепи И1-ОИ1, в которую на станции включено реле НИП. Последнее, возбуждаясь током обратной полярности, переключает поляризованный якорь и выключает свой повторитель Н2ИП. Отпуская якорь, реле Н2ИП отключает белую и включает на табло красную лампочку занятости второго участка приближения Н2П. От вступления поезда на первый участок приближения 1ПП у светофора 1 выключаются реле Ж,Ж/, Ж2 и ЖЗ. Контактами реле ЖЗ размыкается цепь И1-ОИ1,выключается реле НИП и его повторитель реле Н1ИП. Отпуская якорь, релеН1ИП выключает белую и включает на табло красную лампочку занятости первого участка приближенияН1П. Тыловыми контактами релеН1ИП в линейную цепь ЗС-ОЗСвключается вторая обмотка релеН2ИП. С момента освобождения второго участка приближения, что фиксируется срабатыванием реле ИП и ИП1 у светофора 1, по цепи ЗС-ОЗС включается реле Н2ИП и при занятом первом участке приближенияфиксирует освобождение второго участка приближения, отключая на табло красную и включая белую лампочку Н2П
Список литературы
1. «Системы интервального регулирования движения поездов» А.А.Казаков, В.Д.Бубнов, Е.А.Казаков. – М.: Транспорт, 1986. – 399с.
2. «Проектирование автоматической блокировки на железных дорогах» Новиков М.А., Петров А.Ф., Степанов Н.М. М., Транспорт, 1979. 328с.
3. “Рельсовые цепи. Анализ работы и техническое обслуживание” В.С.Аркатов Ю.А.Кравцов,Б.М.Степенский.-М.:Транспорт,1990.-296с.
4. 4.«Станционные устройства автоматики и телемеханики» А.А.Казаков, В.Д.Бубнов, Е.А.Казаков. – М.: Транспорт, 1990. – 430с.
5. Конспект
6. Методическое указание
|