СИСТЕМА ОХЛАЖДЕНИЯ
Конструктивные особенности. На
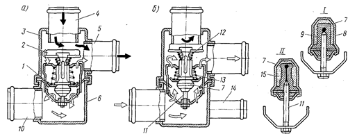
всех рассматриваемых двигателях системы охлаждения жидкостные, закрытого типа, т. е. сообщаются с атмосферой только через специальные клапаны при определенном избыточном давлении или разрежении. Циркуляция охлаждающей жидкости осуществляется принудительно при помощи жидкостного насоса. Для компенсации изменения объема охлаждающей жидкости при ее нагреве и охлаждении в системе имеется расширительный бачок. Составными элементами системы охлаждения являются рубашка охлаждения блока и головки цилиндров, радиатор, расширительный бачок, вентилятор, жидкостный насос, термостат и патрубки (рис. 1)
Радиатор 16
(рис. 1, а) на двигателе ВАЗ-2108 в отличие от радиатора 16
двигателя ВАЗ-2105 (рис. 1, б)
разборный. Он состоит из двух вертикальных пластмассовых бачков 15
и 20
(см. рис. 1, а), сердцевины 22,
изготовленной из ребристых алюминиевых пластин 18
и горизонтальных трубок 17.
На правом бачке установлены датчик 79 для включения и выключения электродвигателя 13
вентилятора 23
и сливная пробка 21
радиатора. В целях улучшения циркуляции жидкости и теплоотдачи в левом бачке имеется перегородка. Радиатор заполняется охлаждающей жидкостью из расширительного бачка 8
по шлангу 7 через термостат 6.
Расширительный бачок изготавливается из полупрозрачной пластмассы. Верхний патрубок бачка шлангом 11 постоянно соединен с патрубком радиатора, что предупреждает образование паровых пробок. Нижний
патрубок бачка шлангом 7 соединяется с дополнительным патрубком термостата 6. Заливная горловина бачка герметически закрыта пробкой (рис. 2). В пробке расширительного бачка помещаются два клапана: выпускной (паровой) клапан 4,
который открывается при избыточном давлении в системе охлаждения до 20 кПа и выпускает часть паров в атмосферу; впускной клапан 2 (воздушный), который открывается при понижении давления в системе до 95 — 86 кПа (разрежение) вследствие остывания или слива жидкости и пропускает в систему охлаждения атмосферный воздух.
Вентилятор 23
(см. рис. 1, а)
имеет четыре лопасти и привод от электродвигателя 13.
Включение и выключение электродвигателя во время работы двигателя происходят автоматически при помощи датчика 19,
установленного в правом бачке радиатора, в зависимости от температуры ох-
Забиваем Сайты В ТОП КУВАЛДОЙ - Уникальные возможности от SeoHammer
Каждая ссылка анализируется по трем пакетам оценки: SEO, Трафик и SMM.
SeoHammer делает продвижение сайта прозрачным и простым занятием.
Ссылки, вечные ссылки, статьи, упоминания, пресс-релизы - используйте по максимуму потенциал SeoHammer для продвижения вашего сайта.
Что умеет делать SeoHammer
— Продвижение в один клик, интеллектуальный подбор запросов, покупка самых лучших ссылок с высокой степенью качества у лучших бирж ссылок.
— Регулярная проверка качества ссылок по более чем 100 показателям и ежедневный пересчет показателей качества проекта.
— Все известные форматы ссылок: арендные ссылки, вечные ссылки, публикации (упоминания, мнения, отзывы, статьи, пресс-релизы).
— SeoHammer покажет, где рост или падение, а также запросы, на которые нужно обратить внимание.
SeoHammer еще предоставляет технологию Буст, она ускоряет продвижение в десятки раз,
а первые результаты появляются уже в течение первых 7 дней.
Зарегистрироваться и Начать продвижение

Рис. 1. Система охлаждения двигателей:
а—ВАЗ-2108; б—
ВАЗ-2105; / — подводящая труба насоса; 2 —
шланг отвода охлаждающей жидкости к карбюратору; 3 —
выпускной патрубок головки цилиндров; 4 —
патрубок подвода жидкости к отопителю; 5
и 27— шланги отвода жидкости соответственно от блока подогрева карбюратора и от отопителя; 6 —
термостат; 7и 11 —
шланги соответственно от бачка к термостату и от бачка к радиатору; 8 —
расширительный бачок (компенсационный); 9 —
пробка расширительного бачка; 10
и 12 —
соответственно отводящий и подводящий шланги радиатора;
13 —
электродвигатель; 14 —
кожух вентилятора; 15
и 20 —
бачки радиатора; 16 —
радиатор; 17 —
трубки; 18 —
охлаждающие пластины; 19 —
датчик включения и выключения вентилятора; 21 —
сливная пробка; 22 — сердцевина радиатора; 23 —
вентилятор; 24 —
жидкостный насос; 25 —
ремень привода жидкостного насоса; 26 —
патрубок отвода жидкости из отопителя салона кузова; 28 —
рубашка охлаждения; 29 —
пробка радиатора; 30 —
ремень привода вентилятора и жидкостного насоса

лаждающей жидкости, которая поддерживается в пределах 85 — 95 °С, путем включения и выключения электровентилятора. Кожух 14
вентилятора обеспечивает создание направленного потока воздуха через сердцевину радиатора с целью более быстрого охлаждения в нем жидкости.
Жидкостный насос (рис. 3) центробежного типа. Он состоит из корпуса 4
(рис. 3, а),
в котором установлен вал 8
на шариковом подшипнике 6. Подшипник стопорится винтом 5, заполняется смазкой Литол-24 на заводе и в дальнейшем не смазывается. На передний конец вала напрессован
зубчатый шкив 7, а на задний — крыльчатка 2.
Уплотнение заднего конца вала на выходе его из корпуса достигается манжетой (сальником) 7 с упорным кольцом 3.
Привод насоса осуществляется зубчатым шкивом 18
при помощи ремня привода распределительного вала. Для предупреждения попадания охлаждающей жидкости в подшипник при повреждении манжеты (сальника) в корпусе насоса имеется отверстие, через которое жидкость вытекает наружу.

Термостат двухклапанный, неразборной конструкции, имеет четыре патрубка: два входных 10
и 4
(рис. 24), выходной 5
и дополнительный 14.
Термочувствительный элемент состоит из стакана 8
с резиновой вставкой 9, между стенками которых помещается твердый наполнитель 15
(церезин — кристаллический воск), обладающий большим коэффициентом объемного расширения. Внутри резиновой вставки находится стержень 77, закрепленный в стойке основного клапана 7, который прижимается к седлу конической пружиной 13.
На стойке основного клапана помещается перепускной клапан 2 с пружиной 72.
Сервис онлайн-записи на собственном Telegram-боте
Попробуйте сервис онлайн-записи VisitTime на основе вашего собственного Telegram-бота:
— Разгрузит мастера, специалиста или компанию;
— Позволит гибко управлять расписанием и загрузкой;
— Разошлет оповещения о новых услугах или акциях;
— Позволит принять оплату на карту/кошелек/счет;
— Позволит записываться на групповые и персональные посещения;
— Поможет получить от клиента отзывы о визите к вам;
— Включает в себя сервис чаевых.
Для новых пользователей первый месяц бесплатно.
Зарегистрироваться в сервисе
При температуре охлаждающей жидкости ниже 80 ° С основной клапан полностью закрыт, а перепускной открыт (рис. 4, а),
поэтому жидкость из радиатора в насос не поступает, а циркулирует по малому кругу от центробежного насоса в рубашку охлаждения и через перепускной клапан обратно к насосу, обеспечивая более быстрый прогрев двигателя. По мере нагрева охлаждающей жидкости церезин в термостате плавится и, расширяясь, преодолевает сопротивление пружины 13
(рис. 4, б),
перемещая оба клапана вверх. При температуре 94 °С
циркуляция по малому кругу прекращается, и вся жидкость проходит через основной клапан 7 в радиатор. Для слива охлаждающей жидкости из системы на двигателе имеются две сливные резьбовые пробки. Одна пробка 27 (см. рис. 1, а) расположена в нижней части правого бачка радиатора, другая — в нижней части рубашки охлаждения блока цилиндров.
От системы охлаждения через шланг жидкость подводится к впускному трубопроводу системы питания для подогрева горючей смеси карбюратора, а через патрубок 4 —
к отопи-телю. Система охлаждения двигателя ВАЗ-1111
имеет аналогичное устройство.
На остальных двигателях в отличие от рассмотренного привод жидкостного насоса осуществляется клиновидным ремнем от шкива на носке коленчатого вала и устанавливается термостат с тремя патрубками (отсутствует патрубок, соединяющий термостат с расширительным бачком).
На двигателях 2106
и 331
автомобилей АЗЛК до 1988 г. устанавливались неразборные радиаторы с труб-чато-ленточной сердцевиной, горизонтальным расположением латунных трубок и расположенными по бокам

Рис. 4. Устройство и работа термостата:
а
— основной клапан полностью закрыт, перепускной открыт; б
— основной клапан полностью открыт, перепускной закрыт; 1 н 2 —
соответственно основной и перепускной клапаны; 3 —
корпус; 4 и 10 —
входные
патрубки соответственно ич рубашки охлаждения и из радиаторе; 5
— выходной патрубик (к центробежному
насосу); б — крышка; 7 — термочувствительный элемент; 8 —
стакан; 9 — резиновая вставка; / / — стержень;
12 я 13 —
пружины соответственно перепускного и основного клапанов; 14 —
патрубок для присоединения верхнего шланга расширительного бачка; 15
— твердый наполнитель; / и // — положения термочувствительного элемента термостата при температуре охлаждающей жидкости соответственно менее и более 80 °С (стрелки означают то же, что и на рис. 1)
латунными бачками. На автомобили более позднего выпуска устанавливаются радиаторы с пластмассовыми бачками.
На двигателе МеМЗ-245
сердцевина радиатора состоит из алюминиевых трубок, концы которых развальцованы в опорных пластинах.
Боковые пластмассовые бачки через резиновые прокладки плотно прикрепляются к опорным пластинам отгибными усиками.
На двигателе ВАЗ-2105
вентилятор 23
(см. рис. 1, б) установлен вместе с приводным шкивом 10
(см. рис. 3, б)
на ступице 11
вала 14
жидкостного насоса и соответственно так же, как и жидкостный насос, имеет привод клиновидным ремнем 30
(см. рис. 1, б) от шкива коленчатого вала. До 1988 г. на двигателе применялись неразборные радиаторы с трубчато-пластинчатой сердцевиной с вертикальными латунными трубками и расположенными сверху и снизу латунными бачками. С 1988 г. устанавливаются разборные радиаторы, в которых сердцевина изготовлена из двух рядов горизонтально расположенных алюминиевых трубок и алюминиевых пластин и через уплотнительные резиновые прокладки крепится к боковым пластмассовым бачкам. Заливная горловина радиатора закрывается пробкой 29, в которой имеются выпускной (паровой) 4
(см. рис. 2, б)
и впускной (вентиляционный) 2 клапаны. Выпускной клапан открывается при избыточном давлении в системе охлаждения. При открытом клапане жидкость или пар отводится в расширительный бачок. Это предохраняет от разрушения радиатор и патрубки. Впускной клапан не имеет пружины и допускает впуск в расширительный бачок и выпуск из него жидкости при ее нагревании и охлаждении. При разрежении в системе он открывается, и в радиатор поступает жидкость из расширительного бачка.
Неисправности системы охлаждения. Признаками неисправности системы охлаждения являются подтекание охлаждающей жидкости, перегрев или переохлаждение двигателя.
Подтекание жидкости
может происходить через неплотности в соединениях шлангов и фланцев, трещины в бачках и сердцевине радиатора, неисправные или плохо закрывающиеся спускные пробки, а также через контрольное отверстие жидкостного центробежного насоса. При этом на месте стоянки образуются мокрые пятна и возникает необходимость часто доливать охлаждающую жидкость. Для устранения течи через неплотности в соединениях шлангов надо подтянуть стяжные хомутики. Течь через неплотности во фланцах патрубков устраняется подтягиванием болтов и гаек крепления. В случае протекания жидкости через дренажное отверстие корпуса жидкостного насоса необходимо заменить изношенные детали самоуплотняющейся манжеты (сальника). Если небольшое подтекание из дренажного отверстия обнаружено в период обкатки автомобиля, это может являться результатом незаконченной приработки деталей уплотнителя и принимать меры к устранению течи пока нет необходимости. Недопустимо устранять подтекание закрытием отверстия. Это неизбежно приведет к попаданию жидкости в подшипник насоса и к его разрушению. Подтекание жидкости через трещины в бачках и сердцевине радиатора устраняется запаиванием (заклеиванием) поврежденных мест. Подтекание жидкости через небольшие трещины может быть устранено путем добавления в охлаждающую жидкость специального герметика.
Перегрев двигателя
характеризуется повышенной температурой и возможным закипанием охлаждающей жидкости. Возникает он вследствие:
недостаточного уровня охлаждающей жидкости; неисправности электровентилятора (не включается из-за неисправности датчика или электродвигателя, который не дает нужную частоту вращения); засорения проходов в сердцевине радиатора; поломки крыльчатки центробежного насоса; неисправности термостата (не открывается основной клапан и жидкость через
радиатор не циркулирует); загрязнения или отложения накипи в рубашке охлаждения и радиаторе. Перегрев двигателя может быть вызван также неисправностями систем питания и зажигания. При перегреве происходят потеря мощности двигателя вследствие ухудшения наполнения цилиндров горючей смесью, а также выгорание масла, что приводит к усиленному изнашиванию поршневой группы и цилиндров. При длительной работе с повышенной температурой возможно заклинивание поршней в цилиндрах и выход двигателя из строя, поэтому при первых же признаках перегрева необходимо принимать меры к устранению неисправностей.
Для проверки исправности термостата непосредственно на автомобиле необходимо пустить двигатель и ощупать рукой нижний бачок или нижний патрубок радиатора. При исправном термостате бачок или патрубок начинает прогреваться, когда температура охлаждающей жидкости достигнет 80 — 90 °С. При этом стрелка указателя температуры в комбинации приборов должна находиться на расстоянии 3 — 4 мм от красной зоны шкалы или располагаться между делениями 80 — 100 на цифровом указателе.
Засорение проходов сердцевины радиатора
определяется внешним осмотром и устранением вначале прочисткой щеткой с длинным ворсом, промывкой сердцевины струёй воды со стороны двигателя, а затем продувкой сжатым воздухом.
Загрязнения и накипь в рубашке охлаждения и радиаторе
значительно ухудшают теплоотдачу и вызывают поэтому систематический перегрев двигателя. Для устранения этого необходимо промыть систему охлаждения одним из специальных составов, удаляющих накипь, в соответствии с технологией его применения, после чего промыть систему чистой водой и заправить охлаждающей жидкостью.
Переохлаждение двигателя
может быть вызвано неисправностью термостата (не закрывается основной клапан). Необходимо проверить термостат способом, указанным выше, и при необходимости заменить его. Работа двигателя при низкой температуре охлаждающей жидкости приводит к потере мощности и вызывает усиленное изнашивание деталей кривошипно-шатунного механизма вследствие ухудшения условий смазки из-за конденсации паров топлива, смывания масла со стенок цилиндров и разжижения масла в картере.
Техническое обслуживание системы охлаждения. Ежедневно необходимо проверять отсутствие подтеканий и
контролировать уровень охлаждающей жидкости, который на остывшем двигателе должен быть на 3 — 4 см выше риски с отметкой "М1М" в расширительном бачке, а при наличии двух рисок (двигатель МеМЗ-245) —
на уровне верхней риски. Во время работы двигателя и сразу после его остановки уровень жидкости может несколько повышаться.
В качестве охлаждающей жидкости в системах охлаждения двигателей используется Тосол А-40 или Тосол А-65. Эти жидкости представляют собой смесь технического этиленгликоля и дистиллированной воды с температурой замерзания соответственно —40 и —65 °С, температура их закипания при атмосферном давлении около 108 °С. При указанных отрицательных температурах жидкость превращается не в лед, а в густую массу, которая не вызывает повреждения радиатора и блока цилиндров двигателя. Эти жидкости не склонны к вспениванию, отложению накипи и испарению, но являются ядовитыми. При попадании их в организм человека может произойти тяжелое отравление, поэтому их нельзя отсасывать ртом через шланг. После работы с ними надо хорошо мыть руки с мылом. Не следует допускать попадания жидкости на окрашенную поверхность кузова во избежание порчи окраски. Хранить жидкость можно в закупоренной чистой стеклянной, пластмассовой или железной, но не оцинкованной посуде.
Для всех двигателей, эксплуатируемых в южных регионах страны, круглогодично, а в районах средней полосы и Севера в теплое время года пр!/необходимости допускается заливать в систему охлаждения чистую мягкую воду. Для этого из системы охлаждения сливают низкозамерзающую жидкость, заливают до полного уровня воду, пускают двигатель и прогревают его до нормальной температуры (80... 90 °С). Затем останавливают двигатель, сливают воду и окончательно заправляют систему чистой водой. Следует, однако, иметь в виду, что применение воды способствует образованию накипи на внутренних поверхностях рубашки охлаждения. Поэтому целесообразно в воду добавлять препарат "Антинакипин".
Литература:
С.К. Шестопалов, К.С. Шестопалов
ЛЕГКОВЫЕ АВТОМОБИЛИ.
|