| Министерство образования Российской Федерации
Нижегородский государственный технический университет
Дзержинский филиал
Факультет
Химико-механический
Кафедра
Автоматизация технологических процессов и производств
Магистерская диссертация
по теме:
Разработка сенсора на поверхностно-акустических волнах. Автоматизация измерительной установки.
Выполнил:
магистрант гр. 95-АТПМ-1
Ермаков Е. С.
Зав. кафедрой АТПП:
д.т.н., профессор
Сажин С.Г.
Научный руководитель:
д.т.н., профессор
Сажин С.Г.
г. Дзержинск
2001 г.
Содержание
Содержание..................................................................................................................................................... 2
Введение............................................................................................................................................................ 3
Литературный обзор............................................................................................................................... 5
Основные принципы конструирования ПАВ сенсоров................................................................ 5
Некоторые задачи, решаемые ПАВ сенсорами............................................................................ 11
Конструкция экспериментальной ячейки..................................................................... 18
Описание приборов и материалов.......................................................................................... 21
Сопряжение частотомера с ЭВМ................................................................................................ 35
Особенности задачи.................................................................................................................................. 35
Постановка задачи сопряжения......................................................................................................... 41
Преобразование уровня............................................................................................................................ 43
Преобразование кода................................................................................................................................ 44
Забиваем Сайты В ТОП КУВАЛДОЙ - Уникальные возможности от SeoHammer
Каждая ссылка анализируется по трем пакетам оценки: SEO, Трафик и SMM.
SeoHammer делает продвижение сайта прозрачным и простым занятием.
Ссылки, вечные ссылки, статьи, упоминания, пресс-релизы - используйте по максимуму потенциал SeoHammer для продвижения вашего сайта.
Что умеет делать SeoHammer
— Продвижение в один клик, интеллектуальный подбор запросов, покупка самых лучших ссылок с высокой степенью качества у лучших бирж ссылок.
— Регулярная проверка качества ссылок по более чем 100 показателям и ежедневный пересчет показателей качества проекта.
— Все известные форматы ссылок: арендные ссылки, вечные ссылки, публикации (упоминания, мнения, отзывы, статьи, пресс-релизы).
— SeoHammer покажет, где рост или падение, а также запросы, на которые нужно обратить внимание.
SeoHammer еще предоставляет технологию Буст, она ускоряет продвижение в десятки раз,
а первые результаты появляются уже в течение первых 7 дней.
Зарегистрироваться и Начать продвижение
Параллельные порты ввода/вывода.................................................................................................... 53
Прерывания................................................................................................................................................. 56
Последовательный порт ввода/вывода............................................................................................. 57
Разработка программного обеспечения устройства сопряжения.......... 64
Математическое моделирование........................................................................................... 70
Экспериментальные результаты............................................................................................ 78
Экономическая часть......................................................................................................................... 83
Техника безопасности....................................................................................................................... 84
Выводы.............................................................................................................................................................. 85
Список использованных источников................................................................................ 86
Введение
В условиях современности проблема контроля за состоянием окружающей среды выходит на все более ведущее место. Контроль этот осуществляется как стационарными приборами, так и портативными. К стационарным приборам можно отнести инфракрасные спектрометры, газовые хроматографы, массовые спектрометры и некоторые другие. Работа портативных приборов основана на использовании твердотельных преобразователей. Такие преобразователи позволяют осуществлять миниатюризацию приборов, снижать потребляемую ими мощность, а также дают возможность производить их с помощью технологии микроэлектроники, ну а это - качество, надежность и возможность создания многоточечных систем контроля. Разработка такого рода приборов является актуальной проблемой микроэлектроники и автоматики. [1].
Химический твердотельный сенсор представляет собой микроэлектронное устройство, которое преобразует изменение химических свойств среды или состава среды в электрический сигнал [2]. Одним из наиболее перспективных направлений в разработке химических сенсоров является создание устройств на поверхностно-акустических волнах (ПАВ). ПАВ устройства привлекательны для применения в качестве химических микросенсоров в силу своей чувствительности, малого размера и дешевизны изготовления на основе технологии микроэлектроники. Так же преимуществом ПАВ сенсоров является высокая чувствительность скорости распространения поверхностно-акустической волны к любым изменениям свойств поверхностного материала. Это объясняется тем, что чувствительность таких сенсоров растет пропорционально квадрату рабочей частоты прибора, а охватываемый диапазон рабочих частот изменяется от десятков мегагерц до нескольких гигагерц.
Сервис онлайн-записи на собственном Telegram-боте
Попробуйте сервис онлайн-записи VisitTime на основе вашего собственного Telegram-бота:
— Разгрузит мастера, специалиста или компанию;
— Позволит гибко управлять расписанием и загрузкой;
— Разошлет оповещения о новых услугах или акциях;
— Позволит принять оплату на карту/кошелек/счет;
— Позволит записываться на групповые и персональные посещения;
— Поможет получить от клиента отзывы о визите к вам;
— Включает в себя сервис чаевых.
Для новых пользователей первый месяц бесплатно.
Зарегистрироваться в сервисе
Необходимо отметить, что область применения ПАВ сенсоров достаточно широка и разнообразна. Эти приборы также нашли свое применение в качестве датчиков температуры и давления, а, кроме того, дают возможность проводить исследование свойств различных полимерных пленок.
Литературный обзор
В своей основной форме химический микросенсор представляет собой по меньшей мере два элемента: миниатюрная подложка и химически селективное покрытие [10].
Подложка имеет контакт с покрытием и обеспечивает возникновение электрического сигнала, чьи характеристики отражают состояние покрытия.
Покрытие имеет контакт со средой, содержащей химическое вещество, которое должно быть обнаружено. Различия в свойствах покрытия, посредством которых происходят те или иные химические взаимодействия, обеспечивают перенос вещества или энергии через подложку [10].
Возникновение акустической волны достигается использованием ПАВ покрытия, линии задержки и колебательного контура.
При адсорбции чувствительным покрытием определяемых веществ происходит изменение характеристик поверхностно-акустической волны, таких как фазовая скорость, амплитуда и частота. Происходит это вследствие изменения упругих свойств чувствительного слоя и его электропроводности [1]. По этим изменениям можно судить о концентрации примеси в среде.
ПАВ микросенсор представляет собой тонкую пластинку из отполированного пьезоэлектрического материала (например, кварца, ниобата лития, танталата лития), на которую нанесены две системы встречно-штырьевых преобразователей (ВШП), одна из которых работает в качестве передающего преобразователя, а вторая является принимающим преобразователем [2]. Края на обоих концах пластинки искажаются или нагружаются абсорбционной резиной для подавления отражения в направлении распространения первичной волны. Если на одну из систем ВШП подается высокочастотное напряжение, то на поверхности пластинки за счет обратного пьезоэффекта генерируется поверхностно-акустическая волна. Эта волна затем распространяется вдоль поверхности пластинки до тех пор, пока не попадет на другую систему ВШП, где она преобразуется обратно в высокочастотное напряжение. Время задержки между входным и выходным электрическими сигналами определяется по формуле: ,
где l
- среднее расстояние между системами ВШП,
v
- скорость распространения поверхностно-акустической волны.
Максимальное акустоэлектрическое взаимодействие систем ВШП имеет место при характеристической частоте , определяемой следующим соотношением:
,
где h
- шаг ВШП [З].
Соединение двух ВШП через высокочастотный усилитель (рис. 1) дает возможность данному устройству поддерживать колебательный процесс на резонансной частоте при условии выполнения следующих требований:
набег фаз в кольце получающегося таким образом колебательного контура составляет , где n
- целое число;
потери в линии задержки компенсируются усилителем [2].
Область распространения ПАВ между системами ВШП используется в сенсорных устройствах в качестве чувствительной области. Любое изменение физических параметров среды (температуры, давления) оказывает влияние на рабочую частоту ПАВ прибора. Это явление используется в данном типе датчиков в качестве сенсорного эффекта. В случае применении ПАВ приборов в качестве химических газовых сенсоров на область распространения поверхностно-акустической волны наносится чувствительное покрытие, обладающее свойством селективно взаимодействовать с определяемым веществом. Нанесение покрытия отражается в значительном ослаблении поверхностной волны и соответствующем уменьшении резонансной частоты прибора. Было показано [2] что изменение резонансной частоты, обусловленное наличием покрытия на поверхности распространения поверхностно-акустической волны, описывается следующим соотношением:
,
где - сдвиг резонансной частоты за счет изменения чувствительным покрытием скорости поверхностно-акустической волны,
и характеристики пьезоэлектрического материала,
- начальная резонансная частота,
h
- толщина чувствительного покрытия,
- его плотность.
Не трудно заметить, что произведение - представляет собой массу покрытия на единицу площади. Таким образом, изменение частоты поверхностно-акустической волны зависит в первую очередь от двух факторов - массы единицы площади пленки и механических свойств пьезоэлектрической подложки. Применение слишком толстых пленок отражается в чрезмерном ослаблении скорости поверхностно-акустической волны и последующем затухании колебаний. Было установлено, что наиболее приемлемой является толщина пленки, составляющая »1% от длины волны. В этом случае способность покрытия адсорбировать определяемые вещества достаточно велика, чтобы обеспечить хорошую чувствительность. С другой стороны такая толщина покрытия не приводит к затуханию колебаний.
В результате адсорбции газов чувствительным покрытием изменяются свойства среды распространения поверхностно-акустической волны, а, следовательно, и ее характеристики.
В общем случае, для определения концентрации газов можно измерять изменение амплитуды, скорости или частоты поверхностно-акустической волны. Наиболее простым, надежным, а самое главное точным методом является измерение сдвига частоты. То есть в качестве сенсорного эффекта в данном типе датчиков используется различие рабочих частот поверхностно-акустической волны прибора в различных средах.
В работе [6] авторами решена задача классификации ароматов и определения степени свежести пищевых продуктов по запаху с использованием аналитической микросхемы, работающей на принципе измерения скорости поверхностно-акустической волны. Описывается микросистема для исследования запахов и ароматов, основанная на использовании набора пьезоэлектрических резонаторов с покрытиями, селективно сорбирующими пары определяемых соединений из атмосферы. Полученный прибор состоит из восьми резонаторов, колеблющихся с разной частотой в интервале от 380 до 433 МГц и имеющих разные чувствительные покрытия.
Также было исследовано [7] воздействие линейных и разветвленных углеводородов на ПАВ сенсоры с чувствительными покрытиями на основе пленок фторированных полиамидов. В ходе исследования было выявлено, что такие ПАВ сенсоры могут быть использованы для обнаружения линейных и разветвленных углеводородов, так как линейные углеводороды, проникая в пленку, дают изменение массы пленки на два порядка большее, чем соответствующие им разветвленные изомеры, что приводит к изменению частоты.
В работе [8] найден способ и приведена конструкция устройства для обнаружения душистых веществ в воздухе. Устройство представляет собой систему, которая состоит из набора полупроводниковых и ПАВ сенсоров. В статье даны результаты сравнения двух сортов кофе и двух видов духов. Также был проведен анализ составляющих запахов оливкового масла, столового вина, наркотиков (морфин, кокаин и др.), различных взрывчатых веществ, пищевых корковых пробок, тела человека и запаха животных.
В работе [13] рассматривались поверхностно-акустические устройства, покрытого тонким слоем хемоселективного материала. Такие устройства являются высокочувствительными химическими сенсорами для обнаружения и мониторинга паров и газов. Также в данной работе дана оценка ПАВ устройств с различными материалами, использующимися в качестве покрытия и устройств, покрытых различными способами. В процессах описанных в работе исследований применялся новый способ лазерного выбивания с использованием матрицы и пульсирующего лазера. На чувствительную область ПАВ сенсора кроме всего прочего наносился пасcивирующий слой углерода. В работе определены и представлены электрические характеристики и различные параметры устройств для обнаружения различных газов.
В работе [11] представлен сенсор для обнаружения по месту и измерения низких концентраций газообразной ртути. Принцип действия сенсора основан на использовании генератора колебаний ПАВ и двойной линии задержки с золотым покрытием. Газообразная ртуть избирательно реагирует с золотой пленкой, образуя амальгаму. В результате увеличивается масса пленки, которая вызывает уменьшение частоты колебаний. Измерение концентрации газа производится различием отклика сенсора при комнатной температуре и температуре, при которой достигается динамическое равновесие реакция амальгамирования и десорбции. Значение величины равновесия достаточно сильно зависит от концентрации газа. Таким образом, частота генератора колебаний в линии задержки может служить чувствительной мерой концентрации газообразной ртути.
В работе также представлен график зависимости отклика сенсора от концентрации газообразной ртути в диапазоне 10-9
. Также проанализированы такие особенности отклика сенсора как форма отклика, величина отклика, время отклика и линейность при 25 0
С и 200 0
С.
В работе [15] рассмотрен ПАВ сенсор в качестве гравиметрического сенсора. В этой работе изучалась адсорбция и десорбция хлорбензола, о-дихлорбензола и хлороформа в поли[n-бутилметакрилате] (ПБМА) при помощи ПАВ сенсора и с помощью методов гравиметрического анализа (ГМА) с использованием полимерных пленок. Процессы сорбции анализировались с помощью модели Фикиана и были получены коэффициенты наилучшего разделения и диффузии. Экспериментальные данные хорошо соответствовали модели. Коэффициенты разделения, полученные из отклика ПАВ, не зависели от толщины покрытия и были в 2 – 3 раза выше, чем коэффициенты разделения, полученные из отклика гравиметрического сенсора. В противоположность этому, коэффициенты диффузии увеличивались линейно в зависимости от толщины покрытия в диапазоне частот 70-560 кГц. При минимальной толщине покрытия ПАВ коэффициенты были сравнимы с относительными ГМА коэффициентами. Данное исследование еще раз подтверждает правоту того, что отклик ПАВ химических сенсоров выше, чем ожидаемый только от изменения массы. Вязко-эластичный эффект также более ярко выражен, чем гравиметрический. Более того, подобие диффузионных коэффициентов, полученных при более толстом слое полимера, говорит о том, что скорости изменения вязко-эластичных компонентов ПАВ и гравиметрического элемента подобны. Авторами работы был сделан вывод, что оба явления имеют в своей основе один и тот же процесс: адсорбцию анализируемого вещества в полимер. И с этой точки зрения, по мнению авторов работы, покрытый полимером ПАВ сенсор может считаться частным случаем гравиметрического сенсора.
В работе [14] представлен сенсор на ПАВ с двойной линией задержки с напыленной пленкой WO3
:Ru в качестве чувствительного элемента. В результате окисления оксида азота (NO) полупроводниковой пленки оксида металла уменьшается концентрация носителей в пленке и, следовательно, ее проводимость. Это уменьшение проводимости пленки является причиной увеличения скорости ПАВ. Таким образом, в приборе, который представляет собой колебательный контур с двойной линией задержки, частота чувствительного канала является мерой чувствительности концентрации NO. В работе также представлены отклики данного сенсора на концентрации NO (10-9
– 10-6
) в воздухе, то есть среди газов более высоких концентраций. Также в работе проанализированы зависимости отклика сенсора от времени отклика, времени восстановления, минимального уровня концентрации, уровня насыщения и линейность отклика. Кроме того, приводятся рисунки и возможности улучшения показателей сенсора в будущем.
В работе [13] представлен ПАВ сенсор для измерения относительной влажности и концентрации углекислого газа при комнатной температуре. Он представляет собой две 97 МГц линии задержки ПАВ, покрытые тонкими полимерными пленками. Одна линия задержки служит для измерения концентрации, вторая – для измерения относительной влажности. В работе также представлены кривые зависимости отклика сенсора от определяемых параметров.
В работе [20] использовался датчик, содержащий 2 независимые идентичные линии задержки с исследуемыми покрытиями. Каждая линия задержки соединена с частотомером и через специальную плату интерфейса с персональной ЭВМ «Нейрон». Математическое обеспечение позволяло в режиме реального времени считывать показания частотомеров 1 раз в секунду и накапливать результаты измерений в буфере ЭВМ для последующей обработки.
Как видно из работ зарубежных и отечественных разработчиков ПАВ сенсоров, при проведении исследований необходима обработка больших объемов данных. Поэтому возникает необходимость повысить степень автоматизации экспериментальной установки. Для чего считается целесообразным сопряжение измерительных приборов, необходимых для проведения эксперимента с ЭВМ. Данная задача успешно решается зарубежными разработчиками, в то время как среди научных разработок отечественных ученых такая задача была решена только в работе [20]. В этой работе использовалась достаточно маломощная ЭВМ «Нейрон», которая при современных требованиях к быстроте и качеству обработки информации не может справиться со своей задачей. Для успешного проведения исследований необходимо повысить степень автоматизации установки, путем сопряжения ее с ЭВМ более высокого уровня.
Цель работы – разработать схему, программу, обслуживающую интерфейсное устройство сопряжения и произвести подключение измерительной установки к ЭВМ.
Конструкция экспериментальной ячейки
В качестве чувствительных элементов на поверхностно-акустических волнах использовались линии задержки ПАВ, выполненные на АТ-срезе монокристаллического кварца таким образом, что частота генерируемой поверхностно-акустической волны составляла 170 МГц. Для выполнения поставленных в данной работе задач была изготовлена экспериментальная ячейка следующей конструкции. На основание, представляющее собой пластину 100*100*10 мм из нержавеющей стали, устанавливался высокочастотный усилитель. Усилитель был помещен в металлический корпус 25х25х10 мм и его параметры были специально подобраны для использовавшихся в ходе исследований ПАВ преобразователей. В верхней грани корпуса усилителя имелись контактные отверстия, в которые вставлялись ножки стандартного ПАВ держателя. В качестве крышки ПАВ преобразователя, для исключения влияния внешних воздействий на частоту ПАВ, использовалась нержавеющая пластина 40х40х4 мм, в которой было вырезано отверстие необходимой геометрии и размеров. На верхнюю грань этой пластины напротив отверстия была приварена еще одна пластинка таким образом, что в первой пластине образовалась полость. В данную полость помещался ПАВ преобразователь. Для создания вакуумного уплотнения крышка прижималась к усилительной коробке при помощи болтов диаметром 5 мм через прокладку из силиконовой резины.
В верхнюю часть пластины над ПАВ преобразователем были вварены два штуцера из нержавеющих трубок 3-х миллиметрового диаметра для введения в ячейку требуемых газовых потоков, а также откачки ее на вакуум. Для исключения попадания пыли и частиц грязи на поверхность распространения поверхностно-акустической волны, в штуцеры были введены специальные фильтры, используемые в качестве вкладышей во входных штуцерах газовых редукторов. При проведении экспериментов штуцеры ячейки соединялись с соответствующими выводами универсального газового стенда.
 Описание приборов и материалов
Для измерения частоты ПАВ в работе использовался частотомер электронно-счетный Ч3-54, характеристики которого представлены ниже:

Рисунок 3 Внешний вид частотомера Ч3-54
Назначение:
1. Частотомер электронно-счетный 43-54 предназначен для:
- измерения частоты синусоидальных и частоты следования импульсных сигналов;
- измерения периода синусоидальных и периода следования импульсных сигналов;
- измерения длительности импульсов и интервалов времени;
- измерения отношения частот электрических сигналов;
- суммирования электрических сигналов;
- деления частоты электрических сигналов;
- выдачи напряжений опорных частот;
- работы со сменными блоками.
2. Прибор по условиям эксплуатации предназначен для работы в условиях:
- температура окружающей среды от 243 до 323 К (от минус 30 до +50°С);
- повышенная влажность до 98% при температуре до 308 К (+35°С).
3. Прибор питается от сети переменного тока напряжением (220 ± 22) В частотой (50±0,5) Гц; (220±11) В или (115±6) В частотой (400-12
+25
)
Гц.
4. В приборе предусмотрена возможность работы со сменными блоками и другими приборами.
Применение сменных блоков и других приборов позволяет производить измерение частоты в широком диапазоне и значительно расширяет возможности прибора.
При работе со сменным блоком усилителем широкополосным ЯЗЧ-31/1 прибор измеряет частоту синусоидальных сигналов в диапазоне от 0.1 до 60 МГц при уровне входного сигнала от 1 мВ до 10 В.
При работе со сменным блоком преобразователем частоты ЯЗЧ-41 прибор измеряет частоту синусоидальных сигналов в диапазоне от 0,1 до 1 ГГц при уровне входного сигнала от 0.05 до 1 В.
При работе со сменным блоком преобразователем частот ты ЯЗЧ-42 прибор измеряет частоту синусоидальных сигналов в диапазоне от 1 до 5 ГГц при уровне входного сигнала от 0.2 до 10 мВт.
При работе со сменным блоком преобразователем частоты ЯЗЧ-43 прибор измеряет частоту синусоидальных сигналов в диапазоне от 4 до 12 ГГц при уровне входного сигнала от 0.2 до 5 мВт.
При работе со сменным блоком преобразователем частоты автоматическим ЯЗЧ-72 прибор измеряет частоту синусоидальных сигналов от 0.3 до 7 ГГц при уровне входного сигнала от 0.2 до 5 мВт.
При работе со сменным блоком преобразователем частоты автоматическим ЯЗЧ-72 или преобразователем частоты ЯЗЧ-42 и преобразователем частоты Ч5-13 измеряется частота синусоидальных сигналов в диапазоне от 10 до 78.33 ГГц при уровне входного сигнала от 0,1 до 5 мВт (10 – 37.5) ГГц, от 0.5 до 5 мВт (37.5 - 70) ГГц и от 1 до 5 мВт (70 – 78.33) ГГц.
При работе со сменным блоком преобразователем частоты ЯЗЧ-87 прибор измеряет частоту синусоидальных сигналов и несущую частоту импульсно-модулированных сигналов от 0.07 до 12 ГГц при уровне входного сигнала от 0.1 до 5 мВт.
При работе со сменным блоком преобразователем частоты ЯЗЧ-88 прибор измеряет частоту синусоидальных сигналов и несущую частоту импульсно-модулированных сигналов от 8 до 18 ГГц при уровне входного сигнала от 0.4 мВт до 5 мВт.
5. Прибор может применяться для настройки, испытаний и калибровки различного рода приемо-передающих трактов, фильтров, генераторов, для настройки систем связи и других устройств.
Технические данные
1. Прибор измеряет:
· по ВХОДУ А частоту синусоидальных сигналов:
- в диапазоне от 0.1 Гц до 420 МГц при напряжении входного сигнала от 0.1 до 100 В эфф.;
-в диапазоне от 120 до 150 МГц при напряжении входного сигнала от 0.2 до 3 В эфф.;
· по ВХОДУ Д частоту синусоидальных сигналов в диапазоне от 50 до 300 МГц при напряжении входного сигнала 0.2 до 3 В эфф.;
· по ВХОДУ А частоту следования импульсных сигналов любой полярности, имеющих не более двух экстремальных значений за период, в диапазоне от 0.1 Гц до 120 МГц при напряжении входного сигнала от 0,3 до 100 В.
2. Относительная погрешность измерения частоты синусоидальных и импульсных сигналов df в пределах значений, рассчитанных по формуле:

где d0
- относительная погрешность по частоте внутреннего кварцевого, генератора или внешнего источника, используемого вместо внутреннего генератора;
fизм
– измеряемая частота, Гц;
tcч
– время счета, с.
3. Номинальное значение частоты кварцевого генератора - 5 МГц. Пределы корректировки частоты кварцевого генератора при выпуске прибора не менее ±5•10-7
относительно номинального значения частоты.
Действительное значение частоты кварцевого генератора при выпуске прибора установлено с погрешностью в пределах ±2•10-8
относительно номинального значения частоты после времени установления рабочего режима.
4. Максимальная относительная погрешность по частоте кварцевого генератора после времени установления рабочего режима не должна быть более:
± 1.5×10-7
в течение 1 месяца;
±2.5×10-7
в течение 6 месяцев;
±5×10-7
в течение 12 месяцев,
Время 1, 6 и 12 месяцев отсчитывается с момента установки действительного значения частоты с погрешностью в пределах ±2×10-8
.
5. Относительное изменение среднего значения частоты выходного сигнала кварцевого генератора за 1 сутки в пределах:
после времени установления рабочего режима ±2×10-8
;
после 24 часов непрерывной работы ± 1×10-8
;
после 72 часов непрерывной работы ±5×10-8
.
6. Среднеквадратическая относительная случайная вариация частоты кварцевого генератора при окружающей температуре, поддерживаемой с точностью ±1°С, после времени установления рабочего режима не должна быть более:
±1×10-10
за 1 с;
±1×10-10
зa 10 с;
±3×10-9
за 1 ч.
7. Температурный коэффициент частоты кварцевого генератора в пределах:
±1×10-9
на 1°С (для приборов с приемкой представителя заказчика);
±3×10-9
на 1°С (для остальных потребителей).
8. Прибор измеряет по ВХОДУ Б единичный и усредненный (коэффициент усреднения равен 10, 102
, 103
и 104
) период сигналов синусоидальной, и импульсной формы любой полярности при длительности импульсов не менее 0.1 мкс в диапазоне частот от 0 до 1 МГц. Напряжение входного сигнала:
от 0.1 до 100 В эфф. для сигнала синусоидальной формы;
от 0.3 до 100 В для сигнала импульсной формы.
9. Относительная погрешность измерения периода dт
синусоидальных сигналов должна быть в пределах значений, рассчитанных по формуле:

где d0
- относительная погрешность по частоте внутреннего кварцевого, генератора или внешнего источника, используемого вместо внутреннего генератора;
n - число усредняемых периодов (множитель периода);
Ттакт
- период частоты заполнения (метки времени);
Тизм
- измеряемый период;
dз
- относительная погрешность уровня запуска, определяемая по формуле:
где Uш
- амплитуда шумового сигнала, В;
Uc
- амплитуда входного сигнала, В.
Значения относительной погрешности dз
в зависимости от соотношения приведены ниже
, дБ
|
20
|
40
|
60
|
| dз
|
3×10-2
|
3×10-3
|
3×10-4
|
Относительная погрешность измерения периода импульсных сигналов при длительности фронтов импульсов не более половины периода сигнала заполнения - в пределах значении, определяемых по формуле:

10. Прибор измеряет отношение частот электрических сигналов.
Диапазон высшей из сравниваемых частот (ВХОД А) от 10 Гц до 150 МГц. Диапазон низшей из сравниваемых частот (ВХОД Б) от 0 до 1 МГц.
Напряжение и форма входных сигналов соответствуют приведенным в пп. 1 и 8.
11. Относительная погрешность измерения отношения частот - в пределах значении, определяемых по формуле:

для сигнала низшей (f2
) из сравниваемых частот синусоидальной формы или импульсного сигнала при длительности фронтов более половины периода высшей (f1
) из сравниваемых частот и в пределах значений, определяемых по формуле:

для импульсного сигнала низшей из сравниваемых частот с длительностью фронтов не более половины периода высшей из сравниваемых частот.
12. Прибор производит по ВХОДУ А счет числа (суммирование) электрических колебаний в диапазоне частот от 0 до 150 МГц за время, устанавливаемое вручную.
Напряжение и форма входного сигнала соответствуют п. 1.
13. Прибор измеряет по ВХОДАМ В и Г интервал времени в диапазоне от 0.1 мкс до 105
с при внутренних частотах заполнения 103
, 104
, 105
, 106
, 107
и 108
Гц, частота внешнего сигнала заполнения от 0 до 150 МГц.
Напряжение входного сигнала импульсной формы соответствует приведенному в п. 8.
14. Относительная погрешность измерения интервалов времени при длительности фронтов измеряемых импульсов не более половины периода сигнала заполнения не должна превышать значения, определяемого по формуле:

где d0
- относительная погрешность частоты кварцевого генератора или внешнего источника, используемого вместо внутреннего кварцевого генератора;
tизм
- измеряемый интервал, мс;
и при длительности фронтов более половины сигнала заполнения не должна превышать значения, определяемого по формуле:

где tф1
, tф2
- длительность фронтов импульсов, определяющих начало и конец счета, мс.
15. Входное сопротивление и входная емкость прибора по ВХОДАМ А и Б не менее 1 МОм и не более 70 пФ.
При нажатой кнопке «50 W» входное сопротивление прибора по ВХОДУ А - 50 Ом.
16. Прибор измеряет в режиме КОНТРОЛЬ собственные опорные частоты 1, 10, 100 кГц, 1, 10, 100 МГц с целью проверки работоспособности прибора.
17. Прибор обеспечивает непосредственный отсчет результатов измерения в цифровой форме с индикацией единиц измерения (MHz, KHz, mS, mS), переполнения (П), децимальной точки. В режиме ПАМЯТЬ прибор обеспечивает хранение результата измерения на время цикла измерения.
18. Время счета прибора при измерении частоты по ВХОДУ А 10-3
, 10-2
, 10-1
, 1 и 10 с. При измерении частоты по ВХОДУ Д время счета удваивается.
19. При автоматическом пуске прибор обеспечивает возможность плавной установки времени индикации результатов измерения от 0.1 до 5 с; с допустимым отклонением +50% от указанных величин; при ручном и внешнем пуске время индикации неограниченное.
20. Прибор делит по ВХОДУ Б частоту входного сигнала в диапазоне от 0 до 1 МГц с коэффициентом деления 1, 10, 102
, 103
и 104
.
Напряжение и форма входного сигнала соответствуют приведенным в п. 8.
Форма выходного сигнала - положительный импульс длительностью не менее 0.1 мкс, амплитудой не менее 2 В на нагрузке 10 кОм.
21. Прибор выдает сигналы опорных частот: 0.1; 1, 10, 100 Гц, 1, 10, 100 кГц, 1 и 10 МГц, имеющие форму положительных импульсов со скважностью не более 5 и амплитудой не менее 2 В на нагрузке 10 кОм; 5 и 50 МГц напряжением; не менее 0.5 В на нагрузке 1 кОм на конце кабеля соединительного (4.850.597-21). Форма сигнала - близкая к синусоидальной.
22. Прибор работает от внешнего источника опорной частоты 5 МГц ±100 Гц напряжением от 0.5 до 3 В на нагрузке 100 Ом вместо внутреннего кварцевого генератора.
23. Прибор выдает на регистрирующее устройство информацию о значении измеряемой величины в потенциальном виде в параллельном двоично-десятичном коде 8-4-2-1 с уровнями напряжений на нагрузке 10 кОм;
от +2,4 до +4,5 В - логическ. «1»;
от 0 до +0,5 - логическ. «0».
24. Прибор принимает внешний сигнал запрета работы напряжением от 0 до +0.4 В.
25. После окончания счета прибор выдает командный сигнал для запуска регистрирующего устройства - положительный перепад напряжением с уровнями логического «0» от 0 до +0.5 В, логической «1» от +2.4 до +4.5 В на нагрузке10 кОм.
26. Прибор имеет автоматический, ручной и внешний сброс-пуск. Внешний сброс-пуск осуществляется импульсом положительной полярности, амплитудой от +2.4 до +4.5 В, на нагрузке 10 кОм, длительностью не менее 10 мкс при крутизне фронта не менее 0.5 В/мкс.
27. Прибор обеспечивает возможность дистанционного управления переключателями: РОД РАБОТЫ, ВРЕМЯ СЧЕТА-МНОЖИТЕЛЬ, МЕТКИ ВРЕМЕНИ, «50 W», «1V/10V», БЛОК, «150 MHz;/5 MHz», а также уровнями срабатывания усилителей по ВХОДУ А и ВХОДУ Б.
28. Прибор обеспечивает свои технические характеристики после времени установления рабочего режима, равного 2 ч. Время готовности прибора без гарантированной погрешности частоты внутреннего кварцевого генератора или работе с внешним источником опорной частоты - не более 1 мин; при работе прибора в интервале температур от 263 до 243 К (от минус 10 до минус 30°С) - не более 10 мин.
29. Питание прибора осуществляется от сети переменного тока напряжением (220±22) В частотой (50±0.5) Гц, (220±11) или (115 ± 6) В частотой (400-12
+28
) Гц. Допустимое содержание гармоник до 5%.
30. В приборе обеспечена возможность автоматического подключения цепи питания кварцевого генератора к внешнему источнику постоянного напряжения +(27±3) В с потребляемым током не более 0.37 А.
31. Мощность, потребляемая прибором от сети при финальном напряжении, не превышает 100 ВА.
32. Прибор сохраняет свои технические характеристики в течение 16 ч непрерывной работы.
33. Нормальные условия эксплуатации:
температура окружающей среды - (293±5)К (20±5) 0
С;
относительная влажность воздуха - (65±15)%;
атмосферное давление - (100±4) кПа (750±30) мм рт. ст.
34. Рабочие условия эксплуатации:
температура окружающей среды - от 243 до 323 К (от минус 30 до плюс 50°С);
повышенная влажность - до 98% при температуре до 308K (+35°C);
атмосферное давление - (100±4) кПа (750±30) мм рт. ст.
35. Предельные условия:
температура окружающей среды - от. 223 до 338 К (от минус 50 до +65°С);
пониженное атмосферное давление – 61.33 кПа (460 мм рт. ст.). После пребывания в предельных условиях время выдержки прибора в нормальных условиях не менее 2 часов.
36. Габаритные размеры прибора 490х136х480 мм. Масса прибора (без упаковки) не более 16 кг.
37. Наработка на отказ прибора - не менее 3000 ч
38. Средний срок службы прибора - не менее 10 лет. Средний ресурс - не менее 10000 часов.
Сопряжение частотомера с ЭВМ
Одной из задач данной диссертации является повышение автоматизации установки, то есть сопряжение ее ЭВМ.
Задачей сопряжения было получение и обработка выходного сигнала частотомера на терминале ЭВМ. Так как частотомер не имел интерфейса для непосредственного сопряжения его с ЭВМ, встала необходимость преобразования выходного сигнала, представленного в параллельном двоично-десятичном коде 8-4-2-1 в последовательный код, приемлемый для интерфейса RS-232C ЭВМ.
Выбор в пользу применения интерфейса RS-232C обусловлен наличием следующих факторов:
· относительная удаленность объекта обмена информацией (внешнего устройства) от компьютера (стандартом оговорена длина кабеля до 15 м при наличии общего контура заземления, однако во многих практических случаях она может быть существенно увеличена, хотя и с некоторым снижением рабочих скоростей);
· сравнительно (по отношению к параллельным методам и локальным вычислительным сетям) невысокая скорость обмена данными (максимально возможная скорость передачи данных стандартного последовательного порта компьютера составляет 115200 бит/сек, что ограничивает скорость обмена величиной около 10 Кбайт/сек);
· применение стандартного интерфейса для подключения к компьютеру без его вскрытия.
Далее приведена информация, пользуясь которой разработчик сможет осуществить сопряжение проектируемого устройства с компьютером при помощи интерфейса RS-232C
Интерфейс RS-232C предназначен для подключения к компьютеру стандартных внешних устройств (принтера, сканера, модема, мыши и др.), а также для связи компьютеров между собой. Основными преимуществами использования RS-232C по сравнению с другими интерфейсами являются возможность передачи на большие расстояния и гораздо более простой соединительный кабель. В то же время работать с ним несколько сложнее. Данные в RS-232C передаются в последовательном коде побайтно. Каждый байт обрамляется стартовым и стоповыми битами. Данные могут передаваться как в одну, так и в другую сторону (дуплексный режим).
Компьютер имеет 25-контактный (DB25P) или 9-контактный (DB9P) разъем для подключения RS-232C. Назначение контактов разъема приведено в таблице 1.
| Цепь
|
Контакт (25-контактный разъем)
|
Контакт (9-контактный разъем)
|
I/O
|
| FG
|
1
|
'
|
-
|
| -TxD
|
2
|
3
|
0
|
| -RxD
|
3
|
2
|
I
|
| RTS
|
4
|
7
|
0
|
| CTS
|
5
|
8
|
I
|
| DSR
|
6
|
6
|
I
|
| SG
|
7
|
5
|
-
|
| DCD
|
8
|
1
|
I
|
| DTR
|
20
|
4
|
0
|
| RI
|
22
|
9
|
I
|
Таблица 1 Назначение контактов разъемов интерфейса RS-232C
(I - входной сигнал компьютера, О - выходной сигнал).
Назначение сигналов следующее.
FG
- защитное заземление (экран).
-TxD
- данные, передаваемые компьютером в последовательном коде (логика отрицательная).
-RxD
- данные, принимаемые компьютером в последовательном коде (логика отрицательная).
RTS
- сигнал запроса передачи. Активен во все время передачи.
CTS
- сигнал сброса (очистки) для передачи. Активен во все время передачи. Говорит о готовности приемника.
DSR
- готовность данных. Используется для задания режима модема.
SG
- сигнальное заземление, нулевой провод.
DCD
- обнаружение несущей данных (детектирование принимаемого сигнала).
DTR
- готовность выходных данных.
RI
- индикатор вызова. Говорит о приеме модемом сигнала вызова по телефонной сети.
Наиболее часто используются трех- или четырехпроводная связь (для двунаправленной передачи). Схема соединения для четырехпроводной линии связи показана на рис. 4
Для двухпроводной линии связи в случае только передачи из компьютера во внешнее устройство используются сигналы SG и TxD. Все 10 сигналов интерфейса задействуются только при соединении компьютера с модемом.
Формат передаваемых данных показан на рис. 5. Собственно данные (5, 6, 7 или 8 бит) сопровождаются стартовым битом, битом четности и одним или двумя стоповыми битами. Получив стартовый бит, приемник выбирает из линии биты данных через определенные интервалы времени. Очень важно, чтобы тактовые частоты приемника и передатчика были одинаковыми (допустимое расхождение - не более 10%). Скорость передачи по RS-232C может выбираться из ряда: 110, 150, 300, 600, 1200, 2400, 4800, 9600, 19200, 38400, 57600, 115200 бит/с.
 
Рисунок 4 Схема 4-проводной линии связи для RS-232C.
Все сигналы RS-232C передаются специально выбранными уровнями, обеспечивающими высокую помехоустойчивость связи (рис. 6). Отметим, что данные передаются в инверсном коде (логической единице соответствует низкий уровень, логическому нулю - высокий уровень).
Для подключения произвольного УС к компьютеру через RS-232C обычно используют трех- или четырехпроводную линию связи (см. рис. 4), но можно задействовать и другие сигналы интерфейса.

Рисунок 5 Формат передаваемых данных

Рисунок 6 Уровни сигналов RS-232C на передающем и принимающем концах линии связи.
Обмен по RS-232C осуществляется с помощью обращений по специально выделенным для этого портам СОМ1 (адреса 3F8h...3FFh, прерывание IRQ4), COM2 (адреса 2F8h...2FFh, прерывание IRQ3), COM3 (адреса 3E8h...3EFh, прерывание IRQ10), COM4 (адреса 2E8h...2EFh, прерывание IRQ11). Форматы обращений по этим адресам можно найти в многочисленных описаниях микросхем контроллеров последовательного обмена UART (Universal Asynchronous Receiver Transmitter), например, i8250, KP580BB51.
Ввиду приведенных выше достоинств и недостатков различных способов подключения было принято решение остановиться на использовании именно последовательного интерфейса RS-232C.
При использовании интерфейса RS-232C задача сопряжения объекта обмена информацией с компьютером обычно формулируется следующим образом: требуется обеспечить связь с удаленным контроллером, обслуживающим технологическую или лабораторную установку. Именно этот контроллер играет в данном случае роль УС.
Чаще всего такой контроллер представляет собой микроЭВМ, имеющую собственную магистраль и набор внешних устройств, осуществляющих передачу входных сигналов с разнообразных датчиков и выдачу управляющих воздействий на органы управления. Для нас существенным моментом является наличие в контроллере процессора, обрабатывающего информацию, представленную в параллельной форме, и магистрали, обеспечивающей взаимодействие различных его узлов. Если же требуется организовать сопряжение с устройством, не имеющим собственного интеллекта, задача сразу же существенно усложняется и часто становится практически невыполнимой. Поэтому в таком случае стоит подумать о выборе других путей сопряжения.
Этапы преобразования сигналов интерфейса RS-232C на пути от компьютера к микропроцессору удаленного контроллера достаточно очевидны и проиллюстрированы рис. 7. Здесь и далее мы считаем, что для сопряжения через RS-232C используется наиболее распространенная простейшая 4-проводная линия связи.
Блок преобразователей уровня обеспечивает электрическое согласование уровней сигналов последовательного интерфейса, формируемых контроллером, входящим в состав компьютера (±12 В), с уровнями сигналов, присутствующими в микропроцессорной системе (здесь и далее предполагаем, что в микропроцессорной системе действуют уровни ТТЛ).

Рисунок 7 Организация сопряжения через интерфейс RS-232C.
Блок преобразователя кода переводит последовательное представление информации в параллельное и наоборот, осуществляя распознавание начала и конца посылки, синхронизацию приема-передачи битов кадра, слежение за наличием ошибок, информирование о готовности к выполнению операций и т. п.
Интерфейс шины обеспечивает сопряжение преобразователя кода с локальной магистралью микропроцессорной системы, осуществляя двунаправленную передачу данных в соответствии с алгоритмами и временными соотношениями, принятыми в ней.
Для преобразования уровня сигналов считается целесообразным применение интерфейсной микросхемы фирмы MAXIM. Она содержит преобразователь напряжения +5В в напряжение +10В (генератор + умножитель напряжения), инвертор (преобразующий напряжение +10В в –10В) и собственно преобразователи уровня сигналов последовательного интерфейса. Большинство таких микросхем требуют дополнительных элементов (необходимы внешние конденсаторы), что не является чрезмерной платой за преимущества их применения.
Наиболее просто проблема разрешается в том случае, если в качестве центрального процессора удаленного контроллера применена однокристальная микроЭВМ, уже содержащая Универсальной асинхронный приемопередатчик (УАПП). В качестве примера такой микроЭВМ, можно использовать микросхему КР1816ВЕ51. Построение преобразователя кода в данном случае сводится к задействованию встроенного ресурса в соответствии со спецификациями на примененную микросхему.
Однокристальная микроЭВМ (ОМЭВМ) содержит встроенное ОЗУ памяти данных емкостью 128 Байт с возможностью расширения общего объема оперативной памяти данных до 64 КБайт за счет использования внешних микросхем ОЗУ.
Условное графическое обозначение ОМЭВМ показано на рис. 8, а назначение выводов приведено в табл. 2.
| № вывода
|
Обозначение
|
Назначение
|
Тип
|
| 1 – 8
|
P1.0 – P1.7
|
8-разрядный двунаправленный порт Р1. Вход адреса А0 – А7 при проверке внутреннего ПЗУ.
|
Вход/выход
|
| 9
|
RST
|
Сигнал общего сброса
|
Вход
|
| 10 – 17
|
P3.0 – P3.7
|
8-разрядный двунаправленный порт Р3 с дополнительными функциями.
|
Вход/выход
|
| P3.0
|
Последовательные данные приемника – RxD.
|
Вход
|
| P3.1
|
Последовательные данные передатчика TxD.
|
Выход
|
| P3.2
|
Вход внешнего прерывания 0 – INT0
|
Вход
|
| P3.3
|
Вход внешнего прерывания 1 – INT1
|
Вход
|
| P3.4
|
Вход таймера-счетчика 0 – T0
|
Вход
|
| P3.5
|
Вход таймера-счетчика 1 – Т1
|
Вход
|
| P3.6
|
Выход стробирующего сигнала при записи во внешнюю память данных WR
|
Выход
|
| P3.7
|
Выход стробирующего сигнала при чтении из внешней памяти данных RD
|
Выход
|
| 18
|
XTAL1
|
Вывод для подключения кварцевого резонатора
|
Выход
|
| 19
|
XTAL2
|
Вывод для подключения кварцевого резонатора
|
Вход
|
| 20
|
GND
|
Общий вывод
|
| 21 – 28
|
P2.0 – P2.7
|
8-разрядый двунаправленный порт Р2. Выход адреса А8 – А15 в режиме работы с внешней памятью. В режиме проверки внутреннего ПЗУ выводы Р2.0 – Р2.6 используются как вход адреса А8 – А14. Вывод Р2.7 – разрешение чтения внутреннего ПЗУ – Е
|
Вход/выход
|
| 29
|
PSE
|
Разрешение программной памяти
|
Выход
|
| 30
|
ALE
|
Выходной сигнал разрешения фиксации адреса
|
Выход
|
| 31
|
EA
|
Блокировка работы с внутренней памятью
|
Вход
|
| 32 – 39
|
P0.7 – P0.0
|
8-разрядный двунаправленный порт Р0. Шина адреса/данных при работе с внешней памятью. Выход данных D7 – D0 в режиме проверки внутреннего ПЗУ.
|
Вход/выход
|
| 40
|
Ucc
|
Вывод питания от источника напряжения +5В.
|
Таблица 2 Назначение выводов процессора МК51
ОМЭВМ содержит все узлы, необходимые для автономной работы:
· центральный восьмиразрядный процессор;
· внутреннюю память данных, объемом 128 Байт;
· четыре восьмиразрядных программируемых канала ввода – вывода;
· два 16-битовых таймера-счетчика;
·
систему прерываний с пятью векторами двумя уровнями; · последовательный интерфейс;
· тактовый генератор.
Система команд ОМЭВМ содержит 111 базовых команд с форматом 1, 2 или 3 байта и представляет большие возможности обработки данных, реализацию логических, арифметических операций, а также обеспечивает управление в режиме реального времени.
ОМЭВМ имеет:
· 32 восьмиразрядных регистра общего назначения;
· 128 определяемых пользователем программно-управляемых флагов;
· набор регистров специальных функций.
Регистры общего назначения и определяемые пользователем программно-управляемые флаги расположены в адресном пространстве внутреннего ОЗУ данных.
ОМЭВМ при функционировании обеспечивает:
· минимальное время выполнения команд сложения регистр-регистр – 1мкс, регистр-память – 2 мкс;
· аппаратное умножение и деление с минимальным временем выполнения команд умножения/деления – 4 мкс.
Расширенная система команд обеспечивает побайтовую и побитовую адресацию, двоичную и двоично-десятичную арифметику, индикацию переполнения и определения четности/нечетности, возможность реализации логического процессора. Отличительной чертой ОМЭВМ является то, что ее арифметико-логическое устройство (АЛУ) может наряду с выполнением операций над 8-разрядными типами данных манипулировать одноразрядными данными. Остальные программно-доступные биты могут быть установлены, сброшены или заменены их дополнением, могут пересылаться, проверяться и использоваться в логических вычислениях. Таким образом, благодаря наличию мощного АЛУ и битового процессора набор инструкций ОМЭВМ замечательно подходит для данного устройства сопряжения.
Микросхемы КР1830ВЕ51 конструктивно выполнены в 40-выводных пластмассовых корпусах с двухрядным расположением штырьевых контактов.
Среди прочего, ОМЭВМ содержит следующие узлы:
· Логика ввода – вывода, предназначенная для приема и выдачи сигналов, обеспечивающих обмен информацией ОМЭВМ с внешними устройствами через порты ввода/вывода Р0 – Р3.
· Блок Т/С состоит из двух таймеров/счетчиков, предназначенных для подсчеты внешних событий, получения программно управляемых временных задержек и выполнения времязадающих функций ОМЭВМ.
· Блок последовательного интерфейса и прерываний предназначен для организации ввода-вывода последовательных потоков информации и организации системы прерывания программ.
· Порты Р0 – Р3 являются двунаправленными портами ввода/вывода и предназначены для обеспечения информацией ОМЭВМ с внешними устройствами, образуя 32 линии ввода/вывода. Каждый из портов содержит фиксатор-защелку, который представляет собой восьмиразрядный регистр, имеющий байтовую и битовую адресацию для установки (сброса) разрядов с помощью программного обеспечения.
Фиксаторы портов Р0, Р1, Р2, Р3 имеют свои внутренние физические адреса, как при байтовой адресации, так и при битовой адресации.
Помимо работы в качестве обычных портов ввода/вывода линии портов Р0 – Р3 могут выполнять рад дополнительных функций, описанных ниже.
Через порт Р0:
· Выводится младший байт адреса А0 – А7 при работе с внешней памятью программ и внешней памятью данных;
· Выдается из ОМЭВМ и принимается в ОМЭВМ байт данных при работе с внешней памятью (при этом обмен байтом данных и вывод младшего байта адреса внешней памяти мультиплексированы во времени);
Через порт Р2:
· Выводится старший байт адреса А8 – А15 при работе с внешней памятью программ и внешней памятью данных (для внешней памяти данных – только при использовании команд, которые вырабатывают 16-разрядный адрес)
Каждая линия порта Р3 имеет индивидуальную альтернативную функцию:
· P3.00 – RxD, вход последовательного порта, предназначен для ввода последовательных данный в приемник последовательного порта;
· P3.1 – TxD, выход последовательного порта, предназначен для вывода последовательных данных из передатчика последовательного порта;
· P3.2 – INT0 – используется как вход 0 внешнего запроса прерывания;
· P3.3 – INT1 - используется как вход 1 внешнего запроса прерывания;
· P3.4 – T0, используется, как вход счетчика внешних событий Т/С 0;
· P3.5 – T1, используется, как вход счетчика внешних событий Т/С 1;
· P3.6 – WR, строб записи во внешнюю память данных, входной сигнал, сопровождающий вывод данных через порт Р0 при использовании соответствующих команд;
· P3.7 – RD, строб чтения из внешней памяти данных, выходной сигнал, сопровождающий ввод данных через порт Р0 при использовании соответствующих команд.
Альтернативная функция любой из линий порта Р3 реализуется только в том случае, если в соответствующем этой линии фиксаторе-защелки содержится «1». В противном случае на линии порта 3 будет присутствовать «0».
Среди прочих особенностей данной ОМЭВМ особого внимания заслуживают следующие.
Для связи ОМЭВМ с объектами управления, для ввода/вывода информации используются 32 двунаправленные линии. Эти линии сгруппированы в 4 порта по 8 линий в каждом. Каждая линия может быть индивидуальна и независимо запрограммирована на вход или выход. При использовании линии в качестве входа необходимо соответствующий бит порта установить в «1». При установке ОМЭВМ в исходное состояние все линии портов включены в исходное состояние. Обращение к портам ввода/вывода осуществляется через регистры специальных функций Р0 – Р3. Обращение производится с использованием команд, оперирующих с байтами, битом или с комбинацией бит.
В случае использования внешней памяти программ или данных, порт 0 служит для ввода младшего байта адреса внешней памяти, а через Р2 – для вывода старшего байта вывода внешней памяти, поэтому, когда мы используем внешнюю память – эти порты заняты. Данные во внешнюю память передаются через регистр Р0 (рис. 9).
Все выводы порта 3 могут быть использованы для реализации альтернативных функций. Альтернативные функции могут быть задействованы путем записи «1» в соответствующие разряды порта «Р3». В состав ОМЭВМ входят 2 независимых таймера/счетчика Т0 и Т1, предназначенных для измерения временных интервалов, длительности импульсов регенерирования периодически повторяющихся прерываний. Каждому таймеру/счетчику соответствует 16-разрядный таймерный регистр, состоящий из двух байт (TH0, TL0; TH1, TL1)
Таймеры/счетчики работают в двух режимах (в качестве таймера и счетчика).
При работе в качестве таймера, содержимое таймерного регистра увеличивается на единицу в каждом машинном цикле.
Путем программной установки таймерного регистра в исходное состояние и анализа флага переполнения могут быть реализованы различные временные задержки в диапазоне 0000-FFFF. Временная задержка, превышающая это значение (65535 мкс) может быть получена накоплением переполнений в рабочем регистре под управлением программы.
При работе в режиме счетчика событий таймерный регистр увеличивается на 1 каждый раз, когда сигнал на входе Т0 порта 3 переходит из «1» в «0».
Состояние внешнего входа Т0 или Т1 опрашивается каждую микросекунду (машинный цикл). Для управления таймером/счетчиком используются 2 регистра специальных функций: TCON – регистр управления и TMOD – регистр режимов.
МК51 имеет 5 аппаратных источников прерываний. Прерывание – сигнал, который поступает в ОМЭВМ от одного из 5 источников прерываний и вызывает переход из основной программы в подпрограмму обработки прерываний.
Появление сигнала – событие, неожиданное для основной программы. Поэтому точно не известно, в каком месте выполнения программы это произойдет. В ОМЭВМ используется векторная система прерываний. Это значит, что для каждого источника прерываний в ПЗУ предусмотрен адрес (вектор) начала подпрограммы обработки прерываний.
Каждый источник прерываний имеет свой адрес начала подпрограммы обработки прерываний. Адреса находятся в ПЗУ.
Получив запрос прерывания от одного из пяти источников, система обработки прерываний выполняет следующие действия:
1. Помещает в стек содержимое счетчика команд, чтобы запомнить команду основной программы, на которую нужно вернуться после обработки прерываний.
2. Загружает в счетчик команд адрес вектора, соответствующей подпрограммы обработки прерываний и осуществляет переход по этому адресу. По адресу вектора должна быть расположена команда безусловного перехода к начальному адресу подпрограммы обработки прерываний.
3. Подпрограмма обслуживания прерывания обязательно завершается командой выхода из подпрограммы, обслуживающей прерывания, по которой счетчик команд перезагружается из стека адресом возврата в основную программу и осуществляет аппаратный сброс запросов прерываний.
В состав ОМЭВМ входит последовательный порт, представляющий собой асинхронный приемопередатчик. Он осуществляет прием и передачу информации, представленной последовательным кодом, младшими битами вперед. Для этого в состав УАПП входят принимающие и передающие сдвиговые регистры, преобразующие параллельный код в последовательный. Последовательный порт является дуплексным, то есть одновременно осуществляет прием и передачу. Передаваемые и принимаемые данные хранятся в регистре специальных функций SBUF – буферный регистр. Физически регистр SBUF представляет собой 2 раздельных регистра. Один – для передаваемых данных, второй – для принимаемых. При приеме обеспечивается хранение принятого байта до конца приема следующего байта. Байт, не прочитанный из SBUF за время приема следующего байта, теряется. Запись байта в буфер SBUF при передаче приводит к автоматической перезаписи байта в сдвигающий регистр передатчика и инициализирует передачу байта. Всего имеется 4 режима работы последовательного порта:
· 00 – синхронный режим приема/передачи 8-битных данных. Частота передачи – 1/12 частоты процессора. Скорость фиксированная.
· 01 – 8-битный режим передачи с переменной скоростью. Скорость передачи задается таймером Т1 (600 – 9600 бит/сек). Формат посылки: 1 старт + 8 бит информации + 1 стоп.
· 10 – 9-битный режим передачи информации с фиксированной скоростью. Скорость передачи – частота резонатора деленная на 64 или на 32. 9-й бит может использоваться для контроля по четности.
· 11 – 9-битный режим передачи информации с переменной скоростью, величина которой задается таймером Т1.
Для сопряжения с интерфейсом RS232C, УАПП может работать в режимах 10 и 11, когда скорость определяется таймером Т1. Если устройство разрабатывается на МК51, оно должно иметь выход на последовательный интерфейс с RS232C. При этом перед разработчиком встают следующие проблемы:
1. Согласование уровней сигналов RS232C и МК51.
2. Поддержание стандартной скорости передачи.
3. Поддержание стандартных форматов посылок.
4. Поддержание стандартных протоколов обмена – набор символов для того, чтобы обеспечить нормальный прием/передачу.
Задача преобразования последовательного кода выходного сигнала частотомера в параллельный несколько усложняется тем, что необходим опрос 38 каналов. Данное обстоятельство приводит к необходимости применения дополнительных микросхем, позволяющих решить эту задачу. Для этого использовались микросхемы КР580ВВ55А.
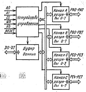
Микросхема КР580ВВ55А предназначена для параллельной передачи информации между микропроцессором и периферийными устройствами и содержит три 8-разрядных канала ввода/вывода
А, В, С.
Канал С может быть представлен в виде двух 4-разрядных каналов ввода/вывода, доступ к которым производится как к отдельным независимым каналам. Периферийные устройства подключаются к каналам А, В, С, а связь с микропроцессором осуществляется с помощью шины D через буфер данных. Структурная схема КР580ВВ55А представлена на рис 10.

Рисунок 10 Структурная схема микросхемы КР580ВВ55А
Каждый из каналов А, В, С состоит из 8-разрядного регистра и двунаправленных формирователей, имеющих на выходе состояние «Выключено», Устройство управления содержит регистр управляющего слова (РУС), в который предварительно производится запись информации, определяющей режим работы каналов, и формирует сигналы выбора канала и управления каналом С.
Микросхема может работать в одном из трех режимов: режим 0 - простой ввод/вывод; режим 1 - стробируемый ввод/вывод; режим 2 -двунаправленный канал. Режим работы каналов можно. изменять как в начале, так и в процессе выполнения программы, что позволяет обслуживать различные периферийные устройства в определенном порядке с помощью одной микросхемы КР580ВВ55А. Каналы А и В могут работать в различных режимах, а работа канала С зависит от режимов работы каналов А и В, Комбинируя режимы работы каналов, можно обеспечить работу микросхемы почти с любым периферийным устройством.
В режиме 0 осуществляется простой ввод/вывод данных по трем 8-разрядным каналам, причем канал С может использоваться как два 4-разрядных канала. Каждый из каналов может использоваться отдельно для ввода или вывода информации, В режиме 0 входная информация не запоминается, а выходная хранится в выходных регистрах до записи новой информации в канал или до записи нового режима.
В режиме 1 передача данных осуществляется только через каналы А и В, а линии канала С служат для приема и выдачи сигналов управления. Каждый из каналов А и В независимо друг от друга может использоваться для ввода или вывода 8-разрядных данных, причем входные и выходные данные фиксируются в регистрах каналов,
В режиме 2 для канала А обеспечивается возможность обмена информацией с периферийными устройствами по 8-разрядному двунаправленному каналу. Для организации обмена используются пять линий канала С, В режиме 2 входные и выходные данные фиксируются во входном и выходном регистрах соответственно. Назначение выводов КР580ВВ55А приведено в табл. 3
| Номер вывода
|
Обозначение
|
Назначение
|
| 9, 8
|
А0, А1
|
Адрес
|
| 27 – 34
|
D7 – D0
|
Шина данных
|
| 37 - 40, 1 - 4
|
РА7 – РА0
|
Канал А
|
| 5
|
RD
|
Чтение
|
| 6
|
CS
|
Выбор микросхемы
|
| 7
|
GND
|
Общий
|
| 10 - 13, 17, 16, 15, 14
|
PC7—PCO
|
Канал С
|
| 18 - 25
|
PB0 - PB7
|
Канал В
|
| 26
|
Ucc
|
+5В
|
| 35
|
RESET
|
Установка
|
| 36
|
WR
|
Запись
|
Таблица 3 Назначение выводов микросхемы КР580ВВ55А
Данные микросхемы подключались к микроЭВМ и позволяли увеличить количество портов ввода/вывода до необходимого количества.
Конечная схема подключения представлена на рис 9.
| Рисунок 11 Схема подключение частотомера Ч3-53 к персональной ЭВМ
|
|

Разработка программного обеспечения устройства сопряжения
В задачи программного обеспечения, для устройства сопряжения входит:
1. Получение от частотомера сигнала очередного замера информации с датчика;
2. По пришествии этого сигнала последовательно считать информацию о каждой цифре выходного сигнала;
3. Отметить время прихода сигнала (точнее, время, прошедшее со времени предыдущего прихода сигнала);
4. Инициализировать порт последовательной передачи информации;
5. Преобразовать данные в последовательный код;
6. Переслать последовательный код на ЭВМ;
7. Получить и обработать данные на ЭВМ, представив их в удобном для прочтения виде.
Первые шесть задач решаются непосредственно ОМЭВМ на уровне языка Ассемблер, седьмая задача решается при помощи языка высокого уровня на ЭВМ.
Перед тем, как использовать устройство сопряжения по назначению, необходимо провести инициализацию необходимых аппаратных ресурсов:
· Источника прерываний INT0;
· Установка необходимого времени отсчета Т0;
· Установка необходимой величины пересчета Т1;
· Программирование альтернативных функций порта ввода/вывода Р3 ОМЭВМ;
· Установка необходимых режимов работы таймеров Т0 и Т1 и последовательного порта ввода/вывода.
Блок-схема программы устройства сопряжения представлена на рис 12.
| 
Рисунок 12 Блок-схема программы устройства сопряжения
|
|
Текст программы на языке Ассемблер представлен ниже 0000 0200F7 LJMP 00F7
0003 020200 LJMP 0200
0006 00 NOP
0022 00 NOP
0023 020300 LJMP 0300
0026 00 NOP
00F6 00 NOP
00F7 D2B0 SETB RXD
00F9 D2B1 SETB TXD
00FB D2B2 SETB INT0
00FD D2B6 SETB WR
00FF D2B7 SETB RD
0100 758921 MOV TMOD,#21
0103 758B00 MOV TL1,#00
0106 758DF4 MOV TH1,#F4
0109 D28E SETB TR1
010B D2AF SETB EA
010D 758C3C MOV TH0,#3C
0110 758AB0 MOV TL0,#B0
0113 7582000 MOV DPL,#00
0116 7A00 MOV R2,#00
0118 D28C SETB TR0
011A D2A8 SETB EX0
011C 108D02 JBC TF0,0121
011F 80FB SJMP 011C
0121 0A INC R2
0122 758C3C MOV TH0,#3C
0125 758AB0 MOV TL0,#B0
0128 80F2 SJMP 011C
012A 00 NOP
01FF 00 NOP
0200 75F002 MOV B,#02
0203 EA MOV A,R2
0204 84 DIV AB
0205 F5F0 MOV B,A
0207 7A00 MOV R2,#00
0209 7805 MOV R0,#05
020B 7904 MOV R1,#04
020D C299 CLR TI
020F 85F099 MOV SBUF,B
0212 D2AC SETB ES
0214 32 RETI
0215 00 NOP
02FF 00 NOP
0300 C2AC CLR ES
0302 C299 CLR TI
0304 8983 MOV DPH,R1
0306 E0 MOVX A,@DPTR
0307 F599 MOV SBUF,A
0309 09 INC R1
030A B90701 CJNE R1,#07,030E
030D 09 INC R1
030E D801 DJNZ R0,0311
0310 32 RETI
0311 D2AC SETB ES
0313 32 RETI
0314 00 NOP
Математическое моделирование
Задачей математического моделирования является получение теоретических зависимостей выходной величины датчика (изменение частоты поверхностно-акустической волны) от входной величины (изменение концентрации необходимого газа) и получение изменения выходной величины в динамике (зависимость частоты от времени при скачкообразном изменении концентрации).
Изменение резонансной частоты, обусловленное наличием покрытия на поверхности распространения поверхностно-акустической волны, описывается следующим соотношением [2]:
,
где - сдвиг резонансной частоты за счет изменения чувствительным покрытием скорости поверхностно-акустической волны,
и характеристики пьезоэлектрического материала,
- начальная резонансная частота,
h
- толщина чувствительного покрытия,
- его плотность.
Не трудно заметить, что произведение - представляет собой массу покрытия на единицу площади.

где m – масса покрытия;
s – площадь покрытия.
Таким образом, изменение частоты поверхностно-акустической волны зависит в первую очередь от двух факторов - массы единицы площади пленки и механических свойств пьезоэлектрической подложки.
Скорость изменения величины адсорбции со временем описывается следующим уравнением [21]:

где a – содержание адсорбируемого вещества – масса адсорбируемого вещества к единице объема адсорбента ;
by
– коэффициент массоотдачи;
- концентрации адсорбируемого вещества в парогазовой смеси инертного газа (входной параметр) .
- концентрация адсорбируемого вещества в парогазовой смеси, равновесная поглощенному единицей объема количеству вещества . Определяется по изотерме адсорбции.
Коэффициент массоотдачи определяется по следующему уравнению[21]:

где Nu – диффузионный критерий Нуссельта;
d – средний размер частиц адсорбента ;
D – коэффициент диффузии вещества в газе .
Значение диффузионного критерия Нуссельта для ориентировочных расчетов коэффициента массоотдачи определяется по критериальному уравнению [20]:

где Re – критерий Рейнольдса.
Для определения критерия Рейнольдса воспользуемся следующей формулой [20]:

где w – скорость потока на свободном сечении ;
- кинематический коэффициент вязкости.
Кинематический коэффициент вязкости можно определить, пользуясь следующим соотношением [20]:

где - динамический коэффициент вязкости газа ;
- плотность газа .
Для определения - концентрации адсорбируемого вещества в парогазовой смеси, равновесной поглощенному единицей объема количеству вещества воспользуемся изотермой адсорбции. Ввиду отсутствия необходимых табличных данных, описывающих как чувствительное полимерное покрытие, а как следствие, и отсутствие какого либо конкретного определяемого компонента, данная математическая модель ставит себе целью получение качественных характеристик описываемого ПАВ сенсора. Таким образом, за искомую изотерму адсорбции принимаем изотерму адсорбции бензола [20]. График данной изотермы приведен ниже.
 В качестве определяемого компонента воздушной смеси принят аммиак.
Зависимость концентрации от парциального давления компонента выражается следующей формулой [20];

где p – парциальное давление компонента в газовой смеси;
R – универсальная газовая постоянная;
Т – абсолютная температура.
Подставляя числовые значения всех вышеперечисленных переменных в уравнение скорости адсорбции, а величину адсорбции в уравнение изменения частоты поверхностно-акустической волны и добавив к этому начальные и граничные условия получаем искомые зависимости величины адсорбции от времени и изменение частоты от времени.
Как видно из приведенных ниже графиков, время реакции сенсора на скачкообразное изменение концентрации определяемого компонента составляет порядка 10-5
сек.
Таким образом, в будущих исследованиях инерционностью процессов, происходящих в самом датчике можно пренебречь. А основное время процесса будет состоять из времени определения частоты поверхностно-акустической волны, времени подвода газа необходимой концентрации и пр. Таким образом, получаем еще одно подтверждение необходимости дальнейшего повышения автоматизации измерительной установки. Для математического получения градуировочной характеристики ПАВ датчика воспользуемся уравнением [20]:

И подставив полученное тем самым значение величины адсорбции в уравнение зависимости изменения частоты поверхностно-акустической волны, получим градуировочный график.
Как видно из этого графика, зависимость изменения частоты поверхностно-акустической волны от концентрации – величина линейная. Таким образом получаем еще одно подтверждение перспективности использования поверхностно-акустических датчиков в качестве газовых сенсоров низких концентраций. Экспериментальные результаты
Для оценки точности показаний ПАВ сенсора возникает необходимость оценить влияние различных параметров на частоту. В ходе работы был проведен ряд экспериментов по выявлению такого влияния.
В ходе работы была проведена серия экспериментов по определению стабильности частоты ПАВ преобразователей. Для этого они закреплялись в экспериментальную ячейку, конструкция которой описана в выше. Методика проведения экспериментов заключалась в следующем. Измерения частоты производились непрерывно в течение двух с половиной часов.
В течение времени измерений, данные об изменении частоты фиксировались каждые пять минут. Характерный ход зависимости частоты поверхностно-акустической волны от времени представлен на рис. 17. Как видно из данной зависимости, частота ПАВ преобразователя первоначально имеет тенденцию увеличиваться. Увеличение частоты поверхностно-акустической волны за первые 20-30 минут наблюдений составило порядка 2 – 2.5 кГц. По прошествии этого времени частота колеблется в гораздо более низких пределах. Изменения частоты в это время происходят в пределах нескольких десятков герц. Небольшой рост частоты объясняется нагревом кристалла кварца нагревающимся в процессе эксперимента ВЧ усилителем Ч3-63. Разные значения установившихся частот поверхностно-акустической волны объясняются различной температурой в помещении.
Таким образом, было выяснено, что для проведения исследования необходимо предварительно провести прогон измерительной системы в течение 20-30 минут. Также было выяснено, что с увеличением температуры частота также имеет тенденцию увеличиваться.
 Также в ходе работы была проведена серия экспериментов, целью которых было выяснение влияния давления на частоту ПАВ сенсора. Методика эксперимента заключалась в следующем. После предварительной прогонки ячейки на холостом ходу, как было указано выше, ее ступенчато откачивали на вакуум. Величина вакуума в ячейке фиксировалась при помощи вакуумметра. После чего показания частоты фиксировались каждые 10 секунд. По прошествии 120 секунд после окончании переходных процессов значения частоты устанавливались на определенном уровне и дальше не менялись. После чего ячейку снова откачивали до нового значения вакуума.
 График откачки ячейки на вакуум и зависимости частоты ПАВ сенсора от времени переходных процессов показаны на рис. 18
| Рисунок 18
Откачка газовой ячейки на вакуум. Изменение частоты ПАВ сенсора со временем
|
|
| Температура – 17 0
С
Атмосферное давление – 749 мм. рт. ст.
|
|
 Так же в работе представлен график зависимости частоты ПАВ сенсора от давления в газовой ячейке. Данный график построен на основании предыдущего. По оси абсцисс откладывалось давление в ячейке в мм. рт. ст., по оси ординат – частота ПАВ сенсора после окончания переходных процессов. Данный график представлен на рис. 19 Данные зависимости были получены при температуре окружающей среды – 17 0
С и атмосферном давлении 749 мм. рт. ст.
Как видно из приведенных графиков, частота ПАВ сенсора практически линейно изменяется с давлением в диапазоне 100 – 500 мм. рт. ст., в то время, как характер зависимости существенно меняется по мере выхода за указанный диапазон.
Следует отметить, что проведение экспериментов сопряжено с достаточно высокой трудоемкостью, что еще раз указывает на необходимость модернизации экспериментальной установки путем сопряжения ее с ЭВМ.
Экономическая часть
Задача данной работы заключается в разработке и исследовании поверхностно-акустического датчика. Экономический аспект данного исследования заключается в том, что:
1. Современные методы контроля концентрации вредных веществ в атмосфере не позволяют определить концентрацию с достаточной точностью, а лабораторные исследования представляются малоэффективным в первую очередь из-за своей дороговизны.
2. Закупка подобного рода оборудования также представляется невозможным из-за дороговизны закупаемого оборудования и таможенных пошлин.
3. В то время, как за рубежом исследования перспективных направлений в области обнаружения и определения малых концентраций токсичных веществ выходит на все более ведущее место [20], отечественные разработки отличаются разобщенностью и неполнотой.
В силу приведенных выше причин экономический аспект данного исследования представляется очевидным, а внедрение самого сенсора в производство экономически выгодным и перспективным.
Техника безопасности
Так как данный сенсор разрабатывается для анализа состава атмосферного воздуха на предмет наличия в нем вредных газовых примесей, то при разработке сенсора приходится иметь дело с газовыми смесями, содержащими данные компоненты.
Среди данных компонентов можно выделить окись углерода, окислы азота, оксиды серы, различного рода углеводороды и пр.[22]
Так как данные компоненты являются токсичными [22], то при работе с этими компонентами необходимо соблюдать следующие положения техники безопасности:
1. Все работы с газами производить под вытяжным шкафом.
2. Не допускать превышения концентрации данных компонентов в лаборатории свыше предельно-допустимых норм.
3. Регулярно производить проветривание помещений.
При выполнении вышеперечисленных правил, ваша работа в лаборатории не будет омрачена несчастными случаями.
Выводы
За время выполнения магистерской работы было выполнено следующее:
Проработан необходимый объем теоретического материала для конкретизации задач диссертации.
Доказана необходимость повышения автоматизации экспериментальной установки для более эффективной исследовательской работы и повышения точности получаемых результатов.
Разработана схема сопряжения установки с персональной ЭВМ и разработана схема устройства сопряжения.
Разработан алгоритм и отлажена программа, обслуживающая данное устройство сопряжения.
Разработан алгоритм и написана программа, позволяющая обрабатывать поступающую с экспериментальной установки информацию.
Список использованных источников
1. Беспалов А. Е., Соборовер Э. И., Швандеров А. Ф. «Исследования сенсорных свойств чувствительного элемента на поверхностно-акустических волнах» // Вестник Нижегородского государственного университета им. Н. И. Лобачевского. Сер. «Физика твердого тела» 1999г.
2. Соборовер Э. И., Швандеров А. Ф. «Возможности сенсора на ПАВ в контроле параметров газовых сред» // В. Сб.: Материалы XII научно-технической конференции с участием зарубежных специалистов / под ред. проф. Азарова В. Н. М.: МГИЭМ 1999г.
3. Wohltjen H., Dessy R. “Surface acoustic wave probe for chemical analysis.” // Anal. Chem. 1979 V. 51 #9 P. 1458-1464.
4. Snow A., Wohltjen H. “Poly(ethylene maleate)-cyclopentadiene: a model reactive polymer-vapour system for evaluation of a SAW microsensor.” // Anal. Chem., 1984, V. 56, #8, P. 1411-1416.
5. Benes E., Groschl M., Seifert F., Pohl A. “Comparison between BAW and SAW sensors.” // 1997 IEEE International Frequency Control Symposium.
6. Rapp M., Stier S., Ache H. “Classification of odours and spoiling detection of food with analytical microsystem based on SAW devices” // Pittcon’96, Chicago, March 3-8 1996: Book abstr-Chicago (|||), 1996, P. 947.
7. Hayt A. E., Ricco A. J., Iang H.L., Crooks R. H. “Speciation of linear and branched hydrocarbons by fluorinated polyamin film-based SAW sensor” // JACS, 1995, V. 117, #33, P. 8672-3
8. Mitsud J., Mog L. “Procedes et apparells de detection des substances odorantes et applications” // ALPHA M.O.S. # 9311291, 17.09.93. on 24.03.95.
9. Florian Bender and Reiner Dahint “Characteristics of Acoustic plate modes on rotated Y-cuts of quartz utilized for biosensing applications” // Anal. Chem., 1999, 71, 5064-5068.
10. Joshua J. Caron, Thomas D. Kenny, L. Jay LeGore, Derek G. Libby, Carl J. Freeman and John F. Vetelino “A surface acoustic wave nitric oxide sensor” 1997 IEEE International frequency control symposium.
11. Joshua J. Caron, Reichl B. Haskell, Derek G. Libby, Carl J. Freeman and John F. Vetelino “A surface acoustic wave mercury vapor sensor” 1997 IEEE International frequency control symposium.
12. R. Andrew McGuill, Douglas B. Chrisey, Todd E. Mlsha, Jennifer L. Stepnowski, Russel Chung & Nector Cobal. “Performance optimization of surface acoustic wave chemical sensors” 1997 IEEE International frequency control symposium.
13. H. Wohltjen, N. L. Jarvis, A. Snow, W. Barger, J. Guiliani, D. Dominiques. “Chemical microsensors for vapour detection”.
14. Zvi Liron, Nathali Kanshanski, Gad Frishman, Doron Caplan, and Jeremy Greenblatt. “The polimer-coated SAW sensor as a gravimetric sensor”. Anal. Chem. 1997, 69, 2848-2854
15. Wohltjen N., Davis N., Busey B., Klusty M., Soling R., McKeee // Pittsburgh Conf. Anal. Chem. Chem and Appl. Specrtosc. Orlando, Flaa, March 7 – 12, 199 PITTCON’99: Book Abstr – [Orlando (Fla)]. 1990 – C722.
16. Р. Джордейн «Справочник программиста персональных компьютеров типа IBM PC, XT и AT». Перевод с английского. Москва. «Финансы и статистика» 1992 г.
17. Бочков С. О., Субботин Д. М. «Язык программирования СИ для персонального компьютера». Под общей редакцией канд. техн. Наук, доцента П. И. Садчикова. Москва СП «Диалог» «Радио и связь». 1990 г.
18. П. Нортон, Р. Уилтон «IBM PC и PS/2 руководство по программированию». Перевод с английского. Москва «Радио и связь» 1994 г.
19. П. Абель «Язык ассемблера для IBM PC и программирования». Перевод с английского. Москва. Высшая школа. 1992 г.
20. А. А. Шульга, Б. К. Зуев, В. В. Лонцов «Цеолитосодержащие чувствительные покрытия для газовых химических сенсоров на поверхностно акустических волнах» 1999г.
21. Павлов К. Ф., Романков Н. Г., Носков А. А. «Примеры и задачи по курсу процессов и аппаратов химической технологии. Учебное пособие для вузов» Л.: Химия, 1987.
22. Д. П. Никитин, Ю. В. Новиков «Окружающая среда» Москва. «Высшая школа» 1980г.
|