Лабораторная
работа № 1
ИССЛЕДОВАНИЕ
ВЛИЯНИЯ ДЕСТАБИЛИЗИРУЮЩИХ
ФАКТОРОВ НА
СТАБИЛЬНОСТЬ
КОЛЕБАНИЙ
АВТОГЕНЕРАТОРОВ
С
ПАРАМЕТРИЧЕСКОЙ
И КВАРЦЕВОЙ
СТАБИЛИЗАЦИЕЙ
Цель
работы
1. Научиться
исследовать
и анализировать
работу автогенераторов
с параметрической
и кварцевой
стабилизацией.
2. Оценить
влияние дестабилизирующих
факторов на
работу автогенераторов.
Содержание
работы
1. Изучение
физических
процессов в
схемах автогенераторов
с параметрической
и кварцевой
стабилизацией
частоты.
2. Изучение
принципиальной
схемы лабораторной
установки на
базе радиостанции
"Карат".
3. Исследование
влияния дестабилизирующих
факторов на
частоту
автогенератора
с параметрической
стабилизацией.
4. Исследование
влияния дестабилизирующих
факторов на
частоту автогенератора
с кварцевой
стабилизацией.

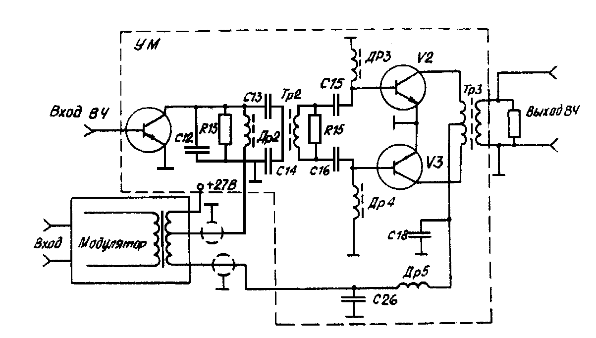
Рис.1. Принципиальная
схема лабораторной
установки по
исследованию
влияния дестабилизирующих
факторов на
работу автогенераторов
Описание
лабораторной
установки
Лабораторная
установка
выполнена на
базе типовой
коротковолновой
радиостанции
"Карат" и позволяет
провести
исследование
автогенераторов
с параметрической
и кварцевой
стабилизацией
частоты. В качестве
измерителя
частоты автогенератора
служит цифровой
частотомер
Ч3-34. Пульт управления
лабораторной
установкой
позволяет
осуществлять
необходимые
переключения
и регулировки,
а также регулировку
питающего
автогенератор
напряжения.
Порядок
выполнения
работы
Изучать
принципиальную
схему лабораторной
установки.
Проанализировать
работу автогенераторов
с параметрической
и кварцевой
стабилизацией
частоты колебаний
(в соответствии
с приложением
1).
Проанализировать
порядок снятия
характеристик
автогенератора
(в соответствии
с рис.2).
Р ис.
2. Структурная
схема установки
по исследованию
влияния дестабилизирующих
факторов на
работу автогенераторов
4. Исследовать
влияние дестабилизирующих
факторов на
частоту автогенератора
с параметрической
стабилизацией,
для чего:
а) подготовить
к работе электронно-счетный
частотомер
(режим ручного
счета);
б) включить
установку,
переключатель
ОПГ - ОКГ в положение
" ОПГ ";
в) установить
величину напряжения
питания
Uпит
= 10 В;
г) измерить
уход частоты
автогенератора,
для чего:
быстро замерить
частоту с помощью
частотомера,
записать показания
частотомера
f0
и время t
;
произвести
последующие
измерения
частоты через
каждую минуту
в течение 10 минут;
д) данные
измерений и
вычислений
занести в табл.
1;
е) по
данным табл.
1 построить
график зависимости
Δf
/ f0=
φ(t)
Таблица 1.1
| t , мин |
1 |
2 |
3 |
4 |
5 |
6 |
7 |
8 |
9 |
10 |
|
f0, кГц
|
150,15 |
150,19 |
150,21 |
150,24 |
150,22 |
150,23 |
150,23 |
150,24 |
150,23 |
150,23 |
|
Δf / f0
|
-0,000999 |
-0,0013 |
-0,0014 |
-0,0016 |
-0,0015 |
-0,0015 |
-0,0015 |
-0,0016 |
-0,0015 |
-0,0015 |
Таблица 1.2
| t , мин |
1 |
2 |
3 |
4 |
5 |
6 |
7 |
8 |
9 |
10 |
|
f0,
кГц
|
150,01 |
150,02 |
150,02 |
150,024 |
150,029 |
150,02 |
150,018 |
150,018 |
150,018 |
150,02 |
|
Δf / f0
|
-0,000066662 |
-0,000133316 |
-0,000133316 |
-0,000159974 |
-0,000193296 |
-0,000133316 |
-0,000119986 |
-0,000119986 |
-0,000119986 |
-0,000133316 |
5.
Исследовать
зависимость
частоты от
измерения
напряжения
питания, для
чего:
а) установить
Uпит
= 10 В;
б) уменьшая
через I
B
напряжение
питания, измерить
частоту генерируемых
колебаний;
в) данные
измерений
занести в табл.
2.
г) по
давним табл.
2 построить
график зависимости
Δf
/ f0
= φ(
Uпит
).
Таблица 2.2
|
UПИТ,
В
|
10 |
9 |
8 |
7 |
6 |
5 |
4 |
3 |
2 |
1 |
|
f0,
кГц
|
150,15 |
150,23 |
150,25 |
150,27
|
150,27 |
150,28 |
150,28 |
Срыв
генерации
(не
функц.)
|
|
Δf
/ f0
|
0,000999001
|
0,001530986
|
0,001663894
|
0,001796766
|
0,001796766
|
0,001863189
|
0,001863189
|
Таблица 2.2
|
UПИТ,
В
|
10 |
9 |
8 |
7 |
6 |
5 |
4 |
3 |
2 |
1 |
|
f0,
кГц
|
150,01 |
150,02 |
150,02 |
150,025 |
150,02 |
150,02 |
150,025 |
Срыв
генерации
(не
функц.)
|
|
Δf
/ f0
|
0,000066662
|
0,000133316
|
0,000166639
|
0,000133316
|
0,000133316
|
0,000166639
|
0,000166639
|
Вывод:
Проведя лабораторную
работу, исследовали
и проанализировали
работу автогенераторов
с параметрической
и кварцевой
стабилизацией,
построили
графики зависимостей
Δf
/ f
= φ(t)
и Δf
/ f
= φ(
Uпит
).
Графики
зависимостей
Δf
/ f
= φ(t)
и Δf
/ f
= φ(
Uпит
).


Overview
calcul
graph1
Sheet 1: calcul
| 150.15 |
150.19 |
150.21 |
150.24 |
150.22 |
150.23 |
150.23 |
150.24 |
150.23 |
150.23 |
| 0 |
0 |
0 |
0 |
0 |
0 |
0 |
0 |
0 |
0 |
|
|
|
|
|
|
|
|
|
|
|
|
|
|
|
|
|
|
|
|
|
|
|
|
|
|
|
|
|
|
| 150.01 |
150.02 |
150.02 |
150.02 |
150.03 |
150.02 |
150.02 |
150.02 |
150.02 |
150.02 |
| 0.000066662 |
0.000133316 |
0.000133316 |
0.000159974 |
0.000193296 |
0.000133316 |
0.000119986 |
0.000119986 |
0.000119986 |
0.000133316 |
|
|
|
|
|
|
|
|
|
|
|
|
|
|
|
|
|
|
|
|
|
|
|
|
|
|
|
|
|
|
|
|
|
|
|
|
|
|
|
|
|
|
|
|
|
|
|
|
|
|
| 10 |
9 |
8 |
7 |
6 |
5 |
4 |
3 |
2 |
1 |
| 150.15 |
150.23 |
150.25 |
150.27 |
150.27 |
150.28 |
150.28 |
x |
x |
x |
| 0.000999001 |
0.001530986 |
0.001663894 |
0.001796766 |
0.001796766 |
0.001863189 |
0.001863189 |
|
|
|
|
|
|
|
|
|
|
|
|
|
| 10 |
9 |
8 |
7 |
6 |
5 |
4 |
3 |
2 |
1 |
| 150.01 |
150.02 |
150.03 |
150.02 |
150.02 |
150.03 |
150.03 |
x |
x |
x |
| 0.000066662 |
0.000133316 |
0.000166639 |
0.000133316 |
0.000133316 |
0.000166639 |
0.000166639 |
|
|
|
Sheet 2: graph1
Лабораторная
работа
ИССЛЕДОВАНИЕ
АМПЛИТУДНОЙ
МОДУЛЯЦИИ
Цель работы
1. Научиться
исследовать
энергетические
и качественные
характеристики
сигнала при
амплитудной
коллекторной
модуляции.
2. Приобрести
навыки в работе
по исследованию
амплитудной
модуляции
радиосигналов.
Содержание
работы
1. Изучение
лабораторной
установки.
2. Снятие
динамической
амплитудной
модуляционной
характеристики.
3. Снятие
частотной
модуляционной
характеристики.
Описание лабораторной
установки
Лабораторная
установив
выполнена на
базе KB
радиостанции
"Карат" и позволяет
провести исследование
модулируемых
каскадов
усилителя
мощности (ГВВ).
Измерительные
приборы позволяют
контролировать
токи (напряжения)
в различных
цепях лабораторной
установки:
в качестве
источника
сигнала используется
генератор
низкой частоты
ГЗ-106, выходное
напряжение
которого поступает
на вход модулятора;
для измерения
нелинейных
искажений КГ
используется
прибор C6-IA
;
коэффициент
глубины модуляции
измеряется
прибором C2-11;
осциллограф
служит для
визуального
наблюдения
за формой выходного
сигнала;
пульт управления
лабораторной
установкой
позволяет
осуществить
необходимые
переключения.
Порядок
выполнения
работы
Изучить
принципиальную
схему лабораторной
установки
(рис. 1) и порядок
работы с измерительными
приборами.
2. Собрать
лабораторную
установку в
соответствии
со структурной
схемой (рис.
2).
3. Снять
амплитудную
модуляционную
характеристику,
для чего:
а) включить
установку и
установить
режим несущей
частоты;
б) на
вход модулятора
подать модулирующее
напряжение
от звукового
НЧ-генератора
с частотой
FΩ=
1000 Гц;
в) подключить
к выходу ВЧ
(антенне) измеритель
коэффициента
глубины модуляции
и осциллограф;
г) к
измерителю
коэффициента
глубины модуляции
(гнездо "Выход
огибающей")
подключить
измеритель
коэффициента
нелинейных
искажений;
д) увеличивая
амплитуд
модулирующего
напряжения
UΩ
от "0" до появления
перемодуляции
сигнала, измерить
коэффициент
глубины модуляции
m;
е) результаты
измерений
занести в табл.
1.
ж) по
данным табл.
1 построить
зависимости
m = f
(UΩ);

Рис.1. Принципиальная
схема лабораторной
установки

Рис.2. Структурная
схема лабораторной
установки
4. Снять
частотную
модуляционную
характеристику,
для чего:
а) сохранить
режим работы
передатчика,
установленный
для выполнения
предыдущего
пункта работы;
б) установить
модулирующее
напряжение
UΩ
при FΩ=
1000 Гц таким, чтобы
коэффициент
глубины модуляции
m = 0,7;
в) изменяя
частоту модулирующего
напряжения
FΩ
от 20 Гц до 20000 Гц,
измерить коэффициент
глубины модуляции
m ;
г) результаты
измерений
занести в табл.
2.
д) по
данным табл.
2 построить
графики зависимости
m = f
(FΩ
).
Таблица
1
|
UΩ
|
0 |
1 |
2 |
3 |
4 |
5 |
6 |
7 |
8 |
| m |
0 |
0,2 |
0,44 |
0,6 |
0,82 |
0,9 |
1 |
1 |
1 |
Таблица
2
|
FΩ
|
50
|
1000
|
2000
|
4000
|
10000
|
15000
|
17000
|
19000
|
20000
|
|
m
|
0,3
|
0,7
|
0,75
|
0,732
|
0,349
|
0,196
|
0,136
|
0,13
|
0,09
|
Содержание
отчета
Цель
работы
Содержание
работы
Структурная
схема лабораторной
установки.
Принципиальная
схема лабораторной
установки.
Таблицы
результатов
измерений и
вычислений.
Графики
снятых зависимостей.
Выводы
и обоснования
по результатам
исследований.
Контрольные
вопросы
Поясните
необходимость
управления
колебаниями
радиочастоты
передатчика
2. Что
такое модуляция?
Назовите виды
ее.
3. Что
такое амплитудная
модуляция?
4. Назовите
способы осуществления
амплитудной
модуляции.
5. Напишите
уравнение
амплитудно-
модулированных
колебаний.
6. Назовите
спектры частот
модулирующих
колебаний.
7. Отчего
зависит ширина
спектра частот
при амплитудной
модуляции?
8. Что
такое боковые
частоты и боковые
полосы?
9. Нарисуйте
принципиальную
схему модуляции
изменением
напряжения
смещения и
поясните ее
работу.
10. Как
выбрать положение
рабочей точки
на характеристике
электронного
прибора?
11. Зачем
необходим
нелинейный
элемент в схеме
амплитудной
модуляции?
12. В чем
заключаются
особенности
модуляции
изменением
напряжения
смещения?
13. Нарисуйте
схему базовой
модуляции и
поясните принцип
работы.
14. Поясните
особенности
базовой модуляции.
Приложение
1.
1.
ВИДЫ И АНАЛИЗ
АМПЛИТУДНОЙ
МОДУЛЯЦИИ
Радиочастотные
колебания,
создаваемые
радиопередатчиком
и излучаемые
его антенной
в виде электромагнитных
волн, используются
для передачи
информации
потому, что они
легко распространяются
на большие
расстояния.
Сообщения,
которые необходимо
передавать,
чаще всего
представляют
собой низкочастотные
колебания. Так,
механические
колебания
звука, преобразованные
микрофоном
в электрические,
представляют
собой колебания
низкой частоты.
Такие колебания
не могут распространяться
на большие
расстояния.
Поэтому спектр
низкочастотного
сигнала необходимо
перенести в
область радиочастот.
Для этого необходимо
осуществить
управление
ими.
Процесс управления
колебаниями
радиочастоты
с помощью колебаний
низкой частоты
называется
модуляцией.
Модуляция
осуществляется
с помощью
специального
устройства,
называемого
модулятором.
На один вход
модулятора
подается напряжение
радиочастоты,
на другой —
низкочастотный
передаваемый
сигнал. На выходе
модулятора
получается
модулированное
колебание.
Радиочастотные
колебания,
осуществляя
перенос сигнала,
сохраняют
его свойства.
Они называются
несущими.
Радиочастотные
колебания
характеризуются
тремя параметрами:
амплитудой,
частотой и
фазой. Они связаны
соотношением
i = IHcos(ωt
+ φ).
Для осуществления
модуляции
необходимо
изменять во
времени один
из параметров
радиочастотного
колебания в
соответствии
с передаваемым
сигналом. В
зависимости
от того, какой
из параметров
радиочастотного
колебания
изменяется,
различают
амплитудную,
частотную и
фазовую модуляцию.
При работе
передатчика
в импульсном
режиме для
осуществления
модуляции
изменяется
один из параметров
импульсов.
Такая модуляция
называется
импульсной.
Для передачи
телеграфных
сигналов изменяют
один из параметров
радиочастотных
колебаний в
соответствии
с телеграфным
кодом. Радиотелеграфную
модуляцию
называют
манипуляцией.
Различают
соответственно
манипуляцию
амплитудную,
частотную и
фазовую.
Амплитудной
модуляцией
называется
процесс изменения
амплитуды
колебаний
радиочастоты
в соответствии
с изменением
амплитуды
колебаний
низкой частоты
передаваемого
сигнала.
Передаваемое
колебание,
например речь,
музыка, является
сложным колебанием.
И его можно
рассматривать
как сумму простых
гармонических
составляющих
колебаний
различных
амплитуд, частот
и фаз.
Для простоты
анализа рассмотрим
модуляцию одним
тоном частоты
Ω, т. е. когда
перед микрофоном
звучит однотонное
колебание
одной частоты.
График его
можно представить
в виде гармонического
(синусоидального
или косинусоидального)
колебания,
как показано
на рис. 1, а аналитически
записать выражением
uΩ=UΩ
cos Ωt.
При амплитудной
модуляции по
закону изменения
модулирующего
колебания, в
данном случае
по закону cos
Ωt, должна
изменяться
амплитуда тока
радиочастоты.
Это означает,
что во время
положительного
полупериода
звукового
колебания
амплитуда
радиочастотного
тока возрастает
(точки 2—4 на
рис. 1), а во время
отрицательного
полупериода
— уменьшается
(точки 4—6 на
рис. 1).

Рис.
1. Временная
диаграмма
амплитудно-модулированных
колебаний
И зменение
амплитуды
радиочастотных
колебаний
математически
можно выразить
следующим
образом. Уравнение
тока в антенне
или в выходной
цепи модулируемого
каскада до
модуляции имеет
вид i = IНЕСсоsωHt.
Это колебание
называется
несущим. В процессе
модуляции
амплитуда тока
IНЕС получает
приращение
ΔIНЕС,
причем это
приращение
изменяется
по закону изменения
модулирующего
сигнала ΔIНЕС
cos Ωt.
Рис.
2. Графики
амплитудно-модулированных
при различной
глубине модуляции:
m 1(в,г)
Тогда выражение
тока радиочастоты
при модуляции
принимает вид
i = ( IНЕС
+ ΔIНЕС
cos Ωt)
соsωHt.
Выполняя дальнейшее
преобразование
выражения тока
модулированных
колебаний,
получаем
i = IНЕС
( 1 + ΔIНЕС /
IНЕС cos
Ωt) соsωHt
= IНЕС ( 1 +
m cos Ωt)
соsωHt
.
Отношение
приращения
амплитуды тока
несущей частоты
при модуляции
ΔIНЕС к
его значению
до модуляции
IНЕС
обозначают
буквой m
и называют
коэффициентом
глубины модуляции
или глубиной
модуляции.

Рис.3. Спектр
частот при
амплитудной
модуляции
Значение коэффициента
глубины модуляции
m зависит только
от амплитуды
модулирующего
колебания.
Например, при
передаче речи
или музыки —
от громкости
звука. При линейной
модуляции
коэффициент
m прямо пропорционален
амплитуде
напряжения
модулирующего
сигнала m=
aUΩ,
где a — коэффициент
пропорциональности.
На рис. 2 приведены
временные
диаграммы
амплитудно-модулированных
колебаний при
различных
коэффициентах
модуляции m.
При m = 0 модуляции
нет. При m
= 0,5 (50%) амплитуда
напряжения
модулирующих
колебаний
такова, что
вызывает изменение
амплитуды
радиочастотных
колебаний до
половины
первоначального
значения. При
m = l ( UΩ=
Uω)
(стопроцентная
модуляция)
амплитуда
радиочастотных
колебании
увеличивается
в 2 раза. В этих
двух случаях
огибающая
амплитуд
модулированных
колебаний точно
(без искажении)
воспроизводит
форму сигнала.
При дальнейшем
увеличении
амплитуды
напряжения
сигнала m
> l (UΩ
> Uω
) получается
перемодуляция.
Во время отрицательного
полупериода
сигнала часть
колебаний
радиочастоты
срезается
(точки 1—2 на
рис. 2,б) и форма
огибающей
модулированных
колебаний
искажается.
Возникают
нелинейные
искажения
формы передаваемого
сигнала. Следовательно,
для осуществления
амплитудной
модуляции без
искажений
коэффициент
модуляции
m не должен
превышать
единицы.
Выражение для
тока амплитудно-модулированных
колебаний можно
представить
в следующем
виде:
I
=Iа
несcos
ωнеct+0,5
т Iа
нес
cos
(ωнеc
+ Ω)
t
+ 0,5 т
Iа
нес
cos
(ωнеc
- Ω)
t.
Видно,
что промодулированное
по амплитуде
колебание
является сложным
и состоит из
трех составляющих:
1) колебания
несущей частоты
ωнеc
с амплитудой
Iа
нес
, такой же, как
и до модуляции;
2) колебания с
частотой ωнеc
+ Ω и амплитудой
0,5 Iа
нес
, называемого
колебанием
верхней боковой
частоты;
3) колебания с
частотой ωнеc
- Ω и амплитудой
0,5 Iа
нес
, называемого
колебанием
нижней боковой
частоты.
Графически
спектр колебаний,
промодулированных
по амплитуде
низкочастотным
колебанием
одной частоты
Ω , можно
изобразить,
как показано
на рис. 3,а. Видно,
что при амплитудной
модуляции
одним тоном
частоты и спектр
модулированного
колебания
содержит три
гармонических
колебания —
несущую и два
боковых, каждое
из которых
находится на
расстоянии,
равном частоте
модулирующего
колебания.
Но речь или
музыка являются
сложными колебаниями.
Их можно представить
состоящими
из гармонических
колебании.
Тогда при
модуляции
сложным колебанием
модулированное
колебание
содержит столько
нижних и верхних
боковых составляющих,
сколько их
имеется в спектре
модулирующего
сигнала. В
результате
в составе
модулированного
колебания будет
две полосы
частот: нижняя
боковая и верхняя
боковая (рис.
3,б).
1.1. Полоса частот
и баланс мощностей.
Общая ширина
полосы частот
амплитудно-модулированных
колебаний равна
удвоенной
максимальной
частоте модуляции:
(ωнеc
+ Ω) - (ωнеc
- Ω) = 2 ΩМАКС.
Звуковые колебания
занимают спектр
частот 20...20000 Гц.
Однако разборчивость
речи оказывается
достаточной
при воспроизведении
полосы частот
в пределах
300...4500 Гц. При этом
полоса амплитудно-модулированного
колебания
составит 9000 Гц.
Расстояние
между несущими
частотами
соседних
радиопередатчиков
в этом случае
составляет
10 кГц (рис. 3,б).
Ширина спектра
модулирующего
сигнала определяется
соответствующими
стандартами
на каналы связи,
вещания, передатчики
и приемники.
При амплитудной
модуляции
амплитуда тока
в нагрузке
непрерывно
изменяется
от Iмин
до IMакс.
Следовательно,
и режим модулируемого
генератора
также изменяется.
В процессе
амплитудной
модуляции
различают
следующие
режимы работы
модулируемого
каскада:
режим несущей
частоты или
режим молчания,
когда генератор
радиочастоты
включен, а микрофон
не включен и
модуляция
отсутствует;
максимальный
режим или режим
максимальной
колебательной
мощности при
наибольшем
значении тока
и максимальном
коэффициенте
модуляции;
минимальный
режим или режим
минимальной
мощности при
наименьшем
токе;
режим средней
мощности за
период одного
периода модулирующего
низкочастотного
сигнала.
Для
упрощения
предположим,
что модуляция
симметричная,
линейная,
неискаженная
осуществляется
синусоидальным
напряжением.
Модулированный
по амплитуде
ток проходит
через активное
сопротивление
нагрузки RH
или антенны
Ra.
В отсутствие
модулирующего
напряжения,
т. е. в режиме
молчания,
несущее колебание
создает на
сопротивлении
нагрузки мощность
Рн=0,5I2HRH.
В процессе
модуляции
изменяется
амплитуда тока,
а следовательно,
и мощность на
нагрузке:
в минимальном
режиме PМИН=0,5
I2МИНRH
=0,5[IH(1
– m)]2RH
= Рн ( 1-m)2
,
в максимальном
режиме PMакс=0,5
I2МАКСRH
=0,5[IH(1
+ m)]2RH
= Рн ( 1+ m)2.
Из этих выражений
видно, что при
стопроцентной
(m = 1) модуляции
мощность в
максимальном
режиме в 4 раза
больше, чем в
режиме несущей
частоты. В
минимальном
режиме при m
= 1 РМИН = Рн(1-m)2=
0.
Средняя мощность
РСР, выделяющаяся
на нагрузке
за период действия
модулирующего
сигнала, складывается
из мощностей
несущего и двух
боковых колебаний:
РСР=РН –
РН.Б + РВ.Б
, РБ =0,5I2БRH=0,5( )2RH=0,5 RH=PH ,
PCP=PH
+2PБ = 0,5I2H
RH
+2(0,5( )2
R) = PH(1+0,5m2).
Отсюда видно,
средняя мощность
больше мощности
несущих колебаний
в (1+0,5m2) раз
и при 100%-ной модуляции
в полтора раза
больше ее: РCP=
1,5РH.
Мощности РH
и PCP—это
мощности за
продолжительный
промежуток
времени, в то
время как мощности
РМАКС и РМИН
имеют мгновенный
характер.
Рассматривая
график спектрального
состава модулированных
колебаний,
видим, что вся
полезная информация
о передаваемом
сигнале содержится
в боковых
составляющих.
А из полученных
выше выражений
следует, что
при m = 1 мощность
двух боковых
частот в 2 раза
меньше мощности
несущей и в 8
раз меньше
пиковой максимальной
мощности. Практически
коэффициент
модуляции
т ≈ 0,3. При этом
амплитуды тока
боковых составляющих
будут меньше
и составят
0,3IH/2,
т. е. уменьшатся
в 1/0,3 ≈ 3,3 раза, а
мощности боковых
частот уменьшатся
в 3,32 = 10 раз. Поэтому
амплитудная
модуляция
энергетически
невыгодна.
Другим недостатком
амплитудной
модуляции
является широкая
полоса частот,
занимаемая
модулированным
колебанием,
она вдвое шире
спектра модулирующего
сигнала.
Но амплитудная
модуляция имеет
важные достоинства,
обусловливающие
широкое применение
ее в массовом
радиовещании.
К ним относится
простота приемников
для приема
амплитудно-модулированных
колебаний.
В основном
амплитудная
модуляция
используется
в радиовещательных
системах длинных,
средних и коротких
волн, а также
для передачи
изображения
в телевизионных
передатчиках
метровых и
дециметровых
волн.
1.2.Способы осуществления
амплитудной
модуляции.
Анализ модулированных
по амплитуде
колебаний
показывает,
что в процессе
модуляции
появляются
новые частоты
— боковые, которых
не было на входе
модулирующего
устройства.
Новые частоты,
как известно,
могут появиться
только на выходе
устройства,
имеющего нелинейную
вольт-амперную
характеристику.
Следовательно,
для осуществления
амплитудной
модуляции
необходим
нелинейный
элемент. Такими
нелинейными
элементами
могут быть
электронные
приборы, лампы,
транзисторы,
диоды и др.,
обладающие
нелинейной
вольт-амперной
характеристикой.
Для осуществления
амплитудной
модуляции
модулирующее
напряжение
вводится в цепь
питания одного
или нескольких
электродов
электронного
прибора. При
изменении
напряжения
питания одного
электрода
модуляция
называется
простой или
одинарной. Если
же изменяется
напряжение
питания нескольких
электродов,
модуляция
называется
комбинированной.
В зависимости
от того, на какой
электрод подается
модулирующее
напряжение,
различают
следующие виды
амплитудной
модуляции:
сеточную, базовую,
анодную, коллекторную
и анодно-экранную.
2. СЕТОЧНАЯ
МОДУЛЯЦИЯ
Сеточной
модуляцией
называется
управление
колебаниями
радиочастоты
изменением
напряжения
на управляющей
сетке лампы
по закону изменения
модулирующего
сигнала.

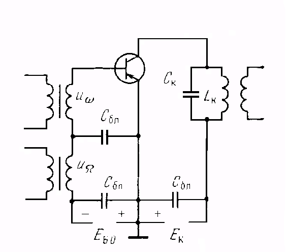
Рис.4. Схема
модуляции на
сетку смещения
Модулирующее
напряжение
можно вводить
в цепь любой
сетки—управляющей,
экранирующей
или защитной.
При модуляции
на управляющую
сетку различают
две разновидности
модуляции:
а) изменением
напряжения
смещения и б)
изменением
напряжения
возбуждения,
т. е. усилением
модулированных
колебаний.
Модуляция
изменением
смещения на
управляющей
сетке лампы
осуществляется
включением
модулирующего
напряжения
в цепь управляющей
сетки последовательно
с напряжением
смещения, как
показано на
рис. 4. В результате
такого включения
напряжений
в цепи сетки
будут действовать
три напряжения:
постоянное
напряжение
смещения ЕC,
напряжения
возбуждения
радиочастоты
uC=UCcosωt
и модулирующее
напряжение
звуковой частоты
uΩ
=UΩcosωt.

Рис.5. Графики
напряжений
и токов при
сеточной модуляции
Рассмотрим
физические
процессы в
генераторе
при модуляции
на сетку смещением.
Сначала после
включения
источника
питания в цепь
сетки включается
напряжение
смещения ЕC.
Значение его
выбирают таким,
чтобы исходная
рабочая точка
находилась
на нелинейном
участке характеристики
лампы Ia =
f(eC)
(в точке 0 на рис.
5). Затем включается
напряжение
возбуждения
несущей частоты
uC= UC
cosωt (точка
1 на оси времени
на рис. 5). При
действии в цепи
сетки двух
напряжений
в цепи анода
ток будет протекать
в виде периодической
последовательности
импульсов с
постоянной
амплитудой
и углом отсечки
θ = 90°. В составе
этих импульсов
имеется первая
гармоника
анодного тока
Ia1.
Затем включается
модулирующее
напряжение
uΩ
=UΩcosωt
(точка 2). Частота
модулирующего
напряжения
Ω во много
(десятки тысяч
раз) меньше
несущей частоты
ω. Поэтому
мгновенное
значение
модулирующего
напряжения
по сравнению
с несущей изменяется
настолько
медленно, что
за один период
несущей его
можно считать
неизменным.
Это дает возможность
еще считать,
что модулирующее
напряжение
по отношению
к напряжению
несущей частоты
проявляется
как постоянное
напряжение
смещения. Отсюда
и название:
модуляция
изменением
напряжения
смещения. Но
это напряжение
смещения изменяется
по звуковому
закону. В дальнейшем
рабочая точка
перемещается
по характеристике
лампы в соответствии
с изменением
модулирующего
напряжения.
Таким образом,
в результате
изменения
напряжения
смещения амплитуда
импульсов
анодного тока,
угол отсечки
θ , а следовательно,
и амплитуда
первой гармоники
анодного тока
изменяются
по звуковому
закону, вследствие
чего и осуществляется
амплитудная
модуляция
(точки 3, 4, 5 и 6 на
рис. 5).
3. МОДУЛЯЦИЯ
НА БАЗУ ТРАНЗИСТОРА
В
транзисторных
каскадах передатчиков
одуляция на
базу может
осуществляться
как изменением
напряжения
смещения, так
и изменением
напряжения
возбуждения.
Рис.6. Схема
базовой модуляции
смещением
Для осуществления
базовой модуляции
смещением
модулирующее
напряжение
вводится в цепь
базы транзистора
последовательно
с напряжением
смещения и
напряжением
возбуждения,
как показано
на рис. 6. Так как
для осуществления
модуляции
необходим
нелинейный
элемент, то
напряжение
смещения выбирается
таким, чтобы
рабочая точка
в исходном
режиме находилась
левее начала
характеристики
(точка А на
рис. 7,а). При этом
в цепи базы
протекает
незначительный
отрицательный
ток IБ 0
(рис. 7,а). Транзистор
закрыт, и в цепи
коллектора
ток не протекает.
Р
 ис.7.Физические
процессы при
модуляции на
базу смещением
( а,б,в)
Рис.7. Физические
процессы при
модуляции на
базу смещением
(г, д, е)
Если в цепи
базы кроме
напряжения
смещения и
напряжения
возбуждения
включено и
звуковое напряжение
uΩ
=UΩcosωt,
то результирующее
напряжение
еБ = ЕБ
0 + UΩcosωt
+ Uω
cos ωt
. Так как напряжение
звуковой частоты
изменяется
значительно
медленнее,
чем напряжение
возбуждения,
то напряжение
звуковой частоты
проявляется
по отношению
к напряжению
возбуждения,
как напряжение
смещения. Поэтому
при модуляции
рабочая точка
будет перемещаться
по характеристике,
как показано
на рис. 7,г (точки
А— A'). В
результате
изменяются
амплитуда
импульсов
коллекторного
тока и угол
нижней отсечки
θ (рис. 7,д). Поэтому
в нагрузочном
колебательном
контуре амплитуда
тока будет
изменяться
по закону звуковой
частоты (рис.
5.9,е). Ток в цепи
базы во время
положительного
полупериода
звукового
напряжения
протекает в
виде импульсов
меняющейся
полярности.
Во время отрицательного
полупериода
ток в цепи
базы—постоянный
отрицательный.
Модуляционные
характеристики
коллекторного
тока при базовой
модуляции
приведены на
рис. 8. Зависимость
первой гармоники
коллекторного
тока IK1
от напряжения
смещения EБ
называется
статической
модуляционной
характеристикой.
Она имеет нижний
и верхний изгибы
за счет изгибов
статических
характеристик
транзистора.
На основном
рабочем участке
статические
модуляционные
характеристики
практически
прямолинейны.

Рис.
8. Модуляционные
характеристики
коллекторного
тока при базовой
модуляции
смещением
Рабочую точку
в режиме молчания
надо выбирать
на середине
прямолинейного
участка модуляционной
характеристики,
что достигается
выбором соответствующего
напряжения
смещения ЕБ.
В режиме максимальной
мощности генератор
работает в
оптимальном
режиме (точка
Iк1 макс
на рис. 8). Как видно
из характеристик,
модулируемый
генератор при
базовой модуляции
все время работает
в недонапряженном
режиме, достигая
оптимального
режима только
в моменты максимумов
звукового
напряжения.
Поэтому КПД
коллекторной
цепи генератора
при базовой
модуляции
смещением
низкий, что
ограничивает
применение
этого вида
модуляции.
Базовая модуляция
находит применение
в качестве
элемента
комбинированной
коллекторной
модуляции.
При базовой
модуляции
возбуждением
по закону изменения
модулирующего
напряжения
изменяется
амплитуда
напряжения
в цепи базы, а
напряжение
базового смещения
и коллекторное
напряжение
не изменяются.
При этом происходит
усиление
модулированных
колебаний.
Поэтому она
возможна в
режимах колебаний
класса В, так
и в режиме колебаний
класса А. Однако
режим колебаний
класса А из-за
низкого КПД
применять
нецелесообразно.
Достоинство
базовой модуляции
возбуждением
в том, что модуляционная
характеристика
при соответствующем
выборе режима
генератора
может быть
более линейной,
чем при базовой
модуляции
смещением.
Кроме того, при
выборе угла
отсечки θ =90°
можно получить
углубление
модуляции, то
есть в коллекторной
цепи 100%-ную модуляцию
при глубине
модуляции в
базовой цепи
меньше единицы.
4. УСИЛЕНИЕ
МОДУЛИРОВАННЫХ
КОЛЕБАНИЙ
В тех радиопередающих
устройствах,
в которых сеточная
модуляция
осуществляется
в одном из
промежуточных
каскадов,
последующие
каскады работают
в режиме усиления
модулированных
колебания.
Таком принцип
построения
передающего
устройства
используется
при построении
маломощных
связных и вещательных
передатчиков.
Для усиления
модулированных
колебаний
используются
генераторы
с внешним
возбуждением,
на управляющую
сетку лампы
которых подастся
промодулированное
по амплитуде
напряжение
uВХ =UВХ.НЕС
(1+mВХcosΩt)cosωН.
При неискаженном
усилении амплитуда
первой гармоники
выходного
тока
IВЫХ1
= IВЫХ.НЕС(1+mВЫХcosΩt)
.
Неискаженное
усиление
модулированных
колебаний
просто осуществляется
при работе
каскада в режиме
класса А. Однако
при m =1 неискаженное
усиление
модулированных
колебании можно
получить и
при угле отсечки
анодного тока
θ =90°.

Рис.
9. Углубление
модуляции в
усилителе
модулированных
колебаний
Статические
модуляционные
характеристики
усилителя
модулированных
колебаний
Ia1=f(UC)
или Iа0=f(UC)оказываются
линейными
только при
работе генератора
в недонапряжённом
режиме и имеют
изгиб при переходе
генератора
в перенапряженный
режим. А поскольку
усилитель
модулированных
колебаний
должен работать
в недонапряженном
режиме, то его
энергетические
показатели
и параметры
качества практически
такие же, как
и при модуляции
изменением
напряжения
смещения. Поэтому
такой режим
называют модуляцией
на управляющую
сетку изменением
амплитуды
напряжения
возбуждения.
При выборе угла
отсечки анодного
тока θ < 90° статическая
модуляционная
характеристика
Ia1=f(UC)
начинается
правее начала
координат. В
таком режиме
возможно углубление
модуляции:
mвых > mвх
(рис. 9). С уменьшением
θ углубление
возрастает,
однако при этом
возрастают
нелинейные
искажения.
Усиление
модулированных
колебаний в
режиме с углом
отсечки θ = 90°
широко применяют
в однополосных
передатчиках.
Принципиальная
схема усилителя
амплитудно-модулированных
колебаний
(УМК) приведена
на рис. 9. Поскольку
на вход УМК
подаются
радиочастотные
колебания с
изменяющейся
амплитудой,
схемы УМК не
отличаются
от схем обычных
генераторов
с внешним
возбуждением.
Усилители
модулированных
колебаний
целесообразно
использовать
в мощных многокаскадных
передатчиках,
в которых применять
сеточную модуляцию
в мощном выходном
каскаде неэкономично.
В таких передатчиках
можно, осуществив
неглубокую
модуляцию
в одном из маломощных
промежуточных
каскадов, путем
углубления
в последующих
усилителях
модулированных
колебании
довести ее до
нормальной.
Overview
Data
Graph1
Graph2
Sheet 1: Data
| UΩ |
0 |
1 |
2 |
3 |
4 |
5 |
6 |
7 |
8 |
| m |
0 |
0.2 |
0.44 |
0.6 |
0.82 |
0.9 |
1 |
1 |
1 |
|
|
|
|
|
|
|
|
|
|
| FΩ |
50 |
1000 |
2000 |
4000 |
10000 |
15000 |
17000 |
19000 |
20000 |
| m |
0.3 |
0.7 |
0.75 |
0.73 |
0.35 |
0.2 |
0.14 |
0.13 |
0.09 |
Sheet 2: Graph1
Sheet 3: Graph2
Лабораторная
работа № 4
ИССЛЕДОВАНИЕ
работы модуляторов
Скрипка
А.В. ИСТ-001ДУ
Цель работы
1. Научиться
исследовать
и анализировать
работу амплитудного,
амплитудно-импульсного
и частотного
модуляторов.
2. Получить
опыт моделирования
АМ-модуляторов.
Оценить влияние
дестабилизирующих
факторов на
работу модуляторов.
3. Получить
опыт моделирования
АИМ-модуляторов.
Оценить влияние
дестабилизирующих
факторов на
работу модуляторов.
4. Получить
опыт моделирования
ЧМ-модуляторов.
Оценить влияние
дестабилизирующих
факторов на
работу модуляторов.
4. Приобрести
опыт работы
с автоматизированной
системой
конструирования
на базе интерактивной
программы
Electronics
Workbench
для схемотехнического
моделирования
аналоговых
и цифровых
радиоэлектронных
устройств
формирования
и генерирования
сигналов различного
назначения.
Содержание
работы
Моделирование
амплитудного
модулятора.
Моделирование
амплитудно-импульсного
модулятора.
Моделирование
частотного
модулятора.
Изучение
физических
процессов в
схемах модуляторов.
Порядок
выполнения
работы
Одним из
основных элементов
устройств
формирования
и генерирования
сигналов является
модулятор.
1. Наиболее
простой вид
модуляции –
амплитудная
модуляция.
Модуляция по
амплитуде,
осуществляемая
в амплитудном
модуляторе,
сводится к
перемножению
модулирующего
сигнала Y(t)
и несущего
X(t)
сигнала.
После перемно-жения
и тригонометрических
преобразований
получим результирующее
колебание.

Рис.
1. Схема амплитудного
модулятора
Изменение
амплитуды
радиочастотных
колебаний
математически
можно выразить
следующим
образом. Уравнение
тока в антенне
или в выходной
цепи модулируемого
каскада до
модуляции имеет
вид Х = IНЕСсоsωHt.
Это колебание
называется
несущим. В процессе
модуляции
амплитуда тока
IНЕС
получает приращение
ΔIНЕС,
причем это
приращение
изменяется
по закону изменения
модулирующего
сигнала Y=ΔIНЕС
cos
Ωt.

Рис.
Амплитуда
модуляции
Тогда выражение
тока радиочастоты
при модуляции
принимает вид
Z = (
IНЕС
+ ΔIНЕС
cos
Ωt)
соsωHt.
Выполняя
дальнейшее
преобразование
выражения тока
модулированных
колебаний,
получаем
Z = IНЕС
( 1 + ΔIНЕС
/ IНЕС
cos
Ωt)
соsωHt
= IНЕС
( 1 + m
cos
Ωt)
соsωHt
.
Отношение
приращения
амплитуды тока
несущей частоты
при модуляции
ΔIНЕС
к его значению
до модуляции
IНЕС
обозначают
буквой m
и называют
коэффициентом
глубины модуляции
или глубиной
модуляции.
Модель
амплитудного
модулятора
содержит двухвходовой
линейный суммирующий
усилитель OU,
источник постоянного
напряжения
Е, два источника
переменного
синусоидального
напряжения
G1,
G2
(эффективное
значение напряжения,
частота , фаза),
аналоговый
умножитель
Х. Осцилограммы
амплитудно-модулированного
и модулирующего
сигналов отображены
на экране
осциллографа.
Коэффициент
глубины модуляции
m
определяется
непосредственно
по осциллограме
2.
Кроме амплитудной
модуляции с
гармонической
несущей, в системах
управления
и многоканальных
устройствах
связи широко
используются
разнообразные
виды импульсной
модуляции.
Наиболее простой
из них является
амплитудно-импульсная
(АИМ), которая
чаще всего
используется
при реализации
более сложных
видов импульсной
модуляции
(время-импульсной,
фазоимпульсной,
частотно-импульсной
и т.п.).
Р ис.2.
Схема амплитудно-импульсного
модулятора

Рис.
Амплитудно-импульсная
модуляция
При
амплитудно-импульсной
модуляции в
соответствии
с изменением
модулирующего
сигнала изменяется
амплитуда
импульсов.
Периодическая
последовательность
импульсов при
этом выполняет
роль несущего
колебания. В
амплитудно-импульсном
модуляторе
производится
модуляция
импульсов по
закону изменения
амплитуды
модулирующего
сигнала.
Рассматриваемая
схема амплитудно-импульсного
модулятора
(рис. 3) содержит
двухвходовой
линейный суммирующий
усилитель OU1
и двухвходовой
линейный
сумматор-выпрямитель
OU2;
в качестве
несущей используется
однополярная
(положительной
полярности)
последовательность
прямоугольных
импульсов с
параметрами,
определяемыми
настройками
функционального
генератора
(рис. 3), источник
постоянного
напряжения
Е, источник
переменного
синусоидального
напряжения
G
(эффективное
значение напряжения,
частота , фаза).
Осцилограмма
амплитудно-импульсного
сигнала отображена
на экране
осциллографа.
3.Другим
распространенным
типом модуляции
является угловая
модуляция.
Такое название
является общим
для частотной
и фазовой модуляции.
Связь между
ними формулируется
следующим
образом : изменение
частоты во
времени по
закону ω(t)
эквивалентно
изменению
полной фазы
по закону интеграла
от ω(t),
а изменение
полной фазы
по закону φ(t)
эквивалентно
изменению
частоты по
закону производной
от φ(t).
Это положение,
являющееся
основным в
теории угловой
модуляции,
определяет
связь между
изменениями
частоты и фазы
и указывает
на общность,
существующую
между двумя
разновидностями
угловой модуляции
— модуляцией
частоты (ЧМ) и
модуляцией
фазы (ФМ).

Рис. 3.
Схема импульсного
частотного
детектора

Рис. Импульсно
частотный
характеристика |