Натуральные и химические волокна
Основным исходным материалом для получения текстильных изделий являются волокна.
Их можно разделить на несколько грыпп.
Натуральные волокна или
природные волкна разделяются на текстильные
волокна
растительного (напр., хлопок, лен, пенька), животного (шерсть, натуральный шелк) и минерального (асбест) происхождения, пригодные для изготовления пряжи.
Химические волокна, получают из продуктов химической переработки природных полимеров (искусственного волокна) или из синтетических полимеров (синтетического волокна). Производство (т. н. формование) волокон химических обычно заключается в продавливании раствора или расплава полимера через отверстия фильеры в среду, которая вызывает затвердевание образовавшихся тонких волокон. Такой средой при формовании из расплавов служит холодный воздух, из растворов горячий воздух («сухой» способ) или специальный раствор, т. н. осадительная ванна («мокрый» способ). Выпускаются в виде мононити, штапельного волокна или пучка из множества тонких нитей, соединенных путем крутки.
НАТУРАЛЬНЫЕ ВОЛОКНА раститнльного происхождения можно разделить на две группы
:
хлопковые или хлопчатобумажные и лубяные волокна. Хлопком обычно называют волокна, покрувающие семена растения хлопчатника. Лубяными называют волокна, содержащиеся в стеблях, листьях и оболочке плодов различных растений. Наиболее распространены следующие виды лубяных волокон
:
лён, пенька(волкно конопли),джут и др.
ХЛОПОК, волокна, покрывающие семена хлопчатника. При его созревании плоды (коробочки) раскрываются, и из них собирают т. н. хлопок-сырец (волокно с неотделенными семенами).В коробочке содержатся семена, покрытые целлюлозными волокнами,которые могут быть длинными или короткими.Поэтому хлопок называют длинноволокнистым или коротковолокнистым.От этого зависит качество выпыскаемых из хлопка материалов.При переработке от семян отделяют хлопок-волокно (волокна длиной более 20 мм), пух (менее 20 мм) и подпушек (менее 5 мм). Из хлопка вырабатывают ткани, трикотаж, нити, вату и др. Пух и подпушек хлопка применяют в химической промышленности как сырье для изготовления искусственного волокна и нитей, пленки, лаков и т. п.Хлопок устойчив по отношению к щелочам,но разлогаетсь под действием кислот.
Забиваем Сайты В ТОП КУВАЛДОЙ - Уникальные возможности от SeoHammer
Каждая ссылка анализируется по трем пакетам оценки: SEO, Трафик и SMM.
SeoHammer делает продвижение сайта прозрачным и простым занятием.
Ссылки, вечные ссылки, статьи, упоминания, пресс-релизы - используйте по максимуму потенциал SeoHammer для продвижения вашего сайта.
Что умеет делать SeoHammer
— Продвижение в один клик, интеллектуальный подбор запросов, покупка самых лучших ссылок с высокой степенью качества у лучших бирж ссылок.
— Регулярная проверка качества ссылок по более чем 100 показателям и ежедневный пересчет показателей качества проекта.
— Все известные форматы ссылок: арендные ссылки, вечные ссылки, публикации (упоминания, мнения, отзывы, статьи, пресс-релизы).
— SeoHammer покажет, где рост или падение, а также запросы, на которые нужно обратить внимание.
SeoHammer еще предоставляет технологию Буст, она ускоряет продвижение в десятки раз,
а первые результаты появляются уже в течение первых 7 дней.
Зарегистрироваться и Начать продвижение
ЛЁН, род одно- и многолетних трав и кустарников семейства льновых, прядильная и масличная культура. Возделывают в основном лен-долгунец в стеблях 20-28% волокна, и лен масличный, или лен-кудряш, в семенах 35-52% льняного масла. Льняные волокна получают из лубяного стебля льна. Это первое волокно,котороё человек научился получать уже в каменном веке. Длинные льняные волокна состоят из целлюлозы.ЛЁН – самое прчное натуральное волокно.Поэтому он используется в произаодстве прочных нитей, тканей для парусов, а ввиду хороших гигиенических свойств льняные ткани ткани используют для изготовления белья.
ШЕРСТЬ
–
это волокна, получаемые при стрижке
овец, коз, верблюдов и других животных.
Качество шерсти зависит от толщины поперечного сечения и длины шерстяных
волокон.
Основную массу перерабатываемой в промышленности шерсти составляет овечья. Виды волокон шерсти: пух
-
наиболее ценное тонкое, мягкое извитое волокно
;
переходный волос,
т
о
е
сть более толстое, жесткое и менее извитое, чем пух; «мертвый волос» малопрочн
ое
и жестк
ое волкно
. Из шерсти вырабатывают пряжу, ткани, трикотаж, валяльно-войлочные изделия и др.
Шерсть чувствительна к действию щелочей, которые делают её хрупкой, а по отношению к кислотам, она наоборот,устойчива.По химическому составу шерсть представляет из себя белковое вещесиво.При горении шерсти выделяется характерный запах жженого пера.
ШЕЛК
, натуральная текстильная нить животного происхождения; продукт, выделяемый железами гусениц шелкопрядов. При совместной размотке нескольких коконов получают шелк-сырец, из которого вырабатывают крученый шелк, применяемый для изготовления тканей, трикотажа, швейных ниток. Отходы перерабатывают в пряжу для технических и других тканей.
По химическому составу шелк представляет из себя белковое вещество. Мягкие, блнстящие, красивые наа вид изделия из шелка обладают,однако, низкой износостойкостью и высокой себестоимостью.
ХИМИЧЕСКИЕ ВОЛОКНА,
получают из продуктов химической переработки природных полимеров (искусственного волокна) или из синтетических полимеров (синтетического волокна). ПОЛИМЕРЫ (от поли... и греч. meros доля, часть), вещества, молекулы которых (макромолекулы) состоят из большого числа повторяющихся звеньев; молекулярная масса полимеров может изменяться от нескольких тысяч до многих миллионов. По происхождению полимеры делят на природные, или биополимеры (напр., белки, нуклеиновые кислоты, натуральный каучук), и синтетические (напр., полиэтилен, полиамиды, эпоксидные смолы), получаемые методами полимеризации и поликонденсации. По форме молекул различают линейные, разветвленные и сетчатые полимеры, по природе органические, элементоорганические, неорганические полимеры. Для линейных и разветвленных полимеров характерен комплекс специфических свойств, напр. способность образовывать анизотропные волокна и пленки, а также существовать в высокоэластичном состоянии. Полимеры основа пластмасс, химических волокон, резины, лакокрасочных материалов, клеев, ионитов. Из биополимеров построены клетки всех живых организмов. Термин «полимеры введен Й. Я. Берцелиусом в 1833.
Сервис онлайн-записи на собственном Telegram-боте
Попробуйте сервис онлайн-записи VisitTime на основе вашего собственного Telegram-бота:
— Разгрузит мастера, специалиста или компанию;
— Позволит гибко управлять расписанием и загрузкой;
— Разошлет оповещения о новых услугах или акциях;
— Позволит принять оплату на карту/кошелек/счет;
— Позволит записываться на групповые и персональные посещения;
— Поможет получить от клиента отзывы о визите к вам;
— Включает в себя сервис чаевых.
Для новых пользователей первый месяц бесплатно.
Зарегистрироваться в сервисе
Производство (т. н. формование) волокон химических обычно заключается в продавливании раствора или расплава полимера через отверстия фильеры в среду, которая вызывает затвердевание образовавшихся тонких волокон. Такой средой при формовании из расплавов служит холодный воздух, и
з
растворов горячий воздух («сухой» способ) или специальный раствор, т. н. осадительная ванна («мокрый» способ). Выпускаются в виде мононити, штапельного волокна или пучка из множества тонких нитей, соединенных путем крутки.
С годами природные волокнп перестали в полной мере удовлетворять человека, поэтому учёные всего мира трудились над тем,чтобы найти им замену.Более трёхсот лет назад (в 1655 году) выдающийся английский физик Роберт Гук опубликовал трактат, в котором было такое высказывание
:”
Возможно,по – видимому,найти пути искусственно получить клейкую массу,аналогично тому, как она образуется у шелковичного червя… Если такая масса будет найдена,то повидимому,более лёгкой задачей будет найти путь вытягивания этой массы в тонкие нити…
”
Но только в 1884 году ученику Луи Пастера французскому изобретателю Илэру де Шардоннэ удалось получить искуственнык волокна.Самые распространённые виды искусственных волокон получают путём переработки целлюлозы. Шардоннэ впервые решил перевести с помощью растворителя целлюлозу в раствор и из этого растаора получить новоё волокно. Для этого он продавливал полученною жидкую массу черкз тонкие отверстия.Для получения волокон раствор или расплав полимера прдавливают через тончайшие отверстия прядильной фильеры.Из полученных волокон прядут нити,идущие на изгоьовление текстильных изделий.
При обработке отходов древесины и опилок выделяется целлюлоза.В процессе получения вискозного волокна целлюлозу обрабатывают реактивами (
NaOH и CS
2
).
ВИСКОЗНОЕ ВОЛОКНО
, искусственное волокно, формуемое из вискозы; состоит из гидратцеллюлозы. Легко окрашивается, гигроскопично; недостатки большая потеря прочности в мокром состоянии, легкая сминаемость, низкая износостойкость устраняются модифицированием вискозного волокна . Благодаря доступности сырья и низкой стоимости реагентов производство вискозного волокна высокоэкономично. Применяется (иногда в смеси с другими волокнами) для выработки одежных тканей, трикотажа, корда.
В процессе получения ацетатных волокон целлюлозу обрабатывают ангидридом уксусной кислоты, полученный ацетат целлюлозы растворяется в ацетоне и продавливается через фильеры.
ПОЛИНОЗНОЕ ВОЛОКНО
, вискозное волокно специфической структуры. Отличается высокой прочностью и стабильностью формы, мало изменяющимися в воде и щелочах, незначительной сминаемостью; недостаток хрупкость. Применяется вместо тонковолокнистого хлопка для изготовления тканей различного назначения.
АЦЕТАТНЫЕ ВОЛОКНА
, искусственные волокна, формуемые из растворов триацетата целлюлозы (триацетатное волокно) и продукта его частичного омыления (собственно ацетатные волокна). Мягкие, эластичные, мало сминаются, пропускают ультрафиолетовые лучи; недостатки: невысокая прочность, низкая термо- и износостойкость, значительная электризуемость. Применяются главным образом в производстве изделий народного потребления, напр. белья. Мировое производство ок. 610 тыс. т.
Сырьём в производстве синтетических волокон являются синтетические волкнообразующие полимеры,которые полкчают в результате химического синтеза из нефти,каменного угля или природного газа.
Процесс получения синтетических волокон сопровождается образованием высокомолекулярных соединений. Расплавленный полимер или расивор полимера прдавливается сквозь мельчайшие отверстия прядильной фильеры. Так выпускаются,например,
ПОЛИАМИДНОЕ ВОЛОКНО
, синтетическое волокно, формуемое из расплавов или растворов полиамидов. Прочно, эластично, устойчиво к истиранию, многократному изгибу и действию многих химических реагентов; недостатки малая гигроскопичность, повышенная электризуемость, невысокая термо- и светостойкость. Применяется в производстве тканей, трикотажа, шинного корда, фильтровальных материалов и др. Основные торговые названия: из поликапроамида капрон, нейлон-6, перлон, дедерон, амилан, стилон; из полигексаметиленадипинамида анид, нейлон-6,6, родианайлон, ниплон. ПОЛИЭФИРНОЕ ВОЛОКНО, синтетическое волокно, формуемое из расплава полиэтилентерефталата или его производных. Достоинства незначительная сминаемость, отличная свето- и атмосферостойкость, высокая прочность, хорошая стойкость к истиранию и к органическим растворителям; недостатки трудность крашения, сильная электризуемость, жесткость устраняется химическим модифицированием. Применяется, напр., в производстве различных тканей, искусственного меха, канатов, для армирования шин. Основные торговые названия: лавсан, терилен, дакрон, тетерон, элана, тергаль, тесил. ПОЛИАКРИЛОНИТРИЛЬНОЕ ВОЛОКНО (акриловое волокно), синтетическое волокно, формуемое из растворов полиакрилонитрила или его производных. По многим свойствам близко к шерсти, устойчиво к свету и другим атмосферным агентам, кислотам, слабым щелочам, органическим растворителям. Из полиакрилонитрильного волокна изготовляют верхний и бельевой трикотаж, ковры, ткани. Основные торговые названия: нитрон, орлон, акрилан, кашмилон, куртель, дралон, вольпрюла.
¨ Привиду наиболее распространённые материалы каждого вида волокна.
ТРИКОТАЖ
(вискозноё волокно)
(франц. tricotage, от tricoter вязать), текстильное изделие или полотно, полученное из одной или многих нитей путем образования петель и их взаимного переплетения. По структуре трикотаж подразделяется на поперечновязаный (кулирный) и продольновязанный (основовязаный), одинарный и двойной (более плотный и тяжелый), гладкий и рисунчатый. Трикотаж используется для изготовления одежды, сетей, технических и медицинских изделий и т. п.
КАПРОН
или
ПОЛИКАПРОАМИД (поликапролактам), [-NH(CH2
)5
CО-]n
, синтетический полимер, продукт полимеризации капролактама; твердое вещество белого цвета. Отличается высокой механической прочностью, износостойкостью, химической устойчивостью. Применяется в производстве полиамидного волокна, пленки, машиностроительных деталей.
ЛАВСАН
или
полиэтилентерефталата
(полиэфирное волокно
), [-CH2
-CH2
OC(O)C6
H4
OC(O)-]n
, синтетический полимер, продукт поликонденсации этиленгликоля с терефталевой кислотой; твердое бесцветное вещество. Прочен, износостоек, хороший диэлектрик. Применяется главным образом в производстве полиэфирного волокна, а также пленок, радиодеталей, химического оборудования.
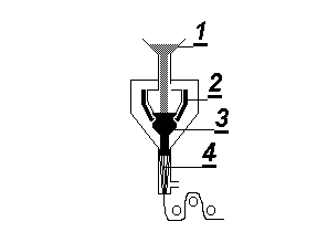
ПРЯДИЛЬНАЯ ФИЛЬЕРА

Использованная литература
1. Химия для 9 класса. Таллинн « Коолибри » 1998
2. Мега инцеклопедия Кирила и Мефодия.
|