1.
2.
Водохозяйственный комплекс и его основные элементы, принципиальное устройство
Водохозяйственный комплекс – это совокупность различных отраслей хозяйства, совместно использующих водные ресурсы одного водного бассейна.
В нашей стране создан и функционирует мощный водохозяйственный комплекс, обеспечивающий удовлетворение потребностей в воде промышленности, водного транспорта, гидроэнергетики, сельского хозяйства, питьевого водоснабжения. Основу комплекса в настоящее время составляют 65 тыс. объектов гидротехнического назначения, 36 тыс. водозаборных и сбросных сооружений, 29 тыс. водохранилищ, прудов, накопителей жидких отходов с напорными гидротехническими сооружениями (ГТС). Для защиты населенных пунктов, объектов экономики и сельхозугодий построено около 10 тысяч км защитных инженерных сооружений -
водооградительных дамб и обвалований с системами дренажа, насосными станциями, аварийными водовыпусками /2/.
В системе водного хозяйства промышленность выступает как один из крупнейших потребителей воды, предъявляющий различные требования к ее качеству и количеству.
Для промышленного водопотребления характерны большие объемы водопотребления и водоотведения; незначительный процент безвозвратного водопотребления; значительная зависимость водозабора от технологии производства и системы водоснабжения; разнообразия функций использования воды; равномерность потребления воды в течение года; высокий удельный вес в загрязнении источников воды.
Промышленность – один из наиболее ответственных потребителей, требующих высокой надежности подачи воды. Расчет обеспеченности водоподачи для промышленности составляет 95-97% (по числу бесперебойных лет) /2/.
Промышленные стоки ухудшают качество воды в водохранилище. Большой удельный вес в загрязнении воды имеют сточные воды предприятий нефтяной, металлургической, целлюлозно-бумажной и пищевой промышленности. Для уменьшения вредного воздействия сточных вод, необходимо совершенствование методов очистки.
Водохозяйственный комплекс крупных предприятий, как правило, включает в себя сооружения для очистки сточных вод. Эти сооружения служат для снижения концентрации загрязняющих веществ до ПДК.
Забиваем Сайты В ТОП КУВАЛДОЙ - Уникальные возможности от SeoHammer
Каждая ссылка анализируется по трем пакетам оценки: SEO, Трафик и SMM.
SeoHammer делает продвижение сайта прозрачным и простым занятием.
Ссылки, вечные ссылки, статьи, упоминания, пресс-релизы - используйте по максимуму потенциал SeoHammer для продвижения вашего сайта.
Что умеет делать SeoHammer
— Продвижение в один клик, интеллектуальный подбор запросов, покупка самых лучших ссылок с высокой степенью качества у лучших бирж ссылок.
— Регулярная проверка качества ссылок по более чем 100 показателям и ежедневный пересчет показателей качества проекта.
— Все известные форматы ссылок: арендные ссылки, вечные ссылки, публикации (упоминания, мнения, отзывы, статьи, пресс-релизы).
— SeoHammer покажет, где рост или падение, а также запросы, на которые нужно обратить внимание.
SeoHammer еще предоставляет технологию Буст, она ускоряет продвижение в десятки раз,
а первые результаты появляются уже в течение первых 7 дней.
Зарегистрироваться и Начать продвижение
ПДК – это предельно допустимая концентрация загрязняющих веществ -
утверждённый в законодательном порядке санитарно-гигиеническийнорматив.Под ПДК понимается такая концентрация химических элементов и их соединений в окружающей среде, которая при повседневном влиянии в течение длительного времени на организм человека не вызывает патологических изменений или заболеваний, устанавливаемых современными методами исследований в любые сроки жизни настоящего и последующего поколений.
Сточные воды, проходя через очистные сооружения попадают в общегородскую канализационную сеть или в водный объект. Именно поэтому необходимы эффективные и надежные очистные сооружения, которые будут позволять безопасное использование воды в дальнейшем.
В зависимости от того, куда поступает вода после очистных сооружений – в водоем или в канализационную сеть для повторного использования – выделяют 2 основных системы водообеспечения: прямоточная и оборотная.
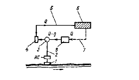
1.1 Прямоточная система водообеспечения (рис. 1)
В прямоточной системе водообеспечения вода, забираемая из водоема, используется однократно, а затем обратно возвращается в водоем. Для этой системы характерно последовательное использование воды в нескольких производственных процессах. Например, в строительстве таким образом производят сначала охлаждение оборудования, затем промывку аппаратов, а на заключительной стадии вода идет на приготовление растворов. В этом случае отработанная вода загрязняется, как правило, минеральными и органическими веществами.

Рис. 1 Схема прямоточного водоснабжения:
1 – водоприемник с совмещенной насосной станцией; 2 – водоводы; 6 – цех, где вода используется для охлаждения; 9 – водонапорная башня; 10 – канализационные очистные сооружения
1.2 Оборотная система водообеспечения (рис. 2)
Оборотная система водообеспечения предполагает повторное использование водных ресурсов. То есть, вода, отработанная на предприятии, проходит очистку на специальных сооружениях, охлаждается, а затем поступает в канализационную сеть и используется повторно. Таким образом, происходит потребление воды «по кругу». Оборотные системы предназначены, в основном, на производстве для охлаждения горячих жидкостей водой, находящейся в замкнутом цикле. Отработанная вода до очитки может содержать ионы тяжелых металлов, взвешенные вещества, нефтепродукты и синтетические поверхностно активные вещества. Эти соединения наиболее опасны и токсичны, поэтому сточные воды в данном случае требуют еще более тщательной очистки. Оборотная вода должна быть безопасна для дальнейшего использования, не вызывать коррозию оборудования, не способствовать образованию карбонатных отложений в трубопроводах.
Сервис онлайн-записи на собственном Telegram-боте
Попробуйте сервис онлайн-записи VisitTime на основе вашего собственного Telegram-бота:
— Разгрузит мастера, специалиста или компанию;
— Позволит гибко управлять расписанием и загрузкой;
— Разошлет оповещения о новых услугах или акциях;
— Позволит принять оплату на карту/кошелек/счет;
— Позволит записываться на групповые и персональные посещения;
— Поможет получить от клиента отзывы о визите к вам;
— Включает в себя сервис чаевых.
Для новых пользователей первый месяц бесплатно.
Зарегистрироваться в сервисе

Рис.2 Схема оборотного водоснабжения:
1 – водоприемник, совмещенный с насосной станцией (НС); 2 – водоводы; 3 – сборный колодец; 4 – циркуляционная насосная станция; 5 – внутризаводской водовод; 6 – цех, где вода используется для охлаждения; 7 – сбросной трубопровод; 8 – охладитель
3.
Пути рационального использования воды и современные методы очистки стоков
2.1 Пути рационального использования воды
Уменьшение объема сточных вод возможно при оборотном и повторном водоснабжении. Эти системы водоснабжения – элементы безотходной технологии, а, следовательно, рационального использования ресурсов и бережного отношения к природе.
Применение бессточных технологий – один из путей экономии свежей воды в промышленности. Внедрение бессточных технологий устраняет загрязнение водоемов сточными водами. Исчезает необходимость разбавления сточных вод.
Для промышленных целей рационально использование не только очищенных сточных вод, но и морских вод в прибрежных районах. Стимулом для снижения водопотребления, внедрения прогрессивных технологий и систем водоснабжения послужило внедрение платы за воду.
Мероприятия по охране природных ресурсов должны основываться на основе схем комплексного использования водоема и охраны водных ресурсов бассейна. Система мероприятий по охране вод включает создание прибрежных водоохранных зон по берегам рек и крупных каналов, охрану водоемов и водотоков от загрязнения и истощения, мелиорацию водоемов (очистку от сапропеля, разведение растительноядных рыб), охрану подземных вод.
Мероприятия по охране водных ресурсов разрабатывают в комплексе с другими природоохранными мероприятиями бассейна или региона. На гидромелиоративных системах и прилегающих территориях предусматривают охрану вод от загрязнения и истощения с учетом принятия санитарно-гигиенических норм и правил (СанПиН).
Важное место в предохранении гидроресурсов от загрязнений (под загрязнением понимают накопление в воде различных химических соединений /3/) принадлежит несомненно очистным сооружениям. Очистные сооружения бывают разных типов в зависимости от основного способа обезвреживания нечистот. Основные способы обезвреживания и очистки сточных вод рассмотрены ниже.
2.2 Основные способы очистки сточных вод
Типовая схема очистки сточных вод крупных предприятий (рис. 3) происходит, как правило, по следующей схеме.
Изначально проводится очистка сточных вод внутри цеха (локальная очистка). На этом этапе происходит извлечение из отработанной воды щлама, легко оседающих, всплывающих веществ. Для этого используются нефтеловушки и отстойники. Извлеченный шлам и другие вещества утилизируют, либо ликвидируют.
После этого этапа по общезаводскому коллектору стоки направляются в городскую канализацию и далее на муниципальные очистные сооружения.

Рис. 3 Типовая схема очистки сточных вод
Большинство крупных предприятий имеют собственные очистные сооружения. В этом случае сточные воды после очистки от шлама и легко всплывающих и оседающих веществ поступают на сооружения механической очистки.
Механическая очистка
всегда входит в комплекс очистных сооружений. Она применяется для выделения из сточных вод нерастворимых минеральных и органических примесей. При этом предварительно производится дробление твердых компонентов (цементные и глиняные комья, камни). В результате механической очистки обеспечивается снижение минеральных взвешенных веществ до 90 %, а органических веществ до 20 % /4/. В комплекс сооружений механической очистки входят решетки, различного вида уловители, отстойники, фильтры, циклоны, центрифуги.
Число рабочих единиц любых сооружений механической очистки должно быть не менее 2, а число отстойников – не менее 4 с целью обеспечения надежной работы очистной станции /4/. Повышение эффективности работы сооружений механической очистки сточных вод позволяет сократить объемы последующих сооружений и значительно снизить капитальные и экплуатационные затраты.
В зависимости от требуемой степени очистки очистные станции могут дополнятся сооружениями, основанными на физических, физико-механических, физико-химических, химических или биологических методах.
Наиболее распространенным способом физико-механической очистки
является флотация. Он основан на поглощении примесей, содержащихся в отработанной воде, пеной. Для этого в сточной воде искусственным путем создают пузырьки воздуха, которые затем всплывают и аккумулируют на своей поверхности загрязняющие вещества. Пузырьки, всплывая, образуют пену, которая удаляется вместе со всеми вредными компонентами и ликвидируется.
Физико-химические методы
применяются для очистки сточных вод от мелкодисперсных (0,1–10 мкм) и коллоидных (0,001–0,1 мкм) примесей /3/, а также кислот, оснований и некоторых ионов, солей и тяжелых металлов. Это необходимо для защиты от коррозии материалов водоотводных сетей и очистных сооружений, а также для предварительной очистки воды перед поступлением ее в сооружения биологической очистки. В практике широко получил распространение метод взаимной нейтрализации кислот и щелочей, содержащихся в сточных водах, а также нейтрализация сточных вод специальными реагентами. Также часто применяют в физико-химических методах очистки сточных вод коагуляцию, экстракцию, сорбцию и другие способы.
Биологическая очистка
сточных вод основана на процессе биологического окисления органических соединений, содержащихся в сточных водах. Биологическое окисление осуществляется сообществом микроорганизмов, которое включает бактерии и простейших. Для биологической очистки вод используют поля орошения, фильтрации, биологические пруды и другие сооружения. На полях орошения очистка происходит за счет жизнедеятельности аэробных почвенных микроорганизмов. В биологических прудах процесс очистки происходит за счет аэрации (перемешивания водной массы с атмосферным воздухом), а также за счет окисления растворенных в воде веществ гидробионтами. Обширное применение в практике получили биофильтры и аэротенки.
Аэротенки представляют собой достаточно глубокие (от 3 до 6 м) резервуары, снабженные устройствами для аэрации. Здесь обитают колонии микроорганизмов, расщепляющие органические вещества. После аэротенков очищенная вода попадает в отстойники, где происходит осаждение активного ила для последующего частичного возвращения его в аэротенк. Кроме того, на подобных сооружениях устраиваются специальные емкости, в которых ил «отдыхает» (регенерируется).
Биофильтр в простейшем исполнении представляет собой резервуар, заполненный крупнозернистым материалом, на частицах которого закрепляются микроорганизмы. То есть, в отличие от аэротенка, аэробные бактерии расположены здесь на стационарно размещенных носителях. Биофильтры проще аэротенков в эксплуатации, более надежны и способны переносить периодические перегрузки по загрязнению и объему сточных вод.
Все вышеперечисленные методы очистки сточных вод применимы, когда концентрация определенных загрязняющих стоки веществ не превышает допустимую (ПДК). В большинстве случаев необходимо проводить три-четыре ступени предочистки сточных вод, чтобы добиться необходимого содержания определенных загрязняющих веществ. Кроме того, чтобы сбросить уже очищенные сточные воды в водоем после сооружений биологической очистки, часто необходима их доочистка (например, озонированием или УФ-облучением).
4.
Классификация водных объектов по назначению, требования к качеству природных вод
3.1 Классификация водных объектов по назначению
Согласно Водному кодексу РФ, водные объекты классифицируются в зависимости от цели их использования в народном хозяйстве. Данная классификация приведена в Водном кодексе по статьям /1/.
1. Водные объекты хозяйственно-питьевого назначения
К хозяйственно-питьевому водопользованию относится использование водных объектов или их участков в качестве источников питьевого водоснабжения. Подобным водным объектам уделяется особое внимание, поскольку качество воды в них напрямую влияет на здоровье населения. Контроль за качеством питьевой воды осуществляется по действующемй СанПиНу /3/.
2. Водные объекты, предназначенные для целей производства электрической энергии
Такими водными объектами, как правило, являются реки, на которых строятся гидроэлектростанции (ГЭС) с сооружениями плотин и водохранилищ. Функционируют ГЭС за счет энергии водного потока реки.
3. Поверхностных водные объекты, используемые для водного и воздушного транспорта
Водный транспорт является едва ли не самым древним водопользователем. По внутренним водным путям России (рекам, озерам, водохранилищам, каналам), имеющим общую протяженность свыше 400 тыс. км, перевозится до 50 млн. т грузов.Использование поверхностных водных объектов в качестве путей сообщения осуществляется в соответствии с законодательством о водном транспорте.Также поверхностные водные объекты используются для взлета, посадки воздушных судов. Данный вид водопользования осуществляется в порядке, установленном Правительством Российской Федерации.
4. Водные объекты, используемые для сплава леса
Весьма неблагоприятное воздействие на экологическое состояние водоемов оказывает лесосплав, изменяя естественное состояние русел, засоряя водные объекты затопленной древесиной, разрушая нерестовые участки. Именно поэтому водопользователи, осуществляющие сплав леса, обязаны регулярно проводить очистку водных объектов от затонувшей древесины. Также, согласно Водному кодексу, сплав леса без судовой тяги на водных объектах, используемых для судоходства, и молевой сплав леса на водных объектах запрещаются.
5. Водные объекты, используемые для лечебных и оздоровительных целей
Водные объекты, содержащие природные лечебные ресурсы, используются для лечебных и оздоровительных целей в порядке, установленном законодательством Российской Федерации о природных лечебных ресурсах, лечебно-оздоровительных местностях и курортах.
6. Водные объекты, используемые для рекреационных целей
Водные объекты - излюбленное место для отдыха, спорта и туризма. Практически все рекреационные учреждения и сооружения размещены либо на берегах водоемов, либо вблизи них. Использование водных объектов для рекреационных целей осуществляется с учетом правил использования водных объектов, устанавливаемых органами местного самоуправления в соответствии с Водным кодексом.
7. Использование водных объектов для целей рыболовства и охоты
Рыбное хозяйство непосредственно связано с использованием водных ресурсов и предъявляет очень высокие требования к их режиму, количественному и качественному состоянию. Для успешного воспроизводства и нормального развития рыбы необходимы чистая вода с достаточным количеством растворенного кислорода и отсутствием вредных примесей, соответствующая температура и обеспеченность кормами. Нормативы качества воды для рыбохозяйственных объектов более строгие, чем для источников питьевого водоснабжения. Использование водных объектов для целей охоты и ведения охотничьего хозяйства осуществляется в соответствии с водным законодательством и законодательством о животном мире.
8. Использование водных объектов для разведки и добычи полезных ископаемых
Использование водных объектов для разведки и добычи полезных ископаемых осуществляется в соответствии с Водным кодексом и законодательством о недрах. При добыче торфа и других полезных ископаемых, как правило, используют месторождения на болотах. Болото или его часть может утрачивать режим водного объекта в результате полной или частичной выработки торфа, полной или частичной замены его материалами естественного или техногенного происхождения, в том числе подстилающими болото отложениями. После окончания использования болота или его части проводится их рекультивация преимущественно путем обводнения и искусственного заболачивания.
9. Использование водных объектов для обеспечения пожарной безопасности
Согласно Водному кодексу, забор (изъятие) водных ресурсов для тушения пожаров допускается из любых водных объектов без какого-либо разрешения, бесплатно и в необходимом для ликвидации пожаров количестве.Использование водных объектов, предназначенных для обеспечения пожарной безопасности, для иных целей запрещается.
3.2 Требования к качеству воды
Зачастую на бытовом уровне отношение к качеству воды бывает легкомысленное, основанным на оценке "нравится - не нравится", либо на разного рода заблуждениях. Однако существуют объективные показатели качества воды, которые должны соблюдаться непосредственно при ее потреблении. Их устанавливает СанПиН 2.1.4.1074-01 от 26.09.01. Данные нормы распространяются на питьевую воду, подаваемую централизованными системами хозяйственно-питьевого водоснабжения, а также централизованными системами водоснабжения, подающими воду одновременно для хозяйственно-питьевых и технических целей, и устанавливает гигиенические требования и контроль за качеством питьевой воды.
Виды определяемых показателей и количество исследуемых проб питьевой воды перед ее поступлением в распределительную сеть устанавливаются с учетом следующих требований.
Питьевая вода должна быть безопасна в эпидемическом отношении, безвредна по химическому составу и иметь благоприятные органолептические (вкус, запах, цвет) свойства. Качество воды определяют ее составом и свойствами при поступлении в водопроводную сеть, в точках водоразбора наружной и внутренней водопроводной сети.
Показатели, обеспечивающие благоприятные органолептические свойства воды, включают нормативы для веществ:
- встречающихся в природных водах;
- добавляемых к воде в процессе обработки в виде реагентов;
- появляющихся в результате промышленного, сельскохозяйственного и бытового загрязнений источников водоснабжения.
Концентрации химических веществ, влияющих на органолептические свойства воды, встречающихся в природных водах или добавляемых к воде в процессе ее обработки, не должны превышать нормативов, установленных СанПиН.
Токсикологические показатели качества воды характеризуют безвредность ее химического состава. Безвредность питьевой воды по химическому составу определяется ее соответствием нормативам по:
1) обобщенным показателям и содержанию вредных химических веществ, наиболее часто встречающихся в природных водах на территории Российской Федерации, а также веществ антропогенного происхождения, получивших глобальное распространение;
2) содержанию вредных химических веществ, поступающих и образующихся в воде в процессе ее обработки в системе водоснабжения;
3) содержанию вредных химических веществ, поступающих в источники водоснабжения в результате хозяйственной деятельности человека.
По микробиологическим показателям питьевая вода должна соответствовать требованиям: число микроорганизмов в 1 см3 воды, не более 100, число бактерий группы кишечных палочек в 1 дм3 воды (коли-индекс), не более 3. При исследовании микробиологических показателей качества воды в каждой пробе проводится определение термотолерантных (приспособленных к жизни в различных температурных условиях) колиформных бактерий, общего микробного числа и колифагов.
Учреждения и организации, в ведении которых находятся централизованные системы хозяйственно-питьевого водоснабжения и водопроводы, используемые одновременно для хозяйственно-питьевых и технических целей, постоянно контролируют качество воды на водопроводе в местах водозабора, перед поступлением в сеть, а также в распределительной сети.
На водопроводах с подземным источником водоснабжения анализ воды в течение первого года эксплуатации проводят не реже четырех раз (по сезонам года), в дальнейшем - не реже одного раза в год в наиболее неблагоприятный период по результатам наблюдений первого года. На водопроводах с поверхностным источником водоснабжения анализ воды проводят не реже одного раза в месяц.
Лабораторно-производственный контроль качества воды перед поступлением в сеть проводят по микробиологическим, химическим и органолептическим показателям.
5.
Экологические проблемы водотоков озер и водохранилищ
Длительное функционирование экологически грязных технологий в промышленности и сельском хозяйстве, сброс недостаточно очищенных коммунальных стоков, поступление загрязнений рассредоточенным стоком с водосборных территорий привело к повсеместному загрязнению поверхностных водных объектов и ухудшению качества воды в них. В связи с загрязненностью требует специальной подготовки вода, забираемая для водоснабжения из рек Волга, Днепр, Дон, Кубань, Северная Двина, Печора, Обь, Иртыш, Енисей, Лена, Кама, Амур и многих озер. По существующей классификации, основные реки России - Волга, Дон, Кубань, Обь, Енисей, Лена, Печора - оцениваются как "загрязненные", а их притоки - как "сильно загрязненные". Непригодна по качеству для целей питьевого и хозяйственно-бытового водоснабжения вода в реках Нева, Томь, Ока, Урал.
По имеющимся официальным данным, каждый второй житель России вынужден использовать питьевую воду, не соответствующую гигиеническим требованиям /2/.
Происходит ухудшение экологического состояния водных объектов, их истощение и деградация, угнетение природных экологических систем. Обогащение вод биогенными и органическими веществами, которое стало характерным для всей Центрально-Европейской части России, привело к эвтрофикации водных объектов. Характерным при этом является интенсивное развитие водорослей в пик вегетации и "цветение" вод с выделением в воду токсичных веществ, зарастание берегов, изменение фаунистических комплексов, снижение биоразнообразия и численности ценных в промысловом отношении видов рыб и водных животных.
Резко активизировались неблагоприятные внутриводоемные процессы, в результате которых происходит трансформация загрязнений и накопление донных отложений, содержащих опасные вещества. В хозяйственно освоенных районах Российской Федерации накоплены сотни миллионов таких донных отложений, которые представляют значительную экологическую опасность. Вторичное загрязнение вод, вызываемое донными отложениями, является причиной деградации экосистем водоемов и водотоков. Все это заставляет в значительной степени изменить отношение к водным ресурсам, как к возобновимым. Деградация водных объектов изменяет на долгое время, а в отдельных случаях и навсегда их природно-естественное состояние и качество вод.
Хозяйственное освоение водосборных территорий привело к деградации и исчезновению многих малых рек.
Контроль за данной ситуацией и планирование по разрешению проблемы осуществляет Правительство РФ в рамках Водной Стратегии /1/.
На федеральном уровне задачи по государственному управлению использованием и охраной водных ресурсов и развитием водохозяйственного комплекса всегда возлагаются на государственную водную службу, взаимодействующую в рамках своей компетенции с заинтересованными министерствами и ведомствами и субъектами Российской Федерации, наделяемую необходимыми ресурсами и несущую ответственность за достижение целей государственной водной политики и реализацию Национальной программы "Вода Росси и - XXI век". Статус государственной водной службы при необходимости уточняется Правительством Российской Федерации.
|