Федеральное агентство по образованию
Южно-Уральский государственный университет
Кафедра «Теплогазоснабжение и вентиляция»
Пояснительная записка к курсовой работе
по курсу: «Теплогазоснабжение и вентиляция» 290300.2006.100.00 ПЗ
ОТОПЛЕНИЕ ГРАЖДАНСКОГО ЗДАНИЯ
Нормоконтроль Лымбина Л. Е.
«______»___________ 2006 г.
Руководитель Лымбина Л. Е.
«______»___________2006 г.
Автор проекта
студент группы АС-305
Тихонов А. Н.
«______»___________2006 г.
Проект защищен
с оценкой ___________________
«______»___________2006 г.
Челябинск 2006
Аннотация
Тихонов А. Н. Отопление гражданского здания. - Челябинск: ЮУрГУ, АС; 2006, 40 с., 1 илл. Библиография литературы – 8 наименований. 3 листа чертежей ф. А4.
В курсовой работе дана климатическая характеристика района строительства; выполнены теплотехнический расчет ограждающих конструкций и теплоэнергетический баланс помещений гражданского здания, для которого выбрана и обоснована система отопления; сделан расчет отопительных приборов.
Содержание
Введение
1 Климатическая характеристика района строительства
2 Теплотехнический расчет ограждающих конструкций
2.1 Наружная стена
2.2 Перекрытие над неотапливаемым подвалом
2.3 Бесчердачное покрытие
2.4 Оконный блок
2.5 Наружная дверь
2.6 Внутренняя стена
2.7 Неутепленный пол лестничной клетки
2.8 Теплотехнические характеристики ограждающих конструкций
3 Теплоэнергетический баланс здания
4 Выбор и обоснование системы отопления
5 Отопительные приборы
5.1 Расчет отопительных приборов
Заключение
Библиографический список
Введение
В последнее время в России, как и во всем мире, существенно возросло и продолжает возрастать потребление энергии. И вместе с тем наблюдается постоянный рост стоимости всех видов топлива. Это связано с усложнением добычи топлива при освоении глубоких месторождений; к тому же запасы некоторых видов топлива подходят к концу. Известно, что на теплоснабжение гражданских и производственных зданий расходуется более одной трети всего добываемого в России органического топлива. И поэтому все более актуальной и значимой задачей является экономное расходование теплоты на всех этапах от ее выработки до потребителя.
В России основными среди теплозатрат на коммунально-бытовые нужды в зданиях являются затраты на отопление. Это объясняется тем, что на большей части территории страны в зимний период устанавливается низкая температура воздуха, и потери теплоты в зданиях через ограждающие конструкции превышают внутренние тепловыделения. Для поддержания необходимой температурной обстановки приходится оборудовать здания отопительными установками или системами.
Забиваем Сайты В ТОП КУВАЛДОЙ - Уникальные возможности от SeoHammer
Каждая ссылка анализируется по трем пакетам оценки: SEO, Трафик и SMM.
SeoHammer делает продвижение сайта прозрачным и простым занятием.
Ссылки, вечные ссылки, статьи, упоминания, пресс-релизы - используйте по максимуму потенциал SeoHammer для продвижения вашего сайта.
Что умеет делать SeoHammer
— Продвижение в один клик, интеллектуальный подбор запросов, покупка самых лучших ссылок с высокой степенью качества у лучших бирж ссылок.
— Регулярная проверка качества ссылок по более чем 100 показателям и ежедневный пересчет показателей качества проекта.
— Все известные форматы ссылок: арендные ссылки, вечные ссылки, публикации (упоминания, мнения, отзывы, статьи, пресс-релизы).
— SeoHammer покажет, где рост или падение, а также запросы, на которые нужно обратить внимание.
SeoHammer еще предоставляет технологию Буст, она ускоряет продвижение в десятки раз,
а первые результаты появляются уже в течение первых 7 дней.
Зарегистрироваться и Начать продвижение
Отоплением называется искусственное, с помощью специальной установки или системы, обогревание помещений здания для компенсации теплопотерь и поддержания в них температурных параметров на уровне, определяемом условиями теплового комфорта для находящихся в помещении людей или требованиями технологических процессов, протекающих в производственных помещениях.
Отопление является отраслью строительной техники. Монтаж стационарной отопительной системы проводится в процессе возведения здания, ее элементы при проектировании увязываются со строительными конструкциями и сочетаются с планировкой и интерьером помещений.
Вместе с тем, отопление – один из видов технологического оборудования. Параметры работы отопительной системы должны учитывать теплофизические особенности конструктивных элементов здания и быть увязаны с работой других инженерных систем, прежде всего, с рабочими параметрами системы вентиляции и кондиционирования воздуха.
Отопление зданий начинают при устойчивом (в течение 5 суток) понижении среднесуточной температуры наружного воздуха до 8°С и ниже, а заканчивают при устойчивом повышении температуры наружного воздуха до 8°С. Период отопления здания в течение года называют отопительным сезоном. Длительность отопительного сезона устанавливают на основании многолетних наблюдений как среднее число дней в году с устойчивой среднесуточной температурой воздуха £ 8°С.
Гигиенические исследования микроклимата помещений и комфортное пребывание человека в этих помещениях позволили выработать ряд требований, предъявляемых к системам отопления:
Санитарно-гигиенические. Обеспечение требуемых СНиП температур во всех помещениях и поддержание температур внутренних поверхностей наружных ограждающих конструкций и отопительных приборов на определенном уровне.
Строительные. Обеспечение соответствия архитектурно-планировочным и конструктивным решениям здания; увязка размещения отопительных приборов и их элементов со строительными конструкциями.
Архитектурные (эстетические). Хорошая сочетаемость с внутренней архитектурной отделкой помещения и минимальная площадь, занимаемая системой отопления.
Сервис онлайн-записи на собственном Telegram-боте
Попробуйте сервис онлайн-записи VisitTime на основе вашего собственного Telegram-бота:
— Разгрузит мастера, специалиста или компанию;
— Позволит гибко управлять расписанием и загрузкой;
— Разошлет оповещения о новых услугах или акциях;
— Позволит принять оплату на карту/кошелек/счет;
— Позволит записываться на групповые и персональные посещения;
— Поможет получить от клиента отзывы о визите к вам;
— Включает в себя сервис чаевых.
Для новых пользователей первый месяц бесплатно.
Зарегистрироваться в сервисе
Монтажные. Обеспечение монтажа индустриальными методами с максимальным использованием унифицированных узлов и минимальном количестве типоразмеров.
Эксплуатационные. Простота и удобство обслуживания, управления, ремонта, надежность, безопасность и бесшумность действия.
Экономические. Обеспечение минимальных приведенных затрат по сооружению и эксплуатации на основании технико-экономического сравнения вариантов.
1. Климатическая характеристика района строительства
Район строительства: город Тула
Расчетные параметры наружного воздуха
Таблица 1.1 - Расчетные параметры наружного воздуха [1, табл.1]
| Температура воздуха наиболее холодной пятидневки, °С, обеспеченностью 0,92; text |
Период со среднесуточной температурой ≤ 8 °С |
Максимальная из средних скоростей ветра по румбам за январь м/с |
| Продолжительность, сут. Zht |
Средняя температура воздуха, °С tht |
| -27 |
207 |
-3 |
- |
Зона влажности территории России: 2 – «нормальная» [2, прил. В]
Влажностный режим помещений зданий: «нормальный» [2, табл. 1], т.к. tint = 20...220С и φ= 50...55% [3, табл. 1]
Условия эксплуатации ограждающей конструкции: «Б» [2, табл.2]
2. Теплотехнический расчет ограждающих конструкций
Теплотехнический расчет заключается в определении толщины искомого слоя ограждения, при котором температура на внутренней поверхности ограждения будет выше температуры точки росы внутреннего воздуха и будет удовлетворять теплотехническим требованиям: R0 ≥ Rreg.
Расчет выполняется в соответствии со СНиП 23-02-2003 «Тепловая защита зданий», СП 23-101-2004 «Проектирование тепловой защиты зданий».
Теплотехническому расчету подлежат наружные стены, бесчердачные покрытия, перекрытия над неотапливаемым подвалом, окна и наружные двери, внутренние стены (перегородки), неутепленный пол лестничной клетки.
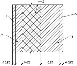
2.1 Наружная стена
Эскиз элемента ограждающей конструкции (по варианту)

Рисунок 2.1
Теплотехническая характеристика ограждающей конструкции (наружной стены)
Таблица 2.1 - Нормируемые теплотехнические показатели строительных материалов и изделий [4, табл. Е.1]
| Наименование материальных слоев ограждающей конструкции |
Обозначение |
Толщина слоя, м |
Расчетный коэффициент λ, Вт/(м·°С) |
| 1. Цементно-песчаный раствор, ρ0 = 1800 кг/м3 |
δ1 |
0,025 |
0,93 |
| 2. Железобетон, ρ0 = 2500 кг/м3 |
δ 2 |
0,05 |
2,04 |
| 3. Пенополистирол (ГОСТ 15588), ρ0 = 40 кг/м3 |
δ 3 |
— |
0,05 |
| 4. Железобетон, ρ0 = 2500 кг/м3 |
δ 4 |
0,15 |
2,04 |
| 5. Цементно-песчаный раствор, ρ0 = 1800 кг/м3 |
δ 5 |
0,025 |
0,93 |
Примечание: Расчетный коэффициент теплопроводности λ принимается в зависимости от плотности материала и условий эксплуатации ограждающих конструкций.
Градусо – сутки отопительного периода Dd ,°С ·сут [2, формула 2]
, (1)
где:
Dd – градусо-сутки отопительного периода, °С·сут, для конкретного пункта;
tint – расчетная средняя температура внутреннего воздуха здания, °С, принимаемая для расчета ограждающих конструкций группы зданий по поз. 1 [2, табл.4] по минимальным значениям оптимальной температуры соответствующих зданий по ГОСТ 30494 (в интервале 20…22 °С);
tht , zht — средняя температура наружного воздуха, °С и
продолжительность, сут., отопительного периода, принимаемые по СНиП 23-01-99* для периода со средней суточной температурой наружного воздуха не более 10°С – при проектировании лечебно-профилактических, детских учреждений и домов-интернатов для престарелых, и не более 8 °С – в остальных случаях.
Dd = (20 – (-3))·207 =4761 °С ·сут
Нормируемое значение сопротивления теплопередаче Rreg, (м2·°С)/Вт, ограждающей конструкции [2, п. 5.3, табл.4, формула 1]
, (2)
где:
a, b - коэффициенты, значения которых следует принимать по данным таблицы для соответствующих групп зданий и соответствующих видов конструкций, за исключением графы 6 для группы зданий в поз.1, где для интервала до 6000 °С·сут: а = 0,000075; b = 0,15; для интервала 6000-8000 °С·сут: а = 0,00005; b = 0,3; для интервала 8000 °С·сут и более: а = 0,000025; b = 0,5.
Rreg = 0,00035·4761+1,4 = 3,066 (м2·°С)/Вт
Минимальная толщина искомого слоя ограждающей конструкции δmin, м, (для наружной стены - теплоизолирующего слоя) принимается из теплотехнических требований, предъявляемых к ограждающим конструкциям: R0 ≥Rreg.
Толщина будет минимальной при выполнении равенства R0 = Rreg, где: Rreg – нормируемое значение сопротивления теплопередаче ограждающей конструкции, (м2·°С)/Вт; R0 - сопротивление теплопередаче ограждающей конструкции, (м2·°С)/Вт, определяемое по формуле:
, (3)
где:

- термическое сопротивление теплоотдачи, (м2·°С)/Вт;

- термическое сопротивление тепловосприятию, (м2·°С)/Вт;
αint – коэффициент теплоотдачи внутренней поверхности ограждающей конструкции, Вт/(м2 · °С) [2, табл.7];
αext – коэффициент теплоотдачи наружной поверхности ограждающей конструкции для условий холодного периода, Вт/(м2 · °С),
Rk - термическое сопротивление ограждающей конструкции, (м2·°С)/Вт, определяемое для однородной (однослойной) ограждающей конструкции по формуле [4, формула 3]:
, (4)
где:
δ – толщина слоя ограждающей конструкции, м
λ – расчетный коэффициент теплопроводности материала слоя,
Вт/(м · °С), [4, табл. E.1]
Термическое сопротивление ограждающей конструкции Rk с
последовательно расположенными однородными слоями, (м · °С)/Вт, следует определять как сумму термических сопротивлений отдельных слоев [4, формула 4]:
, (5)
где:
R1, R2 ... Rn- термические сопротивления отдельных слоев ограждающей конструкции, (м2 · °С)/Вт, определяемые по формуле (4);
Ra.l – термическое сопротивление замкнутой воздушной прослойки, (м2 · °С)/Вт, (табл.2.2).
Таблица 2.2 – Термическое сопротивление замкнутых воздушных прослоек
| Толщина воздушной прослойки, м |
Термическое сопротивление замкнутой воздушной прослойки Ra.l , (м2 · °С)/Вт |
| Горизонтальной при потоке тепла снизу вверх и вертикальной |
Горизонтальной при потоке тепла сверху вниз |
| При температуре воздуха в прослойке |
| Положительной |
Отрицательной |
Положительной |
Отрицательной |
| 0,01 |
0,13 |
0,15 |
0,14 |
0,15 |
| 0,02 |
0,14 |
0,15 |
0,15 |
0,19 |
| 0,03 |
0,14 |
0,16 |
0,16 |
0,21 |
| 0,05 |
0,14 |
0,17 |
0,17 |
0,22 |
| 0,10 |
0,15 |
0,18 |
0,18 |
0,23 |
| 0,15 |
0,15 |
0,18 |
0,19 |
0,24 |
| 0,2.. .0,3 |
0,15 |
0,19 |
0,19 |
0,24 |
Примечание: При оклейке одной или обеих поверхностей воздушной прослойки алюминиевой фольгой термическое сопротивление следует увеличить в 2 раза.
Таким образом:
Rreg = 1/αint+δ1/λ1+ δ2/λ2+ δ3/λ3+ δ4/λ4+ δ5/λ5+1/αext
δmin => δ3 = [Rreg-(1/αint+ δ1/λ1+ δ2/λ2 + δ4/λ4+ δ5/λ5+1/αext)]· λ3
δmin = [3,066-(1/8,7+0,025/0,93+0,05/2,04+0,15/2,04+0,025/0,93+1/23)] ·0,05 = 0,138 м
Фактическая толщина искомого слоя ограждающей конструкции δ 3, м
Фактическую толщину искомого слоя ограждающей конструкции δ3, м, принимаем исходя из условия, что минимальная толщина наружной стены равна 300 мм, толщина панелей кратна 0,05 м и исходя из толщины плит утеплителя (от 20 до 500 мм с интервалом через 10 мм) равной 150 мм [4].
Общая толщина ограждающей конструкции δ = 0,4 м.
Сопротивление теплопередаче ограждающей конструкции R0, (м2 · °С)/Вт, определяется на основании формулы (3)
, (6)
где δ3, м, принимается по п. 2.1.6.
R0 = 1/8,7+0,025/0,93+0,05/2,04+0,15/0,05+0,15/2,04+0,025/0,93+1/23 = 3,310 (м2 · °С)/Вт
Проверка выполнения условия: R0 ≥Rreg.
| Ro = 3,310 (м2 ·°С)/Вт |
R0 ≥ Rreg. |
| Rreg= 3,066 (м2 ·°С)/Вт |
Коэффициент теплопередачи ограждающей конструкции k, Вт/(м2 · °С)
k = 1/R0 (7)
k = 1/3,31= 0,30 Вт/(м2 · °С)
2.2 Перекрытие над неотапливаемым подвалом
Принимаем условно толщину перекрытия δ = 0,5 м.
Из условия, отвечающего теплотехническим требованиям, предъявляемым к ограждающим конструкциям (R0 ≥Rreg), принимаем минимальное возможное сопротивление теплопередаче ограждающей конструкции R0 = Rreg.
Градусо – сутки отопительного периода по формуле (1):
Dd = (20 – (-3))·207 =4761 °С ·сут
Нормируемое значение сопротивления теплопередаче ограждающей конструкции при a = 0,00045, b = 1,9, по формуле (2):
Rreg = 0,00045·4761 + 1,9= 4,042 м2·°С/Вт
Принимаем R0 = Rreg, следовательно R0 = 4,042 м2·°С/Вт
Коэффициент теплопередачи ограждающей конструкции по формуле (7):
k = 1/4,042 = 0,247 Вт/(м2 · °С)
2.3 Бесчердачное покрытие
Принимаем условно толщину покрытия δ = 0,5 м.
Из условия, отвечающего теплотехническим требованиям, предъявляемым к ограждающим конструкциям (R0 ≥Rreg), принимаем минимальное возможное сопротивление теплопередаче ограждающей конструкции R0 = Rreg.
Градусо-сутки отопительного периода по формуле (1):
Dd = (20 – (-3))·207 =4761 °С ·сут
Нормируемое значение сопротивления теплопередаче ограждающей конструкции при a = 0,00045, b = 1,9, по формуле (2):
Rreg = 0,00045·4761 + 1,9= 4,042 м2·°С/Вт
Принимаем R0 = Rreg, следовательно R0 = 4,042 м2·°С/Вт
Коэффициент теплопередачи ограждающей конструкции по формуле (7):
k = 1/4,042 = 0,247 Вт/(м2 · °С)
2.4 Оконный блок
К заполнениям световых проемов относят окна, балконные двери, фонари, витрины и витражи.
Нормируемое значение сопротивления теплопередаче заполнений световых проемов Rreg, (м2 ·°С)/Вт, при a = 0,000075, b = 0,15 по формуле (2):
Rreg = 0,000075·4761+0,15 = 0,507 м2·°С/Вт
Примечание: см. пункт 2.1.4
Приведенное сопротивление теплопередаче заполнений световых проемов Rreg, (м2 ·°С/Вт) принимается по сертификатным данным производителя, либо экспериментально по ГОСТ 26602.1, в курсовой работе допускается принимать по табл. 5 [4]
Заполнение светового проема: оконный блок из двухкамерного стеклопакета в одинарном переплете с межстекольным расстоянием 6 мм.
= 0,51 м2 ·°С/Вт ,
где: R0 — сопротивление теплопередаче заполнения светового проема (м2·°С)/Вт.
Проверка выполнения условия: R0 >Rreg.
| Ro= 0,51 (м2·°С)/Вт |
R0 ≥ Rreg. |
| Rreg = 0,507 (м2·°С)/Вт |
Коэффициент теплопередачи ограждающей конструкции k, Вт/(м2 · °С), по формуле (7):
k = 1/0,51 = 1,961 Вт/(м2 · °С).
2.5 Наружная дверь
Приведенное сопротивление теплопередаче R0, (м2 ·0С)/Вт, наружных дверей [4, п. 5.7]
Примечание: Приведенное сопротивление теплопередаче R0, (м2·0С)/Вт, входных дверей и дверей (без тамбура) квартир первых этажей и ворот, а также дверей квартир с неотапливаемыми лестничными клетками должно быть не менее произведения 0,6 ·Rreg (произведения 0,8 ·Rreg – для входных дверей в одноквартирные дома), где Rreg – приведенное сопротивление теплопередаче стен, определяемое по формуле (3) [2]; для дверей в квартиры выше первого этажа зданий с отапливаемыми лестничными клетками – не менее 0,55 (м2 ·°С)/Вт.
Приведенное сопротивление теплопередаче ограждающих конструкций (за исключением светопрозрачных) Rreg, м2·°С/Вт, следует принимать не менее значений, определяемых по формуле 3 [2]:
, (8)
где:
п — коэффициент, учитывающий зависимость положения наружной поверхности ограждающих конструкций по отношению к наружному воздуху и приведенный в таблице 6 [2];
δtn – нормируемый температурный перепад между температурой внутреннего воздуха tint и температурой внутренней поверхности τint ограждающей конструкции, °С, принимаемый по таблице 5 [2];
αint – то же, что и в формуле (3);
tint – то же, что и в формуле (1);
text – расчетная температура наружного воздуха в холодный период года, °С, для всех зданий, кроме производственных зданий, предназначенных для сезонной эксплуатации, принимаемая равной средней температуре наиболее холодной пятидневки обеспеченностью 0,92 по таблице 1 [1].
Для наружной двери:
R0 = [0,6·n(tint-text)]/[Δtn·αint]
R0 = [0,6·1·(20-(-27))]/[4,0·8,7] = 0,81 м2·°С/Вт
Коэффициент теплопередачи ограждающей конструкции k,
Вт/(м2 · °С), по формуле (7):
k = 1/0,81 = 1,235 Вт/(м2 · °С)
2.6 Внутренняя стена
Сопротивление теплопередаче ограждающей конструкции R0, (м2·0С)/Вт, определяется по формуле:
(9)
м2·°С/Вт
Примечание: Внутренние стены примем изготовляемыми из железобетонных перегородочных панелей, ρ0 = 2500 кг/м3 , толщиной δ, равной 0,25 м.
Коэффициент теплопередачи ограждающей конструкции k, Вт/(м2 · °С), по формуле (7):
k = 1/0,35 = 2,857 Вт/(м2 · °С)
2.7 Неутепленный пол лестничной клетки
Неутепленными полами считают полы, расположенные на грунте, и такие, конструкция которых независимо от толщины состоит из слоев материалов λ ≥ 1,2 Вт/(м °С).
Потери теплоты через не утепленные полы с точностью, достаточной для практических целей, производят способом В.Д. Мачинского.
Поверхность пола делят на зоны, полосы шириной 2 м, параллельные линиям наружных стен. Нумерацию зон ведут, начиная от внутренней поверхности наружных стен. Всю поверхность пола делят на 4 зоны. К четвертой зоне относят всю площадь не занятую 1,2 и 3-й зонами; площадь первой зоны в наружном углу учитывают дважды. Значения, R, для каждой из зон принимают согласно [7].
Rнд1=2,1 Вт/(м2/с); Rнд2=4,3 Вт/(м2/с); Rнд3 =8,6 Вт/(м2/с); Rнд4= 14,2 Вт/(м2/с).
Коэффициент теплопередачи ограждающей конструкции k, Вт/(м2 · °С), по формуле (7):
Вт/(м2 · °С)
Вт/(м2 · °С)
Вт/(м2 · °С)
Вт/(м2 · °С)
2.8 Теплотехнические характеристики ограждающих конструкций
Таблица 2.3
| № |
Наименование |
R0 (м2 ·°С)/Вт |
k Вт/(м2·°С) |
| 1 |
Наружная стена |
3,31 |
0,302 |
| 2 |
Бесчердачное покрытие |
4,04 |
0,247 |
| 3 |
Перекрытие над неотапливаемым подвалом |
4,04 |
0,247 |
| 4 |
Наружная дверь |
0,81 |
1,235 |
| 5 |
Оконный блок |
0,51 |
1,961 |
| 6 |
Внутренняя стена |
0,35 |
2,857 |
| 7 |
Неутепленный пол лестничной клетки:
1 зона –
2 зона –
3 зона –
4 зона –
|
2,1
4,3
8,6
14,2
|
0,476
0,233
0,116
0,071
|
3. Теплоэнергетический баланс здания
Составление теплоэнергетического баланса здания заключается в определении суммарного расхода тепловой энергии всех помещений и суммарных тепловых поступлений в помещения, т. е. с помощью теплового баланса помещений определяется дефицит или избыток теплоты. Тепловой баланс составляется для стационарных условий. Дефицит теплоты (ΔQ) указывает на необходимость устройства в помещении отопления, избыток теплоты обычно ассимилируется вентиляцией. Для определения мощности системы отопления составляется баланс часовых расходов теплоты для расчетного зимнего периода в виде:
,
где - потери теплоты через наружные ограждения;
- расход теплоты на прогрев инфильтрирующегося воздуха, поступающего в помещение;
- технологические и бытовые тепловыделения или расходы теплоты.
Этот раздел курсового проекта выполняется в соответствии со СНиП 2.04.05-91* «Отопление, вентиляция и кондиционирование воздуха».
Расчет теплового баланса сводится в таблицу 3.1 и ведется в следующей последовательности:
1) Для определения потерь теплоты отдельными помещениями и зданием в целом необходимо иметь следующие данные:
- планы этажей и характерные разрезы по зданию со всеми строительными размерами;
- выкопировку с генерального плана с ориентацией по сторонам горизонта и розой ветров;
- назначение каждого помещения;
- место постройки здания;
- конструкции всех наружных ограждений, обоснованные теплотехническим расчетом.
Теплообмен через ограждения между смежными отапливаемыми помещениями при расчете теплопотерь учитывается, если разность температур этих помещений более 3ºС.
2) В графической части курсового проекта на листе, где размещены планы здания (вверху) наносится роза ветров с указанием сторон горизонта (приложения А и Б).
Все отапливаемые помещения здания на планах обозначены порядковыми номерами (начиная с № 01 и далее – помещения подвала, с № 101 и далее помещения первого этажа, с № 201 и далее – помещения второго этажа). Помещения нумеруются слева направо. Лестничные клетки обозначают отдельно буквами А, Б и т.д. или римскими цифрами и независимо от этажности здания рассматривают как одно помещение.
Внутренние санузлы сняты с расчета по заданию преподавателя.
Теплопотери квартирных коридоров, в которых не предусматривается установка отопительных приборов, рассчитываются вместе с теплопотерями смежных с ними помещений, где предусматривается установка отопительных приборов, прибавлением теплопотерь через пол (или перекрытие) в этих коридорах к теплопотерям этих смежных помещений.
3) В графе 2 приводится наименование помещения и указывается расчетная температура воздуха, которая принимается в соответствии со СНиП 2.08.01-89 «Жилые здания». (Для курсового проекта по прил.18 [7]).
4) Названия ограждений в графе 3 таблицы 3.1 обозначены: наружная стена – Н. с.;
внутренняя стена – В. с.;
окно – О. о., Д. о., Т. о. (соответственно одинарное, двойное, тройное остекление);
балконные двери – Б. д.;
входные двери лестничной клетки – В. д.;
бесчердачные покрытия – Пт.;
перекрытия над подвалом – Пл.;
неутепленный пол (по зонам) – Пл.1, Пл.2 и т. д.
5) Название сторон горизонта в графе 4 таблицы 3.1 обозначены:
юг – Ю;
север – С;
запад – З;
восток – В;
юго-запад – ЮЗ;
юго-восток – ЮВ;
северо-запад – СЗ;
северо-восток – СВ.
6) Расчетная площадь ограждений и линейные размеры записываются в графы 5 и 6 таблицы 3.1, а определяются по следующим правилам:
а) Высота стен первого этажа, если пол находится непосредственно на грунте, - между уровнями полов первого и второго этажей, если пол на лагах – от наружного уровня подготовки пола на лагах до уровня пола второго этажа, при неотапливаемом подвале или подполье – от уровня нижней поверхности конструкции пола первого этажа до уровня чистого пола второго этажа, а в одноэтажных зданиях с чердачным перекрытием высота измеряется от пола до верха утепляющего слоя перекрытия.
б) Высота стен промежуточного этажа – между уровнями чистых полов данного и вышележащего этажей, а верхнего этажа – от уровня его чистого пола до верха утепляющего слоя чердачного перекрытия или бесчердачного покрытия.
в) Длина наружных стен в угловых помещениях – от кромки наружного угла до осей внутренних стен, а в неугловых – между осями внутренних стен.
г) Длина внутренних стен – по размерам от внутренних поверхностей наружных стен до осей внутренних стен или между осями внутренних стен.
д) Площади окон, дверей и фонарей – по наименьшим размерам строительных проемов в свету.
е) Площади потолков и полов над подвалами и подпольями в угловых помещениях по размерам от внутренней поверхности наружных стен до осей противоположных стен, а в неугловых – между осями внутренних стен и от внутренней поверхности наружной стены до оси противоположной стены.
ж) Для подсчета площадей ограждающих конструкций линейные размеры их принимаются с погрешностью до + 0,1 м, а величины площадей округляются с погрешностью + 0,1 м2. Потери теплоты через полы, расположенные на грунте или на лагах, из-за сложности точного решения задачи определяют на практике упрощенным методом – по зонам-полосам шириной 2 м, параллельным наружным стенам.
7) В графу 8 записывается расчетная разность температур ,ºС.
8) Потери теплоты помещениями через ограждающие конструкции складываются условно из основных и добавочных. Добавочные теплопотери учитывают влияние некоторых факторов, как, например, ориентацию. Для их учета заполняются графы 9…11 в таблице 3.1.
Добавочные потери теплоты β через ограждающие конструкции следует принимать в долях от основных потерь:
а) в помещениях любого назначения через наружные вертикальные и наклонные (вертикальная проекция) стены, двери и окна, обращенные на север, восток, северо-восток и северо-запад в размере 0,1; на юго-восток и запад – в размере 0,05; в угловых помещениях дополнительно – по 0,1 на каждую стену, дверь и окно, если одно из ограждений обращено на север, восток, северо-восток и северо-запад и 0,05 – в других случаях;
б) через наружные двери, не оборудованные воздушными или воздушно-тепловыми завесами, при высоте зданий H, м, от средней планировочной отметки земли до верха карниза, центра вытяжных отверстий фонаря или устья шахты в размере: 0,27 H – для двойных дверей с тамбурами между ними.
В графу 10 вносятся добавочные теплопотери на угловые помещения и добавочные теплопотери из п. а).
9) В графе 12 вводится коэффициент n, принимаемый в зависимости от положения наружной поверхности ограждающих конструкций по отношению к наружному воздуху [2, табл. 6].
10) Значения коэффициентов теплопередачи ограждающих конструкций k, Вт/(м2 · °С), принимаются из табл. 2.3 теплотехнического расчета и заносится в графу 7 табл. 3.1.
Примечание: При определении теплопотерь через оконный или дверной проем из величины коэффициента теплопередачи окна (двери) необходимо вычесть величину коэффициента теплопередачи стены, т. е. в графе 7 для окна записать значение , а для двери - . Иначе теплопотери через окно (дверь) будут посчитаны дважды, т. е. завышены.
11) Затем по формуле (10) рассчитываются суммарные теплопотери через ограждающие конструкции. Результаты расчета занесены в графу 13.
Основные и добавочные потери теплоты следует определять суммируя потери теплоты через отдельные ограждающие конструкции Q, Вт, с округлением до 10 Вт для помещения по формуле:
, (10)
где А – расчетная площадь ограждающей конструкции, м2;
k - коэффициент теплопередачи ограждающей конструкции, Вт/(м2 · °С);
- расчетная температура воздуха, °С, в помещении с учетом повышения ее в зависимости от высоты для помещений высотой более 4 м;
- расчетная температура наружного воздуха для холодного периода года при расчете потерь теплоты через наружные ограждения или температура воздуха более холодного помещения – при расчете потерь теплоты через внутренние ограждения;
β – добавочные потери теплоты в долях от основных потерь;
n – коэффициент, принимаемый в зависимости от положения наружной поверхности ограждающих конструкций по отношению к наружному воздуху [2, табл. 6].
12) Расход теплоты Qв, Вт, на нагревание инфильтрирующегося воздуха в помещениях жилых и общественных зданий при естественной вытяжной вентиляции в нашем случае будет больше расхода теплоты Qi, Вт, на нагревание инфильтрирующегося воздуха, и поэтому рассчитываем только Qв по формуле (11) и полученное значение заносим в графу 14.
, (11)
где Ln – расход удаляемого воздуха, м3/ч, не компенсируемый подогретым приточным воздухом; для жилых зданий – удельный нормативный расход 3 м3/ч на 1 м2 жилых помещений (включая кухни и санузлы), но для кухонь с газовыми плитами (4 комф) – не менее 90 м3/ч, а для совмещенных санузлов - не менее 50 м3/ч;
ρ – плотность воздуха в помещении, кг/ м3, определяемая по формуле (12);
с – удельная теплоемкость воздуха, равная 1 кДж/(кг∙°С);
- то же, что и в формуле (10);
- расчетная температура наружного воздуха в холодный период года (параметры Б), °С;
k – коэффициент учета влияния встречного теплового потока в конструкциях, равный 0,7 для стыков панелей стен и окон с тройными переплетами.
Примечание: Примем, что в кухнях в нашем здании установлены газовые плиты (4 комфорки).
Плотность воздуха при температуре t можно определить:
(12)
13) Для жилых зданий учет теплового потока, поступающего в комнаты и кухни в виде бытовых тепловыделений, производится в количестве 10 Вт на 1 м2 площади пола, т. е.:
, (13)
где Аn – площадь пола рассматриваемого отапливаемого помещения, м2.
Полученное значение записано в графе 15.
14) Результат теплового баланса помещения записывается в графу 16 и определяется по формуле:
, (14)
где Qи – расход теплоты на нагревание инфильтрирующегося воздуха.
15) Таблица 3.1 заканчивается определением потерь теплоты зданием в целом Qзд, Вт, суммируя потери теплоты всеми помещениями, включая лестничные клетки.
Таблица 3.1 – Тепловой баланс здания
| № помещения |
Наименование помещения и расчетная температура о воздуха в помещении, tint, ºС |
Характеристика ограждения |
Коэффициент теплопередачи ограждающей к конструкции, k, Вт/(м2∙ºС) |
Расчетная разность температур (tint – text), ºС |
Добавочные потери теплоты |
Коэффициент n |
Потери теплоты |
Бытовые теплопоступления Qб, Вт |
Потери теплоты помещением Qп, Вт |
| наименование |
ориентация по сторонам горизонта |
размеры, м |
площадь А, м2 |
на ориентацию по сторонам горизонта |
прочие |
коэффициент (1 + Σβ) |
через ограждения Q, Вт |
на инфильтрацию с вентиляцией Qв, Вт |
| 1 |
2 |
3 |
4 |
5 |
6 |
7 |
8 |
9 |
10 |
11 |
12 |
13 |
14 |
15 |
16 |
| Теплопотери первого этажа |
| 101 |
Ж.К.
+22ºС
|
Н. с.
Н. с.
Т. о.
Пл.
Пл.кр
|
ЮВ
ЮЗ
ЮЗ
-
-
|
3,5´3,9
3,5´3,4
1,5´2,0
3,0´3,5
-
|
13,65
11,9
3,0
10,5
3,9
|
0,3
0,3
1,66
0,25
0,25
|
49
49
49
49
49
|
0,05
-
-
-
-
|
0,05
0,05
0,05
-
-
|
1,1
1,05
1,05
1
1
|
1
1
1
0,6
0,6
|
220,72
183,68
256,22
77,18
28,67
Σ 766,47
|
362,01
|
144
|
980
|
| 102 |
Ж.К.
+20ºС
|
Н. с.
Т. о.
Пл.
Пл.кр
|
ЮЗ
ЮЗ
-
-
|
3,5´3,7
1,5´2,0
3,7´3,5
|
12,95
3,0
12,95
3,9
|
0,3
1,66
0,25
0,25
|
47
47
47
47
|
-
-
-
-
|
-
-
-
-
|
1
1
1
1
|
1
1
0,6
0,6
|
182,6
234,06
91,3
27,5
Σ 535,46
|
431,17
|
168,5
|
800
|
| 103 |
Кухня
+20ºС
|
Н. с.
Т. о.
Пл.
|
ЮЗ
ЮЗ
-
|
3,5´3,7
1,5´2,0
3,6´2,6
|
12,95
3,0
9,36
|
0,3
1,66
0,25
|
47
47
47
|
-
-
-
|
-
-
-
|
1
1
1
|
1
1
0,6
|
182,6
234,06
65,99
Σ 482,65
|
998,86
|
93,6
|
1390
|
| 104 |
Ж.К.
+22ºС
|
Н. с.
Т. о.
Н. с.
Пл.
Пл.кр
|
ЮЗ
ЮЗ
СЗ
-
-
|
3,5´4,4
1,5´2,0
3,5´6,5
4,0´6,1
-
|
15,4
3,0
22,8
24,4
3,5
|
0,3
1,66
0,3
0,25
0,25
|
49
49
49
49
49
|
-
-
0,1
-
-
|
0,1
0,1
0,1
-
-
|
1,1
1,1
1,2
1
1
|
1
1
1
0,6
0,6
|
249,02
268,42
402,19
179,34
25,73
Σ1124,7
|
841,23
|
279
|
1690
|
| 105 |
Ж.К.
+22ºС
|
Н. с.
Н. с.
Т. о.
Пл.
Пл.кр
|
СЗ
СВ
СВ
-
-
|
3,5´6,5
3,5´4,4
1,5´2,0
4,0´6,1
-
|
22,8
15,4
3,0
24,4
4,1
|
0,3
0,3
1,66
0,25
0,25
|
49
49
49
49
49
|
0,1
0,1
0,1
-
-
|
0,1
0,1
0,1
-
-
|
1,2
1,2
1,2
1
1
|
1
1
1
0,6
0,6
|
402,19
271,66
292,82
179,34
30,14
Σ1176,15
|
841,23
|
285
|
1730
|
| 106 |
Ж.К.
+20ºС
|
Н. с.
Т. о.
Пл.
Пл.кр
|
СВ
СВ
-
-
|
3,5´3,6
1,5´2,0
3,6´4,3
-
|
12,6
3,0
15,5
4,1
|
0,3
1,66
0,25
0,25
|
47
47
47
47
|
0,1
0,1
-
-
|
-
-
-
-
|
1,1
1,1
1
1
|
1
1
0,6
0,6
|
195,43
257,47
109,28
28,91
Σ 591,09
|
516,08
|
196
|
910
|
| 107 |
Кухня
+22ºС
|
Н. с.
Т. о.
Н. с.
Пл.
|
СВ
СВ
ЮВ
-
|
3,5´3,1
1,5´2,0
3,5´1,9
3,1´3,7
|
10,85
3,0
6,65
11,5
|
0,3
1,66
0,3
0,25
|
49
49
49
49
|
0,1
0,1
0,05
-
|
0,1
0,1
0,1
-
|
1,2
1,2
1,15
1
|
1
1
1
0,6
|
191,39
292,82
112,42
84,53
Σ 681,16
|
1034,30
|
115
|
1600
|
| 108 |
Кухня
+20ºС
|
Н. с.
Т. о.
Пл.
|
СВ
СВ
-
|
3,5´3,7
1,5 ´2,0
3,7´4,7
|
12,95
3,0
17,4
|
0,3
1,66
0,25
|
47
47
47
|
0,1
0,1
-
|
-
-
-
|
1,1
1,1
1
|
1
1
0,6
|
200,85
257,47
122,7
Σ 581,02
|
998,86
|
174
|
1410
|
| 109 |
Ж.К.
+22ºС
|
Н. с.
Т. о.
Н. с.
Пл.
Пл.кр
|
СВ
СВ
ЮВ
-
-
|
3,5´3,4
1,5´2,0
3,5´5,1
3,0 ´4,7
-
|
11,9
3,0
17,85
14,1
3,9
|
0,3
1,66
0,3
0,25
0,25
|
49
49
49
49
49
|
0,1
0,1
0,05
-
-
|
0,1
0,1
0,1
-
-
|
1,2
1,2
1,15
1
1
|
1
1
1
0,6
0,6
|
209,92
292,82
301,75
103,64
28,67
Σ 936,8
|
486,12
|
180
|
1240
|
| 110 |
С-У
+25ºС
|
Н. с.
В. с.
Пл.
|
ЮВ
-
-
|
3,5´2,5
3,5´2,5
2,1´2,5
|
8,75
8,75
5,25
|
0,3
2,86
0,25
|
52
5
52
|
0,05
-
-
|
-
-
-
|
1,05
1
1
|
1
1
0,6
|
143,33
125,13
40,95
Σ 309,41
|
603,65
|
52,5
|
860
|
| 201 |
Ж.К.
+22ºС
|
Н. с.
Н. с.
Т. о.
|
ЮВ
ЮЗ
ЮЗ
|
3,0´3,9
3,0´3,4
1,5´2,0
|
11,7
10,2
3,0
|
0,3
0,3
1,66
|
49
49
49
|
0,05
-
-
|
0,05
0,05
0,05
|
1,1
1,05
1,05
|
1
1
1
|
189,19
157,44
256,22
Σ 602,85
|
362,01
|
144
|
820
|
| 202 |
Ж.К.
+20ºС
|
Н. с.
Т. о.
|
ЮЗ
ЮЗ
|
3,0´3,7
1,5´2,0
|
11,1
3,0
|
0,3
1,66
|
47
47
|
-
-
|
-
-
|
1
1
|
1
1
|
156,51
234,06
Σ 390,57
|
431,17
|
168,5
|
650
|
| 203 |
Кухня
+20ºС
|
Н. с.
Т. о.
|
ЮЗ
ЮЗ
|
3,0´3,7
1,5´2,0
|
11,1
3,0
|
0,3
1,66
|
47
47
|
-
-
|
-
-
|
1
1
|
1
1
|
156,51
234,06
Σ 390,57
|
998,86
|
93,6
|
1300
|
| 204 |
Ж.К.
+22ºС
|
Н. с.
Т. о.
Н. с.
|
ЮЗ
ЮЗ
СЗ
|
3,0´4,4
1,5´2,0
3,0´6,5
|
13,2
3,0
19,5
|
0,3
1,66
0,3
|
49
49
49
|
-
-
0,1
|
0,1
0,1
0,1
|
1,1
1,1
1,2
|
1
1
1
|
213,44
268,42
343,98
Σ 825,84
|
841,23
|
279
|
1390
|
| 205 |
Ж.К.
+22ºС
|
Н. с.
Н. с.
Т. о.
|
СЗ
СВ
СВ
|
3,0´6,5
3,0´4,4
1,5´2,0
|
19,5
13,2
3,0
|
0,3
0,3
1,66
|
49
49
49
|
0,1
0,1
0,1
|
0,1
0,1
0,1
|
1,2
1,2
1,2
|
1
1
1
|
343,98
232,85
292,82
Σ 869,65
|
841,23
|
285
|
1430
|
| 206 |
Ж.К.
+20ºС
|
Н. с.
Т. о.
|
СВ
СВ
|
3,0´3,6
1,5´2,0
|
10,8
3,0
|
0,3
1,66
|
47
47
|
0,1
0,1
|
-
-
|
1,1
1,1
|
1
1
|
167,51
257,47
Σ 424,98
|
516,08
|
196
|
750
|
| 207 |
Кухня
+22ºС
|
Н. с.
Т. о.
Н. с.
|
СВ
СВ
ЮВ
|
3,0´3,1
1,5´2,0
3,0´1,9
|
9,3
3,0
5,7
|
0,3
1,66
0,3
|
49
49
49
|
0,1
0,1
0,05
|
0,1
0,1
0,1
|
1,2
1,2
1,15
|
1
1
1
|
164,05
292,82
96,36
Σ 553,23
|
1034,30
|
115
|
1470
|
| 208 |
Кухня
+20ºС
|
Н. с.
Т. о.
|
СВ
СВ
|
3,0´3,7
1,5´2,0
|
11,1
3,0
|
0,3
1,66
|
47
47
|
0,1
0,1
|
-
-
|
1,1
1,1
|
1
1
|
172,16
248,16
Σ 420,32
|
998,86
|
174
|
1250
|
| 209 |
Ж.К.
+22ºС
|
Н. с.
Т. о.
Н. с.
|
СВ
СВ
ЮВ
|
3,0´3,4
1,5´2,0
3,0´5,1
|
10,2
3,0
15,3
|
0,3
1,66
0,3
|
49
49
49
|
0,1
0,1
0,05
|
0,1
0,1
0,1
|
1,2
1,2
1,15
|
1
1
1
|
179,93
292,82
258,65
Σ 731,4
|
486,12
|
180
|
1040
|
| 210 |
С-У
+25ºС
|
Н. с.
В. с.
|
ЮВ
-
|
3,0´2,5
3,0´2,5
|
7,5
7,5
|
0,3
2,86
|
52
5
|
0,05
-
|
-
-
|
1,05
1
|
1
1
|
122,85
107,25
Σ 230,1
|
603,65
|
52,5
|
780
|
| 301 |
Ж.К.
+22ºС
|
Н. с.
Н. с.
Т. о.
Пт.
Пт.кр.
|
ЮВ
ЮЗ
ЮЗ
-
-
|
3,2´3,9
3,2´3,4
1,5´2,0
3,0´3,5
-
|
12,5
10,9
3,0
10,5
3,9
|
0,3
0,3
1,66
0,25
0,25
|
49
49
49
49
49
|
0,05
-
-
-
-
|
0,05
0,05
0,05
-
-
|
1,1
1,05
1,05
1
1
|
1
1
1
1
1
|
202,13
168,24
256,22
128,63
47,48
Σ 802,7
|
362,01
|
144
|
1020
|
| 302 |
Ж.К.
+20ºС
|
Н. с.
Т. о.
Пт.
Пт.кр
|
ЮЗ
ЮЗ
-
-
|
3,2´3,7
1,5´2,0
3,7´3,5
-
|
11,8
3,0
12,95
3,9
|
0,3
1,66
0,25
0,25
|
47
47
47
47
|
-
-
-
-
|
-
-
-
-
|
1
1
1
1
|
1
1
1
1
|
166,38
234,06
152,16
45,83
Σ 598,43
|
431,17
|
168,5
|
860
|
| 303 |
Кухня
+20ºС
|
Н. с.
Т. о.
Пт.
|
ЮЗ
ЮЗ
-
|
3,2´3,7
1,5´2,0
3,6´2,6
|
11,8
3,0
9,36
|
0,3
1,66
0,25
|
47
47
47
|
-
-
-
|
-
-
-
|
1
1
1
|
1
1
1
|
166,38
234,06
109,98
Σ 510,42
|
998,86
|
93,6
|
1420
|
| 304 |
Ж.К.
+22ºС
|
Н. с.
Т. о.
Н. с.
Пт.
Пт.кр
|
ЮЗ
ЮЗ
СЗ
-
-
|
3,2´4,4
1,5´2,0
3,2´6,5
4,0´6,1
-
|
14,1
3,0
20,8
24,4
3,5
|
0,3
1,66
0,3
0,25
0,25
|
49
49
49
49
49
|
-
-
0,1
-
-
|
0,1
0,1
0,1
-
-
|
1,1
1,1
1,2
1
1
|
1
1
1
1
1
|
228
268,42
366,91
298,9
42,88
Σ1205,11
|
841,23
|
279
|
1770
|
| 305 |
Ж.К.
+22ºС
|
Н. с.
Н. с.
Т. о.
Пт.
Пт.кр
|
СЗ
СВ
СВ
-
-
|
3,2´6,5
3,2´4,4
1,5´2,0
4,0´6,1
-
|
20,8
14,1
3,0
24,4
4,1
|
0,3
0,3
1,66
0,25
0,25
|
49
49
49
49
49
|
0,1
0,1
0,1
-
-
|
0,1
0,1
0,1
-
-
|
1,2
1,2
1,2
1
1
|
1
1
1
1
1
|
366,91
248,72
292,82
298,9
50,23
Σ1257,58
|
841,23
|
285
|
1810
|
| 306 |
Ж.К.
+20ºС
|
Н. с.
Т. о.
Пт.
Пт.кр
|
СВ
СВ
-
-
|
3,2´3,6
1,5´2,0
3,6´4,3
-
|
11,5
3,0
15,5
4,1
|
0,3
1,66
0,25
0,25
|
47
47
47
47
|
0,1
0,1
-
-
|
-
-
-
-
|
1,1
1,1
1
1
|
1
1
1
1
|
178,37
257,47
182,13
48,18
Σ 666,15
|
516,08
|
196
|
990
|
| 307 |
Кухня
+22ºС
|
Н. с.
Т. о.
Н. с.
Пт.
|
СВ
СВ
ЮВ
-
|
3,2´3,1
1,5´2,0
3,2´1,9
3,1´3,7
|
9,9
3,0
6,1
11,5
|
0,3
1,66
0,3
0,25
|
49
49
49
49
|
0,1
0,1
0,05
-
|
0,1
0,1
0,1
-
|
1,2
1,2
1,15
1
|
1
1
1
1
|
174,64
292,82
103,12
140,88
Σ 711,46
|
1034,30
|
115
|
1630
|
| 308 |
Кухня
+20ºС
|
Н. с.
Т. о.
Пт.
|
СВ
СВ
-
|
3,2´3,7
1,5´2,0
3,7´4,7
|
11,8
3,0
17,4
|
0,3
1,66
0,25
|
47
47
47
|
0,1
0,1
-
|
-
-
-
|
1,1
1,1
1
|
1
1
1
|
183,02
257,47
204,45
Σ 644,94
|
998,86
|
174
|
1470
|
| 309 |
Ж.К.
+22ºС
|
Н. с.
Т. о.
Н. с.
Пт.
Пт.кр
|
СВ
СВ
ЮВ
-
-
|
3,2´3,4
1,5´2,0
3,2´5,1
3,0´4,7
-
|
10,9
3,0
16,3
14,1
3,9
|
0,3
1,66
0,3
0,25
0,25
|
49
49
49
49
49
|
0,1
0,1
0,05
-
-
|
0,1
0,1
0,1
-
-
|
1,2
1,2
1,15
1
1
|
1
1
1
1
1
|
192,28
292,82
275,55
172,73
47,78
Σ 981,16
|
486,12
|
180
|
1290
|
| 310 |
С-У
+25ºС
|
Н. с.
В. с.
Пт.
|
ЮВ
-
-
|
3,2´2,5
3,2´2,5
2,1´2,5
|
8
8
5,25
|
0,3
2,86
0,25
|
52
5
52
|
0,05
-
-
|
-
-
-
|
1,05
1
1
|
1
1
1
|
131,04
114,4
68,25
Σ 313,69
|
603,65
|
52,5
|
860
|
| А |
Л. К.
+18ºС
|
Н. с.
Т. о.
Т. о.
В. д.
Пт.
Пт.кр
Пл.1
Пл.2
Пл.3
Пл.4
|
ЮЗ
ЮЗ
ЮЗ
ЮЗ
-
-
-
-
-
-
|
10,2´3,2
1,5´1,0
1,5´1,0
2,2´1,5
3,2´5,8
1,9´0,9
3,2´2,0
3,2´2,0
3,2´2,0
3,2´0,8
|
32,6
1,5
1,5
3,3
18,6
1,7
6,4
6,4
6,4
2,6
|
0,3
1,66
1,66
0,94
0,25
0,25
0,48
0,23
0,12
0,07
|
45
45
45
45
45
45
45
45
45
45
|
-
-
-
-
-
-
-
-
-
-
|
-
-
-
2,75
-
-
-
-
-
-
|
1
1
1
3,75
1
1
1
1
1
1
|
1
1
1
1
1
1
1
1
1
1
|
440,1
112,05
112,05
523,46
209,25
19,13
138,24
66,24
34,56
8,19
Σ 1663,27
|
-
|
-
|
1660
|
| Всего по зданию: |
21979,3 |
21340,5 |
5063 |
38270 |
16) Для теплотехнической оценки объемно-планировочных и конструктивных решений и для ориентировочного расчета теплопотерь здания пользуются показателем – удельная тепловая характеристика здания q, которая при известных теплопотерях здания равна:
, (15)
где Qзд – расчетные теплопотери через ограждающие конструкции всех помещений здания, Вт;
V – объем отапливаемого здания по внешнему обмеру, м3;
(tint – text) – расчетная разность температур для основных помещений здания, °С.
V = (13,05×18,4 – 1,5×7) ×10,2 = 2342,12 м3
q = 38270/[2342,12×(20+27)] = 0,35 Вт/(м3 · °С)
Контрольная удельная тепловая характеристика жилых и общественных зданий (для населенных пунктов с расчетной наружной температурой – 30 °С) объемом до 3 тыс. м3: qк = 0,49 Вт/(м3 · °С).
17) Удельный расход теплоты на отопление 1 м2 общей площади является показателем тепловой эффективности зданий, который обеспечивается соблюдением требований к теплозащитным свойствам ограждающих конструкций, проектными решениями архитектурно – строительной части зданий, систем отопления и вентиляции, способом регулирования подачи теплоты, качеством выполнения строительно – монтажных работ и техническим уровнем эксплуатации зданий и систем теплоснабжения.
Удельный расход теплоты на отопление 1 м2 общей площади определяется по формуле:
, (16)
где Sобщ – площадь здания, м2, которая равна произведению площади этажа на количество этажей.
q1 = 38270 / 229,62×3 = 55,56 Вт/м2
Контрольный удельный расход теплоты на отопление 1 м2 общей площади четырехэтажного жилого здания при расчетной температуре наружного воздуха - 30°С: q1к = 109 Вт/м2.
18) По пунктам 16, 17 можно сделать вывод, что здание имеет тепловую эффективность выше нормируемой. Следовательно, при теплотехническом расчете выбраны эффективные решения ограждающих конструкций.
4. Выбор и обоснование системы отопления
В жилом трехэтажном здании запроектирована централизованная водяная, среднетемпературная, вертикальная, двухтрубная система отопления, с нижней разводкой подающих и обратных магистралей и естественной циркуляцией теплоносителя, тупиковая.
Системы водяного отопления имеют гигиенические и технические преимущества. При водяном отоплении (по сравнению с паровым) поверхности приборов и труб имеют относительно невысокую температуру (средняя температура поверхности приборов в течение отопительного сезона практически не превышает гигиенического предела), а температура помещений поддерживается равномерной. У водяных систем значительный срок службы, они действуют бесшумно, просты в обслуживании и ремонте, экономичны.
При сравнении технико-экономических показателей применение централизованных систем отопления в жилых многоквартирных зданиях получается экономичнее.
Выбрана отопительная система с нижней разводкой магистральных теплопроводов, потому что в проектируемом здании отсутствует чердачное пространство.
Т. к. здание трехэтажное и односекционное (компактное), то для него больше подходит система с естественной циркуляцией воды.
Система отопления состоит из теплового пункта, магистральных подающих и отводящих теплопроводов, стояков, подводок к отопительным приборам, отопительных приборов и запорно-регулирующей арматуры.
Система присоединяется к наружным теплопроводам по зависимой схеме со смешением воды. Она проще по конструкции и в обслуживании, и ее стоимость ниже стоимости независимой схемы, благодаря исключению таких элементов, как теплообменники, расширительный бак и подпиточный насос. Высокотемпературная вода из наружного подводящего теплопровода заходит в тепловой пункт здания и смешивается при помощи водоструйного элеватора с водой, охлажденной в системе отопления до 70 °С. В результате чего мы имеем низкотемпературную систему отопления с расчетной температурой теплоносителя 95 °С.
Тепловой пункт размещен под нежилым помещением (под кухней). В тепловом пункте размещены вентили, грязевики, водоструйный элеватор, приборы регулировки и автоматики (измеряется расход, давление, температура в обеих магистралях). Основная запорная арматура дополнена воздушными и спускными кранами в повышенных и пониженных местах.
Из теплового пункта вода подается в магистральный подающий теплопровод, а по магистральному отводящему теплопроводу она опять попадает в тепловой пункт. Из теплового пункта также выходит ветка на отопление лестничной клетки.
Учитывая простоту конструктивного и объемно – планировочного решения здания выбрана тупиковая схема движения теплоносителя, при которой горячая и охлажденная вода в магистралях движутся в противоположных направлениях. Тупиковые системы обладают простотой, лучшей гидравлической устойчивостью по сравнению с другими схемами, позволяют сократить длину и диаметр магистралей.
Магистральные теплопроводы проложены в неотапливаемом подвале вдоль каждой фасадной стены на кронштейнах, на расстоянии 1 м от наружных стен и 1 м от потолка. Прокладка двух разводящих магистралей вдоль наружных стен позволяет сократить протяженность труб, обеспечивает эксплуатационное регулирование теплоотдачи отдельно для каждой стороны здания (пофасадное регулирование).
При размещении магистралей обеспечивается свободный доступ к ним для осмотра, ремонта и замены в процессе эксплуатации систем отопления, а также компенсация температурных деформаций. Компенсация удлинения магистралей выполняется естественными их изгибами, связанными с планировкой здания.
При прокладке предусмотрен уклон магистралей 0,003 в сторону теплового пункта, где при опорожнении системы вода спускается в канализацию. Устройство уклонов необходимо для отвода в процессе эксплуатации скоплений воздуха, а также для самотечного спуска воды из труб.
Для уменьшения бесполезных теплопотерь отопительных труб в неотапливаемом подвале устраивается сборная тепловая изоляция из штучных трубоподобных элементов. Поверх изоляционного слоя устраивается покровно-защитный слой, придающий изоляции правильную форму и защищающий ее от внешних механических повреждений. На поверхности защитного слоя делаются цветовые обозначения для каждой трубы.
В системе отопления использованы стальные неоцинкованные водогазопроводные (ГОСТ 3262-75*), легкие тонкостенные, трубы. Применение стальных труб объясняется их прочностью и простотой сварных соединений. Соединения труб устраиваются с помощью угольников, тройников, крестов, муфт и др.
Для отключения отдельных частей системы отопления на магистралях установлены муфтовые проходные краны. В пониженных местах установлены спускные краны, а в повышенных местах – воздушные краны.
Из магистральных теплопроводов горячая вода по стоякам и подводкам попадает к отопительным приборам и таким же образом отводится обратно уже охлажденной. Стояки и подводки проложены открыто, что проще и дешевле. В местах прохода стояков через перекрытия, они проложены в гильзах из кровельной стали для обеспечения свободного их движения.
Система отопления устроена вертикальной, в которой к общему вертикальному теплопроводу – стояку последовательно присоединяются отопительные приборы, расположенные на разных этажах. В угловых комнатах стояки расположены в наружном углу помещения, а в остальных случаях – у наружных стен (на расстоянии 35 мм от поверхности стен до оси труб Dн = 20 мм). Это сделано для того, чтобы отапливать помещение равномерно. С этой же целью, а также, чтобы вода поступала к каждому отопительному прибору с наивысшей температурой, выбрана двухтрубная система, в которой горячая вода по подающим стоякам поступает в отопительные приборы, а отводится из них по отводящим. Двухтрубная система обеспечила максимальный перепад температур между наружным и внутренним воздухом и минимальную площадь поверхности приборов. Т. к. здание малоэтажное, то такая система обладает хорошей гидравлической устойчивостью. Двухтрубные стояки размещены на расстоянии 80 мм между осями труб, причем подающие стояки расположены справа (при взгляде из помещения). Стояк располагается на расстоянии 150 мм от откоса окна. В местах пересечения стояков и подводок огибающие скобы устроены на стояках, причем изгиб обращен в сторону помещения. Компенсация температурных удлинений стояков обеспечена их естественными изгибами в местах присоединения к подающим магистралям. Материалом стояков является мягкая малоуглеродистая сталь.
На каждом подающем и обратном стояке установлены запорный шаровой кран и спускной кран со штуцером для присоединения гибкого шланга для слива воды.
Отопительные приборы присоединены к теплопроводам односторонне, с использованием стальных подводок диаметром Dн = 15 мм и длиной подающих – 500 мм, а отводящих 580 мм. Расстояние между подводками 500 мм (подающая подводка сверху). Уклоны подающей и обратной подводок предусмотрены в сторону движения теплоносителя и равны 5 мм на всю длину подводки. На подающих подводках установлены краны двойной регулировки типа КРДШ (Dн = 15 мм). Эти краны обладают повышенным гидравлическим сопротивлением, которое делается для равномерности распределения теплоносителя по отопительному прибору, а также допускают проведение монтажно-наладочного и эксплуатационного количественного регулирования теплоотдачи прибора. На подводке к отопительному прибору лестничной клетки регулирующей арматуры нет.
В качестве отопительных приборов использованы чугунные секционные радиаторы МС – 140А. Применение радиаторов экономично и при двухтрубной системе целесообразно, они обладают большой тепловой инерцией и теплоотдачей, большей, чем у конвекторов. Модель МС – 140А выбрана, потому что у нее наибольшая площадь нагревательной поверхности. Радиаторы установлены у наружных стен под окнами без ниш и экранов. При таком размещении прибора возрастает температура внутренней поверхности в нижней части наружной стены и окна, что повышает тепловой комфорт помещения, уменьшая радиационное охлаждение людей.
Движение теплоносителя в приборе происходит по схеме сверху – вниз (так как температура поверхности приборов получается наиболее равномерной и высокой). Расстояние от нижней грани радиатора до пола 60 мм (для удобства очистки подприборного пространства от пыли). Расстояние до подоконника 100 мм. Расстояние от радиатора до стены 25 мм.
В лестничной клетке отопительный прибор установлен только на первом этаже рядом с входной дверью в нише при входе. Это сделано, чтобы избежать перегрева верхних частей лестничной клетки. Отопительный прибор лестничной клетки такой же как и в остальных помещениях. Стояк лестничной клетки обособлен.
Удаление воздуха из системы отопления обеспечивается устройством уклонов магистральных теплопроводов и подводок; газы, концентрирующиеся в колончатых радиаторах, установленных на верхнем этаже, удаляют в атмосферу периодически при помощи ручных воздушных кранов Маевского; газы, собирающиеся в магистралях, удаляют с помощью воздушных кранов, установленных в повышенных местах.
5. Отопительные приборы
Отопительные приборы – один из основных элементов систем отопления, предназначенный для теплопередачи от теплоносителя в обогреваемые помещения.
К отопительным приборам как к оборудованию, устанавливаемому непосредственно в обогреваемых помещениях, предъявляются следующие требования, дополняющие и уточняющие требования к системе отопления.
Санитарно-гигиенические. Относительно пониженная температура поверхности, ограничение площади горизонтальной поверхности приборов для уменьшения отложения пыли, доступность и удобство очистки от пыли поверхности приборов и пространства вокруг них.
Экономические. Относительно пониженная стоимость прибора, экономный расход металла на прибор, обеспечивающий повышение теплового напряжения металла.
Архитектурно-строительные. Соответствие внешнего вида отопительных приборов интерьеру помещений, сокращение площади помещений, занимаемой приборами.
Производственно-монтажные. Механизация изготовления и монтажа приборов для повышения производительности труда. Достаточная механическая прочность приборов.
Эксплуатационные. Управляемость теплоотдачи приборов, зависящая от их тепловой инерции. Температурная устойчивоять и водонепроницаемость стенок при предельно допустимом в рабочих условиях гидростатическом давлении внутри приборов.
В данном разделе курсовой работы приведен общий порядок расчета количества секций секционного радиатора, для которого определена из теплоэнергетического баланса теплоотдача в помещение, необходимая для поддержания заданной температуры. А также произведен расчет приборов наиболее нагруженного стояка.
Результаты этого расчета сведены в таблицу.
5.1 Расчет отопительных приборов
Требуемый номинальный тепловой поток Qн.т, Вт, для выбора типоразмера отопительного прибора находится по формуле:
, (17)
где Qпр – необходимая теплопередача прибора в рассматриваемом помещении, Вт:
, (18)
где Qтр – теплоотдача открыто проложенных в пределах помещения труб стояка и подводок, Вт:
, (19)
где qв, qг – теплоотдача 1 м вертикальных и горизонтальных труб, Вт/м, [6, табл. II.22];
lв, lг – длина вертикальных и горизонтальных труб в пределах помещения, м.
φк – комплексный коэффициент приведения номинального условного теплового потока прибора Qн.у. к расчетным условиям, определяемый по формуле:
, (20)
где n, p, c – экспериментальные числовые показатели [6, табл. 9.2];
b – коэффициент учета атмосферного давления в данной местности [6, табл. 9.1];
ψ – коэффициент учета направления движения теплоносителя воды в приборе снизу – вверх:
, (21)
где a = 0,006 – для чугунных секционных и стальных панельных радиаторов типа РСВ1;
tвх, tвых – температуры воды, входящей в прибор и выходящей из него, °С.
Расход воды в приборе Gпр, кг/ч, определяется по формуле:
Gпр = [Qп×b1×b2] / [c×(tвх – tвых)], (22)
где Qп – тепловая нагрузка, Вт;
tвх, tвых – температуры теплоносителя соответственно на входе в прибор и выходе из прибора, °С.
Расчетная разность температур Δtср, °С, находится по формуле:
, (23)
где tп – температура в помещении, °С.
Средняя температура воды в отопительном приборе tср, °С, определяется по формуле:
, (24)
где tг и tо – расчетная температура горячей и обратной воды в системе, °С;
Δtм – суммарное понижение температуры воды, °С, на участках подающей магистрали от начала системы до рассматриваемого стояка;
Примечание: ориентировочно принимаем понижение температуры воды в подающей магистрали до стояка Δtм = 0,8°С.
Δtп.ст – суммарное понижение температуры воды на участках подающего стояка от магистрали до рассчитываемого прибора, °С, рассчитываемого по формуле:
, (25)
где qв,i – теплоотдача 1 м вертикальной трубы, Вт/м, на i–том участке подающего стояка, принимаемая по [6, табл. II.22] в зависимости от диаметра участка подающего стояка, разности температуры теплоносителя tп и окружающего воздуха tв;
lуч,i – длина i–го участка подающего стояка, м;
Gуч,i – расход воды, кг/ч, на i–том участке подающего стояка;
с – удельная массовая теплоемкость воды, равная 4187 Дж/(кг∙К);
β1, β2 – коэффициенты учитывающие тип отопительных приборов [6, табл. 9.4, 9.5].
Ориентировочное число секций прибора:
N = Qн.т. / Qн.у.(26)
где Qн.у – номинальный условный тепловой поток одной секции радиатора, Вт.
Минимально допустимое число секций чугунного радиатора определяют по формуле:
Nmin = Qн.т. ×b4 / Qн.у. ×b3 (27)
β4 – коэффициент учета способа установки радиатора [6, табл. 9.12];
β3 – коэффициент учета числа секций в приборе, вычисляемый по формуле:
, (28)
Расчет отопительного прибора в помещении 107, расположенного на стояке 7:
Так как гидравлический расчет в курсовой работе не выполняется, то рассчитать точно температуру воды в магистрали не удастся. Поэтому для курсовой работы принимаем, что в каждый прибор вода поступает с температурой tвх = 95°С, а температура охлажденной воды tвых = 70°С. Следовательно средняя температура воды в приборе:
tср = 0,5×[95 + 70] = 82,5°С.
Тогда расчетная разность температур:
Dtср = 82,5 – 22 = 60,5°С.
Расход воды в радиаторе:
Gпр = 3600×1600×1,03×1,02 / 4187×(95 – 70) = 57,8 кг/ч
Теплоотдача подводок вертикальных и горизонтальных труб:
Qтр = 78×2,7 + 45×2,7 + 81×0,5 + 47×0,58 = 400 Вт,
где длина вертикальных теплопроводов:
lв=2,7 м;
для горизонтальных теплопроводов:
lг=0,5 м (подающая подводка);
lг=0,58 м (обратная подводка).
Необходимая теплопередача прибора в рассматриваемое помещение:
Qпр = 1600 – 0,9×400 = 1240 Вт
Комплексный коэффициент φк :
φк = (60,5 / 70)1 + 0,3 × (57,8 / 360)0 × 1 × 1 × 1 = 0,83
где n=0,3 [6, табл. 9.2];
р=0 [6, табл. 9.2];
с=1 [6, табл. 9.2];
b=1 [6, табл. 9.1 (атмосферное давление 760 мм. рт. ст.)];
ψ=1, т. к. теплоноситель движется по схеме сверху – вниз.
Т. к. тепловой поток выбранного прибора не должен уменьшаться более чем на 5% или на 60 Вт по сравнению с Qпр, поэтому прибор выбирают по величине Qн.т, полученной исходя из значения Qпр, уменьшенного на 5% при
Qпр ≤ 1200 Вт или на 60 Вт при Qпр > 1200 Вт. И следовательно, требуемый номинальный тепловой поток:
Qн.т. = (1240 – 60) / 0,83 = 1422 Вт
Используя значение Qн.у одной секции радиатора МС – 140А [6, прил. X], определим ориентировочное число секций прибора:
N = 1422 / 164 = 8,67
При установке у стены без ниши и под подоконником, до верха которого 100 мм β4 =1,02;
b3 =0,97 + 34 / 9×164 = 0,99
Минимальное число секций прибора (при β4 =1,02) по формуле (27):
Nmin = 1422×1,02 / 164×0,99 = 8,9
Принимаем к установке 9 секций.
Результаты теплового расчета отопительных приборов сведены в таблицы 5.1 и 5.2.
Таблица 5.1 – Тепловыделения открыто проложенных труб
| N помещения |
Qтр вертик., Вт |
Qтр гориз., Вт |
Qтр, Вт |
| подающие |
обратные |
подающие |
обратные |
| q, Вт/м |
l, м |
q, Вт/м |
l,м |
q, Вт/м |
l, м |
Q, Вт/м |
l, м |
| 107 |
78 |
2,7 |
45 |
2,7 |
81 |
0,5 |
47 |
0,58 |
400 |
| 207 |
78 |
2,7 |
45 |
2,7 |
81 |
0,5 |
47 |
0,58 |
400 |
| 307 |
78 |
0,604 |
45 |
0,104 |
81 |
0,5 |
47 |
0,58 |
120 |
Таблица 5.2 – Результаты теплового расчета отопительных приборов
| N прибора |
Qп, Вт |
tп, °С |
tср, °С |
Δtср, °С |
Gпр, кг/ч |
φк |
Qтр, Вт |
Qпр, Вт |
Qн.т, Вт |
Nmin |
Nуст |
| 1 |
1600 |
22 |
82,5 |
60,5 |
57,8 |
0,83 |
400 |
1240 |
1422 |
8,9 |
9 |
| 2 |
1470 |
22 |
82,5 |
60,5 |
53,1 |
0,83 |
400 |
1110 |
1270 |
7,9 |
8 |
| 3 |
1630 |
22 |
82,5 |
60,5 |
58,9 |
0,83 |
120 |
1522 |
1761 |
10,9 |
11 |
Заключение
В ходе выполнения данной курсовой работы была выбрана подходящая система отопления для трехэтажного односекционного жилого здания с заранее определенными конструктивными элементами и архитектурно-планировочным решениям. При выборе системы отопления были учтены санитарно-экономические, экономические, эксплуатационные и другие требования. Также были выбраны отопительные приборы и произведен их расчет.
В результате, можно сказать, что запроектированная система отопления обеспечивает нормируемые условия микроклимата в здании, энергетическую эффективность здания и минимальные экономические затраты на его эксплуатацию.
Библиографический список
1. СНиП 23-01-99*. Строительная климатология / Госстрой России. – М.: ГУП ЦПП, 2005.
2. СНиП 23-02-2003. Тепловая защита зданий / Госстрой России. – М.: ФГУП ЦПП, 2004.
3. ГОСТ 30494-96. Здания жилые и общественные. Параметры микроклимата в помещениях / Госстрой России. – М.: МНТКС, 1999.
4. СП 23-101-2004. Проектирование тепловой защиты зданий / Госстрой России. – М.: ГУП ЦПП, 2005.
5.Сканави А. Н., Махов Л. М. Отопление: Учебник для вузов. – М.: Издательство АСВ, 2002.
6. Внутренние санитарно-технические устройства. В 3 ч. Ч.1. Отопление / В. Н. Богословский, Б. А. Крупнов, А. Н. Сканави и др.; Под ред. И. Г. Староверова и Ю. И. Шиллера. – М.: Стройиздат, 1990. (Справочник проектировщика).
7. Лымбина Л. Е., Магнитова Н. Т. Отопление и вентиляция гражданского здания. Учебное пособие к курсовому проекту. Часть 1. Теплотехнический расчет конструкций. Теплоэнергетический баланс здания. – Челябинск, ЮУрГУ, 1998.
8. Лымбина Л. Е., Магнитова Н. Т., Буяльская И. С. Отопление и вентиляция гражданского здания. Учебное пособие к курсовому проекту. Задание. – Челябинск, ЧГТУ, 1994.
|