Тема:Зниження токсичності автомобілів в експлуатаційних умовах
Зміст
1.Загальні положення
2. Експлуатаційні причини підвищеного вмісту токсичних речовин у відпрацьованих газах автомобілів
3. Організація дорожнього руху
4. Технічний стан автомобілів
5. Якість технічного обслуговування та ремонту автомобілів і двигунів
6. Практичне використання вторинних ресурсів
7. Очищення води та повторне її використання
8. Норми витрат палива
Перелік використаної літератури
1. Загальні положення
Безперервне підвищення інтенсивності руху автотранспортних засобів спричинило значне зростання забруднення атмосфери великих міст та індустріальних центрів. Основними заходами зі зниження забруднення навколишнього середовища є удосконалення автотранспортного процесу та створення індустріальних систем автомобільного транспорту. Удосконалення автотранспортного процесу має організаційний характер, передбачає зниження викиду токсичних речовин на одиницю автотранспортної роботи і організацію дорожнього руху, режими руху автотранспортних заходів, підвищення професійної майстерності водіїв, підвищення коефіцієнтів використання вантажності чи місткості автотранспортних засобів, збільшення рівня ефективності використання власних автомобілів (збільшення кількості пасажирів у поїздці, обмеження кількості поїздок тощо).
Створення індустріальних систем автотранспорту передбачає поліпшення технічного стану автотранспортних засобів, застосування додаткових засобів зниження токсичності автомобільних двигунів, створення системи контролю токсичності відпрацьованих газів на автомобільному транспорті.
Експлуатація рухомого складу, спрямована на задоволення безперервно зростаючих потреб народного господарства і населення в перевезеннях вантажів і пасажирів, пов'язана із закономірними змінами його технічного стану, що супроводжується збільшенням викидів токсичних речовин на одиницю шляху.
Викид токсичних речовин на одиницю транспортної роботи (1 т-км) вантажними автомобілями середньої вантажності з карбюраторними двигунами становить: CO— 10,1 г/т-км, СН — 1,1 г/т-км, NOX
— 1,6 г/т-км. При напрацюванні 40...50 т-км викид COзбільшується на 30...40%, СН — на 20...30%, aNOх
, нa 15...18%.
Забиваем Сайты В ТОП КУВАЛДОЙ - Уникальные возможности от SeoHammer
Каждая ссылка анализируется по трем пакетам оценки: SEO, Трафик и SMM.
SeoHammer делает продвижение сайта прозрачным и простым занятием.
Ссылки, вечные ссылки, статьи, упоминания, пресс-релизы - используйте по максимуму потенциал SeoHammer для продвижения вашего сайта.
Что умеет делать SeoHammer
— Продвижение в один клик, интеллектуальный подбор запросов, покупка самых лучших ссылок с высокой степенью качества у лучших бирж ссылок.
— Регулярная проверка качества ссылок по более чем 100 показателям и ежедневный пересчет показателей качества проекта.
— Все известные форматы ссылок: арендные ссылки, вечные ссылки, публикации (упоминания, мнения, отзывы, статьи, пресс-релизы).
— SeoHammer покажет, где рост или падение, а также запросы, на которые нужно обратить внимание.
SeoHammer еще предоставляет технологию Буст, она ускоряет продвижение в десятки раз,
а первые результаты появляются уже в течение первых 7 дней.
Зарегистрироваться и Начать продвижение
Під час тривалої експлуатації автомобіля відмови на основних агрегатах і системах, які впливають на токсичність відпрацьованих газів, розподіляються так: двигун — 26%, система живлення — 38, система запалювання — 21 і трансмісія — 15%.
Найбільш суттєво впливає на викид токсичних речовин технічний стан рухомого складу автотранспорту. Несправні або нерегульовані автомобілі забруднюють атмосферу значно більше, ніж справні. Вищий рівень і культура технічної експлуатації автомобілів помітно знижують забруднення навколишнього середовища. Подальше збереження чистоти повітряного басейну залежить від обґрунтованого вибору законодавчих норм вмісту токсичних речовин у відпрацьованих газах і методів їх визначення.
У сучасних умовах автомобілізації найбільш ефективними способами зменшення забруднення атмосфери є удосконалення транспортного процесу та застосування антитоксичних пристроїв, а в перспективі — створення нових типів енергетичних установок і палива. Зниження токсичності відпрацьованих газів на автомобільному транспорті зумовлене необхідністю вирішення складних технічних і організаційно-технологічних проблем, таких як оптимізація дорожнього руху транспортних засобів; розробка індустріальних методів і прогресивних технологічних процесів у сфері технічної експлуатації автомобільного транспорту; удосконалення техніко-експлуатаційних властивостей рухомого складу; створення раціональної структури автомобільного парку; розробка і впровадження на автомобільному транспорті малотоксичних і нетоксичних видів палива.
2. Експлуатаційні причини підвищеного вмісту токсичних речовин у відпрацьованих газах автомобілів
Підвищений викид токсичних речовин на одиницю транспортної роботи або перевезення одного пасажира зумовлений порушенням оптимальних характеристик автомобілів і недосконалістю системи керування транспортним процесом. Тому питома величина викиду токсичних речовин за одних і тих же умов експлуатації змінюється в широких межах.
Основними причинами підвищеного вмісту токсичних речовин у відпрацьованих газах автомобілів є порушення складу горючої суміші на основних експлуатаційних режимах; погіршення процесу запалювання горючої суміші (Рис. 2.1.).
Порушення складу горючої суміші зумовлене зміною стабільності регулювальних характеристик двигуна і його систем. Викиди NОх
у відпрацьованих газах досягають максимального значення при коефіцієнті надлишку повітря а = 1,1 зі збільшенням чи зменшенням зазначеної величини. Викиди NОх
зменшуються зі збільшенням запізнення запалювання та досягають максимуму при найбільш багатій горючій суміші. При а = 0,9 NОх
знижується майже на 35...44% при запізненні кута випередження на 18...20", але при цьому питомі витрати палива зростають до 12%. Вміст СН у відпрацьованих газах знижують також шляхом зменшення кута випередження запалювання.
Сервис онлайн-записи на собственном Telegram-боте
Попробуйте сервис онлайн-записи VisitTime на основе вашего собственного Telegram-бота:
— Разгрузит мастера, специалиста или компанию;
— Позволит гибко управлять расписанием и загрузкой;
— Разошлет оповещения о новых услугах или акциях;
— Позволит принять оплату на карту/кошелек/счет;
— Позволит записываться на групповые и персональные посещения;
— Поможет получить от клиента отзывы о визите к вам;
— Включает в себя сервис чаевых.
Для новых пользователей первый месяц бесплатно.
Зарегистрироваться в сервисе

Рис. 2.1. Шкідливі викиди вихлопних газів автомобіля:а - при роботі на бензині; б - при роботі на зрідженому нафтовому газі; в - при роботі на стиснутому природному газі
Методи впливу на склад відпрацьованих газів автомобільних двигунів передбачають: поліпшення якості перебігу процесу і повноту згоряння палива у циліндрах двигуна; заміну складу відпрацьованих газів у системі випуску двигуна; застосування перелічених методів водночас.
Зниження вмісту токсичних речовин у відпрацьованих газах шляхом оптимізації процесу згоряння є найбільш перспективним методом, бо продукти згоряння CO і СН легше нейтралізуються на стадії утворення, ніж у системі випуску із застосуванням ненадійних і дорогих нейтралізаторів.
Забруднення атмосфери міст залежить безпосередньо від інтенсивності автомобільного руху, його організації, ступеня майстерності водія автомобілів, технічного стану транспортних засобів і паливно-запобіжної системи технічного обслуговування та поточного ремонту автомобілів, а також застосування антитоксичних пристроїв.
Аналіз транспортного процесу свідчить, що при роботі двигуна на холостому ходу ступінь концентрації COперевищує в 2,1, а на режимах примусового холостого ходу в 1,6-1,9 разу установлені режими. Внаслідок цього в центральній частині міста ступінь концентрації в атмосфері CO у 3-4 рази більший, ніж на швидкісних автомобільних магістралях, що призводить збільшення викиду NОх
в 1,45 разу. При рівномірному русі автомобілів СН знижується в 1,7-1,85 разу порівняно з неустановленими режимами.
Неправильне управління автомобіля водієм призводить до збільшення токсичності викидів COі СН на 25...30% і NOX
на 1О...15%.
Застосування антитоксичних пристроїв і регулювання карбюратора на збіднені горючі суміші дає змогу зменшити викиди токсичних речовин на одиницю шляху (г/км), зокрема COв 2,1; СН в 1,5 і NOX
в 2,6 разу.
Викиди токсичних речовин автомобіля в різних експлуатаційних умовах змінюються залежно від швидкості руху автомобіля. У міських умовах експлуатації при невисоких швидкостях руху викиди CO в 1,46...2,2 і СН в 2,1...2,8 разу вищі порівняно з вільним рухом на міжміських дорогах і маршрутах. При підвищенні швидкості ця різниця значно зменшується.
При збільшенні швидкості руху вантажного автомобіля середньої вантажності з карбюраторним двигуном з 20 до 60 км/год кількість токсичних речовин зменшується: CO з 83 до 27 г/км, а СН з 10 до 5,8 г/км. Збільшення тривалості роботи двигуна на холостому ходу і при гальмуванні сприяє збільшенню викиду токсичних речовин в 1,5-2 рази. За всіх однакових умов збільшення кількості магістралей швидкісного руху забезпечує зниження продуктів неповного згоряння CO і СН, але збільшує вміст NOX
в атмосфері на 20...30%.
Конструктивні особливості автомагістралей суттєво впливають на режим руху автомобіля і відповідно на викиди токсичних речовин. Навіть наявність на автомагістралях невеликих схилів збільшує викиди COна 15...25%, а СН на 10...20%.
При неоптимальній організації автоперевезень народногосподарських вантажів і пасажирів питомий викид шкідливих речовин на одиницю транспортної роботи або перевезення пасажира суттєво збільшується.
Викид токсичних речовин і, як наслідок, енергетичні витрати пов'язані переважно з переміщенням власної маси автомобіля. Викид токсичних речовин на перевезення одного пасажира автомобілем ГАЗ-24 "Волга" порівняно з масою автомобіля менший щодо COв 24 рази, СН в 40 і в NOX
b31раз. Тому зниження металомісткості транспортних засобів є одним із значних резервів зниження забруднення атмосфери. Саме цим шляхом удосконалюють конструкції сучасних автомобілів провідні зарубіжні фірми.
3. Організація дорожнього руху
Між концентрацією CO в атмосфері та інтенсивністю руху транспортних засобів існує безпосередній зв'язок. Для його визначення доцільно використати залежність викиду токсичних речовин окремим автомобілем під час руху його в транспортному потоці від середньої швидкості на ділянці між двома перехрестями (Рис. 3.1.).

Рис. 3.1.
Підвищення інтенсивності автомобільного руху з 400 до 1200 авт./ год на автомагістралях збільшує вміст COв атмосфері з 0,00056 до 0,0017%, тобто практично в три рази. Максимальна концентрація COв атмосфері великих міст в робочі дні спостерігається у ранішній та вечірній час, а у вихідні та святкові дні — тільки ввечері, що деякою мірою відповідає інтенсивності руху транспортних потоків у зазначені години доби. Зниженню токсичності в центральній частині великих міст сприяє раціональна організація транспортного процесу, яка передбачає повну заборону або хоча б часткове обмеження в'їзду вантажних автомобілів в цю частину міста. Правильне планування та регулювання міського руху забезпечує скорочення числа й тривалості зупинок автомобілів, зменшує тривалість їх роботи на токсичних режимах, запобігає скупченню транспортних засобів на перехрестях. Резервом ефективного зниження забруднення атмосфери є забезпечення оптимального руху всього транспортного потоку, регулювання тривалості зупинок автомобіля і швидкості його руху на окремих перегонах.
Режими руху
Робота автомобільного двигуна характеризується безперервною зміною швидкісних і навантажувальних режимів, кожному з яких відповідає певна кількість викиду токсичних речовин. При цьому ступінь концентрації токсичних компонентів у відпрацьованих газах змінюється залежно від потужності двигуна, його температурного режиму, керування автомобілем та інших факторів.
Вивчення режимів руху автотранспортних засобів свідчить, що у великих містах тривалість роботи вантажних автомобілів становить на холостому ходу 17%, у режимах прискорення 42, постійної швидкості 16 і режимах сповільнення 25%. В умовах руху автомобілів на заміських автомагістралях тривалість роботи двигуна автомобіля на холостому ходу збільшується залежно від щільності транспортних потоків від 1 до 3%. Співвідношення зазначених режимів в балансі часу роботи автомобіля несприятливі і з точки зору токсичності відпрацьованих газів (табл. 1).
Таблиця 1. Вплив режимів руху автомобілів на концентрацію токсичних речовин
| Токсичні компоненти відпрацьованих газів, % |
Режим роботи |
| Холостий хід |
Постійна швидкість |
Прискорення 0…40 км/год |
Сповільнення
0…40 км/год
|
| Оксид вуглецю |
0,50…8,00 |
0,030…2,50 |
1,90…3,80 |
1,50…4,10 |
| Вуглеводні |
0,03…0,12 |
0,02…0,40 |
0,12…0,17 |
0,28…0,45 |
| Оксид азоту |
0,005…0,01 |
0,08…0,14 |
0,12…0,19 |
0,02…0,04 |
Результати тривалих досліджень підтверджують необхідність удосконалення організації руху транспортних засобів у нашій країні.
Проблема зниження забруднення атмосфери ускладнюється у зв'язку зі зростанням темпів автомобілізації, що зумовлює збільшення інтенсивності руху в центральній частині міст на 6...10%, підвищення викиду токсичних речовин, а також зростання витрат палива на одиницю транспортної роботи або перевезення одного пасажира. Найважливішим фактором зниження токсичних викидів у відпрацьованих газах є прийоми керування автомобілем. Точне визначення положення та інтенсивності відкриття дросельної заслінки, забезпечення рівномірного руху на правильно вибраній передачі, а також раціональне дотримання умов проїзду перехресть і тунелів забезпечує мінімальне забруднення навколишнього середовища. Водій повинен завжди підтримувати постійну швидкість руху автомобіля на вищій передачі, допустимій в конкретних дорожніх умовах.
Невміння водія підтримувати оптимальний режим роботи двигуна при пуску, на початку руху, на тривалих зупинках, а також при прискоренні та сповільненні автомобіля (особливо в години пік) збільшують частку токсичних режимів у загальному балансі часу роботи автомобіля. При цьому рух автомобіля характеризується частою зміною режимів підгальмовування та прискорення, які збільшують кількість сповільнень і прискорень на 10...20%, що погіршує паливну економічність автомобіля і збільшує викид токсичних речовин на одиницю шляху. Тому розроблення найбільш оптимальних режимів руху транспортних засобів з метою зменшення викиду токсичних речовин повинно бути спрямоване передусім на поліпшення роботи двигуна на холостому ходу, у режимах прискорення і сповільнення. Доцільно детальніше розглядати особливості викиду токсичних речовин в умовах експлуатації у кожному режимі роботи двигуна (на стоянці і під час руху).
Холостий хід. Сьогодні обмеження токсичності випускних газів на автотранспорті здійснюється здебільшого у напрямі зменшення вмісту в них CO, який досягає максимального значення при роботі двигуна на холостому ходу. Це пояснюється тим, що викид токсичних речовин карбюраторного двигуна вантажного та легкового автомобілів залежить від частоти обертання колінчастого вала.
На регулювання системи холостого ходу завжди звертали особливу увагу. Найбільш ефективним засобом зменшення токсичних викидів у цьому режимі є збільшення горючої суміші. Але при значному збідненні (а = 1,0 і більше) та відносно великому значенні коефіцієнта залишкових газів у циліндрах двигуна виникають перебої через не запалювання робочої суміші і підвищення вмісту СН у відпрацьованих газах. Двигун вібрує і працює нестійко. Тому регулювати систему холостого ходу на збіднену горючу суміш при експлуатації автомобілів небажано.
Збагачення горючої суміші у режимах холостого ходу необхідне для стійкої роботи двигуна і особливо при його прогріванні та рушанні автомобіля з місця. Це пояснюється тим, що в більшості випадків система холостого ходу продовжує працювати і на навантажувальних режимах (до ЗО...40%), помітно впливаючи на викиди токсичних речовин у тягових режимах руху. Згідно з експериментальними даними, в обстежених 500 вантажних автомобілів середньої вантажності на мінімальному холостому ходу вміст CO(%) становив до 1,5 у 15%; до 4 у 40%; до 6 у 20%, більше 6 у 16% автомобілів. Система холостого ходу карбюратора є найбільш нестабільною. її початкові параметри змінюються за пробіг на 8...9 тис. км. У випадку неправильного регулювання вміст COі СН у відпрацьованих газах помітно збільшується. Діапазон зміни вмісту COстановить 0,1...8%. Середній ступінь концентрації COу контрольованих автомобілів дорівнює 3%, а у неконтрольованих — 6,1%. Таким чином, зниження токсичності відпрацьованих газів на холостому ходу значною мірою залежить від організації ТО та регулювання системи холостого ходу. Обстеження стану карбюраторів автомобілів автопідприємств свідчать, що тільки 15% з них мають правильно відрегульовану систему холостого ходу. Витрати палива, що припадають на цю систему, становлять 11... 13% від загальних витрат, а у випадку порушення її регулювання 18...20%. Ще більш відчутно впливає система холостого ходу на викид токсичних речовин при русі автомобіля з невеликими швидкостями. Зменшення вмісту CO на холостому ходу знижує токсичні викиди CO і СН легкових автомобілів з 32 до 19 г/км і з 2,9 до 1,95 г/км відповідно. Протягом багатьох років науково-дослідні інститути працюють над поліпшенням стабільності роботи системи холостого ходу та зниженням токсичності відпрацьованих газів у цьому режимі. В результаті в конструкції карбюратора "Озон", що використовується на автомобілях марки ВАЗ, систему холостого ходу забезпечують двома гвинтами. За допомогою одного з гвинтів заводського виготовлення регулюють необхідний склад горючої суміші, а другий служить для обмеження мінімального відкриття кута повороту дросельної заслінки. В експлуатаційних умовах зазначені гвинти не використовують. Система холостого ходу влаштована таким чином, що навіть при некваліфікованому втручанні в експлуатацію карбюратор не може бути розрегульований так, щоб вміст COу відпрацьованих газах перевищував норми, визначені стандартом. Перерегулювання системи холостого ходу здійснюють тільки на станціях технічного обслуговування автомобілів.
Режим розгону. При переході двигуна з режиму холостого ходу на навантажений горюча суміш значно збіднюється. У цьому випадку токсичність відпрацьованих газів залежить від характеристик насоса-прискорювача. В години "пік" частка режимів розгону в загальному балансі часу збільшується додатково на 10...20%. Зі зменшенням подачі насоса-прискорювача карбюратора К—126Г з 13 до 3...4 см3
за десять повних ходів поршня в період розгону відповідно зменшуються вміст COу відпрацьованих газах у 2,5 разу і СН у 2,7 разу, паливна економічність автомобіля ГАЗ-24 "Волга" підвищується до 1 %. Подальше зниження подачі зумовлює збільшення викиду токсичних речовин і одночасно погіршує динамічні якості автомобіля.
Усталені режими
В експлуатаційних умовах автомобільний двигун 80% часу працює на часткових навантаженнях, для яких характерна відносно невисока концентрація токсичних речовин. Хоч тривалість роботи на усталених режимах невелика — 14...16%, об'єм відпрацьованих газів становить 48%, а викид COі СН — 26 і 19 г/км відповідно.
На міжміських автомагістралях автомобілі рухаються зі швидкістю 55...60 км/год, в центральній частині міста 20...23 км/год, а на хордових маршрутах — 25...29 км/год.
На міських маршрутах автомобіль порівняно мало (2...6%) працює у режимах повної потужності. Сучасні умови автомобілізації потребують оптимізації основних експлуатаційних характеристик двигуна. Карбюратор у тих умовах регулюють на певний склад горючої суміші, що забезпечує мінімальну величину викиду токсичних речовин у визначених режимах. При стехіометричному складі горючої суміші (а = 1,0) виділяється 0,3% COі 0,2...0,3% різних СН (від маси витраченого палива). Беручи до уваги специфіку та різноманітність експлуатаційних режимів роботи двигуна необхідно регулювати карбюратор на склад горючої суміші, що забезпечує потуж-нісне і економічне та екологічне регулювання карбюратора в межах (а = 0,95-1,15). Що більше а, то менше у відпрацьованих газах продуктів неповного згоряння. Надмірне збільшення значення коефіцієнта надлишку повітря зумовлює нестійку роботу двигуна та втрату потужності. Мінімально можливий викид токсичних речовин в основних експлуатаційних режимах здебільшого визначається надійною та правильною роботою економайзера. Передчасне відкриття економайзера збагачує горючу суміш у режимах малих і середніх навантажень, хоч збагачення у цих режимах абсолютно небажане. Пізнє вмикання клапана економайзера також небажане, бо під час руху автомобіля з одною і тією ж швидкістю необхідно збільшувати кут повороту відкриття дросельної заслінки. Випробування карбюраторів вантажних автомобілів середньої вантажності свідчать, що викиди CO у відпрацьованих газах на одному й тому ж автомобілі і в однакових дорожніх умовах суттєво відрізняються. Токсичні характеристики для різних карбюраторів залежно від швидкості руху відрізняються на 20...60%. Аналогічна закономірність характерна і для легкових автомобілів. Режим сповільнення з точки зору токсичності відпрацьованих газів є одним із найменш сприятливих. У нормальних умовах експлуатації інтенсивність сповільнення вантажного автомобіля становить 0,6... 1,80 м/с2
. За час проходження відстані в 1 км в центральній частині великого міста легковий автомобіль робить в середньому 3,1 гальмування або 1,1 гальмування на кожну хвилину. При переході двигуна з навантажувального у режим примусового холостого ходу відбувається інтенсивне випаровування паливної плівки у впускному трубопроводі та подача горючої суміші (емульсії) через систему холостого ходу. Для цього режиму характерний підвищений вміст продуктів неповного згоряння палива (CO) у відпрацьованих газах, зумовлений перезбагаченням горючої суміші внаслідок швидкого закривання дросельної заслінки і відносно великого вмісту залишкових газів.
Для зменшення викиду токсичних речовин вантажним та легковим автомобілям в експлуатаційних умовах, якщо дозволяє дорожня ситуація, необхідно уникати режиму примусового холостого ходу.
4. Технічний стан автомобілів
Вплив технічного стану автомобілів на кількість викиду токсичних речовин залежить від двох основних причин — порушення складу горючої суміші та її запалювання. При тривалій експлуатації автомобіля регулювання двигуна та його систем з різних причин значно змінюється і спричинює підвищений вміст CO і СН у відпрацьованих газах. Викид токсичних речовин у відпрацьованих газах під час експлуатації внаслідок зміни технічного стану карбюратора, підвищення гідравлічного опору повітряного фільтра, відкладення нагару на стінках камери згоряння і порушення зазорів в газорозподільному механізмі безперервно збільшується. Нещільне прилягання випускних клапанів і порушення зазорів в клапанному механізмі передусім свідчить про збільшення кількості вуглеводнів у відпрацьованих газах. При негерметичному випускному клапані на такті стиску частина незгорілої суміші потрапляє в систему випуску відпрацьованих газів, вони надходять у картер двигуна через збільшені зазори циліндропорпіневої групи двигуна з відкритою вентиляцією картера і забруднюють атмосферу СН. Таким чином, під час тривалої експлуатації автомобілів зміни кількості токсичних речовин у продуктах згоряння зумовлені такими основними причинами: зміною технічного стану та регулювальних параметрів карбюратора і повітряного фільтра; порушенням регулювальних параметрів системи запалювання; спрацюванням циліндропоршневої групи і клапанної групи двигуна. Згідно з класифікацією найбільш характерних несправностей автомобільних карбюраторних двигунів (табл. 8.3) найбільше впливають на викиди токсичних речовин на 1 км шляху в реальних умовах експлуатації системи живлення та запалювання, стан циліндропоршневої,групи та газорозподільного механізму. Дефекти й несправності карбюратора зумовлюють або надмірне збагачення або надмірне збіднення горючої суміші. Система холостого ходу та збагачувальні системи (насос-приско-рювач і економайзер) карбюратора найбільш нестабільні. Система холостого ходу вже при напрацюванні 8 тис. км значно змінює свої початкові регулювальні параметри. Холостий хід регулюють вже при більш пізньому куті випередження запалювання і на вищій частоті обертання колінчастого вала, що дає змогу збіднити склад горючої суміші у даному режимі. Найбільш поширеним дефектом системи холостого ходу є перезбагачення горючої суміші. У випадку неправильного регулювання системи холостого ходу величина викидів COі СН збільшується на 35...40 і 30...35% відповідно на одиницю шляху.
Надмірне збіднення горючої суміші на холостому ходу трапляється значно рідше і становить лише 8...10%. Цей дефект супроводжується підвищеним викидом СН і NOX^ до 14 і 10% відповідно.
Негерметичність клапана економайзера є одним із найбільш поширених дефектів карбюратора. При негерметичному клапані на режимах малих і середніх навантажень викид COзростає в 1,5-2 рази. В реальних умовах експлуатації такий дефект збільшує викид COна 1 км шляху на 4О...55% і СН на 60...70%. Вміст NOX^. в цьому випадку зменшується на 7...8%. Раннє вмикання клапана економайзера навіть на 1 мм суттєво збагачує суміш у режимах малих і середніх навантажень, при яких збагачення дуже небажане. Викид CO збільшується на 35...60% і СН на 40...48%. Пізнє вмикання клапана економайзера зумовлює деяке збільшення викидів СН і зниження CO. Перевищення подачі насоса-прискорювача у 2-3 рази порівняно з оптимальною величиною збільшує викиди COв 1,6 разу і СН і 1,5— 2,9 разу. За даними експлуатаційних спостережень 65...72% обстежених інерційно-масляних повітряних фільтрів не відповідали технічним умовам щодо виносу масла в двигун, водночас гідравлічний опір обстежених повітряних фільтрів при напрацюванні вже 40...50 тис. км на 45...55% вищий порівняно з технічними умовами заводів-виробників.
Підвищення гідравлічного опору повітряного фільтра в 2 рази при напрацюванні 100 тис. км збільшує викид СО3
з 42 до 54 г/км автомобілем середньої вантажності при швидкості руху 40 км/год, а вуглеводнів з 6,5 до 8,1 г/км. Винесення масла в двигун сприяє підвищеному викиду канцерогенних речовин, що зростає в більшості випадків на цілий порядок.
Найбільш суттєво впливає на експлуатаційні властивості автомобіля величина кута випередження запалювання. Навіть поелементна перевірка та регулювання системи запалювання в межах технічних умов (ТУ) заводів-виробників може мати поле розсіювання кута 12° і більше.
Збільшення кута випередження запалювання (раннє запалювання) поліпшує паливну економічність до 5... 10% і водночас підвищує вміст у відпрацьованих газах СН на 15...20% і NOх на 12...16%. Концентрація COі СО2
при цьому не змінюється, оскільки ці компоненти залежать від складу горючої суміші. Зменшення кута випередження запалювання на 12° (пізнє запалювання) знижує концентрацію NOу відпрацьованих газах на 25...32%, а СН на 20...30%. Зниження концентрації СН у відпрацьованих газах пояснюється підвищенням температури відпрацьованих газів, внаслідок чого відбувається їх догорання у системі випуску.
Величина зазору між контактами перервника-розподільника також помітно впливає на відхилення величини кута випередження запалювання від оптимальної. За рекомендаціями заводів-виробників технологічний допуск на згаданий зазор, який утворює поле розсіювання по куту випередження запалювання до 6°, становить 0,1 мм. Практично ця величина змінюється в ширших межах. Порушення зазорів між контактами перервника-розподільника в експлуатаційних умовах зумовлює збільшення викиду СН до 30%.
Порушення роботи свічок запалювання також є найпоширенішим дефектом системи запалювання. Збільшення зазору між електродами свічки призводить до збільшення ступеня концентрації викиду СН до 24%. Збільшення зазору на 20% проти нижньої оптимальної границі (0,85 = 1 мм автомобіля ЗІЛ—130 і ГАЗ-53А) підвищує концентрацію СН до 40%.
Одна із непрацюючих свічок восьмициліндрового двигуна або дві, що працюють з перебоями, свічки можуть спричинити збільшення викиду СН у 1,8-2,6 разу. Під час роботи з перервами свічки запалювання чотирициліндрового двигуна викид СН збільшується до 200%.
Граничне спрацювання циліндропоршневої групи у восьмициліндрових двигунах погіршує потужності та економічні якості на 8—10 і 14-19% відповідно і збільшує до 3...4% вигар моторного масла від витрат палива. Викид СН з продуктами згоряння збільшується у 1,4-2,2 разу.
Негерметичність випускних клапанів, незадовільний стан сідел і поверхонь зумовлює збільшення СН у відпрацьованих газах. Збільшення зазору у впускних клапанах між насосом коромисла і стержнем клапана на величину 0,1 мм порушує фази газорозподілу. Наприклад, у восьмициліндрових двигунах сімейства ЗІЛ і ГАЗ зазначеній величині зазору відповідає зміна кута повороту колінчастого вала на 8-9°.
Порушення фаз газорозподілу призводить до зниження коефіцієнта наповнення і збільшення коефіцієнта залишкових газів. Збільшення зазору між носиком коромисла і стержнем клапана на 0,1 мм підвищує концентрацію викидів СН на 50...60%. Температурний режим двигуна автомобіля. Зниження температури охолоджувальної рідини зумовлює передусім збільшення СН у відпрацьованих газах. Частково це пояснюється тим, що робоча суміш охолоджується в пограничному шарі відносно холодною стінкою камери згоряння. При досягненні фронту полум'я такої поверхні камери згоряння відбувається погашення реакції окиснення. Частина робочої суміші, що не прореагувала, викидається з відпрацьованими газами у вигляді СН. Для зниження СН у системі випуску двигуна у даному випадку доцільно вибирати більш пізнє запалювання, що одночасно призводить і до зниження NOX
.З підвищенням температури в системі охолодження двигуна автомобіля середнього класу із 40°С (після підігрівання двигуна на холостому ходу) до 80°С вміст СН зменшується до 42%. Викид NOх у цьому випадку зростає до 48%. Більший ступінь концентрації NOX^ характерний для бідніших сумішей і діапазону зміни температури від 65 до 80°С.
Таким чином, забезпечити зниження викиду СН неможливо без правильної організації експлуатації автомобільних двигунів. Необхідною умовою є також наявність ефективно працюючого термостата, який забезпечує прискорене прогрівання двигуна. Заправлення системи охолодження рідиною, що замерзає при низьких температурах (наприклад, антифризом "Тосол"), теплотворна здатність якої на 25...35% менша води, поліпшує робочий процес у режимах запуску та прогрівання двигуна. При заправленні антифризом тепла відводиться значно менше, ніж при заправленні водою, завдяки цьому температура стінок камери згоряння підвищується на 7О...8О°С. Збільшення температури в системі охолодження знижує відносну тепловіддачу при стисненні та згорянні робочої суміші.
Підвищення температурного режиму деталей двигуна (поршня, випускного клапана тощо) сприяє окисненню продуктів неповного згоряння COі СН у системі випуску двигуна.
Підвищення температури навколишнього середовища збільшує вихід паливної пари зі системи живлення, що спричинює забруднення атмосферного повітря СН. Для зниження забруднення атмосфери паливною парою на сучасних автомобілях в експериментальному порядку застосовують систему вловлювання пари. Основною частиною цих систем є фільтр з активованим вугіллям, який акумулює паливну пару при непрацюючому двигуні. При працюючому двигуні рух повітря, через цей фільтр регулюється спеціальним клапаном.
5. Якість технічного обслуговування та ремонту автомобілів і двигунів
В експлуатаційних умовах зі збільшенням напрацювання автомобіля відбувається закономірна зміна основних регулювальних параметрів і технічного стану вузлів і систем карбюратора, які впливають на точність і стабільність дозування палива в широкому діапазоні швидкісних і навантажувальних режимів роботи двигуна. Під час роботи двигуна на часткових навантаженнях, найбільш характерних для реальних умов експлуатації, дозувальні системи карбюратора повинні подавати горючу суміш, яка б забезпечувала роботу двигуна при неповному відкритті дросельної заслінки з мінімально можливими витратами палива і викидом токсичних речовин на одиницю шляху або перевезення пасажира.
Тривала експлуатація автомобіля спричинює збільшення у відпрацьованих газах продуктів неповного згоряння COі СН. Кількість автомобілів автопідприємств великих міст, які контролюють періодично на вміст CO, становить тільки 20%, а тих, що підлягають вибірковому контролю, дещо більше — близько 30%. Середній викид токсичних речовин COі СН у автомобілів з несправним і невідрегульованим двигуном і його системами у 2-3 рази вищий, ніж при його технічно справному стані.
На автопідприємствах обмеження токсичності відпрацьованих газів здійснюють здебільшого у напрямі зниження кількості в них CO, яка досягає максимального значення під час роботи двигуна на холостому ходу і прискоренні автомобіля. При невідрегульованій системі холостого ходу спостерігається підвищений удвічі викид CO порівняно з контрольованою системою. Основними причинами є недосконалість конструкції системи холостого ходу традиційних карбюраторів, відсутність діагностичного контролю над складом відпрацьованих газів і виконання регулювальних робіт на двигуні без використання газоаналізаторів і тахометрів частоти обертання колінчастого вала. Типові порушення роботи двигуна на холостому ходу зумовлені самовільною зміною положення гвинта якості горючої суміші, засмоленнями у вихідних каналах системи холостого ходу, підвищеннями рівня палива в поплавковій камері, порушеннями регулювань і наявністю спрацювань у системі запалювання. Аналіз результатів експлуатаційних спостережень свідчить, що у 15...20% автомобілів (середній вік сім років) викид CO відповідає рівню стандартів. Тому однією з обов'язкових умов зниження токсичності відпрацьованих газів є поліпшення технічного стану системи живлення і запалювання шляхом своєчасного та правильного їх регулювання. Згідно зі статистичними даними застосування діагностичних методів технічного обслуговування та поточного ремонту забезпечує зниження COі СН при роботі двигуна на холостому ходу відповідно на 20 і 22%, а при додатковій перевірці на навантажених режимах такі викиди знижуються ще більше, відповідно на 43 і 49%, водночас зменшуються витрати палива на 5-6%. Під час проведення технічного обслуговування та поточного ремонту працівників технічної служби автопідприємств і станцій технічного обслуговування автомобілів цікавить не тільки факт наявності несправності та збільшення токсичності речовин у продуктах згоряння, але й місця і причини появи типових несправностей і розрегулювань.
Основним способом правильної експлуатації є періодична перевірка і регулювання зібраних карбюраторів на динамометричному стенді або безмоторним методом на вакуумній установці мод. НІІАТ-489А. При перевірці карбюраторів безмоторним методом на вакуумній установці витрати палива, що надходить у карбюратор, вимірюють при проходженні через нього певної кількості повітря. Об'єктивність безмоторного методу, менша його трудомісткість порівняно з іншими методами сприяють ефективному використанню його в умовах автопідприємств. При перевірці карбюраторів на вакуумній установці імітують реальні умови роботи двигуна. Технічний стан карбюратора визначають на цій установці за допомогою контрольних нормативів. Карбюратор залежно від загального його напрацювання або напрацювання від попереднього ТО підлягає загальній або поелементній діагностиці. При загальній діагностиці контролюють стан системи холостого ходу, положення гвинта мінімального відкриття кута повороту дросельної заслінки, частоту обертання колінчастого вала і вміст CO у відпрацьованих газах. При поелементній перевірці (двічі на рік на станції технічного обслуговування) перевіряють також пропускну здатність паливних жиклерів, спрацювання деталей приводу насоса-прискорювача і його подачу, систему балансування поплавкової камери. Правильно відрегульований карбюратор має добру перехідну характеристику, яка забезпечує автомобілю стабільну роботу при переході від холостого ходу до навантажувальних режимів. Відсутність чіткого маркування на жиклерах, а також недостатня кількість приладів і обладнання для перевірки їх каліброваних отворів зменшують імовірність правильного складання карбюраторів з послідовним відкриванням дросельних заслінок при сезонних технічних обслуговуваннях. Сучасні карбюратори характеризуються складною системою холостого ходу. Тому навіть кваліфіковане ТО не завжди зменшує викид токсичних речовин до гранично допустимих норм. Для кожної моделі повинні бути розроблені спеціальні інструкції з регулювання двигунів на основі результатів випробувань двигунів з детальним аналізом проб відпрацьованих газів. Для двокамерних карбюраторів з паралельним відкриттям дросельних заслінок (К-88А, К—126Б) прийнятий певний порядок проведення контрольно-регулювальних операцій. Перед регулюванням гвинти якості в обох камерах закручують до упору, а потім відкручують на 3,5 оберту. Запускають двигун і за допомогою упорного гвинта визначають мінімально можливе відкриття дросельних заслінок, що забезпечує стійку роботу двигуна. Збіднюють горючу суміш завершенням гвинтів якості через 0,5 оберту, а потім через 0,25 оберту до початку роботи двигуна з перервами. Збагачують горючу суміш гвинтом якості знову до стійкої роботи двигуна. Повторюють регулювання і для другої змішувальної камери. Зменшують частоту обертання колінчастого вала двигуна упорним гвинтом дросельних заслінок, а потім гвинтами якості знову збіднюють горючу суміш. Замірюють частоту обертання колінчастого вала двигуна і доводять її до рекомендованої заводом-виробником. Регулювання виконують без аналізу складу відпрацьованих газів. При наявності у автопідприємстві газоаналізатора правильність регулювання перевіряють контрольними вимірюваннями концентрації CO. Правильне регулювання забезпечує роботу двигуна без провалів при різкому відкритті дросельної заслінки, а при скиданні навантаження двигун не повинен зупинятись. Концентрації COповинні перебувати в межах норм, регламентованих стандартом. Діагностування двигуна за показниками токсичності. Збільшення вмісту CO у відпрацьованих газах здебільшого є результатом підвищених витрат палива, змін технічного стану і порушення регулювань двигуна і його систем. Залежність COвід витрат палива для карбюраторних двигунів має лінійний характер і є зручною для діагностування автомобілів на динамометричному стенді. Найбільш характерні режими та параметри діагностування (табл. 8.5) поширених газових легкових і вантажних карбюраторних автомобілів ГАЗ-24 "Волга", "Москвич-412", ВАЗ-2102 визначали при лабораторно-дорожніх і стендових випробуваннях. Режими руху автомобілів досліджували водночас у міських умовах експлуатації. Прийнятий порядок режимів діагностування дає змогу перевірити технічний стан і ефективність роботи окремих систем і пристроїв карбюратора (перехідної системи, герметичність і початок вмикання клапана економайзера тощо) залежно від кута повороту відкриття дросельної заслінки при однаковій швидкості руху автомобіля.
За установлений параметр навантажувального режиму приймають розрідження у випускному трубопроводі при певних величинах відкриття дросельної заслінки, а за швидкісний — частоту обертання колінчастого вала або швидкість руху автомобіля. Для уніфікації швидкісного режиму автомобілів на динамометричному стенді прийнята швидкість: для легкових автомобілів — 80 км/год; для вантажних — 60 км/год. Частота обертання колінчастого вала випробуваних двигунів при цій швидкості і повному відкритті дросельної заслінки повинні перебувати в зоні максимального крутного моменту. Відхилення рекомендованих величин частоти обертання колінчастого вала двигунів "Москвич-412" і ГАЗ-24 "Волга", ЗІЛ-130 і ГАЗ-53А від частоти, що відповідає максимальному крутному моменту, має становити 5...8%. Нехтуючи цією величиною, досягають уніфікації швидкісного режиму діагностування на динамометричному стенді найбільш поширених автомобілів. Для поглиблення діагностування на навантажувальних режимах перевірку слід здійснювати на малих і середніх навантажувальних режимах (робота первинної чи паралельних змішувальних камер) при режимі повного або близького до повного відкриття дросельної заслінки (робота вторинної камери) або дросельних заслінок. Діагностування складу відпрацьованих газів достатньою мірою характеризує економічність роботи автомобіля і дає змогу знизити на 30% трудомісткість його проведення. Застосування COяк непрямого параметра паливної економічності роботи автомобіля сприяє автоматизації процесу діагностування автомобіля, а також контролю викиду токсичних речовин в продуктах згоряння в основних експлуатаційних режимах.
6. Практичне використання вторинних ресурсів
Вирішуючи питання управління використанням вторинних ресурсів на автотранспорті необхідно брати до уваги альтернативи рециркуляції матеріалів, зокрема: збільшення терміну служби матеріальних ресурсів у сфері експлуатації автотранспорту, зниження витрат матеріалів, впровадження ефективніших ресурсозберігаючих технологій, заміну дефіцитних і токсичних матеріалів менш дефіцитними та нешкідливими, тобто вживати заходів, що дають змогу зменшити об'єми утворення відходів, їх шкідливий вплив на навколишнє середовище.
Скорочення питомих витрат первинних ресурсів разом з використанням ресурсозберігаючих технологій може значною мірою сприяти збереженню ресурсів. Одним із ефективних напрямів залучення вторинних матеріальних ресурсів є застосування принципу агрегатування. Він передбачає створення машинної техніки із надлишкових уніфікованих стандартних агрегатів, вузлів, приладів і деталей автомобілів, які здають у брухт. Кожний автомобіль має гідро-, пневмо- та електроприводи, а також механічний привід, які можуть успішно застосовуватись у конструкції різних технічних засобів. При необхідності ці вироби підлягають ремонту для відновлення їх працездатності. Застосування принципу агрегатування дає змогу досягнути приблизно 80...90% економії металу, скоротити терміни створення засобів механізації у 2-3 рази, а необхідність у конструкторських роботах у 3-4 рази. При цьому економиться праця верстатників, спрощуються експлуатація та ремонт стандартних елементів створеної конструкції.
За принципом агрегатування можуть бути створені автомобільні причепи, гаражні машини та механізми для виконання прибиральне-мийних, вантажно-розвантажувальних, підйомно-транспортних та інших робіт.
Значним резервом економії металу, палива та енергії є вторинне використання спрацьованих деталей, інших виробів і матеріалів, в тому числі зі списаних автомобілів. Головним і найбільш економічним напрямом вторинного використання спрацьованих деталей є відновлення їх початкової працездатності різними методами та способами реставрації. Більшість елементів і поверхонь деталей автомобілів взагалі не спрацьовуються або спрацьовуються незначно. Наприклад, понад 85% деталей вибраковують при спрацюванні окремих поверхонь до 0,05...0,3 мм, тобто при втратах маси, що становить незначні частки процента від маси самих деталей. Тому процес відновлення спрацьованих деталей автомобілів — найбільш ефективний напрям залучення вторинних ресурсів до господарського обороту автопідприємств.
Одним із напрямів використання спрацьованих деталей є виготовлення з них інших деталей. У цьому випадку спрацьовані деталі є заготовками або сировиною і забезпечують раціональне використання металу та інших матеріалів. Це стосується неремонтнопридатних деталей (зруйнованих, з великими спрацюваннями) та ін. Характеристики металів, із яких виготовлені автомобільні деталі, не тільки відповідають вимогам до матеріалу нових виробів, але у більшості випадків за міцністю і твердістю переважають матеріал, що використовується у промисловості на їх виготовлення. Наприклад, зі спрацьованих півосей (матеріал — високоміцні леговані сталі) виготовляють пальці та валики гальмових колодок, пальці ресор та амортизаторів, гайкові ключі та інші деталі типу вал або вісь. Спрацьовані шворні служать заготовками для виготовлення пальців ресор і амортизаторів, а клапани двигуна — для виготовлення роликів муфти вільного ходу приводу стартера, слюсарних зубил тощо. Певна номенклатура спрацьованих і непридатних до відновлення деталей є сировиною для виготовлення нових деталей методом відливання (поршні, головки блока циліндрів та інші вироби із алюмінієвих сплавів, свинцеві відходи акумуляторних батарей, лом пластмас тощо). Великий резерв ресурсозбереження на автотранспорті — використання спрацьованих деталей для виготовлення спеціального інструменту, пристосувань, оснащення, які застосовують при виконанні операцій технічного обслуговування та ремонту автомобілів. Автомобілі різних марок вимагають безлічі типорозмірів оснащення, яке промисловість не випускає і яке не входить до бортового комплекту автомобіля. Наприклад, зі спрацьованих деталей автобусів марки ЛАЗ та "Ікарус" можна виготовити понад 60 назв нових виробів. Зі спрацьованих пальців поршнів двигунів виготовляють накидні головки для гайок і болтів 20 типорозмірів.
Перспективним напрямом раціонального використання спрацьованих деталей є застосування їх як вторинної сировини для виготовлення товарів народного споживання. Утилізація (здача у брухт) спрацьованих і непридатних до використання деталей є заключним етапом життєвого циклу цього виду відходів. Однак і при здачі в металобрухт треба пам'ятати про можливість вилучення із утильних деталей цінних матеріалів. Наприклад, в одному утильному радіаторі системи охолодження двигуна залежно від марки автомобіля міститься 0,4...1,0 кг олов'яністого припою, який доцільно вилучати і використовувати замість первинного припою. Організація повного добування припою зі всіх утилізованих деталей, які містять його, дає змогу скоротити використання первинного припою для автопідприємств на 80...90%.
Відпрацьовані гази автомобільних двигунів як вторинні ресурси можна використовувати за трьома напрямами: джерела теплової енергії: носій компонентів (сажа та інші складові); джерела надлишкового тиску. Найширше використовують відпрацьовані гази як вторинний енергоресурс для підігрівання кузовів автомобілів-самоскидів при перевезенні вантажів, що змерзаються, у зимовий період; як пристрої-теплообмінники паливо подавальної апаратури газобалонних автомобілів; бортові підігрівачі дизельного палива; підігрівачі кабін, салонів і кузовів автомобілів; транспортні утилізатори для обігрівання кабін автомобілів, кузовів спец автомобілів; установки для гасіння локальних пожеж.
Одним із компонентів відпрацьованих газів дизельних двигунів є сажа. Невирішена технічна проблема дизельного двигуна — виокремлення сажі з відпрацьованих газів. Двигун викидає в атмосферу 5... 15 кг сажі на тонну спалюваного дизельного палива, причому верхня межа відповідає автотранспортним дизелям. Двигун автомобіля КамАЗ-5511 викидає 0,189...0,233 кг/год або 3,15...3,88 г/км сажі при швидкості 60 км/год. За рік ці викиди при добовому пробігу 300 км становлять 118 кг або 4,74 м3
сажі.
У світовій практиці спостерігається новий підхід до вирішення проблеми видалення сажі з відпрацьованих газів. При цьому сажу розглядають як вторинний продукт (технічний вуглець) і шукають способи вловлювання її з метою подальшого використання для потреб шинної промисловості. Створення промислових високоефективних фільтрів для вловлювання дисперсних частинок з відпрацьованих газів дизелів сприятиме вирішенню найважливішого завдання — зниженню викиду токсичних речовин і вловлюванню сажі.
Двигун автомобіля за своєю конструкцією є також компресором, внаслідок чого відпрацьовані гази на виході з циліндрів при такті випуску мають надмірний тиск, тобто є джерелом енергії. Цю їх властивість можна використати в конструкціях різних пневматичних підіймачів, зокрема платформ вантажних бортових автомобілів. Регенерація відпрацьованих масел є основним напрямом їх рециркуляції, бо дає значну економію сировинної нафти — не відновлюваного природного ресурсу. Одним із напрямів повторного використання відпрацьованих нафтових масел є виготовлення на їх основі антикорозійних препаратів для захисту деталей автомобілів. Велике економічне та екологічне значення має раціональна організація на автопідприємствах збору, зберігання та повторного використання відпрацьованих нафтопродуктів.
Інтенсивний розвиток автотранспорту призводить до надмірного забруднення навколишнього середовища спрацьованими автомобільними покришками. Щорічно в країні виходить з експлуатації близько 60 млн. покришок, 50% яких не використовуються для вторинної обробки. До традиційних способів переробки відпрацьованих автопокришок належать відновлення накладанням нового протектора, регенерація гуми, подрібнення покришок з подальшим використанням кришки для виготовлення різних виробів. За кордоном і в Україні нагромаджений певний досвід використання спрацьованих покришок в цілому вигляді. Довговічність покришки у воді становить 1500-2000 років, в атмосфері — 50-60 років. їх широко застосовують у спорудах для захисту узбереж морів та рік від ерозії, штучних берегів водосховищ, водорізів, дамб. Покришки невеликих діаметрів застосовують в конструкції стрічкових транспортерів замість несучих металевих роликів. Здатність покришок зм'якшувати удари використовують при швартуванні, як основу їх застосовують при розвантаженні вантажів або у вигляді фундаменту для кріплення установок, що створюють вібрацію під час роботи. З покришок створюють бар'єри та огорожі автомобільних доріг, їх застосовують при будівництві аеродромів, злітних майданчиків. Ефективним вирішенням є використання утильних покришок у вигляді будівельних блоків для стін гаражів, майстерень, складів тощо. Армовані металокордом спрацьовані покришки використовують як паливо в обертових цементних печах. Теплотворна здатність покришок становить 30...35 мДЖ (8600 ккал/кг) проти 27...30 мДж (7300 ккал/кг) вугілля. Головним недоліком переробки спалюванням є ліквідація хімічно цінних речовин і негативний вплив на навколишнє середовище. Перелічені можливості вторинного використання утилізованих покришок в цілому вигляді не можуть бути визнані задовільними, бо в період зростаючого дефіциту та подорожчання енергії, особливого значення набувають способи отримання з покришок сировини та енергетичних ресурсів. Тому актуальним завданням є переробка покришок. Вона передбачає термічний і каталічний крекінг і пірол із, регенерацію, подрібнення, розкладання гуми під дією кисню, водню та інших хімічних реагентів.
7. Очищення води та повторне її використання
На автопідприємствах при експлуатації одного автомобіля утворюється в середньому 700... 1200 л забрудненої води за добу. Вона містить 800...3000 мг/л завислих речовин, 50...900 мг/л нафтопродуктів, ОДО... 15 мг/л тетраетил свинцю. Скидання у водойми або каналізацію рідин, які містять тетраетил свинець, абсолютно недопустиме, бо наявність 1 мг/л тетраетил свинцю у воді повністю вбиває все живе в навколишньому водному середовищі. За санітарними нормами в стічній воді допускається не більше 0,25...0,75 мг/л завислих речовин і 0,05...0,3 мг/л нафтопродуктів. В Україні нагромаджений багатий досвід з конструювання водоочисних сантехнічних і технологічних установок та організації реагентного очисного господарства.
Щоб вибрати метод хімічної обробки води та конструкції водоочисних сантехнічних установок, попередньо визначають забрудненість води тетраетил свинцем (ТЕС), потім кислотність, лужність рідини, необхідність нейтралізації, склад і концентрацію домішок. Остаточний метод очищення визначають залежно від конкретних умов експлуатації автомобілів. Сьогодні відомо більше 15 методів очищення забруднених вод від тетраетил свинцю. Розглянемо деякі з них. Тривале зберігання (20-30 днів) забрудненої води у відкритих водоймах — найпростіший метод, який дає 100%-й ефект очищення води та руйнування ТЕС. При цьому глибина шару води у водоймі, що очищується, не повинна перевищувати 3 м, обвалування і дно водойми забезпечують антифільтраційним покриттям.
Метод озонування — один із найпоширеніших. Вітчизняні заводи з цією метою випускають трубчасті озонатори (ПО = 2, ПО = 3, ПО = 5 та ін.) продуктивністю від 250 до 1000 г озону на годину. Такі установки за добу можуть очистити 100... 1000 м3
забрудненої води, що повністю відповідає витратам сучасних автопідприємств. Цей метод забезпечує високу якість очищення і повторне використання води. Скидання у водойми очищеної води зберігає життєдіяльність фауни та флори.
Флотаційний метод широко застосовують для очищення від завислих речовин і замутнених нафто насиченими сумішами мийно-стічних вод. Він ґрунтується на коагулюванні забруднених рідин з емульсованим повітрям і додаванням хімічних речовин-коагулянтів (залізний купорос, сірчанокислий амоній, хлористе залізо та ін.), які пришвидшують осідання домішок. Для підлуговування води додають вапно.
При проектуванні нових і реконструюванні діючих автопідприємств закладають очисні сантехнічні споруди механізованого миття автомобілів з гідроелеваторними та гідро циклонними установками і зворотним водопостачанням та частковою коагуляцією стоків. Принципова схема таких споруд зображена на рис. 7. 1 і 7.2. Забруднена вода після миття автомобілів надходить у приймальну камеру — брудоуловлювач, де відбувається випадання найбільших частинок і змішування з коагулянтом. З брудоуловлювача вода надходить у брудовідстійник, де випадають в осад найдрібніші завислі частинки і починається збирання нафтопродуктів саморегулюючими лотками бензо-, маслоуловлювачів. Завершується збирання нафтопродуктів у камері бензо-, маслоуловлювача після проходження пластинчастих контейнерів. Відстояна вода потрапляє в камеру об'ємом приблизно 26...38 м3
, звідки насосами по зворотній системі трубопроводів подається на миття автомобілів для повторного використання. Поповнення зворотної системи водопостачання свіжою водою становить близько 10% загальних витрат. Гідроелеватори захоплюють осад із брудовловлювача, пропускають пульпу через гідроциклони, де відбувається зневоднення осаду до 30...60% вологості. Досвід експлуатації таких установок свідчить, що вони сприяють зменшенню у 10-15 разів потреби у свіжій воді.

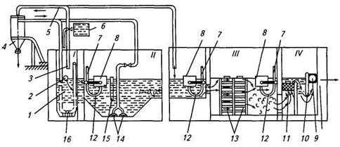
Рис. 7.1. Водоочисна установка для повторного використання води:
І — приймальна камера; ІІ — брудовідстійник; III— бензомасловловлювач; IV— камера доочищення 1 — уловлювач; 2 — подавальна труба; 3 — труба до елеватора; 4 — гідроциклони; 5 — труби до гідроциклонів; 6 — бак дозатора коагулянта; 7 — масловивідна труба; 8 — лоток; 9 — водовідвідна труба; 10, 15 — перегородки; 11 — фільтр; 12 — шланг; 13 — пластинчастий конвеєр; 14, 16 — гідроелеватори
Все більш поширеним стає очищення стічних вод у системах зворотного водопостачання мийних установок зон чи постів щоденного(щозмінного) обслуговування шляхом заміни традиційних реагентів однокомпонентним коагулянтом, який отримують з відходів хіміко-фармацевтичної та анілінофарбової промисловості. В якості такого коагулянту використовують гідроксохлориди амонію (ГОХА), які можна вводити у стічні води безпосередньо через відстійники очисних споруд після незначних конструктивних удосконалень. Після оброблення ГОХА в умовах інтенсивного перемішування спостерігається швидке утворення пластівців та інтенсивне осідання коагульованої суміші. В статичних умовах осідання закінчується через 20...30 хв. залежно від дози коагулянту і його властивостей. Оптимальні дози коагулянту А12
О3
становлять 50... 10 мг на 2 м3
стічної води. Ступінь очищення стічних вод — 95...99,5%. Вартість ГОХА, що виготовляється з відходів виробництва, в 2-3 разу нижча вартості традиційних коагулянтів (солей полівалентних металів, солей алюмінію або заліза,сульфату алюмінію у сполуці з поліакриламідом), що застосовуються.
Заслуговують особливої уваги різні малогабаритні автоматизовані очисні установки, виконані у вигляді одного блока (рис. 7. 3). Практика їх експлуатації свідчить про доцільність ширшого використання установок, які ґрунтуються на фізико-хімічному (реагентному) методі очищення із застосуванням коагулянтів. Стічна вода потрапляє в попередню камеру /, обладнану двома фільтрами грубого очищення з розміром комірки 0,7 мм, де відбувається частковий розподіл нафтопродуктів і великих домішок. Масла збираються в камері 1, а потім перекачуються в маслозбірник, а нафтопродукти у вигляді завислих частинок надходять разом з залишковими водами в реактор 2. Там вони поєднуються з необхідною дозою коагулянту, витісненого стисненим повітрям з місткості 3, і залишаються в стані спокою до відокремлення домішок від очищеної фракції. Місткість З є порційною і щоразу вміщує рівно стільки коагулянту, скільки необхідно для очищення об'єму стоків, що знаходиться в реакторі 2. Після розподілу шлам, що осів на дно, надходить у шламозбірник, а очищена фракція — на повторне використання.

Рис. 7.2. Схема установки для очищення стічних вод:
1 — камера попереднього очищення; 2 — реактор; 3 — електролізер для отримання коагулянту; 4 — джерело постійного струму
Застосовуються й інші конструкції установки, де місткість 3 є електролізером з пластинчастими алюмінієвими або сталевими електродами. В електролізері, оснащеному джерелом постійного струму 4 (випрямлячем для підзарядку акумуляторних батарей), відбувається напрацювання коагулянту із 5-7% розчину кухонної солі. Час електролізу залежить від необхідної дози коагулянту та визначається експериментально під час пусконалагоджування.
Для тих випадків, коли стоки містять додаткові домішки, які потребують обробки стічних вод дезінфектантами, матеріалом однієї з пластин електролізера, підключених до позитивної клеми випрямляча, є графіт. Газоподібний хлор, що виділяється під час напрацювання коагулянту, із герметично закупореного електролізера 3 пропускається через стоки в реакторі 2, а потім гіпохлор або коагулянт подається в камеру реакції. Відокремлення домішок від чистої фракції відбувається негайно, і домішки піднімаються у верхню частину реактора. Простота конструкції таких установок дає змогу встановлювати їх безпосередньо на автопідприємствах. Реагенти, які використовуються, дешеві та недефіцитні, тому ці установки є доступними навіть для невеликих автопідприємств. Ефективними та раціональними очисними спорудами, які застосовуються на автопідприємствах при очищенні стічних вод нафтопродуктів і завислих частин для повторного використання очищеної води, є очисні споруди з безнапірними гідроциклонами. Такі очисні споруди забезпечують добру якість очищення стічних вод від нафтопродуктів. Менш ефективним є очищення стічних вод від завислих частинок, тому такі очисні споруди вимагають удосконалення.
Розглянемо очисні споруди, зображені на рис. 7. 3. Забруднена вода після миття автомобіля потрапляє в канаву.

Рис. 7.3. Схеми очисних споруд: 1 — приймальний резервуар; 2 — насос; 3 — компресор;4 — відстійник-погасник; 5 — відстійник першого ступеня; 6 — відстійник другого ступеня; 7 — насос; 8 — фільтр першого ступеня; 9 — касетний фільтр; 10 — резервуар для чистої води; 11 — насос подачі води
В її заглибленні є приямок з металевим бункером (кюбель) для збирання щебеню, скла, металевих предметів. Кюбель зі сміттям в міру його нагромадження вивозить автонавантажувач. Вода самопливом через ґратки потрапляє у резервуар 1. При заповненні його вмикається барботер (на 4-5хв) і насос 2, який перекачує брудну воду у вертикальний відстійник -погасник 4. Далі по переливних трубах вода надходить у відстійники першого 5 і другого 6 ступенів. Нафтопродукти, що накопичуються у верхній частині відстійника 6, скидаються через перегородку у накопичувальний бак. При максимальному заповненні відстійника 6 вмикається насос 7, який перекачує воду у фільтр першого ступеня 8. Потім вона самопливом через касетний фільтр (вторинне очищення від завислих частинок) потрапляє в резервуар для чистої води 10. З цього резервуара при необхідності воду подають насосом 11 па. миття автомобілів або для регенерації фільтра першого ступеня 8. В зимовий період воду в резервуарі підігрівають парою або іншим теплоносієм до температури 18°С. В міру заповнення конічних частин відстійників відкриваються клапани, і осад стікає в баки. Потім клапани закриваються, а осад стисненим повітрям, отриманим за допомогою компресора 3, переміщується трубами в бункер, з якого вивантажується в платформу кузова автомобіля-самоскида. Пневматична система очищення відстійників має достатньо високу продуктивність: за 15...25 с в бункер переміщується 1 т осаду. Експлуатація таких очисних споруд в автопідприємствах засвідчила їх високу ефективність і надійність у роботі. Практично можна уникнути шкідливих викидів у навколишнє середовище. Вміст завислих частинок у воді зменшується з 3000 мг/л до 15...40 мг/л і нафтопродуктів з 900 мг/л до 3...10 мг/л відповідно.
Сьогодні для очищення води після миття автомобілів застосовують спеціальні сепаратори. Вони можуть мати будь-яку пропускну здатність, не потребують великих виробничих площ, спрощують очищення установки від шлаку. Екологічна чистота автотранспорту значною мірою залежить від професійної майстерності та культури водіїв автомобілів. Тому кожний водій повинен добре знати і постійно пам'ятати про можливі рівні викидів токсичних речовин внаслідок порушення технічної експлуатації автомобілів.
Найважливішим завданням працівників автомобільного транспорту слід вважати впровадження таких методів експлуатації рухомого складу, які б забезпечували зменшення шкідливих викидів токсичних речовин та рівнів шумового забруднення навколишнього середовища.
8. Норми витрат палива
1. Для легкових автомобілів нормоване значення витрат палива розраховують за таким співвідношенням:
Вн
= 0,01 Нл
П (1+0,01-Д), л,
де Вн
— нормативні витрати палива, л; Нл
— базова лінійна норма витрат палива на пробіг автомобіля, л/100 км; П — пробіг автомобіля, км; Д — поправковий коефіцієнт (сумарна відносна надбавка або зниження до норми, %).
Наприклад, за дорожнім листом легковий автомобіль-таксі ГАЗ-24-10, що працював у гірській місцевості на висоті 500...1500 м, здійснив пробіг 245 км.
Вихідні дані: базова лінійна норма для легкового автомобіля ГАЗ-24-10 становить Н - 13,0/100 км; надбавка за роботу в гірській місцевості на висоті над рівнем моря від 500 до 1500 м становить Д = 5%.
Нормативні витрати палива:
Вн
- 0,01 Нл
П (1+0,01-Д) = 0,0113,0-245 (1+0,01-5) - 33,4 л.
2. Для автобусів нормоване значення витрат палива визначають так, як і для легкових автомобілів. Але у випадку використання на автобусі в зимовий період штатних незалежних нагрівачів витрати палива на роботу нагрівача враховують у загальних нормованих витратах палива таким чином:
Ви
- 0,01 Нл
П-(1+0,01Д)+НобЧ,
де Вн
— нормативні витрати палива, л; Ня
— базова лінійна норма витрат палива на пробіг автобуса, л/100 км або м3
/100 км; П — пробіг автомобіля, км; Ноб , — норма витрат палива на роботу нагрівача або нагрівачів, л/г; Ч — час роботи автобуса з увімкненим нагрівачем, год; Д — поправковий коефіцієнт (сумарна відносна надбавка або знижка до норми, %).
Наприклад, за маршрутним листом міський автобус ЛАЗ-42021 працював у місті в зимовий період з використанням штатного обігрівача салону П-148105, здійснив пробіг 165 км, працюючи на лінії 8 год.
Вихідні дані: базова лінійна норма на пробіг для міського автобуса ЛАЗ-42021 становить Нл
= 35 л/100 км; надбавка за роботу в зимовий період Д = 8%.
Норма витрат палива на роботу обігрівача П = 148105, Но6
= = 2,5 л.
Нормативні витрати палива:
вн
= 0,01· Нл
·П(1+0,01·д)+ноб·
ч = 0,01·35 165(1+0,01·8)+2,5·8 = 82,4 л.
Перелік використаної літератури
1. Кисликов В.Ф., Лущик В.В Будова й експлуатація автомобілів. К.: Либідь, 2006.
2. Костів І.Ф. Експлуатація автомобільного транспорту Львів: Світ, 2004
|